|
|
(21), (22) Заявка: 2008129193/09, 17.07.2008
(24) Дата начала отсчета срока действия патента:
17.07.2008
(46) Опубликовано: 20.01.2010
(56) Список документов, цитированных в отчете о поиске:
SU 186766 A1, 03.10.1966. SU 365734 A1, 08.01.1973. SU 376808 A1, 05.04.1973. DE 19610838 A1, 27.02.1997.
Адрес для переписки:
119071, Москва, ГСП-1, М. Калужская, 1, ГОУ ВПО “МГТУ им. А.Н. Косыгина”
|
(72) Автор(ы):
Иванов Александр Михайлович (RU), Севостьянов Петр Алексеевич (RU)
(73) Патентообладатель(и):
Государственное образовательное учреждение высшего профессионального образования “Московский государственный текстильный университет имени А.Н. Косыгина” (RU)
|
(54) СПОСОБ ЗАПИСИ ИНФОРМАЦИИ В ПОЛЕ ПАМЯТИ ПОСТОЯННОГО ЗАПОМИНАЮЩЕГО УСТРОЙСТВА
(57) Реферат:
Изобретение относится к области вычислительной техники и автоматики и может быть использовано при записи информации в поле памяти постоянных запоминающих устройств. Технический результат изобретения заключается в сокращении числа элементов связи при записи и коррекции информации, обеспечении постоянства нагрузочных характеристик, повышении эффективности использования постоянных запоминающих устройств и увеличении их быстродействия. Технический результат изобретения достигается посредством размещения элементов связи в поле памяти путем подключения с помощью элементов связи адресных шин к запоминающим элементам поля памяти, организованным в блоки, число которых равно К, зависит от диапазона D представления кодовых комбинаций разрядности N, причем D 2N-1. Блоки запоминающих элементов содержат P1, Р2, ,Рк запоминающих элементов при P1·P2· ·Pк D. Место размещения элемента связи между адресной шиной и одним из запоминающих элементов определяется остатком от деления числового значения кодовой комбинации на число запоминающих элементов Рi i-го блока запоминающих элементов. Номер запоминающего элемента в блоке соответствует этому остатку от деления и месту размещения элемента связи. 5 ил., 4 табл.
Изобретение относится к области вычислительной техники и автоматики и может быть использовано при записи информации в поле памяти постоянных запоминающих устройств.
Известны способы записи информации посредством организации и распределения элементов связи между адресными шинами и запоминающими элементами поля памяти постоянных запоминающих устройств [1-9]. При использовании традиционного способа записи «активная 1 и активный 0» запись информации с помощью элементов связи производится как символов 1, так и символов 0. При использовании традиционных способов записи с помощью элементов связи «активная 1 и пассивный 0» или «пассивная 1 и активный 0» запись информации производится только активных символов (1 или 0). При записи активных символов в поле памяти в качестве элементов связи используются двухполюсники (например, диодные структуры, плавкие перемычки и т.д.) или четырехполюсники (например, транзисторные структуры, ключевые и триггерные структуры различных технологий изготовления и т.д.).
Число элементов связи при традиционных способах записи информации с увеличением числа разрядов кодовых комбинаций существенно возрастает, что снижает эффективность использования постоянных запоминающих устройств, увеличивая время записи и коррекции информации, снижая их быстродействие, изменяя нагрузочные характеристики поля памяти.
Наиболее близким способом записи информации в поле памяти постоянных запоминающих устройств с помощью элементов связи является способ записи информации, примененный в источнике [2]. Существо этого способа заключается в том, что при большом числе активных символов в кодовой комбинации (1 или 0), которые необходимо записать с помощью элементов связи, исходные кодовые комбинации перед записью инвертируются, что приводит при записи информации к уменьшению числа элементов связи.
Недостатками этого способа записи информации являются использование дополнительного запоминающего элемента и дополнительного элемента связи для записи признака кода кодовой комбинации, необходимой каждой кодовой комбинации, непостоянство нагрузочных характеристик активного, емкостного и индуктивного характера, возрастание числа элементов связи с ростом числа разрядов N кодовых комбинаций.
В табл.1 в качестве примера приведены сравнительные данные о кодовых комбинациях, записанных с помощью элементов связи традиционным способом и способом, близким к предлагаемому, и числе элементов связи. Из табл.1 следует, что коэффициент эффективности Kw=23/13=1.76.
Технический результат изобретения заключается в сокращении числа элементов связи при записи и коррекции информации, обеспечении постоянства нагрузочных характеристик, повышении эффективности использования постоянных запоминающих устройств и увеличении их быстродействия.
Технический результат изобретения достигается тем, что способ записи информации посредством размещения элементов связи в поле памяти основан на подключении с помощью элементов связи адресных шин к запоминающим элементам поля памяти, организованным в блоки, число которых равно К, зависящее от диапазона D представления кодовых комбинаций разрядности N, причем D 2N-1. Блоки запоминающих элементов содержат соответственно Р1, Р2, , Рк запоминающих элементов при P1·Р2· ·Рк D. Место размещения элемента связи между адресной шиной и одним из запоминающих элементов соответствующего блока запоминающих элементов определяется остатком от деления числового значения кодовой комбинации на число запоминающих элементов Рi i-го блока запоминающих элементов. При этом номер запоминающего элемента в блоке запоминающих элементов соответствует этому остатку от деления и месту размещения элемента связи. Запоминающие элементы в блоках запоминающих элементов нумеруются соответственно 0, 1, , P1-1; 0, 1, , Р2-1; 0, 1, , Рк-1.
Существо предложенного способа записи информации посредством размещения элементов связи в поле памяти постоянного запоминающего устройства поясняется фиг.1, фиг.2, фиг.3, фиг.4, фиг.5 и табл.2, табл.3, табл.4.
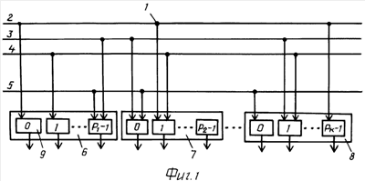
На фиг.1 изображен способ записи информации в поле памяти постоянного запоминающего устройства, состоящего из адресных шин, К блоков запоминающих элементов и элементов связи (табл.2).
На фиг.2 представлен способ записи информации в поле памяти, состоящем из одной адресной шины, двух блоков запоминающих элементов, один из которых состоит из трех запоминающих элементов, а второй блок – из пяти запоминающих элементов, и двух элементов связи.
На фиг.3 показан способ записи информации посредством размещения элементов связи в поле памяти, состоящем из одной адресной шины, двух блоков запоминающих элементов, один из которых состоит из пятнадцати запоминающих элементов, а второй блок – из семнадцати запоминающих элементов, и двух элементов связи.
На фиг.4 проиллюстрирован способ записи информации посредством размещения элементов связи в поле памяти, включающем в себя шестнадцать адресных шин, два блока запоминающих элементов, в одном из которых число запоминающих элементов равно трем, а в другом блоке – пяти запоминающим элементам (табл.3). Запись каждой кодовой комбинации произведена с помощью двух элементов связи в порядке их возрастания 0001 1111.
На фиг.5 представлен способ записи информации посредством размещения элементов связи в поле памяти, также включающем в себя шестнадцать адресных шин, два блока запоминающих элементов, но запись кодовых комбинаций осуществлена в произвольном порядке (табл.4).
Способ записи информации с помощью элементов связи 1 представлен на фиг.1. Поле памяти включает в себя элементы связи 1, адресные шины 2, 3, 4, 5, каждая из которых предназначена для записи определенной кодовой комбинации разрядности N при диапазоне представления кодовых комбинаций D 2N-1, и К блоков 6, 7 и 8 запоминающих элементов 9. Число блоков 6, 7 и 8 запоминающих элементов 9 зависит от диапазона представления кодовых комбинаций. В блоках 6, 7 и 8 запоминающих элементов 9 содержится соответственно Р1, Р2, , Рк запоминающих элементов 9 при условии, что Р1·Р2· ·Рк D. Число элементов связи 1 при записи кодовой комбинации равно числу К блоков 6, 7 и 8 запоминающих элементов 9. Место размещения элемента связи 1 для соединения одной из адресных шин 2, 3, 4 и 5 с одним из запоминающих элементов 9 каждого блока 6,7 и 8 определяется остатком от деления числового значения кодовой комбинации на число запоминающих элементов 9 Рi i-го блока запоминающих элементов 9. При этом номер запоминающего элемента 9 в одном из блоков 6, 7 и 8 соответствует этому остатку от деления и месту размещения элемента связи 1. Запоминающие элементы 9 в каждом блоке 6, 7 и 8 соответственно нумеруются 0,1, , P1-1; 0, 1, , Р2-1; 0, 1, , Pк-1. В табл.2 представлены номера адресных шин 2, 3, 4 и 5 и полученные предложенным способом записи кодовые комбинации. В круглых скобках указаны номера запоминающих элементов 9 каждого блока 6, 7 и 8, с которым осуществлена связь с одной из адресных шин 2, 3, 4 или 5 с помощью элементов связи 1.
Способ записи информации предложенным способом иллюстрирован фиг.2 и табл.3 при N=4. На фиг.2 изображены одна из адресных шин 2, 3, 4 или 5 и два блока запоминающих элементов (К=2). Один из блоков состоит из трех запоминающих элементов 9 (P1=3), а другой – из пяти запоминающих элементов 9 (Р2=5). Пусть кодовая комбинация имеет вид 10112 (N=4). Тогда диапазон представления кодовых комбинаций D P1·P2=15, и заданная кодовая комбинация вписывается в диапазон D.
Определение мест размещения элементов связи, соединяющих одну из адресных шин 2, 3, 4 или 5 с запоминающими элементами 9 двух блоков запоминающих элементов: 10112 mod 0112=102 и 10112 mod 1012=012. Таким образом, места размещения элементов связи 1 определяются записью (102, 012), т.е. с одной из адресных шин 2, 3, 4 или 5 будут соединены запоминающие элементы 9 под номером 102 первого блока и под номером 012 второго блока.
При N=8 способ записи информации предложенным способом иллюстрирован фиг.3. На фиг.3 изображены одна из адресных шин 2, 3, 4 или 5 и два блока запоминающих элементов (К=2). Один из блоков состоит из пятнадцати запоминающих элементов 9 (P1=15), а другой – из семнадцати запоминающих элементов 9 (Р2=17). Пусть кодовая комбинация имеет вид 101110112(N=8). Тогда диапазон представления кодовых комбинаций D Р1·Р2=255, и заданная кодовая комбинация вписывается в диапазон D.
Определение мест размещения элементов связи, соединяющих одну из адресных шин 2, 3, 4 или 5 с запоминающими элементами 9 двух блоков запоминающих элементов: 101110112 mod 011112=1112 и 101110112 mod 100012=0002.
Таким образом, места размещения элементов связи 1 определяются записью (1112, 0002), т.е. с одной из адресных шин 2, 3, 4 или 5 будут соединены запоминающие элементы 9 под номером 1112 первого блока и под номером 0002 второго блока.
На фиг.4 представлен способ записи информации посредством размещения элементов связи 1, соединяющих адресные шины 2, 3, 4, 5, 6, 7, 8, 9, 10, 11, 12, 13, 14, 15 и 16 с запоминающими элементами 17 двух блоков 18 и 19 запоминающих элементов. Запоминающие элементы 17 в первом блоке 18 пронумерованы 0, 1, 2 (P1=3), а во втором блоке – 0, 1, 2, 3,4 (Р2=5). Запись кодовых комбинаций произведена в порядке возрастания их значений сверху вниз 0001 1111 (табл.3).
На фиг.5 представлен способ записи информации посредством размещения элементов связи 1, соединяющих адресные шины 2, 3, 4, 5, 6, 7, 8, 9, 10, 11, 12, 13, 14, 15 и 16 с запоминающими элементами 17 двух блоков 18 и 19 запоминающих элементов. Запоминающие элементы 17 в первом блоке 18 пронумерованы 0, 1, 2 (P1=3), а во втором блоке – 0, 1, 2, 3, 4 (Р2=5). Запись кодовых комбинаций произведена в произвольном порядке (табл.4).
Источники информации
1. Цилькер Б.Я., Орлов С.А. Организация ЭВМ и систем. – СПб.: Питер, 2004.
2. Щукин Л.Б. Способ хранения информации в долговременных запоминающих устройствах. Авт. свид. 186766. Бюл. 19, 1966.
3. Потемкин И.С. Функциональные узлы цифровой автоматики. – М.: Энергоатомиздат, 1988.
4. Авт. свид. 365734. Бюл. 6, 1973.
5. Авт. свид. 376808. Бюл. 17, 1973.
6. Перспективы развития вычислительной техники. В 11 кн.: Справ. пособие. / Под ред. Ю.М.Смирнова. Кн.7: Полупроводниковые запоминающие устройства. / А.Б.Акинфиев, В.И.Миронцев, Г.Д.Софийский, В.В.Цыркин. – М.: Высш. шк., 1989.
7. Полупроводниковые БИС запоминающих устройств: Справочник. / В.В.Баранов, Н.В.Бекин, А.Ю.Гордонов и др.; под ред. А.Ю.Гордонова и Ю.Н.Дьякова. – М.: Радио и связь, 1986.
8. Петросян О.А., Козырь И.Я., Коледов Л.А., Щетинин Ю.И. Схемотехника постоянных запоминающих устройств. – М.: Радио и связь, 1987.
9. Миловзоров В.П. Элементы информационных систем. – М.: Высш. шк., 1989.
| Таблица 1 |
| Сравнительные данные о кодовых комбинациях, записанных с помощью элементов связи традиционным способом, способом, близким к предложенному, и предложенным способом |
| Исходная кодовая комбинация при традиционном способе записи |
Число элементов связи |
Кодовая комбинация при способе записи, близком к предложенному |
Число элементов связи |
Кодовая композиция при предложенном способе записи |
Число элементов связи |
| 11111010 |
6 |
100000101 |
3 |
(10,12) |
2 |
| 00110111 |
5 |
111001000 |
4 |
(10,4) |
2 |
| 11101111 |
7 |
100010000 |
2 |
(14,1) |
2 |
| 11101001 |
5 |
100010110 |
4 |
(8,12) |
2 |
| Таблица 2 |
| Номера адресных шин и размещение элементов связи предложенным способом |
| Номер адресной шины |
Размещение элементов связи, подключающих адресные шины к запоминающим элементам каждого блока запоминающих элементов |
| 2 |
(0, 1, , Рк-1) |
| 3 |
(Р1-1, 0, , 1) |
| 4 |
(1, 1, , 1) |
| 5 |
(Р1-1, 0, , 0) |
| Таблица 3 |
Номера адресных шин и размещение элементов связи предложенным способом при записи кодовых комбинаций в порядке возрастания 0001 1111 при к=2, Р1=3, Р2=5, D=15 |
| Номер адресной шины |
Исходная двоичная кодовая комбинация |
Кодовая комбинация после записи |
| 2 |
0001 |
(1,1) |
| 3 |
0010 |
(2,2) |
| 4 |
0011 |
(0,3) |
| 5 |
0100 |
(1,4) |
| 6 |
0101 |
(2,0) |
| 7 |
0110 |
(0,1) |
| 8 |
0111 |
(1,2) |
| 9 |
1000 |
(2,3) |
| 10 |
1001 |
(0,4) |
| 11 |
1010 |
(1,0) |
| 12 |
1011 |
(2,1) |
| 13 |
1100 |
(0,2) |
| 14 |
1101 |
(1,3) |
| 15 |
1110 |
(2,4) |
| 16 |
1111 |
(0,0) |
| Таблица 4 |
| Номера адресных шин и размещение элементов связи предложенным способом при записи кодовых комбинаций в произвольном порядке при к=2, Р1=3, Р2=5, D=15 |
| Номер адресной шины |
Исходная двоичная кодовая комбинация |
Кодовая комбинация после записи |
| 2 |
0011 |
(0,3) |
| 3 |
1111 |
(0,0) |
| 4 |
1011 |
(2,1) |
| 5 |
0111 |
(1,2) |
| 6 |
1000 |
(2,3) |
| 7 |
1110 |
(2,4) |
| 8 |
0111 |
(1,2) |
| 9 |
0100 |
(1,4) |
| 10 |
0101 |
(2,0) |
| 11 |
1101 |
(1,3) |
| 12 |
1001 |
(0,4) |
| 13 |
0100 |
(1,4) |
| 14 |
1001 |
(0,4) |
| 15 |
0110 |
(0,1) |
| 16 |
0001 |
(1,1) |
Формула изобретения
Способ записи информации посредством размещения элементов связи в поле памяти постоянного запоминающего устройства, состоящего из адресных шин, каждая из которых соответствует определенной кодовой комбинации разрядности N при диапазоне представления кодовых комбинаций D 2N-1, и запоминающих элементов, отличающийся тем, что запоминающие элементы организуются в блоки, число которых равно К, зависящее от диапазона представления кодовых комбинаций, причем в блоках скомпоновано соответственно P1, Р2, ,Рк запоминающих элементов при P1·P2· ·Pк D, место размещения элементов связи при записи кодовой комбинации для соединения адресной шины с одним из запоминающих элементов блока определяется остатком от деления числового значения кодовой комбинации на число запоминающих элементов Рi i-го блока, при этом номер запоминающего элемента в блоке соответствует этому остатку от деления и месту размещения элемента связи, а запоминающие элементы в каждом блоке запоминающих элементов номеруются соответственно 0, 1, P1-1; 0, 1, , Р2-1; 0, 1, Рк-1.
РИСУНКИ
|
|