|
|
(21), (22) Заявка: 2008131132/06, 28.07.2008
(24) Дата начала отсчета срока действия патента:
28.07.2008
(46) Опубликовано: 20.01.2010
(56) Список документов, цитированных в отчете о поиске:
SU 553361 А, 27.04.1977. SU 222042 А, 10.10.1968. RU 72731 U1, 27.04.2008. CN 2446321 Y, 05.09.2001. WO 9935632 A1, 15.07.1999. JP 2005016145 A, 20.01.2005.
Адрес для переписки:
302020, г.Орел, Наугорское ш., 29, Орловский государственный технический университет (ОрелГТУ)
|
(72) Автор(ы):
Ванин Владимир Семенович (RU), Бузуев Виктор Сергеевич (RU), Данилов Виталий Александрович (RU)
(73) Патентообладатель(и):
Государственное образовательное учреждение высшего профессионального образования “Орловский государственный технический университет” (ОрелГТУ) (RU)
|
(54) КОМПЛЕКС АВТОМАТИЗИРОВАННЫЙ УЧЕБНО-ЛАБОРАТОРНЫЙ ДЛЯ ОПРЕДЕЛЕНИЯ ХАРАКТЕРИСТИК И РЕЖИМОВ ГИДРОМАШИН
(57) Реферат:
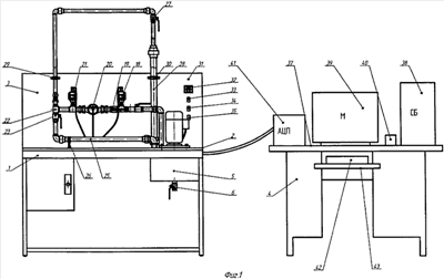
Изобретение относится к оборудованию для демонстрационно-практического определения студентами характеристик работы центробежного насоса, совместной работы двух насосов, включенных в сеть параллельно и др. Комплекс включает столы 1, 4. Стол 1 состоит из горизонтальной и вертикальной поверхностей 2, 3. На поверхности 2 расположена водонапорная магистраль, начинающаяся и заканчивающаяся в питательном баке 5 со сливным краном 6. Над баком 2 закреплены две насосные станции 7, 8. Горизонтальный участок магистрали включает два электронных преобразователя давления 18, 21 для снятия основных показаний и для контрольного измерения, кран 19 для регулировки давления, счетчик 20 воды. В конце горизонтальный участок разветвляется на две трубы с кранами 23, 24 для регулировки подачи воды и предохранительным краном 27, от которого начинается участок, состоящей из трубы 28 большего диаметра, чем основная магистраль. На вертикальной поверхности 3 стола 1 размещена система управления и панель 36 для снятия и обработки показаний в электронной вычислительной машине. На горизонтальной поверхности 37 второго стола 4 размещен блок 38 компьютера с аналогово-цифровым преобразователем. Изобретение направлено на повышение точности и качества измерений и автоматизацию снятий всех необходимых параметров. 3 ил.
Изобретение относится к специальному оборудованию, предназначенному для демонстрационно-практического обучения студентов вузов и колледжей техническим дисциплинам, а более конкретно для демонстрационно-практического изучения – определение характеристики работы центробежного насоса, характеристики совместной работы двух насосов включенных в сеть параллельно, характеристики гидравлической установки и режима работы насоса на сеть (выбор насоса).
Известны стенды для испытания насосов и “Гидравлика” (НТЦ-17.000), позволяющие выполнять аналогичные виды учебно-лабораторных работ и измерений.
Недостатком таких стендов является то, что все изменения параметров изучаемых гидродинамических процессов, проводимых на известных стендах, могут регистрироваться только визуально и, далее, по полученным данным подвергаться математической обработке по известным формулам.
Задача, на решение которой направлено изобретение, состоит в повышении точности и качества измерений и автоматизации снятий всех необходимых параметров, полученных, как с помощью измерительных датчиков, так и на виртуальном образе лабораторного стенда.
Это достигается тем, что учебно-лабораторный комплекс включает два стола, один из которых состоит из горизонтальной и вертикальной поверхности, на первой из которых расположена водонапорная магистраль, начинающаяся и заканчивающаяся в питательном баке, находящемся на уровне горизонтальной поверхности, в нижнюю часть питательного бака вмонтирован сливной кран, над питательном баком закреплены две насосные станции, на горизонтальном участке водонапорной магистрали последовательно расположены: два электронных преобразователя давления, один из которых предназначен для снятия основных показаний, другой для контрольного измерения, кран, для регулировки давления, счетчик воды, в конце горизонтального участка водонапорной магистрали имеется разветвление на две трубы с кранами для регулировки подачи воды и предохранительным краном, от которого начинается участок, состоящей из трубы большего диаметра, чем основная магистраль; на вертикальной установочной поверхности первого стола размещена система управления и панель для снятия и обработки показаний в электронной вычислительной машине, а второй стол состоит из горизонтальной установочной поверхности, на которой размещен персональный компьютер с аналогово-цифровым преобразователем.
Сущность изобретения поясняется чертежами, где на фиг.1 изображен общий вид стенда, размещенного на двух столах. На фиг.2 и фиг.3 изображен вид сбоку и сверху первого (левого) стола соответственно.
Устройство стендового автоматизированного лабораторного комплекса состоит из двух столов: стола 1, имеющего установочные поверхности, горизонтальную 2 и вертикальную 3, и также второго стола 4. На уровни горизонтальной установочной поверхности 2 размещен питательный бак 5, имеющий сливной кран 6. Над баком закреплены насосные станции 7 и 8, к которым вмонтированы трубы 9, 10, соединенные уголками 11 и 12, с трубами 13, 14 на которых располагаются краны 15, 16 соответственно. Далее водонапорная магистраль соединена при помощи тройника 17. После соединения последовательно установлены: преобразователь давления электронный КРТ-7 18, кран 19, счетчик воды 20, контрольный преобразователь давления электронный КРТ-7 21. Заканчивается горизонтальная часть трубопровода тройником 22, который разветвляет водонапорную магистраль на две трубы, на каждой из которой размещены краны 23 и 24. Трубопровод 25 поддерживается опорой 26. В верхней части трубопровода расположен предохранительный кран 27, ниже которого вмонтирована труба большего диаметра 28, предназначенная для устранения напора создаваемый спускающейся вниз водой. На вертикальной установочной поверхности 3 расположены: опоры 29, 30, индикатор сети 31, переключатели 32, 33, 34, 35, и панель 36 для снятия и обработки показаний в электронной вычислительной машине. На втором (правом) двухтумбовом столе 4, на горизонтальной поверхности 37 размещен системный блок 38 персонального компьютера, его монитор 39, звуковые колонки 40 и устройство многоярусного блока 41 из аналогово-цифровых преобразователей, клавишный блок 42 управления размещен на выдвижной панели 43 стола 4.
Устройство работает следующим образом.
1. Открывали краны 15, 19, 23. Остальные находятся в закрытом положении.
2. Включали электродвигатель насосной станции 7, который подает воду в часть магистрали.
3. Краном 19, при помощи преобразователя КРТ-7 18, устанавливали давление в магистрали равным 0,1 кгс/см. Параллельно проверяли давление при помощи контрольного преобразователя КРТ-7 21. При установившемся режиме течения определяли численное значение расхода воды через счетчик 20 за заданное время, например за одну минуту. Количество снятых показаний определяет точность проведения эксперимента. Для лабораторных работ достаточно пяти.
4. Далее снимали показания для давлений в магистрали равными 0,2; 0,3; 0,4; 0,5 кгс/см аналогично пункту 3.
5. Включали электродвигатель насосной станции 8 и проводили эксперимент для двух насосов аналогично пунктам 3 и 4.
6. Одновременно проведению «ручного» эксперимента, включаем ПК, выводим программу Lab View, создаем на мониторе 39, при помощи клавиатуры 42, виртуальный эскиз измерительных приборов. Сигналы, идущие с измерительных приборов через панель 36, обрабатываются в блоке 41 и поступают в ПК. По окончании эксперимента даем команду на построение графика напорно-расходной характеристики насоса. Кроме того, по команде получаем численное расчетное значение расхода воды и, сравниваем его с экспериментальным значением, полученным «ручным» методом, рассчитываем ошибку.
Данное устройство позволяет повысить точность и качество обеспечения измерений всех необходимых параметров, автоматизировать снятие показаний и построений графиков.
Формула изобретения
Комплекс автоматизированный учебно-лабораторный для определения характеристик и режимов гидромашин, характеризующийся тем, что он включает два стола, один из которых состоит из горизонтальной и вертикальной поверхности, на первой из которых расположена водонапорная магистраль, начинающаяся и заканчивающаяся в питательном баке, находящемся на уровне горизонтальной поверхности, в нижнюю часть питательного бака вмонтирован сливной кран, над питательным баком закреплены две насосные станции, на горизонтальном участке водонапорной магистрали последовательно расположены: два электронных преобразователя давления, один из которых предназначен для снятия основных показаний, другой для контрольного измерения, кран для регулировки давления, счетчик воды, в конце горизонтального участка водонапорной магистрали имеется разветвление на две трубы с кранами для регулировки подачи воды и предохранительным краном, от которого начинается участок, состоящий из трубы большего диаметра, чем основная магистраль; на вертикальной установочной поверхности первого стола размещена система управления и панель для снятия и обработки показаний в электронной вычислительной машине, а второй стол состоит из горизонтальной установочной поверхности, на которой размещен персональный компьютер с аналогово-цифровым преобразователем.
РИСУНКИ
|
|