|
|
(21), (22) Заявка: 2006133323/09, 11.03.2005
(24) Дата начала отсчета срока действия патента:
11.03.2005
(30) Конвенционный приоритет:
18.03.2004 EP 04101116.4
(43) Дата публикации заявки: 20.03.2008
(46) Опубликовано: 20.01.2010
(56) Список документов, цитированных в отчете о поиске:
ЕР 0652505 A1, 10.05.1995. WO 03/104965 A2, 18.12.2003. US 6469754 В1, 22.10.2002. US 2002/0079512 A1, 27.06.2002. RU 2123176 C1, 10.12.1998.
(85) Дата перевода заявки PCT на национальную фазу:
15.09.2006
(86) Заявка PCT:
IB 2005/050875 20050311
(87) Публикация PCT:
WO 2005/091124 20050929
Адрес для переписки:
129090, Москва, ул. Б.Спасская, 25, стр.3, ООО “Юридическая фирма Городисский и Партнеры”, пат.пов. Ю.Д.Кузнецову, рег. 595
|
(72) Автор(ы):
СХОББЕН Даниель В. Е. (NL), ДЖИЛЛИС Мюррей Ф. (NL), КЕЛЛИ Диклэн П. (NL), ДИДЕРИКС Элмо М. А. (NL), ХОППЕНБРАУВЕРС Юрген Й. Л. (NL), ДЕ ЙОНГ Николас (NL), КОРСТ Йоханнес Х. М. (NL), КРАН Томас С. (NL), СЕМПЕЛ Адрианус (NL), ВИНТЕРС Роджер (NL)
(73) Патентообладатель(и):
КОНИНКЛЕЙКЕ ФИЛИПС ЭЛЕКТРОНИКС Н.В. (NL)
|
(54) УСТРОЙСТВО СКАНИРУЮЩЕГО ДИСПЛЕЯ
(57) Реферат:
Настоящее изобретение относится к устройству дисплея с наличием функции сканирования. Техническим результатом является обеспечение усовершенствованного устройства сканирующего дисплея, которое является более удобным для использования в целях ввода данных и которое является интерактивным при представлении информации пользователям. Устройство включает в себя дисплей, который действует не только, чтобы отображать на нем визуальную информацию, но также и распознавать близость одного или нескольких объектов, представленных для этого, при этом такая близость не ограничивается фактически касанием и/или применением нажатия на дисплей, как в обычных сенсорных экранах (чувствительных к касанию). Вместе с тем изобретение также относится к способам функционирования такого устройства сканирующего дисплея и к программному обеспечению для исполнения в одном или нескольких соединенных с дисплеем вычислительных устройствах для распознавания одного или нескольких объектов, помещенных вблизи дисплея, и обеспечения представления дисплеем визуальной информации соответственно. 2 н. и 13 з.п. ф-лы, 7 ил., 1 табл.
ОБЛАСТЬ ТЕХНИКИ, К КОТОРОЙ ОТНОСИТСЯ ИЗОБРЕТЕНИЕ
Настоящее изобретение относится к устройству дисплея с наличием функции сканирования; в частности, но не исключительно, изобретение имеет отношение к устройству сканирующего дисплея, включающему в себя дисплей, который действует не только, чтобы отображать на нем визуальную информацию, но также и распознавать близость одного или нескольких объектов, представленных для этого, при этом такая близость не ограничивается фактически касанием и/или применением нажатия на дисплей, как в обычных сенсорных экранах (чувствительных к касанию). Вместе с тем, изобретение также относится к способам функционирования такого устройства сканирующего дисплея. Кроме того, изобретение также относится к программному обеспечению для исполнения в одном или нескольких соединенных с дисплеем вычислительных устройствах для распознавания одного или нескольких объектов, помещенных вблизи дисплея, и обеспечения представления дисплеем визуальной информации соответственно.
ПРЕДШЕСТВУЮЩИЙ УРОВЕНЬ ТЕХНИКИ
Устройства дисплеев с сенсорным экраном (сенсорные дисплеи) являются хорошо известными. Например, такие сенсорные дисплеи часто применяются в панелях управления устройств, таких как сложные фотокопировальные устройства. Сенсорные дисплеи являются зачастую изготавливаемыми каждый посредством наложения сенсорного компонента, включающего в себя матрицу датчиков давления, на стандартный жидкокристаллический дисплей (ЖК-дисплей, LCD), оснащенный блоком задней подсветки. Сенсорный компонент традиционно изготавливается в виде компонента из существенно оптически прозрачного, многослойного полимерного материала. Один или несколько слоев полимерного материала снабжены множеством тонкопленочных металлических проводников, которые либо взаимно входят в контакт, когда применяется нажатие на конкретные области компонента, либо вызывают изменение емкости, которая возникает между ними. Такой электрический контакт или изменение емкости обнаруживают, чтобы определить, к какой области компонента применили нажатие, такое нажатие является удобно применяемым посредством указательного пальца пользователя или наконечника пера. Зачастую пространственная разрешающая способность, обеспечиваемая таким компонентом, является относительно низкой, но, тем не менее, достаточной для целей управления фотокопировальным устройством. LCD и его сенсорный компонент соединены со связанным (действующим совместно) вычислительным устройством, которое управляет действием связанного с ним фотокопировального устройства, например оптическим увеличением, количеством копий, которые будут подготовлены, и установкой экспозиции.
В действии такого фотокопировального устройства вычислительное устройство исполняет программное обеспечение, которое побуждает вычислительное устройство посылать информацию на дисплей, чтобы быть представленной пользователю, например, представляя пользователю (необязательные) возможности конфигурации фотокопировального устройства. Пользователь затем касается части сенсорного компонента, чтобы выбрать предпочтительную возможность; компьютер принимает от компонента информацию, относящуюся к выбранной возможности, и затем переходит к выполнению, по меньшей мере, одного из: исполнения задачи, соответствующей части, которой коснулись, и представления на дисплее дополнительных возможностей. Современный тип iR8500 фотокопировального устройства, изготавливаемого японской корпорацией Canon, использует такой тип тактильного дисплея.
Такой сенсорный дисплей допускает дальнейшее развитие, как описано в опубликованной заявке на европейский патент за номером EP 0652505 относительно интегрированного устройства обработки информации с дисплеем для ввода. Описанное устройство дисплея для ввода включает в себя схему вывода изображений на экран для визуального отображения информации документа и изображения и схему ввода изображения, через которую может быть введена информация изображения, такого как рисунок, фотография, документы, начерченные или записанные на бланке, представленном пользователем. Устройство дисплея для ввода дополнительно содержит структуру визуального совмещения для целостного объединения экрана дисплея схемы ввода изображения с тем, чтобы установить визуальное совмещение экранов, как наблюдается со стороны пользователя. Также в состав включена схема выявления информации о контакте, чтобы выявлять информацию о позиции контакта, когда палец пользователя, представленный пользователем бланк, или подобное вступает в контакт со схемой выявления информации о контакте, схема выявления информации о контакте является располагаемой на полном экране, для ввода в составе схемы ввода изображения, или экране дисплея схемы вывода изображений на экран. Кроме того, в состав включена схема извлечения изображения, чтобы автоматически извлекать только требуемую часть информации изображения, вводимой через схему ввода изображения. Устройства дисплея для ввода дополнительно содержат запоминающую схему для информации изображения, предназначенную для хранения информации изображения, наряду со схемой синтеза изображения, чтобы объединять изображение с изображением, которое уже отображено и сохранено. В дополнение, устройство дисплея для ввода содержит схему управления информацией изображения, чтобы управлять операциями ввода/вывода информации изображения. Устройство является потенциально используемым в качестве фотокопировального устройства или устройства сканирования документов в числе других потенциальных использований.
Изобретатели оценили, что такие сенсорные дисплеи могут быть дополнительно расширены не только, чтобы воспринимать области, где применено нажатие, например нажатие пальца, но также и интерпретировать изображения объектов, представленных в непосредственной близости или в контакте с дисплеями, например с целями ввода данных. Кроме того, изобретатели дополнительно предусмотрели, что способ, которым информация представлена на дисплеях, может быть расширен, чтобы содействовать удобству использования дисплеев; такие усовершенствования относятся к способу, которым данные обрабатываются прежде, чем быть представленными на дисплеях.
СУЩНОСТЬ ИЗОБРЕТЕНИЯ
Задача изобретения состоит в том, чтобы обеспечить усовершенствованное устройство сканирующего дисплея, которое является более удобным для использования в целях ввода данных и которое является в большей степени интерактивным при представлении информации пользователям.
В соответствии с первым аспектом настоящего изобретения обеспечивается устройство сканирующего дисплея, отличающееся тем, что устройство включает в себя:
(a) дисплей, выполненный с возможностью:
(i) принимать один или более сигналов управления и формировать соответствующую визуальную информацию для представления на дисплее; и
(ii) распознавать излучение, принятое дисплеем, и генерировать один или более сигналов считывания, соответствующих области, вблизи дисплея; и
(b) компьютерные аппаратные средства, соединенные с дисплеем, чтобы генерировать для дисплея один или более сигналов управления, и чтобы принимать от дисплея один или более сигналов считывания, аппаратные средства компьютера выполнены с возможностью обеспечивать в дисплее интерактивный пользовательский интерфейс (UI).
Изобретение имеет преимущество в том, что устройство дисплея на основании его интегральных свойств излучения и восприятия света допускает большее удобство для пользователей, чтобы применять на практике.
Предпочтительно устройство выполнено с возможностью идентифицировать позиции одного или нескольких объектов, помещенных вблизи дисплея, посредством внешнего освещения на устройство, перекрываемого упомянутыми одним или несколькими объектами. Такое определение позиций имеет преимущество, например, для идентификации грубого местоположения подлежащего сканированию документа, помещенного на дисплей, в подготовке к точному сканированию документа, используя освещение, генерируемое непосредственно дисплеем.
Предпочтительно в устройстве дисплей выполнен с возможностью генерировать световое излучение для освещения одного или нескольких объектов, помещенных в близости к дисплею или на дисплее, а также для приема, по меньшей мере, части светового излучения, отраженного от одного или нескольких объектов, чтобы дать возможность устройству воспринять сканируемое изображение одного или нескольких объектов. Такое генерирование светового излучения является выгодным, поскольку размещение одного или нескольких документов на дисплее имеет тенденцию препятствовать внешнему освещению для той части дисплея, поверх которой помещены один или несколько документов.
Предпочтительно устройство выполнено с возможностью исполнять первое грубое сканирование, чтобы определить пространственное местоположение одного или нескольких объектов на дисплее или вблизи дисплея, и затем исполнять второе, более точное сканирование, чтобы воспринять более тонкие подробности одного или нескольких объектов. Более предпочтительно второе сканирование ограничено областью одного или нескольких объектов, второе сканирование использует свет, генерируемый дисплеем.
Предпочтительно устройство выполнено с возможностью, чтобы предоставить представление одного или нескольких объектов в области дисплея, в которую в течение сканирования были помещены один или несколько объектов, в качестве подтверждения успешно завершенного сканирования. Такое представление делает устройство более удобным и более интуитивным для применения пользователями при выполнении операций сканирования документа, например, с целями воспроизведения факсимильной передачи или фотокопирования.
Предпочтительно устройство выполнено с возможностью распознавать, чтобы воспринимать один или несколько объектов, помещенных на дисплей или помещенных в непосредственной близости к дисплею и скрывающих (препятствующих обзору), по меньшей мере, часть дисплея, и приспосабливать пользовательский интерфейс (UI), чтобы использовать те части дисплея, которые являются нескрытыми.
Предпочтительно, в устройстве аппаратные средства компьютера выполнены с возможностью разряжения тех частей дисплея, которые скрыты одним или несколькими объектами, помещенными на нем для снижения рассеяния мощности внутри дисплея. Такое разряжение способно увеличивать срок службы (ресурс) устройства и снижать рассеяние мощности в нем, то есть исполнять его менее дорогостоящим по энергии в течение работы.
Предпочтительно устройство выполнено с возможностью представлять пользовательский интерфейс (UI) в сжатом формате, когда нескрытая активная область дисплея является недостаточно большой, чтобы включить в нее весь пользовательский интерфейс (UI). Такой сжатый формат дает возможность пользователю устройства являться осведомленным о возможных программных приложениях, поддерживаемых устройством, даже в ситуации, когда значительная часть дисплея скрыта объектами, помещенными на нем.
Предпочтительно в устройстве пользовательский интерфейс (UI) включает в себя возможность прокрутки для использования при доступе к сжатым частям пользовательского интерфейса (UI), представленного на дисплее. Такие возможности прокрутки имеют преимущество в том, что пользователь устройства способен интуитивно получать доступ к программным приложениям, представленным посредством сжатых участков пользовательского интерфейса (UI).
Предпочтительно в устройстве предел минимального размера дисплея для пользовательского интерфейса (UI) задается в аппаратных средствах компьютера, так что скрытие обзора дисплея в большей степени, чем задано посредством предела размера дисплея, побуждает аппаратные средства компьютера представлять, по меньшей мере, часть пользовательского интерфейса (UI) в сжатом формате.
Предпочтительно устройство выполнено с возможностью представлять пользовательский интерфейс (UI), содержащий набор возможностей пользовательского интерфейса, аппаратным средствам компьютера для каждой возможности предоставлен идентификатор приоритета, задающий, какую из возможностей не включать в представление в пользовательском интерфейсе (UI) в ситуации, когда, по меньшей мере, часть дисплея является скрытой. Такое определение приоритетов имеет преимущество в том, что делает пользовательский интерфейс (UI) для пользователей более удобным в применении, когда часть дисплея скрыта одним или несколькими объектами.
Предпочтительно в устройстве аппаратные средства компьютера в соединении с дисплеем действуют, чтобы идентифицировать один или нескольких объектов, находящихся в близости к дисплею или в контакте с дисплеем, и активировать одно или несколько соответствующих программных приложений для исполнения в аппаратных средствах компьютера в ответ на размещение одного или нескольких объектов.
Предпочтительно в устройстве одно или несколько программных приложений действуют, чтобы формировать на дисплее одну или несколько анимационных пиктограмм, которые появляются в близлежащей пространственной близости к одному или нескольким помещенным на дисплей объектам, таким образом, обеспечивая визуальное подтверждение, что аппаратные средства компьютера идентифицировали присутствие одного или нескольких объектов. Такие анимационные пиктограммы способны обеспечивать интерфейсу пользователя (UI) не только эстетически приятный внешний вид, но также и обеспечивать интуитивную обратную связь о том, что устройство уже идентифицировало, что один или несколько объектов были помещены вблизи к дисплею или на дисплее; необязательно, одна или несколько пиктограмм не являются анимационными. Предпочтительно в устройстве одна или несколько анимационных пиктограмм анимируются аппаратными средствами компьютера так, чтобы исчезать, предпочтительно быстро перемещаясь, при удалении одного или нескольких объектов от дисплея.
Предпочтительно в устройстве дисплей содержит одно или несколько пиксельных устройств (устройств поэлементного отображения), которые способны:
(a) генерировать или передавать светоизлучение; и
(b) воспринимать падающее на них светоизлучение,
одно или несколько пиксельных устройств изготавливаются с использованием одного или нескольких из:
(c) устройств (LCD) жидкокристаллических дисплеев с наличием связанных тонкопленочных транзисторов (TFT), настроенных с возможностью функционировать в качестве светочувствительного элемента (датчика); и
(d) технологии polyLED (полимерных светоизлучающих диодов, СИД).
Поскольку технология жидкокристаллических дисплеев является развитой и способной быть приспособленной так, что ее интегральные схемы адресов пикселов на тонкопленочных транзисторах функционируют в качестве светочувствительных элементов, технология polyLED, то есть технология изготовления светоизлучающих диодов на основе полимеров, без труда способна интегрально обеспечивать оперативные характеристики светового излучения и восприятия светового потока.
Изобретение является потенциально применимым во многих потенциально возможных категориях изделий, например, в одном или нескольких из нижеследующих применений, но не ограничивается таковыми:
(a) сканер контактного типа;
(b) web-таблицы;
(c) интерактивные таблицы, например электронные таблицы;
(d) панели управления торговых автоматов;
(e) панели систем безопасного доступа;
(f) интерактивные панели управления в транспортных средствах;
(g) электронные конструкторские чертежные доски (планшеты для проектирования);
(h) дисплеи интерактивной рекламы или информационные;
(i) интерактивные игрушки для детей и (электронные видео) игры;
(j) учебные пособия;
(k) телевизионные мониторы; и
(l) компьютерные мониторы, и
(m) планшетные персональные компьютеры (ПК, PC).
В соответствии со вторым аспектом изобретения обеспечивается способ функционирования устройства сканирующего дисплея, включающего в себя дисплей, отличающийся тем, что способ включает в себя этапы:
(i) приема в дисплее одного или нескольких сигналов управления и формирования соответствующей визуальной информации для представления на дисплее; и
(ii) распознавания светоизлучения, принятого в дисплее, и генерирования одного или нескольких соответствующих сигналов считывания, соответствующих области непосредственно вблизи дисплея; и
(b) в аппаратных средствах компьютера, соединенных с дисплеем, генерирования для дисплея одного или нескольких сигналов управления и приема от дисплея одного или нескольких сигналов считывания, аппаратные средства компьютера действуют, чтобы обеспечивать в дисплее интерактивный пользовательский интерфейс (UI).
Предпочтительно способ включает в себя этап использования пиксельных устройств в составе дисплея, чтобы генерировать световое излучение для освещения одного или нескольких объектов, помещенных в близости к дисплею или на дисплее, а также для приема, по меньшей мере, части светового излучения, отраженного от одного или нескольких объектов, чтобы дать возможность устройству воспринять сканируемое изображение одного или нескольких объектов.
Будет оценено, что признаки изобретения допускают объединение в любой комбинации без выхода за рамки объема изобретения.
КРАТКОЕ ОПИСАНИЕ ЧЕРТЕЖЕЙ
Варианты осуществления изобретения теперь будут описаны только в качестве примера, со ссылкой на нижеследующие чертежи, на которых:
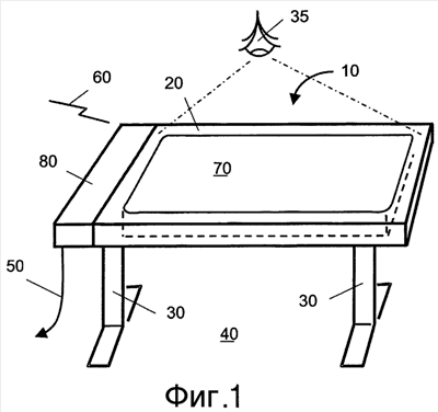
Фиг.1 – иллюстрация внешнего вида устройства сканирующего дисплея в соответствии с изобретением;
Фиг.2 – схематическое представление составных частей устройства по фиг.1;
Фиг.3 – иллюстрация пиксельного элемента на дисплейном блоке устройства по фиг.1;
Фиг.4, 5, 6 – иллюстрации приспосабливаемого представления информации на сканирующем дисплее в ответ на помещаемый на дисплей объект; и
Фиг.7 – блок-схема последовательности операций, иллюстрирующая этапы, осуществляемые согласно алгоритму, реализованному в виде программного обеспечения, исполняющегося в устройстве по фиг.1, для сканирования объекта, представленного дисплейному блоку устройства.
ОПИСАНИЕ ПРЕДПОЧТИТЕЛЬНЫХ ВАРИАНТОВ ОСУЩЕСТВЛЕНИЯ ИЗОБРЕТЕНИЯ
Что касается фиг.1, на ней показано устройство дисплея сканирования в соответствии с изобретением; устройство обозначено в целом позицией 10. Устройство 10 включает в себя по существу плоскую рабочую поверхность 20, установленную на каркасе 30, чтобы поддерживать рабочую поверхность 20 выше уровня 40 пола. Рабочая поверхность 20 выполнена с возможностью быть при использовании по существу горизонтальной или слегка наклонной, например устанавливаемой пользователем в диапазоне 0-45° относительно горизонтали. Каркас 30 сконструирован так, чтобы пользователь 35 мог стоять или сидеть рядом с рабочей поверхностью 20 и взаимодействовать с поверхностью 20 посредством просмотра информации, представленной на ней, или ввода визуальной информации в нее. Кроме того, устройство 10 дисплея оснащено блоком электропитания и ассоциативно связанным соединением 50 для сопряжения устройства 10 с источником питания, например током питающей сети. Необязательно, устройство 10 оснащено линией 60 передачи данных, например кабельной линией или линией беспроводной связи, например, для сопряжения устройства 10 с одной или несколькими сетями связи, такими как Интернет. Ниже рабочей поверхности 20 находится дисплейный блок 70 вместе со связанными с ним аппаратными средствами 80 компьютера, например одним или несколькими процессорами с ассоциативно связанным запоминающим устройством для хранения данных и средствами управления дисплеем для двунаправленного взаимодействия с дисплейным блоком 70.
Хотя на фиг.1 показана практическая схема для варианта осуществления изобретения, будет оценено, что также возможны другие формы развертывания. Например, устройство 10 может быть осуществлено без каркаса 30, в виде плоского блока для размещения на по существу горизонтальных поверхностях, например, в форме, сходной с современной портативной ЭВМ. В качестве альтернативы устройство 10 может быть установлено на стене по существу в вертикальной ориентации.
Дисплейный блок 70 отличается тем, что включает в состав двумерную матрицу пикселов дисплея. Пикселы действуют не только, чтобы испускать или передавать световое излучение, но также и воспринимать падающее на них световое излучение. Как будет описано более подробно далее, падающее на пиксел световое излучение может быть, по меньшей мере, одним из: псевдопостоянного внешнего освещения и светового излучения, генерируемого непосредственно пикселами. Дисплейный блок 70 может быть осуществлен с использованием разнообразия различных технологий визуального отображения и распознавания. Однако дисплейный блок 70 наиболее предпочтительно исполнен в виде одного или нескольких из:
(a) по технологии жидкокристаллических дисплеев (LCD), использующей ассоциативно связанные схемы на тонкопленочных транзисторах (TFT) для адресации индивидуальных пикселов, транзисторы являются приспосабливаемыми также для функционирования в качестве светочувствительных датчиков для восприятия падающего на них светового излучения;
(b) осуществленных с использованием светодиодов polyLED или сравнимым образом функционирующих устройств.
Например, если требуется, технологии LCD, polyLED и TFT могут взаимно смешиваться в дисплейном блоке 70. Другие осуществления также являются допустимыми, например, в случае использования составляющих собственность компании Philips N.V. электронных чернил, то есть, e-ink (электронные чернила), с технологией задней подсветки.
Светодиоды рolyLED были уже раскрыты компанией Philips N.V. на ее web-сайте Интернет. “PolyLED” является сокращением, используемым для обозначения “полимерных светоизлучающих диодов”, которые являются видом электролюминесцентного устройства. Такие полимерные LED предпочтительно в течение изготовления «прослаиваются» между стеклом и металлом, чтобы придать им устойчивость в использовании, например, если включаются в состав в качестве матрицы в дисплейный блок 70 устройства 10. Кроме того, полимерные LED являются многослойными полупроводниковыми устройствами, полупроводниковые переходы которых изготавливаются из полимерных полупроводниковых материалов, например, используя сопряженные замещенные или незамещенные полимерные (поли-фенилен винилен, p-phenylene vinylene) материалы и химические процессы изготовления с напылением (осаждением) из паровой фазы, как описано в опубликованном патенте США US 5504323, который тем самым полностью включен в настоящий документ путем ссылки. Эти светодиоды polyLED можно изготавливать, чтобы они излучали свет на длинах волн светового излучения, соответствующих красному, зеленому или синему цветам, и, следовательно, дисплейный блок 70 способен представлять пользователю цветные изображения.
Было найдено, что светодиоды polyLED способны не только испускать световое излучение, когда через них пропускают электрический ток, но также функционировать в качестве светочувствительных элементов (датчиков). Таким образом, вышеупомянутое средство управления дисплеем, ассоциативно связанное с аппаратными средствами 80 компьютера, выполнено с возможностью в первом режиме выборочно возбуждать светодиоды polyLED дисплейного блока 70 для представления изображений пользователю 35, но также во втором режиме распознавать в дисплейном блоке 70 падающее световое излучение через рабочую поверхность 20. Таким образом, такие polyLED, если применяются в устройстве 10, являются способными интегрально испускать и воспринимать световое излучение, таким образом, характеризуя устройство 10 отличающимся от описанных ранее, известных систем сенсорных дисплеев, в которых дисплей и связанные сенсорные устройства являются различными типами компонентов, которые лишь сочетаются в различных конфигурациях. На фиг.2 показано схематическое представление различных составных частей устройства 10. Средство управления дисплеем, соединенное с дисплейным блоком 70, обозначено позицией 100. Однако будет оценено, что устройство 70 дисплея может быть изготовлено с использованием альтернативной технологии по отношению к polyLED.
На фиг.3 показано схематическое представление двумерной матрицы пикселов; один такой пиксел обозначен позицией 150. Матрица включает в себя N пикселов, находящихся в диапазоне от пиксела S1 до пиксела SN. Эти пикселы 150 предпочтительно действуют по существу сходным образом. Пиксел 150 содержит многослойную структуру 160 из полимерного соединения, предпочтительно установленную между верхней стеклянной пластиной 170, с целями передачи света, и нижней металлической пластиной 180, с целями теплоохлаждения. Таким образом, металлическая пластина 180 используется в качестве теплоотвода, чтобы отводить высокую температуру от структуры 160. Кроме того, посредством металлических пленочных проводников, сформированных на одной или нескольких стеклянных пластинах 170 и металлической пластине 180, обеспечивается индивидуально электрическое соединение для структуры 160. Необязательно, тонкопленочные транзисторы (TFT) могут использоваться для цели декодирования адреса и мультиплексирования при активации или считывании из структуры 160. Стеклянная пластина 170 позволяет свету, излучаемому из структуры 160 в течение функционирования, распространяться к пользователю 35; подобным образом стеклянная пластина 170 позволяет, чтобы структурой 160 был распознан свет, отраженный от объектов, помещенных на стеклянную пластину 170 или в непосредственной близости от нее, или перекрываемый этими объектами.
Структура 160 имеет двунаправленный интерфейс 190, связанный с ней, например, формирователь 200 тока, когда возбуждают структуру 160, чтобы генерировать свет, и предварительный усилитель 210 для усиления выходного тока из структуры 160 при функционировании в качестве светочувствительного датчика. Буфер 190 соединен с мультиплексором 220 для сопряжения между буфером 190 и аппаратными средствами 80 компьютера. Структура 160 является мультиплексируемой по времени между испусканием излучения для представления визуальной информации пользователю 35 и функционированием в качестве светочувствительного датчика, чтобы воспринимать падающий на нее свет.
Теперь будут описаны несколько рабочих режимов устройства 10.
Когда пользователь 35 помещает объект на дисплейный блок 70, объект будет заграждать часть площади отображения блока 70. Вследствие того, что дисплейный блок 70 формирует часть пользовательского интерфейса (UI), предоставляемого устройством 10 пользователю 35, такое помещение объекта будет скрывать часть пользовательского интерфейса (UI), что не подходит для устройства 10, разрабатываемого, чтобы покрывать, соответственно. Устройство 10 изобретено, чтобы приспосабливать содержимое, отображаемое на дисплейном блоке 70, с тем, чтобы оно подлежало представлению только в тех частях дисплейного блока 70, которые являются нескрытыми. Делая так, пользователь 35 способен видеть все возможности взаимодействия без необходимости перемещать объект. Таким образом, пользовательский интерфейс (UI) является приспособленным, чтобы справиться с частичным скрытием дисплейного блока 70.
Таким образом, аппаратные средства 80 компьютера способны воспринимать через дисплейный блок 70, на основании его пикселов, функционирующих в качестве светочувствительных элементов, те области дисплейного блока 70, которые пользователю 35 видимы нескрытыми, и приспосабливать содержимое пользовательского интерфейса (UI) так, чтобы оно было отображаемым на видимых нескрытых областях блока 70, например, посредством изменения размеров пользовательского интерфейса (UI) или повторного размещения его символов и пиктограмм, например кнопок, приложений и инструментальных панелей. В некоторых случаях будет возможным отображать полное содержимое пользовательского интерфейса (UI) на нескрытой области блока 70. Когда блок 70 значительно скрыт, аппаратные средства 80 компьютера предпочтительно действуют, чтобы представить пользователю 35 упрощенный пользовательский интерфейс (UI) на не скрытых областях блока 70; упрощенный пользовательский интерфейс (UI) будет затем приспособлен к отображению, принимая во внимание его содержимое. Предпочтительно описание содержимого пользовательского интерфейса (UI), предоставленное аппаратным средствам 80 компьютера, включает в себя параметры приоритета для одного или нескольких индивидуальных элементов содержимого пользовательского интерфейса (UI) так, что аппаратные средства 80 компьютера способны опускать менее существенные элементы пользовательского интерфейса (UI), когда требуется представлять пользовательский интерфейс (UI) на уменьшенной не скрытой области блока 70. Более предпочтительно параметры также задают минимальную область на блоке 70, до размеров которой пользовательский интерфейс (UI) может быть масштабирован. Кроме того, когда только часть содержимого пользовательского интерфейса (UI) может быть отображена на дисплейном блоке 70, то часть пользовательского интерфейса (UI), который тогда не может быть отображен, принимая во внимание задаваемую минимальную область, предпочтительно показывается в сжатом формате на краю нескрытой, то есть видимой пользователю 35 части дисплейного блока 70 с тем, чтобы пользователь 35 был осведомлен, что часть содержимого пользовательского интерфейса (UI) не включена в отображение. Предпочтительно пользовательский интерфейс (UI) осуществлен так, чтобы пользователь 35 мог осуществлять доступ к таким не включенным сжатым частям, используя в пользовательском интерфейсе (UI) операцию прокрутки.
Пример такого приспосабливаемого пользовательского интерфейса (UI) представлен на фиг.4. Дисплейный блок 70 с отрывком текста «Оглавление; Крестный отец III; Бойцовский клуб; Завтрак у Тиффани…» обозначен в целом 300 для ситуации, в которой дисплейный блок 70 не является скрытым. В сравнение, ситуация, когда дисплейный блок 70 является частично скрытым объектом 320, например книгой, оставленной на рабочей поверхности 20, обозначена в целом 310, в которой дисплейный блок 70 действует, чтобы воспринять присутствие объекта 320 и передать эти данные восприятия на аппаратные средства 80 компьютера. Из ситуации 310 будет видно, что вышеупомянутый отрывок текста был повторно размещен так, чтобы пользовательский интерфейс (UI) не использовал скрытую область ниже объекта 320, так что вышеупомянутый отрывок текста был повторно размещен так, чтобы использовать ту часть дисплейного блока 70, которая не является скрытой, без потери информации, представляемой пользователю 35. Предпочтительно пикселы в скрытых частях дисплейного блока 70 выведены из работы, чтобы уменьшить рассеяние мощности в дисплейном блоке 70 и/или увеличить рабочий срок службы.
В некоторых обстоятельствах, когда дисплейный блок 70 является полностью заполненным информацией, например, как проиллюстрировано на фиг.5, на которой дисплейный блок 70 представляет поля от A до I изображений, например, совокупность символов пиктограмм, обозначенных в целом 400. В ситуации, когда вышеупомянутый объект 320 помещен на дисплейный блок 70, дисплейный блок 70 оптически считывает присутствие объекта 320 и осуществляет передачу таких данных на аппаратные средства 80 компьютера. Программное обеспечение, исполняющееся в аппаратных средствах 80 компьютера, затем действует, чтобы сжать, по меньшей мере, некоторые поля данных, обозначенные от A до I, так что частично подавленное представление тех полей, которые являются сжатыми, например поля GHI, как обозначено позицией 410, представлены на дисплейном блоке 70 пользователю 35. Наблюдатель 35 предпочтительно способен осуществлять прокрутку вверх (SU) и прокрутку вниз (SD) графической информации, представленной в UI, как обозначено позициями 500, 510, так что сжатые поля являются представленными в несжатом состоянии в ответ на такую прокрутку, тогда как другие поля являются соответственно сжатыми. В соответствии с таким представлением наблюдатель 35 становится осведомленным о доступных полях, и еще ему разрешается путем прокрутки просматривать более подробную информацию относительно каждого из полей от A до I.
Прокрутку можно осуществить аппаратными средствами 80 компьютера, представляя дополнительно один или несколько символов прокрутки на дисплейном блоке 70 с тем, чтобы если пользователь 35 представляет объект, например кончик пера или палец, по меньшей мере, в непосредственной близости, но не обязательно касаясь одного или нескольких символов прокрутки, аппаратные средства 80 действуют посредством исполняющегося в них программного обеспечения, чтобы осуществлять прокрутку полей от A до I на дисплейном блоке 70. Аппаратные средства 80 предпочтительно выполнены с возможностью распознавать контур формы руки человека и посредством этого определять указывающий палец руки и, следовательно, определять, находится ли он в непосредственной близости по отношению к одному или нескольким символам прокрутки. Согласно такому подходу пользователь 35 просто взмахом ее/его руки около символов прокрутки может управлять прокруткой содержимого, представленного в пользовательском интерфейсе (UI). Другие объекты, например кружка или книга, не распознаются аппаратными средствами 80 в качестве действительного визуального ввода для обуславливания прокрутки, таким образом, делая устройство 10 более предсказуемым и надежным в действии относительно такой прокрутки.
Программное обеспечение, исполняющееся в аппаратных средствах 80 компьютера, является полезно способным распознавать опорные поверхности, например поверхности нижних сторон, других типов объектов, представленных в непосредственной близости к рабочей поверхности 20. Например, аппаратные средства 80 могут быть запрограммированы так, чтобы размещение на поверхности 20 сосуда с жидкостью, например кружки кофе пользователя 35, было обнаружено аппаратными средствами 80, как являющееся кружкой, с тем, чтобы аппаратные средства 80 в ответ действовали, чтобы представить пользователю 35 электронную газету на продолжительность времени нахождения сосуда в непосредственной близости дисплейного блока 70. Предпочтительно аппаратные средства 80 являются достаточно быстро реагирующими на основании их операционного программного обеспечения, чтобы идентифицировать, где помещен сосуд на рабочую поверхность 20, и таким образом определить ориентацию для представления электронной газеты так, чтобы она была надлежащей по направлению для пользователя 35. Предпочтительно аппаратные средства 80 запрограммированы, чтобы распознавать имена (из) символов на поверхностях нижних сторон таких сосудов, например белые фарфоровые кружки с именами, записанными черными несмываемыми чернилами на изогнутых поверхностях нижних сторон кружек, с тем, чтобы аппаратные средства 80 были способны распознавать присутствие различных пользователей и открывать соответствующие предпочтительные документы, например различные типы электронных газет, в качестве ответа. Устройство 10 является предпочтительно приспосабливаемым к представлению заданного сосуда, впоследствии представляемого именем пользователя устройства 10, и затем окончательно ассоциируя имя пользователя с сосудом с тем, чтобы простое представление сосуда на рабочей поверхности являлось достаточным, чтобы указать аппаратным средствам 80, какой пользователь использует устройство 10 в настоящий момент. Будет оценено, что устройство 10 может ассоциировать конкретных пользователей с помещаемыми на рабочую поверхность 20 другими типами объектов, например, идентификационной меткой, фотографией, ключевым словом, записанным или напечатанным на части карты, или подобным. Таким образом, устройство 10 допускает возможность настройки так, чтобы некоторые объекты, помещенные в непосредственной близости дисплейного блока 70, допускали распознавание посредством аппаратных средств 80 на соответствие, например, соотнесенным группам документов. Например, метка безопасности, помещенная на рабочую поверхность 20, может быть выполнена с возможностью разрешать доступ к некоторым секретным или конфиденциальным документам в устройстве 10, которые обычно не будут доступны пользователям устройства 10.
Чтобы сканировать объекты, помещенные на рабочую поверхность 10, некоторые выбранные пикселы в блоке 70 выполнены с возможностью излучать свет, тогда как другие настроены с возможностью функционирования в качестве светочувствительного датчика; такое действие дает возможность устройству 10 функционировать в качестве одного или нескольких из (устройств): сканера документов, факсимильного устройства, фотокопировального устройства (при соединении вместе с принтером), устройства проверки безопасности (например, стойка паспортного контроля в аэропорте). Обратно, или дополнительно, аппаратные средства 80 могут быть настроены, чтобы распознавать объекты на дисплейном блоке 70 посредством построения периферийного контура или теней, то есть используя окружающее освещение при определении конкретных областей рабочей поверхности 20, на которую были помещены объекты или документы, прежде чем предпринять более подробное сканирование этих конкретных областей, используя излучение, генерируемое непосредственно дисплейным блоком 70.
Чтобы уменьшить рассеяние мощности, возникающее в пределах дисплейного блока 70, аппаратные средства 80 запрограммированы, чтобы отключать возбуждение тех частей дисплейного блока 70, которые являются скрытыми для пользователя 35, размещением одного или нескольких объектов на рабочей поверхности 20 например, размещением объекта 320, как описано ранее.
Чтобы для пользователя 35 повысить удобство использования устройства 10, когда объект помещают на рабочую поверхность 20, пользовательский интерфейс (UI) действует, чтобы представить на дисплейном блоке 70 одну или несколько анимационных пиктограмм, предпочтительно пространственно, по меньшей мере, частично окружающих объект в виде ореола. Например, анимационными пиктограммами могут быть одна или несколько из следующих: изображений насекомых, например москитов, рыб, звезд, указательных стрелок и обычно «туманным» различием в цвете, отображаемым на рабочей поверхности 20. Предпочтительно, когда объект помещают на рабочую поверхность 20, аппаратные средства 80 на дисплейном блоке 70 представляют «насекомоподобные» пиктограммы, напоминающие муравьев, быстро двигающимися к пространственной близости объекта, чтобы окружить его контур в некотором смысле сходно с ореолом в виде кольца. При удалении объекта от поверхности 20 аппаратные средства 80 посредством пользовательского интерфейса (UI) на дисплейном блоке 70 представляют анимационные пиктограммы быстро двигающимися из пространственной близости того, куда на поверхности 20 объект был помещен, и исчезающими. Полезно, что освещены только пиктограммы вокруг объекта, не больше окружающей периферийной области, уменьшая, таким образом, рассеяние мощности, возникающее в дисплейном блоке 70. Такая форма представления особенно выгодна в том, что быстро предоставляет пользователю 35 индикацию в виде, в котором функционирует программное обеспечение, исполняющееся в аппаратных средствах 80, например, способом, родственным с решениями T115/85 и T362/90 Европейского патентного офиса, то есть обеспечивает интуитивную и быструю индикацию, что устройство 10 распознало присутствие объекта, помещенного на его рабочую поверхность 20.
Пользовательский интерфейс (UI), представленный на дисплейном блоке 70, предпочтительно оснащен изображением алфавитно-цифровой клавиатуры, например, так называемой клавиатуры QWERTY, которой пользователь 35 может оперировать, чтобы ввести текст в аппаратные средства 80 компьютера. Дополнительно, или в качестве альтернативы, аппаратные средства 80 предпочтительно запрограммированы, чтобы представлять на дисплейном блоке 70 пиктограмму, сходную с компьютерной мышью и/или символом шарового манипулятора, который пользователь 35 может перемещать и/или пространственно смещать, чтобы воздействовать на перемещение символа пиктограммы стрелочного вида в окрестности нескрытой области дисплейного блока 70, таким образом, предпочтительно выбирая другие графические пиктограммы, представленные на блоке 70, соответствующие программным приложениям, исполняемым в аппаратных средствах 80.
Будет оценено, что варианты изобретения, описанные ранее, допускают возможность модификации без выхода за рамки объема изобретения, определяемого в соответствии с прилагаемой формулой изобретения.
Например, при сканировании одного или нескольких объектов, помещенных в непосредственной близости или в контакте с дисплейным блоком 70, устройство 10 может быть выполнено с возможностью обеспечивать аудио сигнал высокого тона или звуковой сигнал в начале операции сканирования и при завершении операции сканирования, чтобы сканировать в аппаратные средства 80 изображение объекта. Предпочтительно пикселы, возбужденные, чтобы обеспечить излучение для сканирования объекта, являются мультиплексированными во времени, посредством одного или нескольких стробов; кроме того, сигналы, генерируемые пикселами, функционирующими в течение такого сканирования в качестве оптических датчиков, являются предпочтительно демодулированными в отношении одного или нескольких стробов с тем, чтобы исключить в течение операции влияние стороннего псевдопостоянного внешнего падающего на дисплейный блок света. Более предпочтительно такую демодуляцию выполняют, по меньшей мере, частично, используя программное обеспечение, исполняющееся в аппаратных средствах 80. Однако устройство 10 предпочтительно является также настраиваемым, чтобы исполнять предварительное исследование, например, на основании силуэта в присутствии внешнего квазипостоянного освещения объекта, помещенного на рабочую поверхность 20, чтобы определить область для последующего подробного сканирования с использованием стробированного излучения, генерируемого из пикселов дисплейного блока 70.
Алгоритм, подходящий для сканирования объектов, например документа с форматом бумаги A4, подлежащего сканированию способом факсимильного аппарата или фотокопировального устройства, исполняемого внутри устройства 10, будет описан со ссылкой на фиг.7. Алгоритм представлен посредством блок-схемы последовательности операций, обозначенной в целом позицией 600. Символы, используемые в блок-схеме 600, имеют значения, установленные в Таблице.
Таблица
| Этап |
Мнемонический код |
Интерпретация |
| 610 |
STRT |
Начало |
| 620 |
QSC |
Быстрое сканирование |
| 630 |
OB-PRE? |
Объект присутствует? |
| 640 |
MOT-DET |
Выявление движения |
| 650 |
MOT? |
Движение? |
| 660 |
BR-SCN |
Яркое сканирование |
| 670 |
ACKN |
Подтверждение, например, аудио сигнал |
| 680 |
MADISA |
Создать зеркальное отображение и отобразить изображение |
| 690 |
ED |
Окончание |
 |
N |
Нет |
 |
Y |
Да |
Действие устройства 10 в режиме сканирования теперь будет описано со ссылкой на фиг.7.
При активизации сканирования в пределах устройства 10 выполняется этап 610 STRT, чтобы начать сканирование. На этапе 620 QSC аппаратные средства 80, действующие через дисплейный блок 70, выполняют быстрое грубое сканирование рабочей поверхности 20 с использованием пикселов блока 70 в качестве светочувствительных элементов; предпочтительно такое сканирование использует внешнее окружающее освещение. На этапе 630 OB-PRE аппаратные средства 80 определяют, например, на основании силуэта, присутствует ли объект. Если на поверхности 20 объект не присутствует, аппаратные средства 80, как показано, осуществляют возврат на исполнение этапа 620 QSC; напротив, если обнаружен объект, помещенный в непосредственной близости поверхности 20, аппаратные средства 80 продвигаются вперед на осуществление этапа 640 MOT-DET, чтобы определить, является ли обнаруженный объект пространственно устойчивым в позиции.
Если на этапе 650 MOT аппаратные средства 80 определяют, что объект является движущимся, например, была обнаружена рука пользователя 35, аппаратные средства 80 осуществляют возврат, чтобы исполнить этап 620 QSC. Наоборот, если объект является пространственно стационарным, то есть неподвижным, как поведение документа, удерживаемого жестко напротив рабочей поверхности 20 способом, сходным с размещением документа для копирования на стеклянную площадку сканирования современного фотокопировального устройства, аппаратные средства 80 затем выполняют этап 660 BR-SCN, чтобы исполнить яркое подробное сканирование области рабочей поверхности, занятой объектом; предпочтительно такое яркое сканирование использует световое излучение, генерируемое пикселами. Кроме того, сканирование преимущественно по существу ограничено областью рабочей поверхности 20, занятой объектом. Аппаратные средства 80 впоследствии осуществляют этап 670 ACKN, чтобы обеспечить пользователю 35 подтверждение, то есть индикацию завершения сканирования объекта. После этого аппаратные средства 80 осуществляют этап 680 MADISA, на котором аппаратные средства 80 затем отображают, предпочтительно в области дисплейного блока 70, соответствующей той, где помещен объект, изображение объекта с тем, чтобы пользователь 35 воспринимал зеркальное отражение объекта, как присутствующего в блоке 70. Аппаратные средства 80 затем продвигаются вперед, чтобы завершить сканирование на этапе 690 ED.
Как упомянуто ранее, устройство 80 также можно использовать для воспроизведения игр. Они могут быть электронными играми, подобными “Doom” (рок) или “Warcraft” (война космических объектов), но также и традиционными настольными играми, подобным шахматам или “Siedler von Catan” (Поселенцы в Катане). Особенно при первом типе игр помещение объектов на дисплей может быть способом для взаимодействия с игрой. Например, в игре с движущимися объектами скрытие части экрана побуждает персонажи в этой части изменять поведение. Примером этого является то, что в данный момент они находятся в темноте, так что действуют подобно тому, что не могут видеть, что происходит в остальной игре.
В действии аппаратные средства 80 предпочтительно выполнены с возможностью обеспечивать пользовательский интерфейс (UI) в виде программной многозадачной среды с тем, чтобы аппаратные средства 80 были способны поддерживать исполнение параллельных операций программного обеспечения, например исполнять сканирование документа или объекта в то время, как осуществляется представление, как описано ранее, анимационных пиктограмм вокруг объектов, помещенных на рабочую поверхность 20.
Если желательно, с устройством 10 может быть соединена камера для восприятия изображения пользователя 35 для передачи удаленному пользователю на удаленном сайте, пока одновременно осуществляется представление изображения удаленного пользователя на рабочей поверхности 20, то есть на дисплейном блоке 70. Более предпочтительно устройство 10 является настраиваемым на конфигурацию, чтобы поддерживать параллельную видеоконференцсвязь между множеством пользователей, включая пользователя 35, причем множество изображений удаленных пользователей является представляемым на дисплейном блоке 70.
Предпочтительно аппаратные средства 80 запрограммированы так, чтобы они автоматически выключали возбуждение на дисплейном блоке 70, например, чтобы уменьшать рассеяние мощности и продлевать эксплуатационный срок службы пикселей в ситуации, когда пользователь 35 не побуждает ответ от устройства 10 после установленного интервала паузы, например после десяти минут бездействия.
Допускается использование устройства 10 в широком диапазоне случаев, эти случаи включают в себя, но без ограничений таковым, одно или несколько из нижеследующего: сканеры контактного типа, web-таблицы, интерактивные таблицы, электронные таблицы, торговые автоматы, панели безопасности (например, когда дисплейный блок 70 используется, чтобы считывать ладони рук пользователей в качестве средства проверки идентичности пользователя), интерактивные панели управления в транспортных средствах (например, автомобильные управляющие “приборные панели”), электронные конструкторские чертежные доски (например, как в студиях инженерного и/или архитектурного проектирования), дисплеи интерактивной рекламы или информационные (например, дисплеи железнодорожного расписания), интерактивные игрушки и игры для детей, учебные пособия, телевизионные мониторы, компьютерные мониторы.
В прилагаемой формуле изобретения цифры и другие символы, заключенные в круглые скобки, предназначены для содействия пониманию настоящего изобретения и не предусматривают какой-либо степени ограничения рамок объема прилагаемой формулы изобретения.
Выражения, такие как “содержать”, “включать в себя”, “включать в состав”, “содержать в себе”, “является” и “иметь”, должны рассматриваться неисключительным образом при интерпретации описания и связанной с ним формулы изобретения, то есть рассматриваются, чтобы позволять также представление других пунктов или компонентов, которые не являются определенными явно. Ссылка на единичный элемент также должна рассматриваться являющейся ссылкой на множественные элементы, и наоборот.
Формула изобретения
1. Устройство (10) сканирующего дисплея для обеспечения интерактивного пользовательского интерфейса (UI), отличающееся тем, что устройство (10) включает в себя: (a) дисплей (70), выполненный с возможностями: (i) принимать один или более сигналов управления и формировать соответствующую визуальную информацию для представления на дисплее (70); и (ii) распознавать излучение, принимаемое дисплеем (70), и генерировать один или более сигналов считывания, соответствующих области вблизи дисплея (70); и (b) аппаратные средства (80) компьютера, соединенные с дисплеем (70), для генерирования одного или более сигналов управления для дисплея (70) и для приема от дисплея (70) одного или более сигналов считывания, аппаратные средства компьютера (80) выполнены с возможностью обеспечивать интерактивный пользовательский интерфейс в дисплее (70) в соответствии с одним или более сигналами считывания, принятыми от дисплея (70); причем устройство (10) выполнено с возможностью распознавать один или более объектов (320), когда они помещены на дисплей (70) или размещены вблизи к нему и скрывают, по меньшей мере, часть дисплея (70), и приспосабливать пользовательский интерфейс для использования тех частей дисплея (70), которые являются не скрытыми, при этом аппаратные средства (80) компьютера выполнены с возможностью отключать возбуждение тех частей дисплея (70), которые скрыты одним или более объектами (320), помещенными на нем для уменьшения рассеяния мощности в дисплее (70).
2. Устройство (10) по п.1, выполненное с возможностью идентифицировать позиции одного или более объектов (320), помещенных вблизи дисплея (70), посредством внешнего освещения на устройство (10), перекрываемого упомянутым одним или более объектами (320).
3. Устройство (10) по п.1, в котором дисплей (70) выполнен с возможностью генерировать световое излучение для освещения одного или более объектов (320), помещенных вблизи дисплея (70) или на нем, а также для приема, по меньшей мере, части светового излучения, отраженного от упомянутых одного или более объектов (320), с тем, чтобы дать возможность устройству (10) воспринять сканируемое изображение упомянутых одного или более объектов (320).
4. Устройство (10) по п.1, в котором аппаратные средства (80) компьютера выполнены с возможностью исполнять первое грубое сканирование (620) для определения пространственного местоположения одного или более объектов (320) на дисплее (70) или вблизи дисплея, и затем исполнять второе более точное сканирование (660), чтобы воспринять более точные подробности упомянутых одного или более объектов (320).
5. Устройство (10) по п.4, в котором аппаратные средства (80) компьютера выполнены с возможностью представлять представление одного или более объектов (320) в области дисплея (70), к которой один или более объектов (320) были помещены, в течение сканирования в качестве подтверждения успешно завершенного сканирования.
6. Устройство (10) по п.1, выполненное с возможностью представлять пользовательский интерфейс (UI) в сжатом формате, когда не скрытая активная область дисплея (70) является недостаточно большой, чтобы включать в себя весь пользовательский интерфейс (UI).
7. Устройство (10) по п.6, в котором пользовательский интерфейс (UI) включает в себя элемент прокрутки для использования при доступе к сжатым частям пользовательского интерфейса (UI), представленного на дисплее (70).
8. Устройство (10) по п.1, в котором нижний предел размера отображения для пользовательского интерфейса (UI) задан в аппаратных средствах (80) компьютера, так что скрытие дисплея (70) в большей степени, чем задано пределом размера отображения, побуждает аппаратные средства (80) компьютера представлять, по меньшей мере, часть пользовательского интерфейса (UI) в сжатом формате.
9. Устройство (10) по п.1, выполненное с возможностью представлять пользовательский интерфейс (UI), содержащий набор элементов пользовательского интерфейса, причем аппаратным средствам (80) компьютера предоставлен идентификатор приоритета для каждого из элементов, задавая, какие из элементов опустить из представления в пользовательском интерфейсе (UI) в ситуации, когда, по меньшей мере, часть дисплея (70) является скрытой.
10. Устройство (10) по п.1, в котором аппаратные средства (80) компьютера в соединении с дисплеем (70) выполнены с возможностью идентифицировать один или более объектов (320), находящихся вблизи дисплея (70) или в контакте с ним, и активировать одно или более соответствующих программных приложений для исполнения в аппаратных средствах (80) компьютера в ответ на размещение упомянутых одного или более объектов (320).
11. Устройство (10) по п.10, в котором одно или более программных приложений выполнены с возможностью формировать на дисплее одну или несколько анимационных пиктограмм, которые появляются в близлежащей пространственной близости по отношению к упомянутым одному или более объектам (320), помещенным на дисплей (70), таким образом обеспечивая визуальное подтверждение, что аппаратные средства (80) компьютера идентифицировали присутствие упомянутых одного или более объектов (320).
12. Устройство (10) по п.1, в котором дисплей (70) содержит одно или более пиксельных устройств (150), способных: (a) генерировать или передавать светоизлучение; и (b) распознавать падающее на них светоизлучение, одно или более пиксельных устройств (150) являются изготовляемыми с использованием одного или нескольких из: (c) устройств жидкокристаллических дисплеев (LCD) со связанными тонкопленочными транзисторами (TFT), настроенными с возможностью функционировать в качестве светочувствительных элементов; и (d) технологии polyLED.
13. Устройство (10) по п.1, приспособленное для использования в одном или нескольких из нижеследующих применений: (a) сканер контактного типа; (b) панели управления торговых автоматов; (c) панели безопасного доступа; (d) интерактивные панели управления в транспортных средствах; (e) электронные конструкторские чертежные доски; (f) дисплеи интерактивной рекламы или информационные дисплеи; (g) интерактивные игрушки для детей и игры; (h) учебные пособия; (i) телевизионные мониторы; и (j) компьютерные мониторы.
14. Способ функционирования устройства (10) сканирующего дисплея, включающий в себя: (а) дисплей (70), отличающийся тем, что способ включает в себя этапы, на которых: (i) принимают в дисплее (70) один или более сигналов управления и формируют соответствующую визуальную информацию для представления на дисплее (70); и (ii) распознают излучение, принимаемое дисплеем (70), и генерируют один или более соответствующих сигналов считывания, соответствующих области вблизи дисплея (70); и (b) в аппаратных средствах (80) компьютера, соединенных с дисплеем (70), генерируют для дисплея (70) один или более сигналов управления и принимают от дисплея (70) один или более сигналов считывания, аппаратные средства (80) компьютера выполнены с возможностью обеспечить интерактивный пользовательский интерфейс (UI) в дисплее (70) в соответствии с одним или более сигналами считывания, принятыми от дисплея (70); причем устройство (10) выполнено с возможностью распознавать один или более объектов (320), когда они помещены на дисплей (70) или размещены вблизи к нему и скрывают, по меньшей мере, часть дисплея (70), и приспосабливать пользовательский интерфейс для использования тех частей дисплея (70), которые являются не скрытыми, при этом аппаратные средства (80) компьютера выполнены с возможностью отключать возбуждение тех частей дисплея (70), которые скрыты одним или более объектами (320), помещенными на нем для уменьшения рассеяния мощности в дисплее (70).
15. Способ по п.14, дополнительно содержащий этап, на котором используют пиксельные устройства (150) дисплея (70) для генерирования светового излучения для освещения одного или более объектов (320), помещенных вблизи дисплея (70) или на нем, а также для приема, по меньшей мере, части светового излучения, отраженного от упомянутых одного или более объектов (320), с тем, чтобы дать возможность устройству (10) воспринять сканируемое изображение упомянутых одного или более объектов (320).
РИСУНКИ
|
|