|
|
(21), (22) Заявка: 2008102371/28, 21.06.2006
(24) Дата начала отсчета срока действия патента:
21.06.2006
(30) Конвенционный приоритет:
23.06.2005 CH 01065/05
(43) Дата публикации заявки: 27.07.2009
(46) Опубликовано: 20.01.2010
(56) Список документов, цитированных в отчете о поиске:
US 4420750 А, 13.12.1983. JP 2001318179 А, 16.11.2001. ЕР 0327787 A1, 16.08.1989. US 2003193842 A1, 16.10.2003. FR 2838838 A1, 24.10.2003. US 6553786 B1, 29.04.2003. RU 2223685 С2, 20.02.2004.
(85) Дата перевода заявки PCT на национальную фазу:
23.01.2008
(86) Заявка PCT:
EP 2006/063420 20060621
(87) Публикация PCT:
WO 2006/136587 20061228
Адрес для переписки:
129090, Москва, ул. Б.Спасская, 25, стр.3, ООО “Юридическая фирма Городисский и Партнеры”, пат.пов. Ю.Д.Кузнецову, рег. 595
|
(72) Автор(ы):
БЕЛИНГ Кристоф (GB), УЛОН Тома (CH)
(73) Патентообладатель(и):
ТАГ ХОЙЕР СА (CH)
|
(54) УСТРОЙСТВО ДЛЯ ОТОБРАЖЕНИЯ ЦИФРОВЫХ И БУКВЕННО-ЦИФРОВЫХ СИМВОЛОВ
(57) Реферат:
Изобретение относится к средствам отображения цифровых и буквенно-цифровых символов и может быть использовано, например, в электронных часах. Изобретение направлено на улучшение эстетичного вида устройства, повышение его качества при одновременном обеспечении возможности отображать переменные буквенно-цифровые данные. Этот результат обеспечивается за счет того, что электронное устройство с дисплеем, составленным из источников света, управляемых электронной схемой, и получающим питание от автономного источника электрического тока для отображения цифровых или буквенно-цифровых символов путем выбора светящихся источников света, согласно изобретению, содержит множество прозрачных или полупрозрачных камней, расположенных перед каждым из источников света, причем упомянутые цифровые или буквенно-цифровые символы отображаются путем освещения упомянутых камней с помощью упомянутых светящихся источников света. 2 н. и 23 з.п. ф-лы, 4 ил.
Область техники, к которой относится изобретение
Настоящее изобретение относится к устройству, предназначенному для отображения цифровых или буквенно-цифровых символов, например к часам. Настоящее изобретение относится в частности, к устройству, предназначенному для отображения символов по сегментам.
Уровень техники
Известны устройства, отображающие время или другие показатели с использованием цифровых или буквенно-цифровых символов, составленных из сегментов. С этой целью можно использовать разные технологии. Широко распространены жидкокристаллические устройства, которые имеют преимущество малого потребления электроэнергии. Однако жидкие кристаллы не излучают собственный свет, для этих устройств требуется дополнительный источник света для считывания их показаний ночью или при низком уровне окружающего освещения. Даже в дневных условиях LCD (ЖКД, жидкокристаллический дисплей) обеспечивает низкий уровень контраста.
Также известны сегментные дисплеи, которые излучают собственный свет. Дисплеи на основе светодиодов (LED, СД) или плазменные дисплеи представляют собой известный пример, который обладает преимуществом хорошей читаемости даже при низком уровне освещения. Однако эти устройства имеют недостаток, состоящий в большом потреблении электроэнергии, которое ограничивает их использование в портативных устройствах, таких как часы, калькуляторы или мобильные телефоны. Часы с дисплеями на светодиодах поэтому обычно содержат орган, обеспечивающий возможность активации сегментов дисплея в течение заданного периода времени, после которого дисплей самостоятельно отключается для экономии батареи.
Внешний вид выключенных светодиодов, однако, является не очень эстетичным. Кроме того, верхняя поверхность светодиодов является хрупкой, поэтому их требуется защищать стеклом. Такое стекло увеличивает толщину устройства и отражает внешний свет, что ухудшает возможность считывания дисплея. Наконец, дисплеи на основе светодиодов часто использовались в дешевых часах, поэтому их имидж часто, хотя и необоснованно, ассоциируются с низким качеством.
В FR 2838838 описаны наручные часы, показывающее часы и минуты с использованием двух последовательностей светодиодов, представляющих часы и, соответственно, минуты. Считывание времени является непрактичным, так как эти часы представляют не цифровые или буквенно-цифровые символы, а необычный код. Такое решение больше всего подходит для отображения часов от 1 до 12 и минут по 5-минутным интервалам, но является непрактичным для отображения точных минут, поскольку потребовался бы ряд из 60 диодов. В этом документе также предполагается связать пропускающий свет камень с каждым источником света, но не указано, как эти камни должны быть расположены относительно светодиодов, и не предложено, в частности, освещать эти камни.
В US 6553786 описано ювелирное украшение, содержащее определенный узор из бриллиантов, включающий в себя флуоресцентные бриллианты, расположенные так, чтобы можно было выписывать текст, когда этот узор подсвечивается ультрафиолетовым светом. Такая конструкция обеспечивает возможность отображения только фиксированных текстов или символов, но не предназначена для отображения переменных буквенно-цифровых данных, таких как показания времени.
В EP 894449 описан браслет для часов, в котором предусмотрены светодиоды для создания анимированного декоративного эффекта. Эти диоды выполнены без покрытия и не предназначены для отображения цифровых или буквенно-цифровых показаний.
В US 4601584 описан циферблат часов, в котором предусмотрены светодиоды для отображения разных развлекательных конструкций. Однако эти светодиоды не используются для отображения цифровых или буквенно-цифровых символов и также не защищены камнями.
В GB 2276071 описано ювелирное украшение, содержащее камни, подсвечиваемые с помощью светодиодов. Светодиоды, однако, не используются для отображения цифровых или буквенно-цифровых символов.
Сущность изобретения
Цель настоящего изобретения, таким образом, состоит в создании устройства, в частности часов, в котором исключаются недостатки предшествующего уровня техники.
В соответствии с изобретением, эти цели достигаются с помощью устройства, имеющего характеристики независимого пункта формулы изобретения.
Использование камней, например натуральных или синтетических драгоценных камней, или цветных камней, изготовленных из стекла, установленных перед источниками света, позволяет, с одной стороны, улучшить эстетический внешний вид устройства, в частности, когда устройство выключено, и, с другой стороны, защитить каждый из источников света от ударов и царапин без необходимости использования стекла.
Кроме того, при освещении камней на просвет с помощью избирательно активируемых излучающих свет источников обеспечивается возможность сверкания или искрения камней, в частности, когда они отшлифованы с гранями.
Краткое описание чертежей
Примеры вариантов выполнения изобретения обозначены в описании, иллюстрируемом приложенными чертежами, на которых:
На фиг.1 иллюстрируется вид сверху варианта выполнения часов в соответствии с первым вариантом выполнения изобретения.
На фиг.2 показан вид в перспективе корпуса часов без нижней крышки в соответствии с первым вариантом выполнения изобретения.
На фиг.3 иллюстрируется вид сверху корпуса часов в соответствии со вторым вариантом выполнения изобретения.
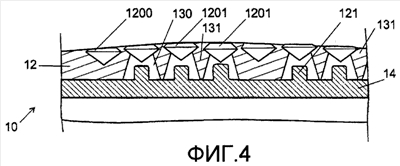
На фиг.4 иллюстрируется частичный поперечный разрез вдоль плоскости сечения “A-A”, обозначенной на фиг.3, корпуса часов в соответствии с изобретением.
Подробное описание предпочтительного варианта осуществления
На фиг.1-4 иллюстрируется вариант выполнения устройства в соответствии с изобретением, которое выполнено, например, в виде наручных часов. Часы включают в себя корпус 10, верхняя сторона которого состоит из пластины, или циферблата 12, полностью покрытого прозрачными или пропускающими свет камнями 120. В предпочтительном варианте выполнения пластина 12 представляет собой единую деталь с корпусом часов.
В этом документе под камнем следует понимать любой твердый элемент, прозрачный или пропускающий свет, который дифрагирует падающий свет и/или свет, проходящий через камень вдоль разных направлений, чтобы создать сверкающие, радужные, мерцающие и т.д. эффекты. В частности, под камнями следует понимать:
– натуральные драгоценные камни, например бриллианты,
– синтетические или искусственные драгоценные камни, например искусственные бриллианты,
– твердые элементы из стекла, кристаллов или синтетических, минеральных или органических материалов, вырезанных или формованных, с гранями или без граней, с тем, чтобы сверкать и отбрасывать отражение света, которое изменяется в соответствии с ориентацией внутреннего и внешнего падающего света, включая сюда стекло или янтарь,
– твердые прозрачные или полупрозрачные элементы, содержащие включения перламутровых или других синтетических, минеральных или органических частиц, для дифракции света, пересекающего твердое тело в разных направлениях, причем эти включения выполнены полупрозрачными или непрозрачными,
– любой другой прозрачный или полупрозрачный элемент с благородным, драгоценным или радужным аспектом и обычно используемый в области ювелирных украшений и бижутерии.
Камни размещают в матрице с узором, содержащим несколько строк и несколько столбцов. В этом примере строки и столбцы равноудалены. Другие компоновки камней, например камней, которые покрывают только ограниченный участок верхней стороны корпуса или несколько разъединенных участков, или даже компоновки неправильной формы, например, камни неодинакового размера, которые установлены беспорядочно, также можно рассматривать в пределах настоящего изобретения. Кроме того, можно использовать камни разного типа или цвета или камни с разной нарезкой, отличающейся друг от друга.
В иллюстрируемом варианте выполнения количество камней в столбцах является разным; при этом столбцы имеют переменную длину. Корпус 10 часов полностью покрыт камнями, и другие камни кажется перетекают за пределы корпуса, закрывая часть браслета 11. Граница между камнями, расположенными над корпусом, и камнями, свисающими на браслет, выражена не четко. Браслет, предпочтительно, представляет собой гибкий браслет из кожи, резины, текстильного или синтетического материала, покрытого, например, атласом или текстильным материалом.
Некоторые камни, обозначенные ссылочной позицией 1201, размещены перед источниками света, например светодиодами 121. Ссылочной позицией 1200 обозначены другие камни, которые не имеют задней подсветки. Ссылочной позицией 120 обозначены без различия как камни 1201 с задней подсветкой, так и камни 1200 без задней подсветки.
Свет, излучаемый выбранными светодиодами 121, проходит через соответствующие прозрачные или полупрозрачные камни 1201 и отражается в разных направлениях разными гранями верхней стороны камней, создавая сверкающее освещение.
Электронная схема, которая не представлена на чертеже, например измеряющий время микроконтроллер или контроллер сегментного дисплея, определяет светодиоды, которые выбираются в каждый момент для отображения требуемых цифровых или буквенно-цифровых символов. Электронная схема получает питание от автономного источника электроэнергии, который не представлен на чертежах, например батареи или фотоэлектрического элемента.
В представленном примере светодиоды расположены таким образом, что они составляют сегменты цифровых символов. Четыре цифры могут отображаться для обозначения времени от 00 до 12 (или от 00 до 23) и минут от 00 до 59. Кроме того, две точки могут отображаться для разделения двух цифр, обозначающих часы, от двух цифр, обозначающих минуты. В одном варианте выполнения эти две точки могут мигать с частотой одна секунда. Символы других типов конечно можно предоставить для отображения других показателей, например секунд, даты, хронографических показаний, второй временной зоны и т.д. Орган 15 управления или другой орган, такой как нажимная кнопка или колесико, можно использовать для выбора отображаемых показателей.
Камни 1201 с задней подсветкой в данном варианте выполнения имеют в большей или меньшей степени квадратную форму, отличающуюся от удлиненной формы обычных сегментов дисплея, в которых используются 7 сегментов на символ. В представленном варианте выполнения цифровые символы составлены выбранными диодами, которые освещены в группах по 13 диодов на символ. Предпочтительно, некоторые соседние светодиоды соединены электрически и, таким образом, всегда выбираются или их выбор отменяется одновременно с помощью одного сигнала управления. Количество сигналов управления, необходимых для отображения одной из десяти цифр от 0 до 9, таким образом, ограничивается. В этом случае сегмент дисплея, таким образом, состоит из нескольких источников света, расположенных рядом друг с другом в горизонтальном или вертикальном направлении.
Иллюстрируемые часы дополнительно содержат, по меньшей мере, один орган 15 управления, например колесико или нажимную кнопку, предназначенный для управления разными функциями часов и регулирования отображаемого времени. Свечение светодиодов, соответствующих отображаемому показанию, предпочтительно включают, только когда пользователь управляет органом 15 управления, и затем автоматически выключают после заданного периода времени для экономии энергии батареи часов или автономного источника электрического тока.
В одном варианте выполнения интенсивность света, генерируемого выбранными светодиодами, является переменной и зависит, например, от регулировок пользователя, от окружающего света, определяемого фотоэлементом, или от состояния батареи, или от времени суток. Таким образом, возможно изменять контрастность отображения или сверкания камней в соответствии со вкусом пользователя или в соответствии с окружающими условиями. Кроме того, также возможно включать свечение всех источников 121 света одновременно, а также других дополнительных необязательных источников света для обеспечения сверкания камней 120 независимо от отображенного показания. Кроме того, интенсивность света, излучаемого разными источниками света, можно модулировать по времени и в пространстве для генерирования переменных радужных отражений.
Камни 120 закреплены на пластине 12, образующей верхнюю сторону корпуса 10, путем их установки в оправу или с помощью клея. В случае использования клея каждый камень может быть приклеен независимо в отверстии 130, в закрытом отверстии или непосредственно на верхней поверхности пластины 12. В одном варианте выполнения также возможно приклеивать несколько камней в одной операции с помощью клеящей пленки, например пленки переноса или самоклеящейся пленки, нанесенной на верхнюю сторону 12 корпуса.
Для исключения риска отклеивания камней или их выпадения важно, чтобы они были установлены на жесткой поверхности, например достаточно толстой металлической пластине 12. Кроме того, все камни, включая сюда камни, которые покрывают участок браслета 11, предпочтительно установлены на одной пластине 12 или, по меньшей мере, на нескольких элементах, объединенных друг с другом и совместно формирующих недеформируемую поверхность. С этой целью в варианте выполнения, показанном на фиг.12, верхняя поверхность часов составлена металлической пластиной 12, содержащей выступающий участок 122, который частично покрывает один конец браслета (не показан). Выступающий участок 122 вырезан таким образом, чтобы он соответствовал длине столбцов камней, участок 122 полностью покрыт камнями и, таким образом, является практически невидимым, когда камни установлены. В этом примере выступающий участок содержит отверстия в местах, предусмотренных для каждого камня. В соответствии с выбранным способом сборки такие отверстия или закрытые отверстия могут быть предусмотрены на всей пластине 12.
Пластина 12, конечно, также может покрывать часть второго конца браслета.
В варианте выполнения, который не представлен на чертежах, камни, покрывающие браслет, могут быть установлены на адаптере или на другом жестком элементе, который соединен с браслетом и удерживается будучи соединенным с корпусом 10, например, с помощью винтов, шпилек или стержней так, что они составляют с верхней поверхностью корпуса 10 одну жесткую поверхность без каких-либо перерывов.
Приклеивание или установка в оправу всех камней на недеформируемой одной поверхности позволяет обеспечить идеально регулярные промежутки между камнями узора и уменьшает риск их выпадения или отклеивания.
Использование камней, установленных на одной жесткой поверхности 12 над корпусом 10 и браслетом, также возможно с часами, имеющими ручки, или с часами с цифровым дисплеем на участке без каких-либо камней. Эта характеристика, таким образом, независима от диодов с задней подсветкой.
На фиг.3 иллюстрируется вид сверху варианта выполнения корпуса 10 часов, верхняя поверхность 12 которого не закрывает браслет. На этой поверхности предусмотрены отверстия 130 в местах, предусмотренных для светодиодов. Камни 120 обработаны так, чтобы их можно было устанавливать над каждым отверстием 130 и в матрице между и вокруг отверстий. В предпочтительном варианте выполнения камни, установленные таким образом, составляют верхнюю поверхность часов, которые таким образом не имеют циферблат и не покрыты стеклом. Однако также возможно устанавливать камни только на участке верхней поверхности.
На фиг.4 иллюстрируется вид с частичным разрезом, вдоль плоскости A-A разреза, обозначенной на фиг.3, корпуса 10 часов с установленными несколькими камнями 120. Корпус включает в себя металлическую пластину 12 с упомянутыми отверстиями 130. Камни установлены путем их установки в оправу или путем их приклеивания в отверстиях и вокруг этих отверстий. Печатная плата (PCB, ПП) 14 или другое средство соединения установлена под пластиной 12, и на ней размещено некоторое количество светодиодов 121, например красных диодов и/или синих диодов, которые представлены схематично. Печатная схема содержит электропроводящие дорожки или сквозные отверстия для проводящих выводов, предназначенные для соединения разных светодиодов с электронной схемой часов (не показана).
Пластина 12, предпочтительно, установлена непосредственно на печатную плату 14. Таким образом, участки платы между отверстиями 130 составляют шторки 131, которые предотвращают попадание света, излучаемого для одного светодиода 121, на соседний камень.
В представленном примере ось светодиодов 121 расположена перпендикулярно плоскости пластины 12. Однако возможно установить, по меньшей мере, некоторое количество диодов параллельно граням камней 12 или предусмотреть несколько диодов под определенными камнями так, чтобы обеспечить их дополнительное сверкание или другой вид сверкания.
Соединение, не представленное на чертежах, предпочтительно, обеспечивается вокруг каждого камня или в каждом отверстии 130, чтобы предотвращать проникновение воды к печатной плате 14. Если камни 1200, которые не имеют задней подсветки, установлены в закрытом отверстии, как показано на фиг.4, возможно связывать индивидуальное соединение только с каждым камнем 1201 с задней подсветкой в местах, где может возникнуть риск инфильтрации воды через отверстия 130.
В варианте выполнения герметизация обеспечивается с помощью круглого упругого соединения, обжатого вокруг каждого камня. Также возможно использовать клеевое соединение, выполненное из материала, отвердевающего на воздухе, под действием света, ультрафиолетового света и т.д., что обеспечивает возможность приклеивать каждый камень в отверстии 130 и одновременно гарантировать его герметичность. С этой целью на пластине 12, предпочтительно, формируют или располагают внутри каждого отверстия 130 кольцевую канавку, которая не показана на чертеже, в которой устанавливается вся внешняя кромка камня 1201; эту канавку заполняют клеем во время сборки, например, с помощью шприца для обеспечения оптимального удержания камня. Соединение с помощью клея, предпочтительно, обеспечивает определенную податливость после отверждения для гарантии удержания камня даже в случае расширений или деформации. Установка в оправу, например, путем деформации участков пластины 12 также может быть выполнена дополнительно к приклеиванию.
В другом варианте выполнения отверстия 130 заполняют клеем или другим синтетическим материалом перед, во время или после установки камней 120. Также возможно обеспечить герметичность с помощью дополнительного слоя между пластиной 12 и печатной платой 14, например, с помощью прозрачной синтетической пластины или герметичной пластины, в которой высверлены отверстия для каждого диода. В этом случае один элемент предотвращает инфильтрацию воды от разных камней. Наконец, герметичность также может быть обеспечена под пластиной 14, которая сама по себе может быть недостаточно защищена.
В другом варианте выполнения герметичность обеспечивается с помощью сжимаемого и электропроводного упругого мата между светодиодами и остальной схемой. Мат, например, состоит из электроизолированной силиконовой резины шириной, например, от 0,3 до 1 мм. Металлические провода или нити, например, из золота, интегрированы в мат так, что они пропущены перпендикулярно плоскости мата с промежутком между ними приблизительно от 0,05 до 1 мм. Все провода срезаны заподлицо с верхней поверхностью и нижней поверхностью мата. Электрический контакт устанавливается через провода между каждым выводом светодиода, установленным с верхней стороны мата, и соответствующими точками контакта под нижней поверхностью мата, например на печатной плате, расположенной под матом. Резина между проводами обеспечивает, с одной стороны, электроизоляцию между разными точками электрического контакта и, с другой стороны, герметичность, при этом влага, в данном случае достигающая светодиодов, блокируется матом. Такие маты поставляет, например компания SHIN-ETSU.
Формула изобретения
1. Электронное устройство с дисплеем, составленным из источников света, управляемых электронной схемой, и получающим питание от автономного источника электрического тока для отображения цифровых или буквенно-цифровых символов путем выбора светящихся источников света, отличающееся множеством прозрачных или полупрозрачных камней (120), расположенных перед каждым из источников (121) света, причем упомянутые цифровые или буквенно-цифровые символы отображаются путем освещения упомянутых камней с помощью упомянутых светящихся источников света.
2. Устройство по п.1, в котором упомянутые камни (120) расположены вдоль множества соседних столбцов и соседних строк, причем упомянутые источники (121) света размещены позади некоторых из упомянутых камней (1201), причем упомянутые строки или столбцы содержат камни (1200), которые не сопоставлены с источниками света и не могут быть индивидуально освещены сзади.
3. Устройство по п.2, в котором некоторые строки и/или некоторые столбцы имеют неравную длину.
4. Устройство по одному из пп.2 или 3, в котором все упомянутые столбцы являются равноотстоящими, и в котором все упомянутые строки являются равноотстоящими.
5. Устройство по п.1, составленное часами (1), причем упомянутые камни (120) покрывают, по меньшей мере, существенный участок верхней стороны корпуса (10) упомянутых часов (1).
6. Устройство по п.5, в котором камни (120) дополнительно покрывают, по меньшей мере, участок браслета (11), расположенного непосредственно рядом с упомянутым корпусом (10).
7. Устройство по п.6, в котором упомянутые камни (120) расположены без перерыва между упомянутой верхней поверхностью корпуса часов и упомянутым браслетом (11).
8. Устройство по п.1, дополнительно содержащее средство герметизации, предназначенное для предотвращения попадания инфильтруемой вокруг упомянутых камней (120) воды на упомянутую электронную схему.
9. Устройство по п.8, причем упомянутое средство герметизации содержит индивидуальное сжимаемое соединение, индивидуально ассоциированное с, по меньшей мере, некоторыми из упомянутых камней (120).
10. Устройство по одному из пп.8 или 9, причем упомянутое средство герметизации содержит отвердевающий материал, например клей, одновременно предотвращающий инфильтрацию воды вокруг, по меньшей мере, некоторых из упомянутых камней (120) и обеспечивающий их удержание.
11. Устройство по п.10, причем упомянутые камни (120) установлены на пластине (12), отверстия (130) в которой высверлены для установки, по меньшей мере, некоторых из упомянутых камней (1201), причем упомянутый отвердевающий материал размещен в кольцевых канавках, сформированных в пластине (12) внутри каждого из упомянутых отверстий (130).
12. Устройство по п.8, содержащее герметизирующий элемент между упомянутыми камнями (120) и упомянутой электронной схемой, чтобы предотвращать инфильтрации воды, идущие от разных камней (120).
13. Устройство по п.1, причем упомянутые камни (120) устанавливаются индивидуально.
14. Устройство по п.1, причем несколько камней (120) приклеиваются индивидуально.
15. Устройство по п.1, причем несколько камней (120) приклеены в одной операции, например, с использованием пленки переноса или самоклеющейся пленки.
16. Устройство по п.1, причем все упомянутые камни (120) установлены на одной пластине (12) или на нескольких элементах, формирующих недеформируемую поверхность.
17. Устройство по п.1, причем упомянутые источники (121) света состоят из светодиодов (LED), устройство содержит орган (15), который пользователь может приводить в действие для свечения выбранных светодиодов (121) в течение определенной длительности.
18. Устройство по п.1, в котором упомянутые источники света организованы в сегментах, которые могут быть выбраны индивидуально для отображения цифровых или буквенно-цифровых символов.
19. Устройство по п.1, в котором, по меньшей мере, некоторые из упомянутых сегментов составлены из нескольких, расположенных рядом друг с другом источников (121) света, которые можно выбирать только одновременно.
20. Устройство по п.19, обеспечивающее возможность отображения нескольких цифровых символов, соответствующих указаниям часов и минут, причем каждый символ отображается с помощью, по меньшей мере, 7 сегментов, из которых, по меньшей мере, некоторые состоят из п расположенных рядом источников света, выбираемых одновременно.
21. Устройство по п.1, причем интенсивность света, генерируемого упомянутыми источниками (121) света, зависит от, по меньшей мере, одного из следующих факторов: уровня окружающего освещения; уровня батареи; регулировки пользователя.
22. Устройство по п.1, причем упомянутые источники (121) света разделены от соседних источников шторками (131), что обеспечивает возможность подсветки одного камня без подсветки его соседей.
23. Устройство по п.22, причем упомянутые источники (121) света установлены на соединительной пластине (14), перфорированная пластина (12) наложена поверх упомянутой соединительной пластины (14), причем отверстие (130) обеспечивается над каждым источником света, упомянутые камни (120) установлены на лицевой стороне упомянутой перфорированной пластины (12) напротив упомянутых источников света.
24. Устройство по п.23, составленное из часов (1), причем упомянутая перфорированная пластина (12) определяет верхнюю лицевую сторону корпуса (10) часов и выступает, по меньшей мере, из одной стороны корпуса (10), так, что покрывает участок браслета (11).
25. Электронные часы, содержащие фронтальную поверхность; множество источников света; один прозрачный или полупрозрачный элемент перед каждым источником света, причем упомянутые элементы установлены заподлицо с упомянутой фронтальной поверхностью; электронную схему для управления упомянутыми источниками света; автономный источник электрического тока для питания упомянутой электронной схемы; где источники света расположены и управляются, чтобы отображать текущее время с помощью цифровых символов, посредством выбора светящихся источников света.
РИСУНКИ
|
|