|
|
(21), (22) Заявка: 2008117608/28, 06.05.2008
(24) Дата начала отсчета срока действия патента:
06.05.2008
(46) Опубликовано: 20.01.2010
(56) Список документов, цитированных в отчете о поиске:
RU 2257602 C2, 27.07.2005. RU 71185 U1, 27.02.2008. ЕР 0650295 А1, 26.04.1995. US 5949576 A, 07.09.1999. RU 2141689 C1, 20.11.1999.
Адрес для переписки:
141073, Московская обл., г.Королев, ул. Баумана, 3, пат.пов. Е.С.Меерович, рег. 272
|
(72) Автор(ы):
Садчихин Александр Вениаминович (RU), Акимов Евгений Евгениевич (RU), Рытов Евгений Николаевич (RU)
(73) Патентообладатель(и):
Общество с ограниченной ответственностью “АР Технологические Исследования” (RU)
|
(54) ПРОЕКЦИОННОЕ УСТРОЙСТВО
(57) Реферат:
Проекционное устройство, включающее набор видеокубов и систему их взаимного крепления. Каждый видеокуб содержит электронно-оптический блок, проекционный экран, содержащий соосно расположенные внутренний компонент с нанесенной линзой Френеля и внешний компонент с нанесенной линзорастровой структурой, и систему крепления экрана с электронно-оптическим блоком. Поперечные размеры электронно-оптического блока не превышают поперечных размеров экрана, а пружинная система взаимного крепления видеокубов обеспечивает соприкосновение торцов экранов друг с другом. Причем компонент с нанесенной линзой Френеля по длине и ширине меньше компонента с нанесенной линзорастровой структурой на величину Lлр-Lлф=2h,
где h=1,4·kтрЛР·Lлр, kтрЛР – коэффициент температурного расширения компонента с нанесенной линзорастровой структурой, где Lлр – соответствующий размер компонента с нанесенной линзорастровой структурой, Lлф – соответствующий размер компонента с нанесенной линзой Френеля. Технический результат – повышение качества отображения информации за счет устранения светлых полос на стыках проекционных экранов в процессе эксплуатации. 1 ил.
Предлагаемое устройство относится к системам проекционного отображения информации на экранах коллективного пользования. Такие устройства включают в себя проекционный модуль с объективом и проекционный экран, как правило, просветного типа. Проекционный экран включает последовательно расположенные (по направлению к зрителю) внутренний компонент с нанесенной линзой Френеля и внешний компонент с нанесенной линзорастровой структурой. Для увеличения информационной емкости несколько проекционных модулей объединяют в составные проекционные устройства, стыкуя в одну систему по вертикали и горизонтали несколько (например, 4) проекционных модулей и, соответственно, проекционных экранов. Как правило, проекционный модуль и проекционный экран объединяют с помощью системы их взаимного крепления в так называемый видеокуб.
Важной задачей при создании таких проекционных устройств, а также их основных элементов (проекционных модулей, проекционных экранов и систем их взаимного крепления) является минимизация межэкранных зазоров, обусловленных как конструкцией этих элементов, так и эксплуатационными причинами, в первую очередь, изменением температуры при сохранении возможности многократной простой и надежной сборки и разборки конструкции. Наличие таких зазоров существенно ухудшает качество изображения.
Наиболее близким по технической сущности к предлагаемому решению является проекционное устройство [Патент РФ 2257602, пр-т от 06.05.2003], включающее набор видеокубов и систему их взаимного крепления. Каждый из видеокубов содержит электронно-оптический блок, проекционный экран и пружинную систему крепления экрана с электронно-оптическим блоком, поперечные размеры электронно-оптического блока не превышают поперечных размеров экрана, пружинная система крепления экранов взаимных видеокубов обеспечивает соприкосновение торцов проекционных экранов друг с другом. Проекционный экран включает последовательно расположенные (по направлению к зрителю) соосно-расположенные внутренний компонент с нанесенной линзой Френеля и внешний компонент с нанесенной линзорастровой структурой.
Недостатком известного проекционного устройства являются ухудшающие качество изображения светлые полосы, проявляющиеся при работе устройства на стыках экранов. Одной из причин наблюдаемых недостатков является разница температур внутри и снаружи видеокуба за счет выделения тепла электронно-оптическим блоком, расположенным внутри видеокуба, которая, как показали измерения, достигает 10°С. Это приводит к тому, что компонент проекционного экрана с линзой Френеля, обращенный внутрь видеокуба, в процессе эксплуатации увеличивается в большей степени, чем другой компонент с нанесенным линзовым растром, тем более, что коэффициент температурного расширения материала компонента с линзой Френеля значительно (примерно на 28%) больше, чем коэффициент температурного расширения материала компонента с линзовым растром. Из-за этого компонент с линзой Френеля в процессе эксплуатации может выступать за границу компонента с линзовым растром, вследствие чего компоненты экранов с линзами Френеля оказываются состыкованными, а компоненты с линзовыми растрами – не состыкованными. Это и приводит к появлению более светлых полос на стыках между экранами.
В настоящем изобретении решается задача повышения качества отображения информации за счет устранения светлых полос на стыках проекционных экранов в процессе эксплуатации.
Задача решается тем, что в проекционном устройстве, включающем (несколько) набор видеокубов и систему их взаимного крепления, каждый из видеокубов содержит электронно-оптический блок, проекционный экран, содержащий соосно-расположенные внутренний компонент с нанесенной линзой Френеля и внешний компонент с нанесенной линзорастровой структурой, и систему крепления проекционного экрана с электронно-оптическим блоком, поперечные размеры которого не превышают поперечных размеров проекционного экрана, а пружинная система взаимного крепления видеокубов обеспечивает соприкосновение торцов экранов друг с другом. Компонент с нанесенной линзой Френеля по длине и ширине меньше компонента с нанесенной линзорастровой структурой на величину Lлр-Lлф=2h, где h=1,4·kтрЛР·Lлр, kтрЛР – коэффициент температурного расширения компонента с нанесенной линзорастровой структурой, Lлр – соответствующий размер компонента с нанесенной линзорастровой структурой, Lлф – соответствующий размер компонента с нанесенной линзой Френеля.
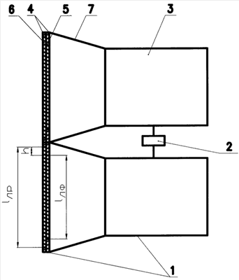
Сущность изобретения поясняется чертежом, на котором схематически изображено в разрезе проекционное устройство, состоящее из двух состыкованных видеокубов, в условиях эксплуатации. Использованы следующие обозначения:
1 – видеокуб,
2 – система взаимного крепления видеокубов,
3 – электронно-оптический блок,
4 – проекционный экран,
5 – внутренний компонент проекционного экрана с нанесенной линзой Френеля,
6 – внешний компонент проекционного экрана с нанесенной линзорастровой структурой,
7 – пружинная система крепления проекционного экрана с электронно-оптическим блоком,
LЛФ – размер (длина или ширина) внутреннего компонента проекционного экрана с нанесенной линзой Френеля перед эксплуатацией устройства,
LЛР – размер (длина или ширина) внешнего компонента проекционного экрана с нанесенной линзорастровой структурой перед эксплуатацией устройства.
Проекционное устройство содержит ряд видеокубов 1 с системой их взаимного крепления 2. Каждый из видеокубов 2 включает в себя электронно-оптический блок 3, проекционный экран 4, содержащий внутренний компонент 5 с нанесенной линзой Френеля и внешний компонент 6 с нанесенной линзорастровой структурой, и пружинную систему крепления 7 проекционного экрана с электронно-оптическим блоком.
Устройство работает следующим образом. Проекционное устройство собирают из нескольких видеокубов 1 с помощью системы их взаимного крепления 2 таким образом, чтобы торцы экранов 4 соприкасались друг с другом. Компонент с линзой Френеля 5 по сравнению с компонентом с линзорастровой структурой 6 имеет поперечный размер меньше на величину h с каждой стороны экрана, поэтому при таком прижиме до начала эксплуатации соприкасаются внешние компоненты экранов с нанесенной линзорастровой структурой. После начала эксплуатации за счет наличия разницы между температурами внутри и снаружи видеокуба поперечные размеры линзы Френеля и линзового растра выравниваются:
LЛФ=LЛР
Это обеспечивает равномерный прижим и оптический контакт как линзорастровой структуры, так и линзы Френеля по всем торцам экрана, стыкуемым с торцами других экранов. Проведенные испытания показали, что предложенная конструкция обеспечивает высокое качество отображения информации на составном экране без его ухудшения на стыках экранных фрагментов при полном исключении свечения между проекционными экранами.
Формула изобретения
Проекционное устройство, включающее набор видеокубов и систему их взаимного крепления, каждый из видеокубов содержит электронно-оптический блок, проекционный экран, содержащий соосно расположенные внутренний компонент с нанесенной линзой Френеля и внешний компонент с нанесенной линзорастровой структурой, и систему крепления экрана с электронно-оптическим блоком, поперечные размеры которого не превышают поперечных размеров экрана, а пружинная система взаимного крепления видеокубов обеспечивает соприкосновение торцов экранов друг с другом, отличающееся тем, что компонент с нанесенной линзой Френеля по длине и ширине меньше компонента с нанесенной линзорастровой структурой на величину Lлр-Lлф=2h, где h=1,4·kтрЛР·Lлр, kтрЛР – коэффициент температурного расширения компонента с нанесенной линзорастровой структурой, Lлр – соответствующий размер компонента с нанесенной линзорастровой структурой, Lлф – соответствующий размер компонента с нанесенной линзой Френеля.
РИСУНКИ
|
|