|
(21), (22) Заявка: 2008147995/28, 04.12.2008
(24) Дата начала отсчета срока действия патента:
04.12.2008
(46) Опубликовано: 20.01.2010
(56) Список документов, цитированных в отчете о поиске:
RU 2190872 C1, 10.10.2002. RU 2024898 C1, 15.12.1994. RU 2099762 С1, 20.12.1997. UA 13526 U, 15.04.2006.
Адрес для переписки:
344038, г.Ростов-на-Дону, пл. Полка народного ополчения, 2, РГУПС, НИЧ
|
(72) Автор(ы):
Каменский Владислав Валерьевич (RU), Соколов Сергей Викторович (RU)
(73) Патентообладатель(и):
Каменский Владислав Валерьевич (RU), Соколов Сергей Викторович (RU)
|
(54) ОПТИЧЕСКИЙ НАНОГЕНЕРАТОР
(57) Реферат:
Изобретение относится к средствам вычислительной техники. Оптический наногенератор состоит из источника постоянного оптического сигнала, входного оптического нановолоконного Y-разветвителя, четырехвыходного оптического нановолоконного Y-разветвителя, выходного оптического нановолоконного Y-разветвителя и двух телескопических нанотрубок. Технический результат – устройство обеспечивает решение задачи генерации периодических оптических сигналов с быстродействием, потенциально возможным для оптических схем. 1 ил.
Изобретение относится к средствам вычислительной техники и может быть использовано в оптических устройствах обработки информации при разработке и создании оптических вычислительных машин и приемопередающих устройств.
Наиболее близким по техническому исполнению к предложенному устройству является оптический мультивибратор, содержащий источник постоянного оптического сигнала [патент 2024898, Россия, 1994. Оптический мультивибратор./ Соколов С.В.].
Недостатками данного устройства являются его сложность, а также невозможность реализации в наноразмерном исполнении.
Заявленное устройство направлено на решение задачи генерации оптических сигналов с быстродействием, потенциально возможным для оптических устройств, а также задачи наноразмерного исполнения устройства.
Поставленная задача возникает при разработке и создании оптических вычислительных наномашин или приемо-передающих наноустройств, обеспечивающих обработку информации в тера- и гигагерцовом диапазонах.
Сущность изобретения состоит в том, что устройство содержит источник постоянного оптического сигнала, группу оптических волноводов, входной оптический нановолоконный Y-разветвитель, четырехвыходной оптический нановолоконный Y-разветвитель, выходной оптический нановолоконный Y-разветвитель, две телескопические нанотрубки – внутренняя и внешняя, выход источника постоянного оптического сигнала подключен ко входу входного оптического нановолоконного Y-разветвителя, первый выход которого оптически связан со входом выходного оптического нановолоконного Y-разветвителя, а второй выход подключен ко входу четырехвыходного оптического нановолоконного Y-разветвителя, первый, второй и третий выходы которого являются поглощающими, при этом телескопические нанотрубки расположены между четвертым выходом четырехвыходного оптического нановолоконного Y-разветвителя и вторым выходом выходного оптического нановолоконного Y-разветвителя по оси распространения их выходных оптических сигналов, а первый выход выходного оптического нановолоконного Y-разветвителя является выходом устройства.
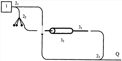
На фиг.1 представлена функциональная схема оптического наногенератора.
Устройство состоит из источника постоянного оптического сигнала 1, входного оптического нановолоконного Y-разветвителя 21, четырехвыходного оптического нановолоконного Y-разветвителя 22, выходного оптического нановолоконного Y-разветвителя 23, двух телескопических нанотрубок 3i, i=1,2, (31 – внутренняя нанотрубка, 32 внешняя нанотрубка).
Выходом устройства является первый выход выходного оптического нановолоконного Y-разветвителя 23.
Выход источника постоянного оптического сигнала 1 подключен ко входу входного оптического нановолоконного Y-разветвителя 21, первый выход которого оптически связан со входом выходного оптического нановолоконного Y-разветвителя 23, а второй выход подключен ко входу четырехвыходного оптического нановолоконного Y-разветвителя 22. Первый, второй и третий выходы четырехвыходного оптического нановолоконного Y-разветвителя 22 являются поглощающими.
Телескопические нанотрубки 31, 32 расположены между четвертым выходом четырехвыходного оптического нановолоконного Y-разветвителя 23 и вторым выходом выходного оптического нановолоконного Y-разветвителя 23 по оси распространения их выходных оптических сигналов. В крайнем левом положении внутренней нанотрубки 31 разрывается оптическая связь между первым выходом входного оптического нановолоконного Y-разветвителя 21 и входом выходного оптического нановолоконного Y-разветвителя 23.
Под воздействием разности давлений световых потоков (разность оптических мощностей 1-5 ватт создает разность давлений 5-15 нН), внутренняя нанотрубка 31
Устройство работает следующим образом.
Оптический сигнал от источника постоянного оптического сигнала 1 с интенсивностью 8·I условных единиц (усл. ед), пройдя через входной оптический нановолоконный Y-разветвитель 21 и уменьшившись по интенсивности в два раза, поступает на вход четырехвыходного оптического нановолоконного Y-разветвителя 22. С четвертого выхода четырехвыходного оптического нановолоконного Y-разветвителя 22 оптический сигнал с интенсивностью I оказывает световое давление с левой стороны на внутреннюю нанотрубку 31.
Оптический сигнал с первого выхода входного оптического нановолоконного Y-разветвителя 21 с интенсивностью 4·I поступает на вход выходного оптического нановолоконного Y-разветвителя 23, с первого выхода которого оптический сигнал, уменьшившись по интенсивности еще в два раза, поступает на выход устройства «Q». Со второго выхода оптического нановолоконного Y-разветвителя 23 оптический сигнал с интенсивностью 2·I оказывает световое давление с правой стороны на внутреннюю нанотрубку 31.
Под действием разности световых давлений внутренняя нанотрубка 31 перемещается влево (в направлении меньшего светового давления), пока не перекроет оптическую связь между первым выходом входного оптического нановолоконного Y-разветвителя 21 и входом выходного оптического нановолоконного Y-разветвителя 23.
В результате оптические сигналы на втором выходе выходного оптического нановолоконного Y-разветвителя 23, перемещающий внутреннюю нанотрубку 31 влево и оптический сигнал на выходе устройства “Q” станут равными 0. Под давлением оптического потока с четвертого выхода четырехвыходного оптического нановолоконного Y-разветвителя 22 с интенсивностью I внутренняя нанотрубка 31 переместится вправо и восстановится оптическая связь между первым выходом входного оптического нановолоконного Y-разветвителя 21 и входом выходного оптического нановолоконного Y-разветвителя 23.
Период колебаний внутренней нанотрубки 31 определяется массой внутренней нанотрубки 31( 10-15-10-16 г), силой трения при ее движении ( 10-9 н) и составляет 10-9-10-10 c).
Простота данного оптического наногенератора и возможность наноразмерного исполнения делают его весьма перспективным при разработке и создании оптических вычислительных наномашин и приемопередающих наноустройств.
Формула изобретения
Оптический наногенератор, содержащий источник постоянного оптического сигнала, отличающийся тем, что в него введены входной оптический нановолоконный Y-разветвитель, четырехвыходной оптический нановолоконный Y-разветвитель, выходной оптический нановолоконный Y-разветвитель, две телескопические нанотрубки – внутренняя и внешняя, выход источника постоянного оптического сигнала подключен ко входу входного оптического нановолоконного Y-разветвителя, первый выход которого оптически связан со входом выходного оптического нановолоконного Y-разветвителя, а второй выход подключен ко входу четырехвыходного оптического нановолоконного Y-разветвителя, первый, второй и третий выходы которого являются поглощающими, при этом телескопические нанотрубки расположены между четвертым выходом четырехвыходного оптического нановолоконного Y-разветвителя и вторым выходом выходного оптического нановолоконного Y-разветвителя по оси распространения их выходных оптических сигналов, а первый выход выходного оптического нановолоконного Y-разветвителя является выходом устройства.
РИСУНКИ
|