|
(21), (22) Заявка: 2008102877/28, 30.01.2008
(24) Дата начала отсчета срока действия патента:
30.01.2008
(43) Дата публикации заявки: 10.08.2009
(46) Опубликовано: 20.01.2010
(56) Список документов, цитированных в отчете о поиске:
А.Н.Дмитриев и др. Метеорологические предвестники Алтайского (Чуйского) землетрясения / Материалы научно-практической конференции “Алтайское (Чуйское) землетрясение: прогнозы, характеристики, последствия”, 2004 [найдено 02.06.2009]. Найдено из Интернет: . RU 2204852 C1, 20.05.2003. RU 2106663 C1, 10.03.1998. US 4837582 A, 06.06.1989.
Адрес для переписки:
109129, Москва, ул. Малышева, 3, корп.3, кв.10, Н.М. Легкому
|
(72) Автор(ы):
Баранников Игорь Валентинович (RU), Замуруев Сергей Николаевич (RU), Легкий Николай Михайлович (RU), Охинченко Анатолий Павлович (RU), Реутов Александр Павлович (RU)
(73) Патентообладатель(и):
ООО “Научно-коммерческое предприятие “Комета-Б” (RU)
|
(54) СИСТЕМА ДЛЯ ОПРЕДЕЛЕНИЯ ПРЕДВЕСТНИКОВ ЗЕМЛЕТРЯСЕНИЯ
(57) Реферат:
Изобретение относится к области радиоэлектроники и может быть использовано для определения предвестников землетрясения. Сущность: система содержит, как минимум, одно сверхдлинноволновое передающее устройство и, как минимум, два приемных устройства. Каждое сверхдлинноволновое передающее устройство состоит из последовательно соединенных генератора, усилителя мощности и передающей антенны. Каждое из приемных устройств, как минимум два из которых расположены на одной линии, состоит из приемной антенны и усилителя сигнала. При этом в систему дополнительно введены центр радиоволнового прогноза землетрясений с модемом, а в приемное устройство – фильтр, блок измерения амплитуды, блок измерения фазы, модем и формирователь сигналов опорной частоты и времени. Технический результат: повышение надежности определения зоны локализации предполагаемого землетрясения. 4 ил.
Изобретение относится к области радиоэлектроники, в частности, может быть использовано для определения зон появления предвестников землетрясения.
Известно устройство для определения предвестников землетрясения по патенту РФ 2256201. Устройство содержит приемоизмерительные модули сигналов фазовых радионавигационных систем. С указанными модулями соединены пороговые блоки. Выходы пороговых блоков соединены с сигнальными входами блока передачи выходных данных, предназначенного для передачи выходных данных по каналу связи, связывающему устройство с центром радиоволнового прогноза землетрясений. Устройство содержит также формирователь сигналов опорной частоты и времени, управляющий вход которого соединен с выходом блока привязки шкал времени, а выход – с опорными входами указанных модулей, пороговых блоков и блока передачи выходных данных, а также с входом обратной связи блока привязки шкал времени, опорный вход которого соединен с синхронизирующим выходом приемоизмерительного модуля.
Недостатком устройства является невысокая степень локализации зон предполагаемого землетрясения.
Наиболее близким аналогом является сверхдлинноволновая система по патенту РФ 2117399.
Система содержит передающий комплекс, состоящий из аппаратуры управления и синхронизации, передающего устройства и передающей антенны, и приемный комплекс, состоящий из приемной антенны, последовательно соединенной через блок согласования антенны с многоканальным приемоиндикатором и регистрирующей аппаратурой.
Недостатком известного устройства является невозможность определять место предполагаемого землетрясения.
На фиг.1 показан вариант структурной схемы передающего устройства системы.
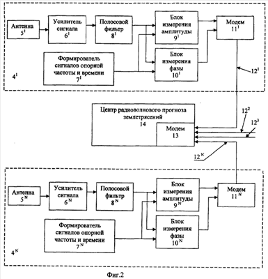
На фиг.2 показан вариант структурной схемы системы.
На фиг.3 показана схема, поясняющая принцип работы системы.
На фиг.4 показано распределение и временные характеристики сигналов.
На фиг.1 выход генератора 1 соединен со входом усилителя мощности 2, выход которого, в свою очередь, соединен с передающей антенной 3.
Генератор 1 может быть выполнен по любой известной схеме. В общем случае генератор 1 имеет возможность автоматически или иным известным способом перестраивать частоту в соответствии с заданными требованиями, например в соответствии с графиком (фиг.4).
Построение усилителей мощности 2 также известно.
Передающая антенна 3 имеет круговую диаграмму направленности в горизонтальной плоскости и может быть выполнена, например, в виде штыревой антенны.
На фиг.2 показана структурная схема системы. Система состоит из N (N как минимум равно 2) приемных устройств 4 и центра радиоволнового прогноза землетрясений 14 с модемом 13. Каждое приемное устройство 4 состоит из приемной антенны 5, соединенной со входом усилителя сигнала 6, выход которого соединен со входом полосового фильтра 8, выход которого соединен с первыми входами блока измерения амплитуды 9 и блока измерения фазы 10. На вторые входы блоков 9 и 10 поступают сигналы с выхода формирователя сигналов опорной частоты и времени 7. С выходов блока измерения амплитуды 9 и блока измерения фазы 10 сигналы поступают на вход модема 11. Выход модема 11 через канал связи 12 соединен с одним из входов модема 13 центра радиоволнового прогноза землетрясений 14, который и принимает решение о зонах предполагаемого землетрясения.
Система работает следующим образом.
Передающие устройства, расположенные в различных городах, передают монохромный сигнал определенной мощности и частоты в сверхдлинноволновом (СДВ) диапазоне (фиг.4). Положительные качества радиоволн сверхдлинноволнового (СДВ) диапазона:
– малые затухания с увеличением расстояния, позволяющие принимать сигналы на больших расстояниях;
– малая зависимость от атмосферных воздействий, что позволяет достигнуть большей стабильности приема сигналов.
Монохромный сигнал, формируемый генератором 1, усиленный усилителем мощности 2, излучается передающей антенной 3, имеющей круговую диаграмму направленности в горизонтальной плоскости.
В общем случае генератор передающего устройства имеет возможность перестраивать частоту.
Сигнал поступает на N приемных устройств на приемные антенны 51, 52, ,5N.
В зависимости от удаленности приемного устройства от передающего устройства приемный сигнал, поступающий с антенны, может быть усилен в определенное количество раз усилителем сигнала 6.
После усилителя 6 сигнал поступает на полосовой фильтр 8, где происходит выделение основной частоты сигнала за счет подавления помеховых сигналов.
После этого сигнал поступает на блок измерения амплитуды 9 и блок измерения фазы 10.
В отсутствие признаков – предвестников землетрясения сигнал на выходе этих блоков будет иметь стабильный постоянный характер.
В случае появления на трассе распространения СДВ радиоволн признаков землетрясения, вызванных изменениями концентрации радона и/или изменением электромагнитных полей при движение пластов земной коры, будут появляться долговременные отклонения фазы и амплитуды СДВ сигнала, которые будут зафиксированы данными блоками 9 и 10. Например, на трассах распространения СДВ волн 33-43-46 и 31-42-47 (фиг.3) при появлении признаков излома коры в зоне 15 на приемных устройствах 46 и 47 будут зафиксированы изменения амплитуды и фазы принимаемого сигнала относительно ранее принимаемого. Но на приемных устройствах 43 и 42 изменений фазы сигнала и его амплитуды не зафиксировано, как и на других приемных пунктах.
Обработанная информация через модемы 111, 112, ,11N по каналам связи 121, 122, ,12N через модем 13 поступает в центр радиоволнового прогноза землетрясений 14, где вся информация с приемных устройств обрабатывается.
Можно предположить, что областью предполагаемого землетрясения является зона 17.
Формирователь сигналов опорной частоты и времени 7 используется для привязки полученной блоками 9 и 10 информации к шкале времени.
В качестве передающих устройств могут быть использованы СДВ навигационные станции в Новосибирске, Краснодаре и Хабаровске, работающие в диапазоне 11.9, 12.6, 14.9 КГц [Патент РФ 2117399]. На фиг.4 показано распределение и временные характеристики сигналов этих станций.
Усилитель сигнала 6 может быть выполнен в виде усилителя с нормированным коэффициентом усиления. Низкая частота позволяет использовать, например, операционные усилители с отрицательной обратной связью.
Полосовой фильтр 8 может быть реализован в виде узкополосного цифрового фильтра на программируемой логической интегральной схеме (ПЛИС) или микропроцессоре.
Каналы связи 12 могут использоваться любые, например радиоканалы или оптоволокно.
Соответствующие каналам связи используются и модемы 11 и 13.
При расположении двух и более приемных устройств на одной линии возможно из-за географических особенностей установку приемных устройств с отклонением от оси не более 5-7 градусов (30-50 км). При этом характеристики системы в целом не ухудшаются.
Способ определения предвестников землетрясения подробно не описывается, так как он понятен из описания принципа работы системы.
Формула изобретения
Система для определения предвестников землетрясения, содержащая как минимум одно сверхдлинноволновое передающее устройство, состоящее из последовательно соединенных генератора, усилителя мощности и передающей антенны, и как минимум два приемных устройства, каждое из которых состоит из приемной антенны и усилителя сигнала, отличающийся тем, что в систему вводятся центр радиоволнового прогноза землетрясений с модемом, а в приемное устройство – фильтр, блок измерения амплитуды, блок измерения фазы, модем и формирователь сигналов опорной частоты и времени, при этом приемная антенна каждого приемного устройства соединена со входом усилителя сигнала, выход которого соединен со входом полосового фильтра, выход которого соединен с первыми входами блока измерения амплитуды и блока измерения фазы, вторые входы которых соединены соответственно с первым и вторым выходом формирователя сигналов опорной частоты и времени, а выходы блока измерения амплитуды и блока измерения фазы соединены соответственно с первым и вторым входом модема, который по каналу связи соединен с одним из входов модема центра радиоволнового прогноза землетрясений и при этом как минимум два приемных устройства расположены на одной линии.
РИСУНКИ
|