|
|
(21), (22) Заявка: 2008140877/28, 16.10.2008
(24) Дата начала отсчета срока действия патента:
16.10.2008
(46) Опубликовано: 20.01.2010
(56) Список документов, цитированных в отчете о поиске:
МОКРОВ Е.А. и др. Акселерометры НИИ физических измерений – элементы микросистемотехники. Микросистемная техника. – 2002, 1, с.3-9. RU 2246734 C1, 20.02.2005. RU 2231795 C1, 27.06.2004. RU 2284528 C1, 27.09.2006. RU 2265856 C1, 10.12.2005. US 4926689 A, 22.05.1990.
Адрес для переписки:
124498, Москва, Зеленоград, пр-д 4806, 5, МИЭТ, патентно-лицензионный отдел
|
(72) Автор(ы):
Тимошенков Сергей Петрович (RU), Миронов Сергей Геннадьевич (RU), Калугин Виктор Владимирович (RU), Шилов Валерий Федорович (RU)
(73) Патентообладатель(и):
Московский государственный институт электронной техники (технический университет) (RU), Общество с ограниченной ответственностью “Лаборатория ИТМЭ” (RU)
|
(54) МИКРОМЕХАНИЧЕСКИЙ ДАТЧИК ЛИНЕЙНЫХ УСКОРЕНИЙ
(57) Реферат:
Изобретение относится к измерительной технике и может быть использовано при создании микромеханических акселерометров и гироскопов. Датчик содержит чувствительный элемент (ЧЭ) маятникового типа, прикрепленный с помощью упругих подвесов к рамке ЧЭ. Рамка с помощью упоров крепится к основанию прибора, в рамке выполнены сквозные щели, по ее периметру. Это позволяет увеличить расстояние от мест крепления упоров до упругого подвеса и снизить влияние контактных напряжений на упругий подвес, что уменьшает нестабильность нуля и повышает точность прибора. 1 ил.
Изобретение относится к измерительной технике и может применяться для создания микромеханических датчиков линейных ускорений и гироскопов.
Известно устройство для измерения линейных ускорений, которое имеет чувствительный элемент в виде монолитной конструкции, включающей подвешенный на двух параллельных упругих элементах маятник и внешнюю рамку, выполненную в форме кольца [1].
Известен также микромеханический датчик линейных ускорений, который содержит чувствительный элемент маятникового типа, упругий подвес, соединяющий маятник с рамкой чувствительного элемента, выполняющей одновременно роль каркаса чувствительного элемента, на которой в зоне близкой к упругому подвесу выполнен внутренний изгиб, а также прямоугольные выступы с внешней стороны рамки для расположения упоров, которыми рамка крепится к основанию [2].
Перемещение поверхности детали согласно формуле Буссинеска:

где y – перемещение поверхности; E – модуль упругости; – коэффициент Пуассона; Р – давление на контакт; r – расстояние от точки приложения сосредоточенной силы до заданного сечения; S – площадь контакта упоров.
Напряжение в j-месте стыка упругих подвесов и упоров:

где y0 – толщина упора.
Тогда чувствительность к контактным напряжениям будет:

Таким образом, чувствительность конструкции к контактным напряжениям определяется площадью контакта и удаленностью места заделки упругого подвеса от силового контакта.
Недостатком известных устройств является нестабильность смещения нуля вследствие высокого уровня контактных напряжений, возникающих в местах крепления упоров, а следовательно, снижение точности прибора в целом.
Задачей, на решение которой направлено изобретение, является повышение точности прибора за счет снижения нестабильности нуля путем уменьшения влияния контактных напряжений на упругий подвес чувствительного элемента.
Поставленная задача решается за счет того, что в микромеханическом датчике линейных ускорений, содержащем чувствительный элемент маятникового типа, упругий подвес, соединяющий маятник с рамкой чувствительного элемента с расположенными на ней упорами для крепления рамки к основанию, согласно изобретению в рамке чувствительного элемента сформированы сквозные щели, которые расположены по периметру рамки, симметрично вдоль продольной оси чувствительного элемента, причем упоры крепления расположены с ее внешней стороны, а упругий подвес – с внутренней.
Отличительным признаком заявленного изобретения является то, что в рамке чувствительного элемента по ее периметру сформированы сквозные щели, при неизменном расположении мест крепления рамки чувствительного элемента к основанию и его габаритных размерах. Сама щель выполнена одинаковой и строго симметрична относительно продольной оси симметрии чувствительного элемента, при этом упоры крепления расположены с ее внешней стороны, а место крепления упругого подвеса – с внутренней, следовательно, тем самым увеличивается расстояние от мест крепления упоров до упругого подвеса, при этом габаритные размеры чувствительного элемента остаются неизменными и, следовательно, исходя из условия (3) уменьшается влияние контактных напряжений на упругий подвес, за счет чего уменьшается нестабильность смещения нуля и, как следствие, повышается точность прибора в целом. Кроме того, выполнение в рамке щели с расположенными с ее внешней стороны упорами крепления к основанию позволяет последней равномерно деформироваться от воздействия внешних факторов, при этом деформация в зоне крепления упругих подвесов практически сведена к нулю, а симметричное расположение – компенсировать до минимума вредные воздействия, тем самым опять же повышая точность.
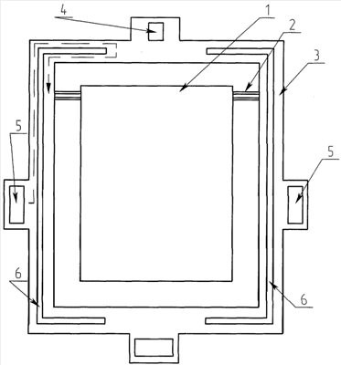
Предлагаемое изобретение иллюстрируется чертежом, на котором изображена конструкция микромеханического датчика, где 1 – чувствительный элемент маятникового типа; 2 – упругие подвесы; 3 – рамка; 4 – площадка для электрического контакта; 5 – упоры; сквозные щели – 6.
Предложенный микромеханический датчик содержит чувствительный элемент 1 маятникового типа, упругие подвесы 2, рамку 3, площадку для электрического контакта 4 и упоры 5. Маятник 1 прикреплен к рамке 3 с помощью упругих подвесов 2. Рамка 3 с помощью упоров 5 крепится к основанию прибора (не показано). По периметру рамки 3 сформированы две сквозные щели 6 (как показано для данного варианта реализации). С внешней стороны щели 6 расположены упоры крепления 5, с внутренней – упругие подвесы 2. Длина сквозных щелей 6 такова, чтобы обеспечить максимальную отдаленность упругих подвесов 2 от упоров крепления 5. Как показано на чертеже стрелкой – путь распостранения контактных напряжений от упоров крепления 5 до упругих подесов 2 увеличен за счет формирования щели 6 по периметру рамки 3. Таким образом, согласно выражению (3) чувствительность к контактным напряжениям уменьшается, следовательно, увеличивается точность прибора в целом. В то же время максимальная длина щелей 6 не должна существенным образом влиять на прочность конструкции в целом.
Работа устройства основана на хорошо известном принципе перемещения чувствительного элемента 1 под действием ускорения и измерения этого перемещения известными способами.
Микромеханический датчик изготавливается из монокристаллического кремния с ориентацией пластины <100>÷<110> методом анизотропного травления и крепится к основанию, которое может выполняться, например, из стекла марки ЛК 105, методом анодной посадки.
Источники информации
1. Патент США 4400970, МПК: G01P 15/13.
1. С.3-9 (прототип).
Формула изобретения
Микромеханический датчик линейных ускорений, содержащий чувствительный элемент маятникового типа, упругий подвес, соединяющий маятник с рамкой чувствительного элемента с расположенными на ней упорами для крепления рамки к основанию, отличающийся тем, что в рамке чувствительного элемента сформированы сквозные щели, которые расположены по периметру рамки симметрично вдоль продольной оси чувствительного элемента, причем упоры крепления расположены с ее внешней стороны, а упругий подвес с внутренней.
РИСУНКИ
|
|