|
|
(21), (22) Заявка: 2008114086/28, 10.04.2008
(24) Дата начала отсчета срока действия патента:
10.04.2008
(46) Опубликовано: 20.01.2010
(56) Список документов, цитированных в отчете о поиске:
US 6097786 A, 01.08.2000. RU 2178557 C2, 20.01.2002. SU 444970 A1, 30.09.1974. SU 1797707 A1, 23.02.1993. US 5712891 A, 27.01.1998.
Адрес для переписки:
197046, Санкт-Петербург, Каменноостровский пр., 1-3, оф.30, ООО “Юридическая фирма Городисский и Партнеры”, филиал в г.Санкт-Петербурге, Директору, В.М.Станковскому (для пат.пов. Н.В.Потаниной)
|
(72) Автор(ы):
Фурмаков Евгений Федорович (RU), Петров Олег Федорович (RU), Маслов Юрий Викторович (RU), Новиков Андрей Юрьевич (RU)
(73) Патентообладатель(и):
Открытое акционерное общество “Техприбор” (RU)
|
(54) РЕНТГЕНОФЛУОРЕСЦЕНТНЫЙ АНАЛИЗАТОР СОСТАВА И СКОРОСТИ ТРЕХКОМПОНЕНТНОГО ПОТОКА
(57) Реферат:
Изобретение используется для определения компонентного состава и скоростных параметров трехкомпонентного потока. Сущность заключается в том, что анализатор содержит рентгеновскую трубку, первичные и вторичные коллиматоры, рентгенопрозрачные вставки в стенке трубопровода с контролируемой газожидкостной средой, а также множество различных детекторов рентгеновского излучения, расположенных в различных направлениях относительно трубопровода с контролируемой газожидкостной средой. Кроме того, устройство содержит инжектор металлических частиц, вторичные излучатели, расположенные в отверстии вторичных коллиматоров, а также датчик давления газожидкостной среды, контроллер режимов потока, таймеры, дискриминатор, струевыпрямитель и нормализатор газожидкостного потока, а также электронный блок. Технический результат – повышение точности измерения скоростных параметров газожидкостного потока и массового содержания его компонентов. 10 ил.
Предлагаемое изобретение относится к измерительной технике и может быть использовано в нефтедобывающей промышленности для контроля дебита нефтяных скважин.
Известны флуоресцентные анализаторы параметров газожидкостного потока, основанные на облучении контролируемого потока пучком гамма-излучения (см. патент RU 2301985, МПК G01N 9/24 и патенты РФ на полезную модель 35892, МПК G01N 9/24 и 37222, МПК G01N 23/00).
Известные анализаторы содержат источник гамма-излучения, например радиоизотопный источник гамма-квантов, первичный коллиматор, предназначенный для формирования пучка гамма-излучения на выходе радиоизотопного источника, сцинтилляционный детектор гамма-излучения и фотоэлектронный преобразователь, предназначенные для преобразования пучка гамма-излучения, прошедшего через контролируемую среду, в электрический сигнал, вторичный коллиматор, предназначенный для формирования пучка гамма-излучения на входе сцинтилляционного детектора, и вычислитель, предназначенный для определения параметров газожидкостного потока по информации о степени поглощения гамма-излучения контролируемой средой.
Недостатками известных устройств являются низкая точность измерения и необходимость непрерывного экологического мониторинга.
Первый из указанных недостатков связан с высокой энергией гамма-квантов и становится особенно существенным при контроле потока смеси нефть-вода-газ, поскольку атомные номера наиболее тяжелых элементов, входящих в состав нефти и воды – углерода (12) и кислорода (16), – мало отличаются между собой по величине, а коэффициент поглощения гамма-излучения отдельными компонентами контролируемой среды зависит, в основном, от атомных номеров элементов, входящих в состав этих компонентов. В связи с этим различия в поглощении высокоэнергетического излучения водой и нефтью незначительно отличаются между собой, что затрудняет точное определение компонентного состава контролируемой среды.
Второй недостаток известных устройств объясняется, во-первых, высокой энергией гамма-излучения и, во-вторых, невозможностью приостановить излучение радиоизотопного источника в нерабочие периоды жизненного цикла устройства: при хранении, транспортировке и утилизации. Это обстоятельство существенно затрудняет эксплуатацию и утилизацию известных устройств и требует непрерывного экологического мониторинга.
От указанных недостатков свободен известный рентгенофлуоресцентный анализатор состава газожидкостного потока, основанный на облучении контролируемой среды пучком низкоэнергетического рентгеновского излучения (см. патент США 5689540, МПК G01N 23/22, G01N 23/06, G01N 23/087).
Этот анализатор содержит корпус, источник рентгеновского излучения – рентгеновскую трубку, источник питания рентгеновской трубки, первичные коллиматоры, предназначенные для формирования пучков рентгеновского излучения на выходе рентгеновской трубки, сцинтилляционные детекторы рентгеновского излучения, вторичные коллиматоры, предназначенные для формирования пучков рентгеновского излучения на входе сцинтилляционных детекторов, фотоэлектронные преобразователи сигналов сцинтилляционных детекторов, а также вычислитель, предназначенный для определения параметров газожидкостного потока по информации от фотоэлектронных преобразователей и для управления источником питания рентгеновской трубки.
Недостаток известного устройства заключается в невозможности определения скорости и расхода газожидкостного потока.
Этот недостаток вызван тем, что информативные сигналы о состоянии газожидкостного потока, вырабатываемые детекторами рентгеновского излучения, не связаны со скоростными параметрами потока, а зависят только от относительного содержания компонентов потока и состава каждого компонента.
Также известен рентгенофлуоресцентный анализатор компонентного состава газожидкостного потока, основанный на последовательном облучении трехкомпонентной среды, содержащей нефть, воду и газ, двумя уровнями рентгеновского излучения: излучением высокого уровня и излучением низкого уровня (см. патент США 2007/02 91898А1, МПК G01N 23/06, G01F 1/66).
Этот анализатор содержит корпус, источник рентгеновского излучения – рентгеновскую трубку, управляемый источник питания рентгеновской трубки, измерительные и контрольные сцинтилляционные детекторы рентгеновского излучения, рентгенопрозрачные вставки, установленные в корпусе, первичные и вторичные коллиматоры, а также вычислитель объемного и массового содержания компонентов контролируемой среды.
Недостатком известного анализатора является невозможность определения покомпонентного расхода газожидкостного потока.
Указанные недостатки отсутствует у наиболее близкого к предлагаемому изобретению по технической сущности и достигаемому результату известного рентгенофлуоресцентного анализатора состава и скорости трехкомпонентного потока (см. патент США 6097786, МПК G01N 23/06).
Данный анализатор принят за ближайший аналог (прототип) предлагаемого изобретения.
В известном анализаторе использованы два различных метода измерения.
Для измерения компонентного состава газожидкостного потока использован метод рентгеновского зондирования контролируемой среды с помощью источника низкоэнергетического рентгеновского излучения – рентгеновской трубки. Информация о компонентном объемном составе контролируемой среды формируется в известном анализаторе путем измерения степени ослабления рентгеновского излучения при его прохождении через контролируемую среду, где оно поглощается и рассеивается. Измерение степени ослабления производится сцинтилляционными детекторами, преобразующими рентгеновское излучение в видимый свет. Оптические сигналы с выходов детекторов преобразуются в электрические сигналы с помощью фотоэлектронных преобразователей и поступают в электронный блок, в составе которого предусмотрены модули обработки упомянутых электрических сигналов, вычислитель параметров газожидкостного потока и модуль управления источником питания рентгеновской трубки.
В данном методе выходной сигнал каждого сцинтилляционного детектора зависит от энергии рентгеновского излучения, прошедшего через контролируемую среду, и является функцией объемного компонентного состава этой среды, что позволяет вычислить относительное объемное содержание каждого компонента контролируемого потока.
Для измерения скорости газожидкостного потока использован кросскорреляционный метод, в котором данные для вычисления скорости формируются в результате рентгеновского облучения контролируемого потока в двух его различных зонах, последовательно расположенных по направлению потока, и контроля рентгеновских излучений, прошедших через контролируемый поток в каждой из упомянутых зон, с помощью вторых и первых сцинтилляционных детекторов рентгеновского излучения, последовательно установленных по направлению газожидкостного потока. Метод позволяет вычислить скорости одного или нескольких компонентов газожидкостного потока на основе информации, вырабатываемой вторыми и первыми сцинтилляционными детекторами, путем обнаружения движущейся со скоростью потока локальной неоднородности его состава и измерения времени перемещения локальной неоднородности от вторых до первых сцинтилляционных детекторов.
В состав известного анализатора входят генератор низкоэнергетического рентгеновского излучения – рентгеновская трубка, источник питания рентгеновской трубки, первичные коллиматоры, предназначенные для формирования пучков рентгеновского излучения на выходе рентгеновской трубки, корпус, представляющий собой отрезок трубопровода, предназначенного для протекания контролируемой среды, рентгенопрозрачные вставки, установленные в стенке корпуса, первые и вторые сцинтилляционные детекторы, предназначенные для приема рентгеновского излучения, прошедшего через рентгенопрозрачные вставки и контролируемую среду, одноканальные фотоэлектронные преобразователи, например ионизационные камеры, каждый из которых предназначен для преобразования оптического сигнала с выхода соответствующего сцинтилляционного детектора в электрический сигнал, вторичные коллиматоры, предназначенные для формирования пучков рентгеновского излучения на входах сцинтилляционных детекторов, и электронный блок, в составе которого предусмотрены вычислитель, модуль управления и модули обработки электрических сигналов, предназначенные для преобразования электрических сигналов с выходов фотоэлектронных преобразователей в измерительную информацию о компонентном объемном составе и скорости контролируемого потока, а также для управления источником питания рентгеновской трубки. Сцинтилляционные детекторы и рентгеновская трубка известного анализатора установлены на противоположных сторонах корпуса, причем первые сцинтилляционные детекторы установлены в плоскости поперечного сечения корпуса, проходящей через ось излучения рентгеновской трубки, а вторые сцинтилляционные детекторы установлены перед первыми детекторами по направлению потока.
Известный анализатор позволяет вычислять относительное объемное содержание компонентов газожидкостного потока на основе измеренных параметров поглощения рентгеновского излучения контролируемой средой; кроме того, известный анализатор позволяет вычислять скоростные параметры газожидкостного потока с использованием кросскорреляционного метода путем измерения скорости перемещения локальной неоднородности состава контролируемой среды.
К недостаткам известного анализатора относятся:
– существенная погрешность измерения скоростных параметров газожидкостного потока;
– низкая точность измерения массового содержания компонентов контролируемой среды;
– невозможность контроля скорости потока, не содержащего существенных локальных неоднородностей состава контролируемой среды;
– высокая инструментальная погрешность измерения параметров контролируемого потока, вызванная разбросом по величине и дрейфом во времени коэффициентов передачи отдельных одноканальных сцинтилляционных детекторов и отдельных одноканальных фотоэлектронных преобразователей.
Первый недостаток известного анализатора – существенная погрешность измерения скоростных параметров газожидкостного потока – вызван различиями в способе определения местоположения движущейся локальной неоднородности состава контролируемой среды первыми и вторыми сцинтилляционными детекторами. Первые детекторы воспринимают рентгеновское излучение, пересекающее корпус в плоскости, содержащей ось излучения рентгеновскойтрубки, и определяют местоположение локальной неоднородности потока по отношению именно к этой плоскости, ортогональной продольной оси корпуса. Однако вторые детекторы, расположенные по потоку перед первыми, воспринимают рентгеновское излучение, пересекающее корпус под некоторым углом к плоскости его поперечного сечения, и в силу этого определяют местоположение той же локальной неоднородности по отношению не к ортогональной, а к некоторой наклонной плоскости. Это приводит к неоднозначности в определении как конфигурации, так и местоположения локальной неоднородности потока и не дает возможности однозначным образом фиксировать момент времени прохождения неоднородности мимо первых и мимо вторых сцинтилляционных детекторов, что приводит к существенной погрешности вычисления скорости потока кросскорреляционным методом.
Следует упомянуть, что для снижения указанной погрешности в прототипе предусмотрен вариант исполнения с использованием дополнительной рентгеновской трубки, установленной в плоскости расположения вторых сцинтилляционных детекторов. Однако это решение несмотря на существенное усложнение конструкции известного устройства не позволяет существенно снизить упомянутую погрешность из-за неизбежного различия между собой спектров, интенсивностей и временных дрейфов излучения двух рентгеновских трубок.
Второй недостаток известного анализатора – низкая точность измерения массового содержания компонентов контролируемой среды – вызван тем, что степень поглощения контролируемой средой рентгеновского излучения неоднозначно связана с плотностью среды и не может достоверно использоваться в качестве информативного параметра для определения массового содержания ее компонентов.
Третий недостаток известного анализатора – невозможность контроля скорости потока, не содержащего существенных локальных неоднородностей состава контролируемой среды, – вызван принципиальной неработоспособностью кросскорреляционного метода при отсутствии в контролируемом потоке неоднородностей, выявляемых рентгенофлуоресцентным методом.
Четвертый недостаток известного анализатора – высокая инструментальная погрешность измерения параметров контролируемого потока – вызван разбросом коэффициентов передачи отдельных одноканальных сцинтилляционных детекторов и отдельных одноканальных фотоэлектронных преобразователей как по номинальным значениям, так и по величинам временных и температурных дрейфов. Этот разброс приводит к неконтролируемым различиям между собой амплитуд сигналов на выходе как отдельных одноканальных сцинтилляционных детекторов, так и отдельных одноканальных фотоэлектронных преобразователей известного анализатора и создает неустранимую дополнительную инструментальную погрешность измерения.
Задачей предлагаемого изобретения и его техническим результатом является повышение точности и достоверности измерения параметров газожидкостного потока, в том числе массового содержания компонентов потока и скорости однородных потоков.
Для решения поставленной задачи изменены конструкция и состав элементов рентгенофлуоресцентного анализатора состава и скорости трехкомпонентного потока.
В состав анализатора входят корпус, в стенке которого последовательно по направлению потока установлены вторая и первая рентгенопрозрачные вставки, рентгеновская трубка с источником питания, первый и второй первичные коллиматоры с несколькими коллимирующими отверстиями в каждом, первый и второй вторичные коллиматоры с несколькими коллимирующими отверстиями в каждом, первые и вторые детекторы, первые и вторые фотоэлектронные преобразователи и электронный блок. В состав электронного блока входят вычислитель, первый и второй модули обработки и модуль управления, причем каждый из первых детекторов оптически соединен с соответствующим первым фотоэлектронным преобразователем, каждый из вторых детекторов оптически соединен с соответствующим вторым фотоэлектронным преобразователем, а вычислитель соединен со входом модуля управления, подключенного к источнику питания.
В заявленном устройстве новым по отношению к прототипу является то, что согласно изобретению в его состав дополнительно введены первое и второе рентгеновские зеркала, третья рентгенопрозрачная вставка, установленная в стенке корпуса после первой рентгенопрозрачной вставки по направлению потока, третий первичный и третий вторичный коллиматоры с несколькими коллимирующими отверстиями в каждом, третьи детекторы, первые, вторые, третьи и четвертые многоканальные световоды, контрольные детекторы и вторичные излучатели, четвертые детекторы и ортогональные коллиматоры, а также инжектор металлических частиц.
Ортогональные коллиматоры установлены под прямым углом к оси излучения рентгеновской трубки, а контрольные детекторы установлены таким образом, чтобы прямая линия, соединяющая центр каждого из них с центром излучения рентгеновской трубки, не пересекала корпус.
Кроме того, в состав анализатора введены дискриминатор, датчик давления и измерительный преобразователь, струевыпрямитель и нормализатор, контроллер режимов, а также первый и второй таймеры. При этом первые детекторы объединены в первый многоканальный детектор, а в качестве первых и вторых фотоэлектронных преобразователей применены соответственно первый и второй многоканальные фотоэлектронные преобразователи. Вычислитель дополнительно снабжен двумя многоканальными входами и многоканальным входом-выходом, а первый и второй модули обработки снабжены каждый дополнительным входом и дополнительным выходом, перед каждым из детекторов первого многоканального детектора установлен соответствующий вторичный излучатель, перед каждым четвертым детектором установлен соответствующий ортогональный коллиматор. Струевыпрямитель и нормализатор установлены внутри корпуса последовательно по направлению потока перед второй рентгенопрозрачной вставкой, датчик давления установлен в стенке корпуса. Выход каждого из детекторов первого многоканального детектора и выход каждого из контрольных детекторов соединен с соответствующим каналом первого многоканального световода, выход каждого из вторых и выход каждого из третьих детекторов соединен соответственно с соответствующим каналом второго и соответствующим каналом третьего многоканальных световодов, выход каждого из четвертых детекторов соединен с соответствующим каналом четвертого многоканального световода. Выходы первого и выходы четвертого многоканальных световодов подключены каждый к соответствующим входам первого многоканального фотоэлектронного преобразователя, подсоединенного своими выходами к соответствующим входам первого модуля обработки с помощью многоканальной информационной связи, выходы второго и выходы третьего многоканальных световодов подключены каждый к соответствующим входам второго многоканального фотоэлектронного преобразователя, подключенного своими выходами к соответствующим входам второго модуля обработки с помощью многоканальной информационной связи. При этом дискриминатор подключен к многоканальному входу-выходу вычислителя с помощью двусторонней многоканальной информационной связи, контроллер режимов и измерительный преобразователь подключены каждый к соответствующему многоканальному входу вычислителя с помощью соответствующей многоканальной информационной связи. Дополнительный выход первого модуля обработки соединен со входом контроллера режимов, а дополнительный вход первого модуля обработки – с выходом первого таймера, дополнительный выход второго модуля обработки соединен со входом дискриминатора, а дополнительный вход второго модуля обработки – с выходом второго таймера; датчик давления подключен ко входу измерительного преобразователя. При этом вход первого и вход второго таймеров предназначены каждый для подсоединения к внешним системам, многоканальный вход-выход которых предназначен для обмена информацией с вычислителем по двусторонней информационной связи. Ортогональный коллиматор содержит коллимирующие отверстия, глубина каждого из которых существенно больше диаметра, а оси параллельны между собой и ортогональны оси излучения рентгеновской трубки. Вторичный излучатель представляет собой выполненную из тяжелого металла, например гадолиния, трубку, установленную в отверстии первого вторичного коллиматора. Инжектор металлических частиц предназначен для подачи (перед второй рентгенопрозрачной вставкой по направлению потока) в контролируемый поток тонкодисперсных частиц тяжелого металла, например платины, и выполнен в виде баллона, заполненного суспензией, содержащей упомянутые частицы. В баллоне установлен механизм подачи, который снабжен электроприводом, подключенным к генератору импульсов, соединенному с вычислителем.
Устройство и работа предложенного анализатора поясняются Фиг.1- Фиг.10.
На Фиг.1 представлена функциональная схема анализатора, на Фиг.2 – поперечное сечение корпуса в плоскости, содержащей ось излучения рентгеновской трубки, на Фиг.3 – функциональная схема, поясняющая работу анализатора при измерении скорости, на Фиг.4 – графическая зависимость коэффициентов ослабления рентгеновского излучения от энергии излучения, на Фиг.5 – временнáя последовательность оптических импульсов, вызванных рентгеновскими фотонами с различной энергией, на Фиг.6 – графическая зависимость плотности потока рентгеновских фотонов от их энергии при нескольких значениях напряжения питания рентгеновской трубки, на Фиг.7 – графическая зависимость плотности потока рентгеновских фотонов от их энергии при наличии и при отсутствии наночастиц платины в контролируемом потоке, на Фиг.8 – продольное сечение инжектора металлических частиц, на Фиг.9 – его поперечное сечение, а на Фиг.10 – пример установки инжектора металлических частиц в корпусе.
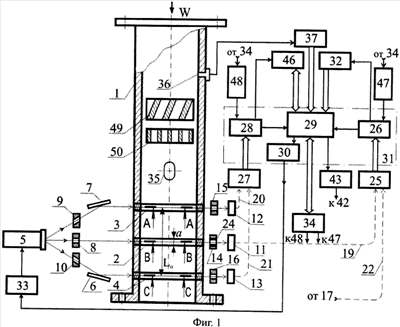
На Фигурах введены следующие обозначения: 1 – корпус, 2, 3 и 4 – первая, вторая и третья рентгенопрозрачные вставки соответственно, 5 – рентгеновская трубка, 6 и 7 – первое и второе зеркала соответственно, 8, 9 и 10 – первый, второй и третий первичные коллиматоры соответственно, в каждом из которых выполнены коллимирующие отверстия, 11 – первый многоканальный детектор, 12 и 13 – вторые и третие сцинтилляционные детекторы соответственно, 14, 15 и 16 – первый, второй и третий вторичные коллиматоры соответственно, в каждом из которых выполнены коллимирующие отверстия, 17 – четвертые сцинтилляционные детекторы, 18 – ортогональные коллиматоры, 19, 20, 21 и 22 – первый, второй, третий и четвертый световоды соответственно, 23 – контрольные сцинтилляционные детекторы, 24 – вторичные излучатели, 25 – первый фотоэлектронный преобразователь, 26 – первый модуль обработки, 27 – второй фотоэлектронный преобразователь, 28 – второй модуль обработки, 29 – вычислитель, 30 – модуль управления, 31 – электронный блок, 32 – контроллер режимов, 33 – источник питания, 34 – внешние системы, 35 – инжектор металлических частиц, 36 – датчик давления, 37 – измерительный преобразователь, 38 – суспензия, 39 – поворотный диск, 40 – ось поворотного диска, 41 – червяк, 42 – электропривод, 43 – генератор импульсов, 44 – сальник, 45 – уплотнительная прокладка, 46 – дискриминатор, 47 – первый таймер, 48 – второй таймер, 49 – струевыпрямитель, 50 – нормализатор.
Предложенный анализатор содержит корпус 1, представляющий собой отрезок трубопровода с фланцами на его концах, предназначенными для подсоединения корпуса 1 к внешней магистрали.
В стенке корпуса 1 установлены рентгенопрозрачные вставки: первая, вторая и третья вставки 2, 3, и 4, например кольцеобразные, выполненные из бериллия.
Низкоэнергетическая рентгеновская трубка 5 установлена таким образом, что ее ось излучения направлена в сторону первой вставки 2 вдоль ее диаметра. Напротив второй и напротив третьей вставок 3 и 4 расположены соответственно второе и первое зеркала 7 и 6, каждое из которых установлено по отношению к плоскости поперечного сечения корпуса под некоторым углом.
На выходе рентгеновской трубки 5 установлены первый, второй и третий первичные коллиматоры 8, 9 и 10 соответственно, с несколькими веером расходящимися коллимирующими отверстиями в каждом. При этом второй первичный коллиматор 9 и третий первичный коллиматор 10 расположены перед первым и перед вторым зеркалами 6 и 7 соответственно. Коллимирующие отверстия в каждом из коллиматоров 9, 10 выполнены таким образом, что оси каждого из них направлены по отношению к плоскости поперечного сечения корпуса под некоторым углом. Угол ориентации зеркал 6 и 7 и угол ориентации коллимирующих отверстий коллиматоров 9 и 10 выбираются таким образом, чтобы отраженные зеркалами пучки рентгеновского излучения пересекали корпус в плоскостях расположения вставок 3 и 4 соответственно.
В состав анализатора также входят первый многоканальный детектор 11 и вторые и третие детекторы 12 и 13 соответственно, на входе каждого из которых установлены соответствующие первые, вторые и третие вторичные коллиматоры 14, 15 и 16 соответственно, в каждом из которых содержится несколько коллимирующих отверстий, ось каждого из которых направлена от центра излучения рентгеновской трубки 5 к центру соответствующего детектора, при этом число упомянутых отверстий равно числу соответствующих детекторов. Кроме того, в состав анализатора входят два четвертых детектора 17, два ортогональных коллиматора 18, каждый из которых установлен перед одним из четвертых детекторов 17, а также первый, второй, третий и четвертый световоды 19, 20, 21 и 22 соответственно. В плоскости установки первого многоканального детектора 11 расположены также контрольные детекторы 23, а в каждом, кроме двух крайних, отверстии первого вторичного коллиматора 14 установлен один из вторичных излучателей 24, представляющий собой коллимирующую трубку, выполненную из тяжелого металла, характеристическая линия которого расположена в низкоэнергетической части жесткого рентгеновского диапазона, например из гадолиния или золота.
Каждый контрольный детектор 23 установлен таким образом, чтобы прямая линия, соединяющая его центр с центром излучения рентгеновской трубки 5, не пересекала первую вставку 2, т.е. проходила снаружи корпуса 1, а каждый из ортогональных коллиматоров 18 расположен в плоскости установки детекторов первого многоканального детектора 11 таким образом, что оси его коллимирующих отверстий расположены под прямым углом к оси излучения рентгеновской трубки 5.
Выход каждого из детекторов первого многоканального детектора 11, выход каждого из контрольных детекторов 23 и выход каждого из четвертых детекторов 17 подсоединены к соответствующему каналу первого световода 19, выход каждого из вторых детекторов 12 подсоединен к соответствующему каналу второго световода 20, а выход каждого из третьих детекторов 13 подсоединен к соответствующему каналу третьего световода 21.
Первый световод 19 и четвертый световод 22 подключены каждый своими выходами к соответствующим входам первого фотоэлектронного преобразователя 25, выход которого соединен многоканальной информационной связью со входом первого модуля обработки 26, а второй и третий световоды 20 и 21 соответственно подключены каждый своими выходами к соответствующим входам второго фотоэлектронного преобразователя 27, выход которого соединен многоканальной информационной связью со входом второго модуля обработки 28.
Выход первого и выход второго модулей обработки 26 и 28 соответственно подключены каждый к соответствующему входу вычислителя 29, выход которого соединен с модулем управления 30, а дополнительный выход – с генератором импульсов 43. Вычислитель 29, первый и второй модули обработки 26 и 28 соответственно и модуль управления 30 входят в состав электронного блока 31.
Предложенный анализатор также содержит контроллер режимов 32, выход которого подключен с помощью многоканальной информационной связи к соответствующему многоканальному входу вычислителя 29, а вход соединен с дополнительным выходом первого модуля обработки 26, и источник питания 33 рентгеновской трубки 5, вход которого подключен к выходу модуля управления 30.
Вычислитель 29 содержит выход, подсоединенный ко входу модуля управления 30, и может быть снабжен дополнительным выходом и двусторонней информационной связью для обмена информацией с внешними системами 34.
Внутри корпуса 1 перед второй вставкой 3 по направлению потока установлен инжектор металлических частиц 35, а в стенке корпуса 1 установлен датчик давления 36, подсоединенный ко входу измерительного преобразователя 37, подключенного к соответствующему многоканальному входу вычислителя 29 с помощью многоканальной информационной связи.
Инжектор 35 металлических частиц установлен внутри корпуса 1 в его диаметральном сечении перед второй вставкой 3 по направлению потока и предназначен для подачи в контролируемый поток частиц тяжелого металла. Инжектор 35 металлических частиц может содержать исполнительный механизм, соединенный с электроприводом и установленный внутри баллона, заполненного суспензией 38, содержащей тонкодисперсные частицы металлического порошка, например порошка платины, золота или свинца; в состав суспензии также могут входить нефть, вода и пластификатор, обеспечивающий консистентность суспензии во всем диапазоне рабочей температуры предложенного анализатора. Упомянутый баллон выполнен овальным в поперечном сечении и для уменьшения гидравлического сопротивления установлен в корпусе таким образом, чтобы большая ось овала совпадала с продольной осью корпуса. В стенке баллона выполнены прямоугольные отверстия. Исполнительный механизм инжектора 35 снабжен дисками, установленными таким образом, что часть каждого диска находится внутри баллона, а часть выступает сквозь упомянутое отверстие за его пределы. Поскольку исполнительный механизм должен размещаться внутри уплощенного баллона, все поворотные диски установлены в плоскости его продольного сечения, проходящей через большую ось овала (см. Фиг.8). Каждый из поворотных дисков 39 представляет собой червячное колесо, установленное на оси 40, находящееся в зацеплении с цилиндрическим червяком 41 (см. Фиг.9). Червяк 41 соединен с шаговым электроприводом 42, подключенным к генератору импульсов 43, вход которого соединен с дополнительным выходом вычислителя 29. Для герметизации червяка 41 предусмотрен сальник 44.
Инжектор 35 металлических частиц установлен внутри корпуса 1 и закреплен на этом корпусе с помощью фланца, снабженного уплотнительной прокладкой 45 (см. Фиг.10).
В состав предложенного анализатора также входит дискриминатор 46, подключенный с помощью двусторонней многоканальной информационной связи к соответствующему многоканальному входу-выходу вычислителя 29. Вход этого дискриминатора соединен с дополнительным выходом второго модуля обработки 28. Кроме того, в состав анализатора также входят первый таймер 47, выход которого подключен к дополнительному входу первого модуля обработки 26, и второй таймер 48, выход которого соединен с дополнительным входом второго модуля обработки 28; вход первого таймера 47 и вход второго таймера 48 предназначены каждый для подключения к внешним системам 34.
Внутри корпуса 1 перед инжектором металлических частиц 35 последовательно по направлению потока установлены струевыпрямитель 49 и нормализатор 50 структуры газожидкостного потока.
Предложенный рентгенофлуоресцентный анализатор состава и скорости трехкомпонентного потока работает следующим образом.
Поток контролируемой среды, движущейся вдоль корпуса 1 со скоростью W, подвергается предварительной обработке в струевыпрямителе 49 и нормализаторе 50. В струевыпрямителе 49 газожидкостный поток перемешивается с целью повышения его структурной однородности и, прежде всего, с целью устранения локальных вихрей и крупных одиночных пузырей сопутствующего газа. В нормализаторе 50 производится частичная ламинаризация и выравнивание скорости потока.
При подаче в вычислитель 29 сигнала запуска, например, из внешних систем 34 по двусторонней информационной связи с выхода вычислителя 29 на вход модуля управления 30 поступает команда включения источника питания 33, который включается и запитывает рентгеновскую трубку 5 напряжением, соответствующим номинальному режиму питания, заданному модулем управления 30. В результате на выходе рентгеновской трубки 5 возбуждается и пересекает контролируемую среду, находящуюся в корпусе 1, низкоэнергетическое рентгеновское излучение, пучки которого формируются в каждом из коллимирующих отверстий первого, второго и третьего первичных коллиматоров 8, 9 и 10 соответственно.
Упомянутые первичные коллиматоры формируют три группы рентгеновских пучков, веерообразно расходящихся от центра излучения рентгеновской трубки 5 по направлениям к соответствующим отверстиям соответствующего вторичного коллиматора.
Первая группа веерообразно расходящихся пучков формируется первым первичным коллиматором 8 и лежит в плоскости поперечного сечения В-В корпуса 1, содержащим первую вставку 2 и ось излучения рентгеновской трубки 5; основная часть пучков этой группы за исключением двух крайних пучков пересекает корпус 1 через первую вставку 2, а крайние пучки не пересекают корпус 1 и проходят по воздуху у противоположных сторон корпуса 1 (см. Фиг.2).
Вторая группа веерообразно расходящихся пучков формируется вторым первичным коллиматором 9 и направлена в сторону зеркала 7. Отраженные зеркалом 7 пучки пересекают корпус 1 в сечении А-А, содержащем вторую вставку 3.
Третья группа веерообразно расходящихся пучков формируется третьим первичным коллиматором 10 и направлена в сторону зеркала 6. Отраженные зеркалом 6 пучки пересекают корпус 1 в сечении С-С, содержащем третью вставку 4 (см. Фиг.3).
Каждый из двух крайних рентгеновских пучков первой группы, сформированных в крайних коллимирующих отверстиях первого первичного коллиматора 8 в сечении В-В корпуса 1, попадает, не пересекая корпус 1, в одно из крайних отверстий первого вторичного коллиматора 14 и после формирования в этом отверстии падает на соответствующий ему контрольный детектор 23. Каждый из сформированных первым первичным коллиматором 8 рентгеновских пучков, лежащих в сечении В-В корпуса 1, кроме двух крайних пучков, пересекает первую вставку 2 и контролируемую среду, заполняющую корпус 1, достигает соответствующего ему вторичного излучателя 24, установленного в отверстии первого вторичного коллиматора 14, и после формирования в коллимирующем отверстии этого излучателя падает на один из детекторов многоканального первого детектора 11.
В каждом из контрольных детекторов 23 и в каждом из детекторов многоканального первого детектора 11 формируется оптический сигнал, соответствующий интенсивности принятого рентгеновского излучения. Каждый из сформированных оптических сигналов подается в соответствующий канал первого световода 19 и с соответствующего выхода последнего поступает на соответствующий вход первого фотоэлектронного преобразователя 25.
Одновременная передача по каналам первого световода 19 нескольких оптических сигналов, выработанных несколькими контрольными детекторами 23 и несколькими детекторами многоканального первого детектора 11, дает возможность использовать для фотоэлектронного преобразования этих сигналов единый многоканальный фотоэлектронный преобразователь – первый фотоэлектронный преобразователь 25.
Такое техническое решение позволяет свести к минимуму разброс коэффициентов преобразования и величин температурных и временных дрейфов нескольких отдельных детекторов и нескольких отдельных фотоэлектронных преобразователей и тем самым минимизировать соответствующую инструментальную погрешность.
Каждый из рентгеновских пучков, пересекающих контролируемую среду в плоскости расположения первой вставки 2, частично поглощается и рассеивается этой средой, что приводит к уменьшению плотности потока рентгеновских фотонов, падающих на каждый из детекторов первого многоканального детектора 11, и дает возможность оценивать компонентный состав поглощающей среды вдоль линии пересечения по степени уменьшения плотности потока фотонов в сравнении с исходной плотностью этого потока.
Для получения более детальных данных об объемном компонентном составе следует последовательно облучать контролируемую среду пучками низкоэнергетического рентгеновского излучения, различающимися между собой уровнем энергии, при этом каждый уровень энергии рентгеновского излучения задается соответствующим ему напряжением питания рентгеновской трубки 5. Если, например, необходимо получить, как это показано на Фиг.6, три уровня энергии рентгеновского излучения, следует использовать три значения напряжения питания U1, U2 и U3, обеспечивающих уровни энергии E1(Imax1), E2(Imax2) и Е3(Imax3) соответственно, отвечающие максимальным значениям плотностей потоков фотонов
Imax1, Imax2 и Imax3 на выходе рентгеновской трубки 5. Для этого рентгеновская трубка 5 последовательно запитывается напряжениями U1 U2 и U3 от источника питания 33 в соответствии с переключающими сигналами, поступающими на вход этого источника из модуля управления 30 при получении им соответствующих команд из вычислителя 29.
При облучении контролируемой среды рентгеновским излучением различной энергии в жестком рентгеновском диапазоне 30-100 кэВ изменяется характер поглощения рентгеновских фотонов каждым из компонентов контролируемой среды.
Это объясняется тем, что степень ослабления рентгеновского излучения компонентом контролируемой среды зависит не только от состава этого компонента, но и от энергии излучения, то есть является функцией энергии рентгеновских фотонов, генерируемых рентгеновской трубкой 5 (см. Фиг.4):

µ – линейный коэффициент ослабления компонентом контролируемой среды рентгеновского излучения с энергией Е;
Е – энергия рентгеновского излучения.
В случае фиксированного уровня энергии рентгеновского излучения линейный коэффициент ослабления падающего пучка конкретным компонентом контролируемой среды является постоянной величиной. Так, например, если выбрать конкретный компонент и зафиксировать определенный уровень энергии излучения, то значение линейного коэффициента ослабления µ будет постоянным.
Таким образом, зависимость степени ослабления плотности потока фотонов заданной энергии конкретным компонентом определяется эффективным линейным размером этого компонента вдоль направления соответствующего рентгеновского пучка (далее по тексту – эффективной толщиной компонента):

Y(x) – плотность потока фотонов на входе детектора многоканального первого детектора 11 при заполнении корпуса 1 однокомпонентной контролируемой средой;
I – плотность потока фотонов на входе детектора многоканального первого детектора 11 при отсутствии в корпусе 1 контролируемой среды;
е – основание натуральных логарифмов;
µ – линейный коэффициент ослабления рентгеновского излучения контролируемой средой;
х – эффективная толщина контролируемой среды.
Обозначим компоненты контролируемой среды следующим образом: K1 – нефть, K2 – вода и K3 – газ.
При наличии на пути падающего рентгеновского пучка всех трех компонентов: нефти, воды и газа, выражение (2) принимает вид функционального уравнения:

Ym1(t) – текущее значение плотности потока фотонов на входе детектора с порядковым номером m первого многоканального детектора 11 при напряжении U1 питания рентгеновской трубки 5 и при наличии в корпусе 1 трехкомпонентной контролируемой среды;
x1, x2 и х3 – эффективные толщины компонентов K1, K2 и K3 контролируемой среды соответственно;
µ1(Eq), µ2(Eq) и µ3(Eq) – линейные коэффициенты ослабления рентгеновских излучений с фиксированной энергией Eq каждым из компонентов K1, K2 и K3;
Im1(t) – текущее значение плотности потока фотонов на входе детектора с порядковым номером m, входящего в состав первого многоканального детектора 11, при напряжении U1 питания рентгеновской трубки 5 и при отсутствии в корпусе 1 контролируемой среды;
t – текущее время.
Последовательно подставляя в уравнение (3) значения линейных коэффициентов ослабления, соответствующие нескольким, например трем, значениям энергии излучения Eq=Е1, Eq=Е2, Eq=Е3, а именно значения µi(E1), µi(Е2) и µi(E3), где i=1, 2, 3, получим для каждого рентгеновского пучка, лежащего в плоскости расположения первой вставки 2, три системы функциональных уравнений вида (3) с тремя численными неизвестными х1, х2, х3 и тремя функциональными неизвестными µ1(Eq), µ2(Eq), µ3(Eq).
В случае когда текущее значение параметра Im1(t) известно, то есть когда оно непрерывно измеряется, когда конкретное значение энергии излучения Eq=Е1, Eq=Е2, Eq=Е3 зафиксировано, а также когда определены и занесены в память первого модуля обработки 26 экспериментальные зависимости линейных коэффициентов ослабления от энергии излучения µ1(Eq), µ2(Eq), µ3(Eq), решение систем функциональных уравнений вида (3) в вычислителе 29 позволяет получить значения эффективных толщин x1, x2, и
х3 каждого из компонентов K1, K2 и K3 соответственно вдоль линии пересечения контролируемой среды одним из падающих рентгеновских пучков и тем самым определить объемную долю каждого из этих компонентов в поперечном сечении контролируемого потока вдоль направления упомянутого пучка. После определения эффективных толщин x1, x2, и х3 нефти, воды и газа соответственно вдоль каждого из рентгеновских пучков, падающих на один из m детекторов первого многоканального детектора 11, в вычислителе 29 производится контроль достоверности полученных значений эффективных толщин, для чего используется контрольное условие:

l – длина хорды, стягивающей дугу окружности радиуса R вдоль соответствующего рентгеновского пучка;
R – внутренний радиус корпуса 1.
Для центрального рентгеновского пучка, направленного вдоль оси излучения рентгеновской трубки 5, длина l упомянутой хорды составляет l=2R, для всех других пучков она меньше указанного значения: l<2R.
Операции решения системы функциональных уравнений вида (3) относительно искомых величин x1, х2 и х3 выполняются в вычислителе 29.
Параметр Im1(t) упомянутых функциональных уравнений характеризует текущее значение плотности потока фотонов на входе соответствующего детектора первого многоканального детектора 11 при отсутствии в корпусе 1 контролируемой среды.
Поскольку при эксплуатации предложенного анализатора контролируемая среда всегда заполняет корпус 1, обеспечить состояние «при отсутствии контролируемой среды» весьма затруднительно. В тоже время в процессе эксплуатации предложенного анализатора текущее значение параметра Im1(t) может существенно изменяться по величине относительно своего номинального значения, измеренного и введенного в память первого модуля обработки 26 при юстировке предложенного анализатора.
Изменение текущего значения параметра Im1(t) может происходить, например, в связи с износом катода рентгеновской трубки 5, изменением напряжения ее питания, смещением пространственного положения рентгеновской трубки 5 относительно начального положения и т.п. Для того чтобы уменьшить влияние указанных факторов на точность измерения компонентного состава, определение текущего значения параметра Im1(t) в процессе эксплуатации производится не прямым методом – по информации, формируемой детекторами первого многоканального детектора 11, а косвенно – на основании информации, вырабатываемой контрольными детекторами 23. При этом принимается во внимание, что коэффициенты передачи отдельных детекторов, входящих в состав первого многоканального детектора 11, и коэффициенты передачи контрольных детекторов 23 в случае, когда их сцинтиллирующие кристаллы принадлежат одной партии изготовления, практически не отличаются между собой по величине и одинаково изменяются как во времени, так и под действием внешних дестабилизирующих факторов. В этом случае
, откуда

Im1(t) – текущее значение сигнала на выходе детектора с порядковым номером m, входящего в состав первого многоканального детектора 11, при напряжении U1 питания рентгеновской трубки 5, пропорциональное текущему значению плотности потока фотонов на входе этого детектора при отсутствии в корпусе 1 контролируемой среды;
Im1 – начальное значение упомянутого сигнала;
In1(t) – текущее значение сигнала на выходе одного из двух контрольных детекторов 23 при напряжении U1 питания рентгеновской трубки 5, пропорциональное текущему значению плотности потока фотонов на входе этого детектора;
In1 – начальное значение упомянутого сигнала;
t – текущее время.
Численное значение каждого из сигналов In1(t) и In1 в выражении (5) определяется в первом модуле обработки 26 как среднеарифметическое значение двух оптических сигналов, каждый из которых вырабатывается одним из контрольных детекторов 23, передается по соответствующему каналу световода 19 на вход первого фотоэлектронного преобразователя 25 и после оптоэлектронного преобразования в этом преобразователе поступает в электронной форме по многоканальной информационной связи на вход первого модуля обработки 26.
Поскольку рентгеновское излучение, падающее на каждый из контрольных детекторов 23, пересекает только воздушную среду, поглощением и рассеянием в которой при энергиях излучения более 30 кэВ можно пренебречь, оптические сигналы, формируемые этими детекторами, не зависят от состава пропускающей среды, определяются только характеристиками излучения рентгеновской трубки 5 и могут использоваться в качестве контрольных сигналов In1 и In1(t).
Начальное значение In1 контрольного сигнала измеряется в процессе юстировки предложенного анализатора и вносится в память первого модуля обработки 26. Кроме того, в процессе юстировки измеряются и вносятся в память первого модуля обработки 26 начальные значения сигналов I11, I21, Im1, где m=1, 2 , 5, каждое из которых соответствует одному из детекторов первого многоканального детектора 11 при напряжении U1 питания рентгеновской трубки 5. В память упомянутого модуля также вносятся значения сигналов I12, I22, , Im2 и I13, I23, , Im3, соответствующие напряжениям питания U2 и U3 рентгеновской трубки 5. При работе анализатора в первый модуль обработки 26 непрерывно поступает информация о текущем значении
In1(t) контрольного сигнала на выходе каждого из контрольных детекторов 23.
На основе этой информации с использованием хранящихся в памяти первого модуля обработки 26 данных о значениях In1 и Im1 вычисляется, в соответствии с выражением (5), и передается в вычислитель 29 текущее значение параметра Im1(t).
Из (3) и (5) имеем:

каждое из обозначений соответствует обозначениям, принятым в выражениях (3) и (5).
Параметры µ1(Eq), µ2(Eq) и µ3(Eq) уравнения (6) представляют собой функциональные неизвестные, значения которых определяются в первом модуле обработки 26 на основе введенных в его память экспериментальных данных о взаимосвязи значения линейного коэффициента ослабления µ рентгеновского излучения с энергией Eq, отмасштабированной по реперному значению энергии.
Экспериментально полученные графические зависимости линейных коэффициентов ослабления рентгеновского излучения µ1, µ2 и µ3 каждым из компонентов контролируемой среды K1, K2 и K3 – нефтью, водой и газом соответственно, от энергии Е рентгеновского излучения представлены на Фиг.4. Как видно из этих графиков, упомянутые зависимости существенно нелинейны, поэтому для корректного решения функционального уравнения (6) необходимо учитывать не только интегральную характеристику рентгеновского излучения – плотность потока его фотонов I, но и дифференциальную характеристику – распределение рентгеновских фотонов по энергиям Е.
Диаграмма распределения во времени рентгеновских фотонов с различными энергиями, принятых одним из детекторов первого многоканального детектора 11 за некоторый фиксированный промежуток времени t=t2-t1, приведена на Фиг.5.
Данная диаграмма представляет собой временную последовательность немасштабированных по амплитуде оптических импульсов различной интенсивности J, каждый из которых сформирован одним из детекторов первого многоканального детектора 11 при падении на его вход соответствующего рентгеновского фотона; интенсивность J такого импульса пропорциональна энергии соответствующего фотона в жестком диапазоне рентгеновского излучения.
При достаточно большом числе S импульсов, выработанных каждым из детекторов первого многоканального детектора 11 за промежуток времени t=t2-t1, в первом модуле обработки 26 моделируется представленная на Фиг.6 дифференциальная характеристика рентгеновского излучения – зависимость плотности потока фотонов I от энергии фотонов Е при каждом из напряжений питания U1, U2 и U3 рентгеновской трубки 5. Промежуток времени t, в течение которого формируется количество S упомянутых импульсов, обычно называется временем экспозиции.
Для количественного масштабирования качественных зависимостей, представленных на Фиг.5 и на Фиг.6, необходимо сформировать реперное значение энергии, используя для этого достоверно определяемые параметры рентгеновских фотонов. Реперное значение энергии в предложенном анализаторе формируется с помощью вторичных излучателей 24.
Каждый вторичный излучатель 24 представляет собой установленную в отверстии первого вторичного коллиматора 14 коллимирующую трубку, изготовленную из тяжелого металла с ярко выраженной характеристической линией спектра излучения, лежащей в диапазоне энергий 30-100 кэВ, например из гадолиния или платины. Так как для работы дискриминатора 46 помимо характеристической линии, формируемой вторичным излучателем, требуется еще и отличная от нее характеристическая линия, формируемая металлической частицей инжектора 35, необходимо использовать два различных тяжелых металла, например гадолиний для дискриминатора 46 и платину для инжектора 35.
При прохождении рентгеновского пучка сквозь упомянутую трубку фотоны пучка могут возбуждать флуоресценцию атомов гадолиния, расположенных в приповерхностном слое коллимирующего отверстия трубки, сопровождаемую возникновением вторичного характеристического излучения. Возбуждение флуоресценции происходит только в том случае, когда энергии  возбуждающих фотонов совпадают с энергией характеристического излучения или превышают ее:
 
– постоянная планка;
– круговая частота возбуждающих фотонов;
Eo – энергия характеристического излучения.
Спектр характеристического излучения является линейчатым; характеристической линии гадолиния в этом спектре соответствует энергия излучения
EGd=42,996 кэВ.
Если энергия возбуждающих фотонов существенно превосходит энергию характеристического возбуждения атомов гадолиния:

то плотность потока характеристических фотонов с уровнем энергии Eo существенно превосходит плотности потока фотонов с другими значениями энергии.
Поэтому при наложении на излучение рентгеновской трубки 5, характеризуемое непрерывным спектром, характеристического излучения, имеющего линейчатый спектр, существенно изменяется характер распределения I(Е) плотности потока рентгеновских фотонов по энергиям на входе каждого из детекторов первого многоканального детектора 11 (см. Фиг.6).
При отсутствии характеристического излучения распределение I(Е) представляет собой в жестком рентгеновском диапазоне убывающую кривую, представленную на Фиг.6 сплошной линией.
При наличии характеристического излучения с энергией фотонов Е=EGd в упомянутом распределении возникает представленный на Фиг.6 штрихпунктирной линией локальный максимум плотности потока фотонов IGd=I(EGd), где EGd – энергия возбуждения атомов гадолиния. Уровень этого максимума существенно превосходит наибольший уровень плотности потока фотонов Imax1 при всех других значениях энергии, отличающихся от значения Eo:
IGd>Imax1.
Возникновение локального максимума плотности потока фотонов IGd при характеристическом значении Eo энергии объясняется тем, что значительное число первичных рентгеновских фотонов, распределенных в широком диапазоне энергии от Eo до Emax, поглощается атомами гадолиния, порождающими поток такого же числа вторичных флуоресцентных фотонов, сосредоточенных в весьма узкой энергетической области вблизи характеристического значения энергии Eo=EGd. Поскольку все вторичные фотоны пересекают только воздушную среду, поглощением и рассеянием в которой можно пренебречь, практически все они достигают детекторов первого многоканального детектора 11 и обеспечивают на их входах высокую локальную плотность потока фотонов с характеристическим значением энергии EGd.
Каждому фотону с энергией EGd, поглощенному детектором первого многоканального детектора 11, отвечает формируемый на выходе этого детектора световой импульс интенсивностью JGd (см. Фиг.5), передаваемый по соответствующему каналу первого световода 19 на вход первого фотоэлектронного преобразователя 25, где он преобразуется в электрический импульс, поступающий по многоканальной информационной связи в первый модуль обработки 26.
Поскольку интенсивность оптического импульса и, соответственно, амплитуда соответствующего ему электрического импульса пропорциональны энергии поглощенного фотона, возникает возможность обнаружения в первом модуле обработки 26 наличия фотонов с характеристическим значением энергии EGd по частоте появления электрических импульсов одной и той же амплитуды. Способ обнаружения упомянутых фотонов поясняется временнóй последовательностью J(t) оптических импульсов, представленной на Фиг.5.
Анализ этой временной последовательности показывает, что наиболее часто по сравнению с другими встречаются импульсы интенсивности JGd, заштрихованные на Фиг.5. Эти импульсы соответствуют характеристическим фотонам с энергией EGd и создают на кривой I(E) (Фиг.6) локальный максимум плотности потока фотонов IGd в точке Е=EGd.
Наличие локального максимума IGd позволяет объективно выделить из общего числа фотонов различной энергии группу фотонов с энергией ЕGd и тем самым обозначить на оси энергий Е графика I(E) Фиг.6 точную масштабную отметку EGd=42,996 кэВ, позволяющую достоверно отмасштабировать весь график I(E) по значениям энергий.
Исходя из изложенного для решения в вычислителе 29 уравнения (6) предварительно вычисляются в первом модуле обработки 26 численные значения каждого из параметров µ1(Eq), µ2(Eq) и µ3(Eq) для нескольких фиксированных значений энергии Е=Е1, E2,…,Eq,…, каждое из которых соответствует узкой энергетической полосе шириной 2 Е, содержащей не менее числа s фотонов, а именно численные значения

µ1, µ2 и µ3 – линейные коэффициенты ослабления излучения соответственно нефтью, водой и газом;
Eq – фиксированное значение энергии излучения;
Е – разность двух последовательных фиксированных значений энергии излучения.
Количественные значения параметров µ(Eq) вычисляются в первом модуле обработки 26 на основе заложенных в его память численных данных, соответствующих приведенным на Фиг.4 экспериментальным зависимостям каждого из коэффициентов µ1 µ2 и µ3 от энергии излучения Е. При этом для уменьшения погрешности вычисления при выборе численных данных выбираются возможно более узкие энергетические полосы шириной 2 Е.
Для надежного формирования каждого значения плотности потока фотонов, усредненного на энергетической полосе шириной 2 Е, необходимо получить за время экспозиции t не менее числа s=100 фотонов.
Численное значение времени экспозиции t выбирается и вводится в память первого таймера 47 исходя из двух противоречивых условий.
Во-первых, оно должно быть, по возможности, большим, для того чтобы обеспечить поглощение каждым детектором многоканального детектора 11 достаточно большого числа S рентгеновских фотонов, необходимого для достоверного вычисления в первом модуле обработки 26 усредненных значений плотности потоков фотонов в каждой из энергетических полос Eq± Е в диапазоне энергий от 30 до 100 кэВ.
Во-вторых, оно должно быть, по возможности, малым, для того чтобы компонентный состав контролируемой среды, непрерывно протекающей сквозь подконтрольную область корпуса 1, не успел существенно измениться за время экспозиции.
В соответствии с указанными условиями значение времени экспозиции устанавливается исходя из максимальной скорости контролируемого потока и эффективного размера подконтрольной области:

t – время экспозиции;
а – эффективный размер подконтрольной области, равный размеру первой вставки 2 по направлению контролируемого потока;
Wm – наибольшее значение продольной составляющей скорости контролируемого потока.
Для обеспечения требуемой точности измерения параметров контролируемого потока необходимо определить минимально возможное время экспозиции, достаточное для получения надежной информации о компонентном составе контролируемого потока. В свою очередь, это время зависит от числа S рентгеновских фотонов с энергией от 30 до 100 кэВ, принятых каждым из детекторов первого многоканального детектора 11. Поскольку в соответствии с (9) численные значения коэффициентов µ1(Eq), µ2(Eq) и µ3(Eq), характеризующих компонентный состав потока, вычисляются в узких энергетических полосах шириной 2 Е, число S определяется как сумма чисел s рентгеновских фотонов с энергией от (Eq– Е) до (Eq+ Е), принятых каждым из детекторов первого многоканального детектора 11 за минимально возможное время экспозиции, т.е.:

S – число рентгеновских фотонов, падающих на каждый детектор первого многоканального детектора 11 за время экспозиции t;
q=1, 2, 3, – натуральное число, равное порядковому номеру энергетической полосы;
s – число фотонов, энергии которых находятся в энергетической полосе шириной 2 Eq.
Практически, с учетом числа s=100,

Указанное в условии (12) число S рентгеновских фотонов должно приниматься каждым детектором первого многоканального детектора 11 за время экспозиции t, наименьшее численное значение которого при скорости контролируемой среды Wm 10 м/с и продольном размере первой вставки а 5 мм, в соответствии с (10), задается условием

tmin – минимально возможное время экспозиции, обеспечивающее прием каждым из детекторов первого многоканального детектора 11 числа S 5·105 рентгеновских фотонов. Приведенные в неравенствах (12) и (13) численные значения параметров S и tmin наряду с числом m детекторов первого многоканального детектора 11 полностью определяют параметры генерации рентгеновской трубки 5 и, кроме того, характеризуют требуемую информационную производительность процессоров, входящих в состав первого модуля обработки 26 и вычислителя 29. При определении состава контролируемой среды с высоким газосодержанием в вычислителе 29 необходимо учитывать текущие значения P(t) давления, поскольку зависимость от давления линейного коэффициента µ3 ослабления рентгеновского излучения газом при высоких давлениях в корпусе 1 весьма существенна (см. Фиг.4). Так, например, если при нормальных климатических условиях: Р0=1 ат, Т0=20°С величина линейного коэффициента µ3 для газа существенно меньше величин линейных коэффициентов µ1 и µ2 для нефти и воды соответственно, то при значениях давления P(t)=10-100 ат величина коэффициента µ3 становится соизмеримой с величинами коэффициентов µ1 и
µ2.
Поэтому при давлениях P(t)>10 ат в выражении (6) вместо коэффициента µ3(Eq), соответствующего нормальным климатическим условиям, следует использовать коэффициент µ3(Eq, P, T), соответствующий фактическому значению давления контролируемой среды в корпусе 1 при нормальной температуре Т:

все обозначения, кроме µ3(Eq, Р, Т), соответствуют обозначениям, использованным в выражении (6);
µ3(Eq, Р, Т) – линейный коэффициент ослабления рентгеновского излучения компонентом K3 (газом) при энергии излучения Eq, давлении контролируемой среды Р и нормальной температуре контролируемой среды Т.
Значения линейного коэффициента µ3(Eq, Р, Т) вычисляются в вычислителе 29 за промежуток времени tmin=t2-t1 причем сигналы о моменте времени t1 начала вычислений и моменте времени t2 окончания вычислений поступают на дополнительный вход первого модуля обработки 26 с выхода первого таймера 47, в память которого из внешних систем 34 введено численное значение параметра tmin, соответствующее неравенству (13), и передаются в вычислитель 29 с выхода первого модуля обработки 26. При этих вычислениях используются введенные в память вычислителя 29 из внешних систем 34 экспериментально полученные численные данные о зависимости величины линейного коэффициента µ3 от энергии излучения Eq при нескольких фиксированных значениях давления Р при нормальной температуре Т (см. Фиг.4), справочные данные о значениях коэффициента сжимаемости 3, а также измерительная информация о текущих значениях давления P(t), сформированная датчиком давления 36, преобразованная в цифровую форму в измерительном преобразователе 37 и переданная в вычислитель 29 по многоканальной информационной связи с выхода упомянутого измерительного преобразователя.
Решение функционального уравнения (14) для каждого из трех значений U1, U2, U3 напряжения питания рентгеновской трубки 5 и для каждого из m=1, 2, 5 рентгеновских пучков, принимаемых детекторами первого многоканального детектора 11, производится в вычислителе 29 за время экспозиции, tmin, соответствующее неравенству (13).
Совокупность решений функциональных уравнений (14) при различных значениях напряжения U=U1, U2, U3 питания рентгеновской трубки 5 для каждого из m=1, 2, 5 рентгеновских пучков позволяет получить в вычислителе 29 и передать по соответствующей двусторонней многоканальной информационной связи во внешние системы 34 детальную количественную информацию об относительном содержании в единицах объема каждого из трех компонентов контролируемой среды: нефти, воды и газа по всему поперечному сечению контролируемого потока:

V1(t) – текущее значение объемной доли компонента K1 (нефти);
V2(t) – текущее значение объемной доли компонента K2 (воды);
V3(t) – текущее значение объемной доли компонента K3 (газа);
t – текущее время.
Для получения данных о компонентном составе контролируемой среды в единицах массы необходимо использовать дополнительную информацию, которая вырабатывается четвертыми детекторами 17.
Оптические сигналы, снимаемые с выходов четвертых детекторов 17, вырабатываются этими детекторами под воздействием рассеянного рентгеновского излучения, представляющего собой вторичное излучение, возникающее в результате упругого рассеяния контролируемой средой первичного излучения рентгеновской трубки 5. Рассеянное рентгеновское излучение направлено, в основном, под большими углами к направлению первичного излучения, близкими к прямым углам. Поэтому на каждый из четвертых детекторов 17, установленных в плоскости расположения первой вставки 2 на линии, нормальной оси излучения рентгеновской трубки 5, падает, в основном, рассеянное излучение. Для полного исключения возможности попадания на вход четвертых детекторов 17 первичного излучения рентгеновской трубки 5 перед каждым из них установлен ортогональный коллиматор 18, содержащей несколько коллимирующих отверстий, оси которых параллельны между собой и направлены под прямым углом к оси излучения рентгеновской трубки 5, а глубина каждого отверстия существенно превышает его диаметр:
b/d>>1, где
b – глубина коллимирующего отверстия;
d – диаметр коллимирующего отверстия.
Поскольку интенсивность рассеянного излучения в жестком рентгеновском диапазоне энергий до 100 кэВ определяется, в основном, плотностью рассеивающей среды и слабо зависит от интенсивности первичного излучения рентгеновской трубки 5, оптический сигнал, формируемый каждым из двух четвертых детекторов 17, пропорционален текущему значению средней плотности (t) контролируемой среды.
После преобразования в электрический цифровой код упомянутый сигнал поступает в вычислитель 29, где на основании принятой информации о текущем значении средней плотности (t) контролируемой среды и ранее вычисленных данных (15) о текущих значениях объемных долей каждого из ее компонентов определяются текущие значения относительного содержания каждого из компонентов газожидкостного потока в единицах массы:

M1(t) – текущее значение массовой доли компонента K1 (нефти);
M2(t) – текущее значение массовой доли компонента K2 (воды);
M3(t) – текущее значение массовой доли компонента K3 (газа);
t – текущее время.
Текущие значения (16) массового содержания компонентов необходимы для определения в вычислителе 29 текущих значений покомпонентного массового расхода QM1(t), QM2(t) и QM3(t) каждого из трех компонентов газожидкостного потока – нефти, воды и газа соответственно.
Так как помимо текущего значения массовой доли нефти M1(t) дебит нефти традиционно принято оценивать также и в объемных единицах (баррелях), в вычислителе 29 определяется номинальная объемная доля нефти, т.е. объемная доля, приведенная к нормальным климатическим условиям.
Для вычисления текущего значения номинальной объемной доли нефти в вычислителе 29 используется дополнительная информация о текущем значении давления P(t) контролируемой среды, сформированная датчиком давления 36, переданная с выхода этого датчика на вход измерительного преобразователя 37 и с выхода последнего по многоканальной информационной связи на соответствующий многоканальный вход вычислителя 29.
В вычислителе 29 на основе принятого сигнала о текущем значении P(t) производится приведение ранее вычисленной объемной доли нефти V1(t) к нормальному давлению Р0=1 ат при нормальной температуре Т0=20°С с учетом хранящихся в памяти вычислителя 29 справочных данных о значении коэффициента сжимаемости 1 нефти. В результате этой операции в вычислителе 29 определяется текущее значение номинальной объемной доли нефти:

V01(t) – текущее значение объемной доли компонента K1 (нефти), приведенное к нормальным климатическим условиям;
t – текущее время.
Для измерения скорости W газожидкостного потока в предложенном анализаторе выбран автокорреляционный метод. При этом в зависимости от режима контролируемого потока, определяемого контроллером режимов 32, для измерения скорости используется либо информация о движении естественной локальной неоднородности потока, либо информация о движении искусственной локальной неоднородности потока.
В первом случае при наличии естественных неоднородностей потока их выявление производится во втором модуле обработки 28 путем обработки электрических сигналов, поступающих на его вход по многоканальной информационной связи с выхода второго фотоэлектронного преобразователя 27, на соответствующий вход которого по каналам второго световода 20 поступают оптические сигналы, вырабатываемые вторыми детекторами 12, а на другой вход, по каналам третьего световода 21, – оптические сигналы, вырабатываемые третьими детекторами 13 (см. Фиг.3). Упомянутые оптические сигналы формируются в результате воздействия излучения рентгеновской трубки 5, пучки которого, сформированные вторым первичным коллиматором 9 и третьим первичным коллиматором 10 и отраженные соответственно первым зеркалом 6 и вторым зеркалом 7, пересекают контролируемую среду, находящуюся в корпусе 1, в плоскостях расположения второй и третьей вставок 3 и 4 соответственно, после чего дополнительно формируются вторым и третьим вторичными коллиматорами 15 и 16 соответственно и принимаются вторыми и третьими детекторами 12 и 13 соответственно.
Так как при прохождении через находящуюся в корпусе 1 контролируемую среду каждый из упомянутых пучков рентгеновского излучения, взаимодействуя с этой средой, частично поглощается и рассеивается ею, он несет в себе информацию о наличии или отсутствии локальных неоднородностей состава контролируемой среды. При этом не имеет значения, какой именно из компонентов контролируемой среды формирует локальную неоднородность.
В качестве информативных параметров, характеризующих наличие локальной неоднородности, условно формируемой компонентом K1, в предложенном анализаторе используются плотности потока фотонов заданной энергии на входах вторых и третьих детекторов 12 и 13 соответственно:
,

Y21(t), Y31(t) – текущие значения плотности потока фотонов на входах вторых и третьих детекторов 12 и 13 соответственно при наличии в корпусе 1 однокомпонентной контролируемой среды;
I2, I3 – плотности потока фотонов на входах вторых и третьих детекторов 12 и 13 соответственно при отсутствии в корпусе 1 контролируемой среды;
е – основание натуральных логарифмов;
µ1 – линейный коэффициент ослабления рентгеновского излучения компонентом K1 контролируемой среды при фиксированном значении энергии излучения;
x1 – эффективная толщина компонента K1 контролируемой среды;
t – текущее время.
При пересечении движущейся естественной меткой потока – локальной неоднородностью его состава – в момент времени 1 сечения А-А корпуса 1 (см. Фиг.1) каждый из вторых детекторов 12 фиксирует наличие существенных изменений значения параметра Y21(t) во времени и формирует первую временную последовательность изменений этого значения.
При дальнейшем перемещении локальной неоднородности на расстояние Lo между второй вставкой 3 и третьей вставкой 4 упомянутая неоднородность в момент времени 2 достигает сечения С-С корпуса 1 (см. Фиг.1) и инициирует в каждом из третьих детекторов 13 существенные изменения текущего значения плотности потока принимаемых им рентгеновских фотонов Y31(t), формируя вторую временнýю последовательность этих изменений, коррелирующую с вышеупомянутой первой временнóй последовательностью.
При течении вдоль корпуса 1 трехкомпонентной контролируемой среды вторые и третьи детекторы 12 и 13 соответственно непрерывно вырабатывают первые и вторые временные последовательности информативных сигналов Y21(t), Y22(t), Y23(t) и Y31(t), Y32(t), Y33(t) соответственно, текущие значения амплитуд которых зависят от эффективных толщин x1, х2 и x3 нефти, воды и газа соответственно. Первые временные последовательности поступают с выходов вторых детекторов 12 по соответствующим каналам вторых световодов 20 на один из входов второго фотоэлектронного преобразователя 27, вторые временные последовательности поступают с выходов третьих детекторов 13 по соответствующим каналам третьих световодов 21 на другой вход этого преобразователя, где преобразуются из оптической формы в электрическую и передаются по многоканальной информационной связи на вход второго модуля обработки 28, а с его выхода – в вычислитель 29. Алгоритм преобразования сигналов, принятых вычислителем 29, зависит от режима контролируемого потока. Режим потока определяется в контроллере режимов 32 на основании измерительной информации, поступающей на его вход с дополнительного выхода первого модуля обработки 26, где она формируется на основе оптических сигналов, выработанных детекторами первого многоканального детектора 11 и переданных с их выходов по каналам первого световода 19 на соответствующий вход первого фотоэлектронного преобразователя 25. В первом фотоэлектронном преобразователе 25 упомянутые сигналы преобразуются в электрическую форму и поступают на вход первого модуля обработки 26 по многоканальной информационной связи.
В первом модуле обработки 26 сравниваются поступающие значения плотностей потока фотонов с ранее принятыми и запомненными в памяти упомянутого модуля значениями этих плотностей, и при отсутствии существенных расхождений сравниваемых значений вырабатывается сигнал о практически однородном режиме течения, а при их наличии – сигнал о существенно неустановившемся режиме течения газожидкостного потока.
Сформированный в контроллере режимов 32 сигнал о режиме потока передается с его выхода по многоканальной информационной связи на соответствующий многоканальный вход вычислителя 29, в котором выбирается отвечающий принятому сигналу алгоритм преобразования.
Когда контроллером режимов 32 определен режим потока как режим существенно неустановившегося течения, а в вычислителе 29 выбран отвечающий этому режиму алгоритм преобразования измерительной информации, поступающие на вход вычислителя 29 с выхода второго модуля обработки 28 ранее описанные первые и вторые временные последовательности информативных сигналов непрерывно фиксируются в памяти вычислителя 29 в форме первых и вторых временных реализаций, причем первые временные реализации соответствуют сечению А-А корпуса 1, а вторые временные реализации – сечению С-С корпуса 1 (см. Фиг.1).
С учетом режима существенно неустановившегося движения, определенного контроллером режимов 32, в вычислителе 29 из группы алгоритмов «Вычисление скорости» выбирается алгоритм, отвечающий коду данного режима, и в соответствии с этим алгоритмом производится обработка вышеуказанных первых и вторых временных реализаций за промежуток времени  min, минимально необходимый для определения наличия корреляции. Численное значение промежутка времени  min вводится в память второго таймера 48 из внешних систем 34, передается с выхода этого таймера на дополнительный вход второго модуля обработки 28 и с выхода последнего – на вход вычислителя 29. Промежуток времени  min должен быть достаточным для приема вторыми детекторами 12 и третьими детекторами 13 экспериментально установленного числа рентгеновских фотонов
Sk 104, где
Sk – число фотонов, необходимое для корректного определения наличия локальной неоднородности состава контролируемой среды в сечениях А-А и С-С корпуса 1 (см. Фиг.1). Поскольку число Sk может быть выбрано существенно меньшим числа S фотонов, принимаемых за минимально возможное время экспозиции tmin, то и время определения наличия корреляции  min составляет величину, существенно меньшую минимально возможного времени экспозиции tmin в выражении (13):
 min<< tmin.
После обработки за промежуток времени  min первых и вторых временных реализаций, отвечающих моментам времени 1 и 2 соответственно, в вычислителе 29 определяется их взаимная корреляционная функция и производится смещение второй реализации относительно первой во времени вплоть до получения максимума взаимной корреляционной функции.
При получении максимума взаимной корреляционной функции в вычислителе 29 определяется промежуток времени корреляционного смещения  к= 2– 1 и, поскольку этот промежуток равен времени пробегания  естественной меткой потока – его устойчивой флуктуацией – некоторой длины Lo корпуса 1, принятой за базовую длину:
 к= ,
вычисляется скорость W контролируемого потока в соответствии с выражением

W – скорость потока вдоль продольной оси корпуса 1;
Lo – базовая длина, равная осевому расстоянию между геометрическими центрами второй и третьей вставок 3 и 4 соответственно;
 – время пробегания естественной меткой потока базовой длины.
На основании полученного значения скорости W в вычислителе 29 с использованием ранее найденных значений V1(t), V2(t) и V3(t) объемных долей каждого из компонентов контролируемой среды, соответствующих выражению (15), вычисляются мгновенные значения покомпонентных объемных расходов Q1(t), Q2(t) и Q3(t) каждого из трех компонентов газожидкостного потока: нефти, воды и газа соответственно. Кроме того, в вычислителе 29 с использованием ранее найденных значений M1(t), M2(t) и M3(t) массовых долей каждого из компонентов контролируемой среды, соответствующих выражению (16), вычисляются мгновенные значения покомпонентных массовых расходов QM1(t), QM2(t) и QM3(t) каждого из трех компонентов газожидкостного потока: нефти, воды и газа соответственно.
Во втором случае, когда контроллером режимов 32 определено практически однородное установившееся течение контролируемой среды, при котором в потоке отсутствуют ярко выраженные флуктуации ее компонентного состава, измерение скорости W по вышеописанному методу может оказаться недостоверным. В этом случае в качестве надежно контролируемой особенности потока в предложенном анализаторе используется не естественная локальная неоднородность компонентного состава потока, а искусственная неоднородность, представляющая собой тонкодисперсную металлическую частицу, вводимую в поток с помощью инжектора металлических частиц 35. Размеры вводимой в поток металлической частицы выбираются возможно меньшими при условии, что они достаточны для надежного обнаружения частицы рентгенофлуоресцентным методом. Подобным требованиям отвечают размеры частиц, составляющие единицы нанометров. В соответствии с этим в качестве искусственных неоднородностей в предложенном анализаторе используются металлические наночастицы, наибольшие размеры которых не превышают порядка 10-9 м.
При поступлении с выхода контроллера режимов 32 в вычислитель 29 кода, соответствующего режиму практически однородного установившегося течения, в вычислителе 29 из группы алгоритмов «Вычисление скорости» выбирается алгоритм, отвечающий полученному коду, и вырабатывается команда управления инжектором металлических частиц 35. В случае когда упомянутый инжектор 35 содержит исполнительный механизм с шаговым электроприводом 42, подключенным к генератору импульсов 43, с дополнительного выхода вычислителя 29 на вход генератора импульсов 43 (см. Фиг.10) поступает команда о выдаче серии импульсов в шаговый электропривод 42, приводящий во вращение упомянутый исполнительный механизм. При этом электропривод 42 посредством червячной передачи через червяк 41 приводит во вращение каждый из установленных на одной из осей 40 поворотных дисков 39 исполнительного механизма, в результате чего смоченный суспензией 38 сектор каждого поворотного диска 39, находящийся внутри овального баллона, выходит за его пределы в область, омываемую потоком контролируемой среды (см. Фиг.8 и Фиг.9).
Газожидкостный поток, омывающий выступающие из овального баллона участки поворотных дисков 39, постепенно удаляет смачивающую их суспензию 38, содержащую мелкодисперсные частицы платины. Каждая из захваченных контролируемым потоком частиц платины движется со скоростью W потока и пересекает вместе с ним в момент времени 1 сечение А-А корпуса 1, а затем, в момент времени 2, – сечение С-С этого корпуса (см. Фиг.1). Прохождение частицы через сечения А-А и С-С корпуса 1 фиксируется соответственно одним из вторых детекторов 12 и одним из третьих детекторов 13, расположенных вдоль траектории движения данной частицы.
Отличительным признаком прохождения металлической частицы мимо каждого из упомянутых детекторов является, во-первых, резкое уменьшение плотности потока фотонов на их входах, вызванное частичным экранированием рентгеновских пучков мелкодисперсной частицей платины, и, во-вторых, появлением локального максимума потока характеристических фотонов IPt, соответствующих характеристической энергии платины EPt=66,831 кэВ. После передачи оптических сигналов с выходов каждого из вторых и каждого из третьих детекторов 12 и 13 соответственно по каналам вторых и по каналам третьих световодов 20 и 21 соответственно на соответствующий вход второго фотоэлектронного преобразователя 27, где оптические сигналы преобразуются в электрические и поступают с выхода упомянутого преобразователя по многоканальной информационной связи на вход второго модуля обработки 28, поступившая информация обрабатывается в этом модуле и передается с его дополнительного выхода на вход дискриминатора 46. В дискриминаторе 46 определяется наличие или отсутствие в измерительной информации временных интервалов, характеризуемых существенным уменьшением плотности потока фотонов, а также наличием локального максимума IPt этой плотности при характеристическом для платины значении энергии.
На Фиг.7 представлены графические зависимости I(E) плотности потока фотонов от их энергии на входах первых и вторых детекторов 12 и 13 соответственно для случая, когда в контролируемой среде отсутствуют частицы платины (сплошная кривая), и для случая, характеризуемого наличием платины (пунктирная кривая). Из графиков следует, что наличие частиц платины в потоке существенно снижает общее число рентгеновских фотонов, принимаемых первыми и вторыми детекторами 12 и 13 соответственно. Общее число фотонов, принимаемых упомянутыми детекторами, характеризуется площадью, лежащей под кривыми I(E): для случая без платины – площадью под сплошной кривой с максимумом Imax1, а для случая с платиной – площадью под пунктирной кривой с максимумом Imax2. Очевидно, что площадь, лежащая под пунктирной кривой, существенно меньше площади под сплошной кривой. Уменьшение числа фотонов во втором случае по сравнению с первым объясняется экранирующим действием частиц платины, находящихся на пути рентгеновских пучков.
В тоже время на пунктирной кривой I(E), Фиг.7, содержится локальный максимум IPt плотности потока фотонов при характеристическом для платины значении энергии EPt=66,831 кэВ. Наличие этого максимума вызвано генерацией вторичных фотонов, излучаемых атомами платины при поглощении ими рентгеновских квантов с энергиями, равными и превышающими значение 66,831 кэВ.
Проверка наличия в контролируемом потоке частиц платины производится в дискриминаторе 46 в два этапа.
На первом этапе устанавливается факт наличия в измерительной информации временных интервалов, в течение которых резко уменьшается плотность потока фотонов, принимаемых вторым и третьим детекторами 12 и 13 соответственно. Упрощенно этот факт проверяется по существенному уменьшению максимума плотности потока фотонов в соответствии с условием:
Imax2<0,5Imax1 (см. Фиг. 7).
На втором этапе в дискриминаторе 46 определяется факт наличия или отсутствия локальных максимумов плотности потока фотонов IPt (см. Фиг.7) в принятой информации и, при их наличии, производится проверка достоверности обнаруженного факта в соответствии с контрольным условием:

E(IGd) и E(IPt) – численные значения характеристических энергий, соответствующие платине и гадолинию, отвечающие положениям локальных максимумов IGd и IPt соответственно на оси энергий ОЕ графиков I(E), Фиг.6 и Фиг.7;
– номинальное значение отношения характеристических энергии, соответствующих платине и гадолинию;
k – предельно допустимое отклонение упомянутого отношения от его номинального значения.
В случае выполнения контрольного условия (20) наличие частиц платины в контролируемом потоке считается достоверно установленным.
Это позволяет сформировать в дискриминаторе 46 и передать по двунаправленной многоканальной информационной связи в вычислитель 29 сигналы о моментах времени 1 и 2 появления искусственных неоднородностей в сечении А-А корпуса 1, содержащем вторые детекторы 12 и в сечении С-С корпуса 1, содержащем третьи детекторы 13 (см. Фиг.1), и образовать соответствующие этим моментам времени первые и вторые временные реализации информативных сигналов.
После полного удаления газожидкостным потоком платиносодержащей суспензии, покрывающей омываемые потоком участки поворотных дисков 39, дискриминатор 46, в зависимости от постоянства скоростного режима потока, формирует и передает в вычислитель 29 одну из двух возможных команд: команду исполнения или команду отсроченного исполнения. Команда исполнения выдается в случае неустойчивого скоростного режима контролируемого потока, команда отстроченного исполнения выдается в случае устойчивого скоростного режима.
В первом случае дискриминатор 46 передает по двусторонней многоканальной информационной связи в вычислитель 29 сигнал на включение генератора импульсов 43, поступающий с дополнительного выхода вычислителя 29 на вход генератора импульсов 43, в результате чего упомянутый генератор выдает серию импульсов в электропривод 42, приводящий в движение исполнительный механизм инжектора металлических частиц 35. В результате поворотный диск 39 поворачивается на угол, обеспечивающий замену выступающего из овального баллона участка поворотного диска 39, очищенного от суспензии 38, участком этого диска, смоченным суспензией 38.
Во втором случае дискриминатор 46 формирует команду отсроченного исполнения, в соответствии с которой описанная процедура вращения поворотного диска 39 на заданный угол производится через некоторое время задержки, численное значение которого передается в дискриминатор 46 по цепи: выход второго таймера 48 – дополнительный вход второго модуля обработки 28 – дополнительный выход этого модуля – вход дискриминатора 46.
Упомянутое время задержки экспериментально определяется и вводится в память второго таймера 48 из внешних систем 34 при анализе скоростного режима газожидкостного потока конкретной нефтяной скважины в процессе установки на скважину предложенного анализатора.
После обработки первых и вторых временных реализаций, отвечающих моментам времени 1 и 2 соответственно, в вычислителе 29 определяется их взаимная корреляционная функция и производится смещение второй реализации относительно первой вплоть до получения максимума взаимной корреляционной функции.
При получении в процессе упомянутого смещения максимума взаимной корреляционной функции в вычислителе 29 определяется время корреляционного смещения
 к= 2– 1 и, поскольку это время равно промежутку времени пробегания
 искусственной меткой потока – мелкодисперсной металлической частицей, например частицей платины, базовой длины Lo, вычисляется скорость W установившегося потока в соответствии с выражением, подобным выражению (19):
W=Lo/ , где
Lo – базовая длина, равная осевому расстоянию между геометрическими центрами третьей и второй вставок 4 и 3 соответственно,
 – время пробегания искусственной меткой потока базовой длины Lo.
Как и в случае неустановившегося режима течения, полученные значения скорости W совместно с ранее найденными значениями V1(t), V2(t) и V3(t) объемных долей каждого из компонентов контролируемой среды, соответствующими выражению (15), используются в вычислителе 29 для вычисления мгновенных значений покомпонентного объемного расхода Q1(t), Q2(t) и Q3(t) каждого из трех компонентов газожидкостного потока: нефти, воды и газа соответственно, и, кроме того, с использованием ранее полученных значений M1(t), M2(t) и М3(t) массовых долей каждого из компонентов контролируемой среды, соответствующих выражению (16), вычисляются мгновенные значения покомпонентных массовых расходов QM1(t), QM2(t) и QM3(t) нефти, воды и газа соответственно.
Таким образом, в предложенном анализаторе существенно повышены точность измерения массового содержания компонентов, скорости и расхода контролируемого потока, снижена инструментальная погрешность измерения, вызванная разбросом по величине и дрейфом во времени параметров одноканальных сцинтилляционных детекторов и одноканальных фотоэлектронных преобразователей, а также обеспечена возможность измерения покомпонентного расхода однородных потоков.
Формула изобретения
Рентгенофлуоресцентный анализатор состава и скорости трехкомпонентного потока, содержащий корпус, в стенке которого последовательно по направлению потока установлены вторая и первая рентгенопрозрачные вставки, рентгеновскую трубку с источником питания, первый и второй первичные коллиматоры с несколькими коллимирующими отверстиями в каждом, первый и второй вторичные коллиматоры с несколькими коллимирующими отверстиями в каждом, первые и вторые детекторы, первые и вторые фотоэлектронные преобразователи и электронный блок, в состав которого входят вычислитель, первый и второй модули обработки и модуль управления, причем каждый из первых детекторов оптически соединен с соответствующим первым фотоэлектронным преобразователем, каждый из вторых детекторов оптически соединен с соответствующим вторым фотоэлектронным преобразователем, а вычислитель соединен со входом модуля управления, подключенного к источнику питания, отличающийся тем, что в его состав дополнительно введены первое и второе рентгеновские зеркала, третья рентгенопрозрачная вставка, установленная в стенке корпуса после первой рентгенопрозрачной вставки по направлению потока, третий первичный и третий вторичный коллиматоры с несколькими коллимирующими отверстиями в каждом, третьи детекторы, первые, вторые, третьи и четвертые многоканальные световоды, контрольные детекторы и вторичные излучатели, четвертые детекторы и ортогональные коллиматоры, инжектор металлических частиц, дискриминатор, датчик давления и измерительный преобразователь, струевыпрямитель и нормализатор, контроллер режимов, а также первый и второй таймеры, причем первые детекторы объединены в первый многоканальный детектор, в качестве первых и вторых фотоэлектронных преобразователей применены соответственно первый и второй многоканальные фотоэлектронные преобразователи, при этом контрольные детекторы установлены таким образом, что прямая линия, соединяющая центр каждого из них с центром излучения рентгеновской трубки проходит за пределами корпуса, вычислитель дополнительно снабжен двумя многоканальными входами и многоканальным входом-выходом, а первый и второй модули обработки снабжены каждый дополнительным входом и дополнительным выходом, перед каждым из детекторов первого многоканального детектора установлен соответствующий вторичный излучатель, перед каждым четвертым детектором установлен соответствующий ортогональный коллиматор; струевыпрямитель и нормализатор установлены внутри корпуса последовательно по направлению потока перед второй рентгенопрозрачной вставкой, датчик давления установлен в стенке корпуса, выход каждого из детекторов первого многоканального детектора и выход каждого из контрольных детекторов соединены с соответствующим каналом первого многоканального световода, выход каждого из вторых и выход каждого из третьих детекторов соединены соответственно с соответствующим каналом второго и соответствующим каналом третьего многоканальных световодов, выход каждого из четвертых детекторов соединен с соответствующим каналом четвертого многоканального световода, выходы первого и выходы четвертого многоканальных световодов подключены каждый к соответствующим входам первого многоканального фотоэлектронного преобразователя, подсоединенного своими выходами к соответствующим входам первого модуля обработки с помощью многоканальной информационной связи, выходы второго и выходы третьего многоканальных световодов подключены каждый к соответствующим входам второго многоканального фотоэлектронного преобразователя, подключенного своими выходами к соответствующим входам второго модуля обработки с помощью многоканальной информационной связи, при этом дискриминатор подключен к многоканальному входу-выходу вычислителя с помощью двусторонней многоканальной информационной связи, контроллер режимов и измерительный преобразователь подключены каждый к соответствующему многоканальному входу вычислителя с помощью соответствующей многоканальной информационной связи, дополнительный выход первого модуля обработки соединен со входом контроллера режимов, а дополнительный вход первого модуля обработки – с выходом первого таймера, дополнительный выход второго модуля обработки соединен со входом дискриминатора, а дополнительный вход второго модуля обработки – с выходом второго таймера, датчик давления подключен ко входу измерительного преобразователя, вход первого и вход второго таймеров предназначены каждый для подсоединения к внешним системам, многоканальный вход-выход которых предназначен для обмена информацией с вычислителем по двусторонней информационной связи, при этом ортогональный коллиматор содержит коллимирующие отверстия, глубина каждого из которых существенно больше диаметра, а оси параллельны между собой и ортогональны оси излучения рентгеновской трубки, вторичный излучатель представляет собой выполненную из тяжелого металла, например гадолиния, трубку, установленную в отверстии первого вторичного коллиматора, а инжектор металлических частиц предназначен для подачи в контролируемый поток тонкодисперсных частиц тяжелого металла, например платины, перед второй рентгенопрозрачной вставкой по направлению потока и выполнен в виде баллона, содержащего упомянутые частицы, с установленным в нем механизмом подачи, снабженным электроприводом, который подключен к генератору импульсов, соединенному с вычислителем.
РИСУНКИ
|
|