Патент на изобретение №2379640

Published by on




РОССИЙСКАЯ ФЕДЕРАЦИЯ



ФЕДЕРАЛЬНАЯ СЛУЖБА
ПО ИНТЕЛЛЕКТУАЛЬНОЙ СОБСТВЕННОСТИ,
ПАТЕНТАМ И ТОВАРНЫМ ЗНАКАМ
(19) RU (11) 2379640 (13) C1
(51) МПК

G01L23/22 (2006.01)

(12) ОПИСАНИЕ ИЗОБРЕТЕНИЯ К ПАТЕНТУ

Статус: по данным на 17.09.2010 – действует

(21), (22) Заявка: 2008130215/06, 21.07.2008

(24) Дата начала отсчета срока действия патента:

21.07.2008

(46) Опубликовано: 20.01.2010

(56) Список документов, цитированных в отчете о
поиске:
RU 2198388 С2, 10.02.2003. SU 1617314 А1, 30.12.1990. SU 1399649 A1, 30.05.1989. RU 2029932 C1, 27.02.1995. DE 2361020 A, 12.06.1974. GB 1457409 A, 01.12.1976. US 3847019 A, 12.11.1974.

Адрес для переписки:

432980, г.Ульяновск, б. Новый Венец, 1, С.Х. академия, патентоведу

(72) Автор(ы):

Уханов Александр Петрович (RU),
Стрельцов Сергей Викторович (RU),
Мустякимов Раиль Наилевич (RU),
Гайсин Роберт Мударисович (RU)

(73) Патентообладатель(и):

Федеральное государственное образовательное учреждение высшего профессионального образования “Ульяновская государственная сельскохозяйственная академия” (RU)

(54) УСТРОЙСТВО КОНТРОЛЯ ЗАГРУЗКИ ДИЗЕЛЯ

(57) Реферат:

Изобретение относится к измерительной технике и, в частности, к устройствам для контроля загрузки дизеля. Устройство контроля загрузки дизеля содержит первичный преобразователь, соединительный кабель, преобразователь сигналов с интегратором, индикаторный указатель и источник питания. В качестве первичного преобразователя используется следящее устройство и индуктивный датчик перемещений вмонтированного в корпус корректора регулятора частоты вращения. Стальной сердечник датчика постоянно прижат к рычагу корректора. Величина выходного сигнала первичного преобразователя зависит от индуктивности электромагнитной катушки датчика, определяемой величиной погружения сердечника в катушку при воздействии на сердечник рычага корректора, что соответствует величине загрузке дизеля. Данный сигнал поступает в преобразователь сигналов, где преобразовывается в показания индикаторного указателя. Наличие интегратора в преобразователе сигналов обеспечивает стабилизацию выходных сигналов первичного преобразователя при кратковременных колебаниях рычага корректора. Изобретение обеспечивает непрерывный контроль загрузки дизеля во всем диапазоне работы центробежного регулятора частоты вращения. 1 з.п. ф-лы, 2 ил.

Изобретение относится к измерительной технике и, в частности, к устройствам контроля загрузки дизеля при выборе экономичных режимов работы.

Известно устройство контроля загрузки дизеля [1], содержащее датчик, электронно-логический блок и световой указатель.

Датчиком является разомкнутая контактная пара, образованная регулировочным винтом и валом рычага центробежного регулятора частоты вращения (РЧВ). При достижении дизелем максимальной загрузки контактная пара замыкается, электрический сигнал от датчика поступает в логический блок, где преобразуется в показания светового указателя, информирующего водителя о необходимости перехода на более экономичный режим работы.

Недостатками данного устройства являются: узкий диапазон контроля загрузки дизеля по причине срабатывания датчика только при максимальном нагрузочном режиме в момент перехода работы дизеля с регуляторной на корректорную ветвь скоростной характеристики; необходимость периодической очистки элементов контактной пары от отложений продуктов износа, содержащихся в картерном масле центробежного РЧВ; низкая надежность срабатывания контактной пары, так как она работает в масляно-воздушной среде; низкая стабильность выходных сигналов от датчика при кратковременных колебаниях вала рычага РЧВ.

Известно устройство контроля загрузки дизеля [2], содержащее датчик, электронно-логический блок с однокристальной микроЭВМ и световой указатель.

Датчиком является контактная пара, образованная регулировочным винтом и валом рычага центробежного РЧВ. Наличие в электронном блоке однокристальной микроЭВМ позволяет более точно контролировать режим максимальной загрузки дизеля.

Недостатками данного устройства являются: узкий диапазон контроля загрузки дизеля по причине срабатывания датчика только при максимальном нагрузочном режиме в момент перехода работы дизеля с регуляторной на корректорную ветвь скоростной характеристики; необходимость периодической очистки элементов контактной пары от отложений продуктов износа, содержащихся в картерном масле центробежного РЧВ; низкая надежность срабатывания контактной пары, так как она работает в масляно-воздушной среде; низкая стабильность выходных сигналов от датчика при кратковременных колебаниях вала рычага РЧВ.

Наиболее близким по технической сущности к заявленному изобретению относится устройство для определения загрузки дизельного двигателя [3], содержащее первичный преобразователь, соединительный кабель, преобразователь сигналов, состоящий из задающего генератора и буферного каскада, индикаторный указатель и источник питания.

В качестве первичного преобразователя (датчика) используется бесконтактная пара, включающая вал рычага центробежного РЧВ с вмонтированным в него постоянным магнитом и регулировочный винт, изготовленный из диамагнетика, внутрь которого вставлен полупроводниковый чувствительный магнитоуправляемый элемент, обладающий способностью изменять величину выходного сигнала от изменяющего магнитного поля, вызванного изменением расстояния между валом рычага и регулировочным винтом, величина которого пропорциональна степени загрузки дизеля.

Недостатками данного устройства являются: узкий диапазон контроля загрузки дизеля по причине срабатывания датчика в небольших пределах изменения расстояния между валом рычага центробежного РЧВ и регулировочным винтом; необходимость периодической очистки элементов бесконтактной пары от отложений продуктов износа, содержащихся в картерном масле центробежного РЧВ; низкая надежность срабатывания бесконтактной пары, так как элементы пары разделены воздушно-масляной средой; нестабильность выходных сигналов при возможных колебаниях вала рычага РЧВ.

Заявленное изобретение направлено на устранение вышеуказанных недостатков и от его применения получен следующий технический результат: возможность непрерывного контроля загрузки дизеля во всем диапазоне работы центробежного РЧВ в зависимости от нагрузочно-скоростных режимов; снижение трудоемкости обслуживания устройства за счет исключения операции по очистке от отложений продуктов износа бесконтактной пары из-за ее отсутствия в заявленном устройстве; повышение надежности срабатывания первичного преобразователя за счет обеспечения постоянного подпора подвижных элементов следящего устройства; повышение стабильности выходных сигналов при возможных колебаниях рычага центробежного РЧВ за счет использования интегратора в преобразователе сигналов устройства.

Указанный технический результат достигается за счет использования первичного преобразователя, состоящего из устройства, следящего за режимом работы дизеля (рычага корректора центробежного РЧВ) и одновременно управляющего величиной индуктивности (выходного сигнала) в зависимости от загрузки дизеля (индуктивный датчик перемещений), а также за счет того, что в преобразователе сигналов имеется интегратор, обеспечивающий стабилизацию выходных сигналов при кратковременных колебаниях рычага корректора РЧВ.

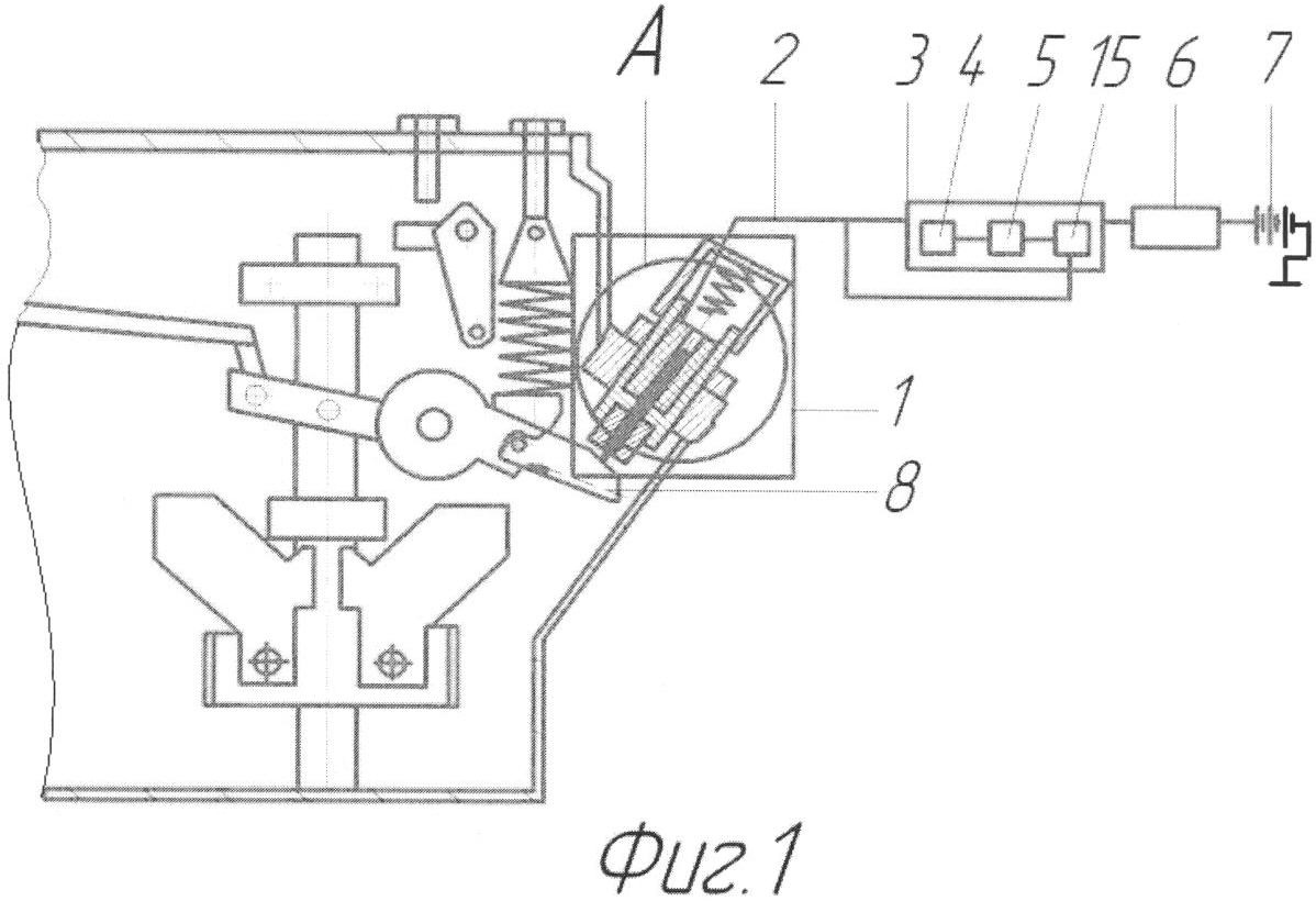
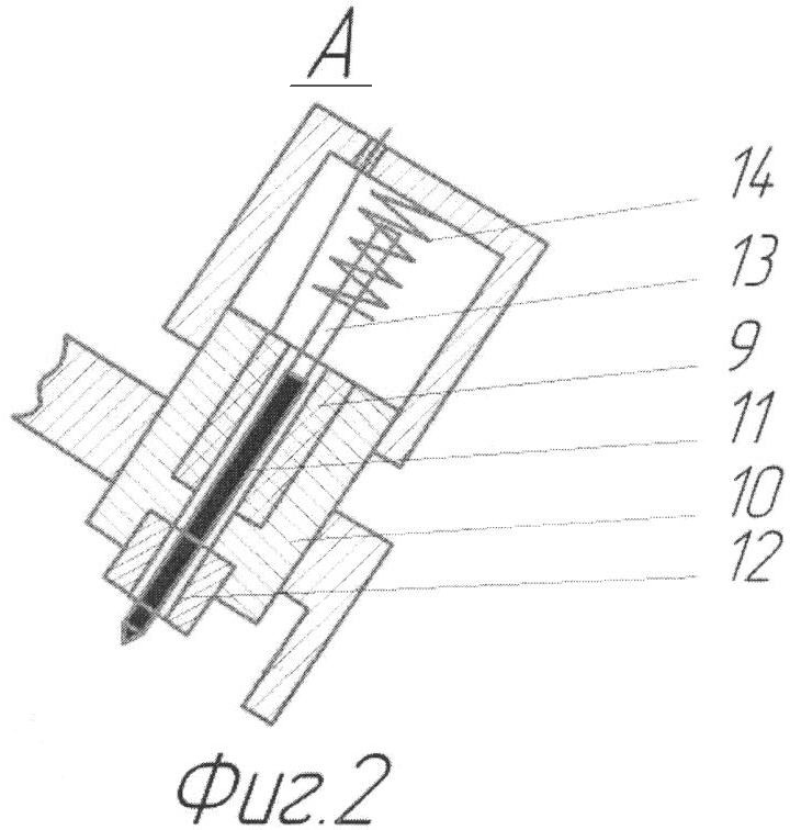
На фиг.1 представлен общий вид устройства контроля загрузки дизеля, на фиг.2 – выносной элемент А.

Устройство контроля загрузки дизеля содержит первичный преобразователь 1, соединительный кабель 2, преобразователь сигналов 3, состоящий из задающего генератора 4, буферного каскада 5 и интегратора 15, индикаторный указатель 6 и источник питания 7, причем в качестве первичного преобразователя 1 используется следящее устройство, выполненное в виде рычага 8 корректора центробежного РЧВ, и индуктивный датчик перемещений, состоящий из электромагнитной катушки 9, вмонтированной в корпус 10 корректора, стального сердечника 11, установленного с радиальным зазором в осевых отверстиях электромагнитной катушки 9 и штока 12 корректора с возможностью изменения индуктивности электромагнитной катушки 9 при перемещении сердечника 11 под действием рычага 8 корректора в зависимости от загрузки дизеля, при этом верхний конец сердечника 11 жестко соединен с подвижным неметаллическим стержнем 13, нагруженным пружиной 14, для обеспечения постоянного контакта нижнего конца сердечника 11 с рычагом 8 корректора. Преобразователь сигналов 3 дополнительно включает интегратор 15, обеспечивающий стабилизацию выходных сигналов первичного преобразователя 1 при кратковременных колебаниях рычага 8 корректора с возможностью регулирования времени отклика.

Устройство контроля загрузки дизеля работает следующим образом.

В зависимости от нагрузочного режима работы дизеля (режим холостого хода, режим малых и средних нагрузок, режим номинальной нагрузки, режим перегрузок) рычаг управления подачей топлива устанавливается в соответствующее положение (в диапазоне от минимальной до максимальной подачи топлива), обеспечивает требуемый скоростной режим на определенной нагрузке центробежный РЧВ, грузы (или пружина) которого перемещают дозатор топливного насоса высокого давления в сторону увеличения или уменьшения подачи топлива. Одновременно с этим происходит перемещение рычага 8 корректора вниз или вверх, а следовательно, и соответствующее перемещение сердечника 11, что, в свою очередь, приводит к изменению индуктивности электромагнитной катушки 9 (к изменению выходных сигналов первичного преобразователя 1). Сформированный электрический сигнал по кабелю 2 поступает в преобразователь сигналов 3, где преобразовывается в показания (проценты загрузки по величине крутящего момента) индикаторного указателя 6.

Задающий генератор 4 преобразователя 3 вырабатывает электрические импульсы заданной частоты, которые поступают на входы буферного каскада 5. Буферный каскад 5 обеспечивает развязку задающего генератора 4 и индуктивного датчика перемещений, а интегратор 15 обеспечивает стабилизацию выходных сигналов первичного преобразователя 1, время отклика которых регулируется изменением емкости конденсатора.

Источники информации

1. Пат. RU 2029932, кл. G01L 5/00, G01L 23/22. Эконометр / В.А.Родичев, М.П.Бурдиан. – 4932555/10; Заявл. 29.04.91; Опубл. 27.02.95; Бюл. 6.

2. Пат. RU 2030723, кл. G01L 23/22. Сигнализатор загрузки двигателя / П.А.Амельченко, М.П.Бурдиан, М.Ш.Клебанов, В.А.Родичев, В.И.Романовский, А.И.Якубович, С.Д.Ярош. – 5066742/10; Заявл. 03.06.92; Опубл. 10.03.95; Бюл. 7.

3. Пат. RU 2198388, кл. G01L 23/08. Устройство для определения загрузки дизельного двигателя / Н.И.Зубов, С.В.Свиридов, И.И.Беспятов. – 2001102129/06; Заявл. 23.01.01; Опубл. 10.02.03; Бюл. 4.

Формула изобретения

1. Устройство контроля загрузки дизеля, содержащее первичный преобразователь, соединительный кабель, преобразователь сигналов, состоящий из задающего генератора, буферного каскада и интегратора, индикаторный указатель и источник питания, отличающееся тем, что в качестве первичного преобразователя используется следящее устройство, выполненное в виде рычага корректора центробежного регулятора частоты вращения, и индуктивный датчик перемещений, состоящий из электромагнитной катушки, вмонтированной в корпус корректора, стального сердечника, установленного с радиальным зазором в осевых отверстиях катушки и штока корректора с возможностью изменения индуктивности катушки при перемещении сердечника под действием рычага корректора в зависимости от загрузки дизеля, при этом верхний конец сердечника жестко соединен с подвижным неметаллическим стержнем, нагруженным пружиной, обеспечивающей постоянный контакт нижнего конца сердечника с рычагом корректора.

2. Устройство контроля дизеля по п.1, отличающееся тем, что преобразователь сигналов дополнительно включает интегратор, обеспечивающий стабилизацию выходных сигналов первичного преобразователя при кратковременных колебаниях рычага корректора с возможностью регулирования времени отклика.

РИСУНКИ

Categories: BD_2379000-2379999