|
|
(21), (22) Заявка: 2008115829/28, 21.04.2008
(24) Дата начала отсчета срока действия патента:
21.04.2008
(46) Опубликовано: 20.01.2010
(56) Список документов, цитированных в отчете о поиске:
DE 102006034296 A1, 21.04.2008. RU 66421 U1, 10.08.2007. RU 47967 U1, 10.09.2005. КРЕМЛЕВСКИЙ П.П. Расходомеры-счетчики количества веществ. СПб.: 2002, стр.335-338. SU 1420470 A1, 30.08.1988.
Адрес для переписки:
625014, г.Тюмень, ул. Новаторов, 8, ОАО ИПФ “Сибнефтеавтоматика”
|
(72) Автор(ы):
Абрамов Генрих Саакович (RU), Абрамов Олег Леонидович (RU), Барычев Алексей Васильевич (RU), Карманов Владимир Павлович (RU)
(73) Патентообладатель(и):
Открытое акционерное общество “Инженерно-производственная фирма СИБНЕФТЕАВТОМАТИКА” (RU)
|
(54) СПОСОБ ИЗМЕРЕНИЯ ХАРАКТЕРИСТИК ЖИДКИХ СРЕД, А ИМЕННО ОБЪЕМНОГО РАСХОДА И ВЯЗКОСТИ, И УСТРОЙСТВО ДЛЯ ЕГО РЕАЛИЗАЦИИ
(57) Реферат:
Изобретение относится к области измерения физико-химических характеристик жидких сред и может быть использовано в различных отраслях промышленности. Сущность: устройство содержит проточный цилиндрический корпус с измерительным, коаксиальным корпусу, кольцевым каналом, узел формирования и съема электрического сигнала, наземный блок для обеспечения электропитания и индикации объемного расхода, кабельную связь наземного блока с узлом формирования и съема информационно электрического сигнала. На входе измерительного кольцевого канала установлен вращатель потока кольцеобразной формы, выполненный с радиальными относительно измерительного канала лопатками криволинейного профиля в сечении. Во внешней стенке измерительного канала корпуса выполнена канавка, образованная двумя конусными поверхностями, в которой размещено шарообразное тело качения из магнитного материала. На определенном расстоянии от имеющейся канавки выполнена вторая канавка с шарообразным телом качения и узел формирования и схема информационного электрического сигнала, конструктивно выполненные аналогично первым. По частоте вращения первого шарообразного тела качения F1 судят об объемном расходе протекающей жидкости. По отношению частоты F1 к частоте вращения второго шарообразного тела качения F2 судят о вязкости жидкости. Технический результат: расширение функциональных возможностей. 2 н. и 1 з.п. ф-лы, 2 ил.
Изобретение относится к области измерения физико-химических характеристик жидких сред и может быть использовано в различных отраслях промышленности, в том числе в автоматизированных системах управления технологическими процессами в нефтяной, строительной, химической и пищевой промышленности, а также в нефтепромысловой геофизике при гидродинамических исследованиях скважин.
В нефтепромысловой геофизике весьма актуальными являются исследования скважин с помощью комплексной скважинной аппаратуры [1, 2], реализующей самые различные способы измерения физико-химических характеристик исследуемых жидкостей в скважине, в нефтяных пластах. Несомненно, скорость (объемный расход) и вязкость, являющиеся основными параметрами, с помощью которых описываются гидромеханические явления в движущихся жидкостях (в том числе и в скважинных условиях).
Известны многочисленные способы измерения вязкости жидкости, а также целый ряд устройств, реализующих эти способы [3-7].
Недостатком этих способов и реализующих их устройств [3-7] является тот факт, что они могут быть использованы только в лабораторных (стационарных) условиях и не могут быть применены, например, скважинных исследованиях, или других производственных сферах.
Известны также тахометрические расходомеры [8], одним из недостатков которых является возникновение дополнительной погрешности измерения расхода за счет влияния вязкости измеряемой жидкости. Принимаются специальные конструкторские решения [9, 10], позволяющие в какой-то мере скомпенсировать влияние вязкости, проявляющееся в действии пограничного слоя на наружную радиальную поверхность турбины, на процесс измерения расхода жидкости.
Вместе с тем известно, что, несмотря на общепромышленное применение турбинных расходомеров (в том числе и в скважинных условиях), они имеют существенные недостатки: сложность в эксплуатации, подверженность засорению, ненадежность, особенно при наличии гидравлических ударов в линии.
Известны также шариковые расходомеры, в том числе и скважинные [8], относящиеся к классу тахометрических расходомеров, во многом превосходящие по своим техническим характеристикам турбинные расходомеры. В шариковых расходомерах основным узлом формирования информационного сигнала о расходе текучей среды в закрытых каналах, то есть в трубопроводах, является шарообразное тело качения из того или иного материала, расположенное в кольцевой канавке канала, движущееся по круговой траектории под воздействием предварительно закрученного (вращающегося) потока текучей среды. Частота вращения шарообразного тела функционально связана с величиной скорости (расхода) текучей среды, которая регистрируется с помощью достаточно простых технических решений узла съема информационного сигнала.
Вместе с тем в этих расходомерах на погрешность измерения расхода также влияет вязкость измеряемой среды. Тем не менее, это проявление вязкости косвенное (как и в турбинных расходомерах) и без специальных конструкторских проработок функцию измерения вязкости в расходомерах получить невозможно.
Наиболее близким техническим решением (прототипом) к заявляемому способу является способ [11] измерения вязкости, сущность которого состоит в том, что струе жидкости придают вращательное движение, воздействуют на струю магнитным полем вдоль ее оси, измеряют ЭДС (E1 и Е2) между радиально разнесенными точками в двух разнесенных по длине струи сечениях, причем вращательное движение придают всему потоку жидкости, обе ЭДС измеряют в зоне затухания вращательного возмущения, а по их отношению судят о вязкости.
Устройство, реализующее способ [11], содержит цилиндрический корпус-электрод, завихритель потока жидкости (струи), коаксиально расположенные электроды, изолятор, магнитную систему (соленоид) и вычислитель, причем завихритель потока расположен в корпусе электрода со стороны набегающего потока жидкости, электроды (первый и второй) являются внутренними и разнесены по оси корпуса, а первый электрод установлен в зоне завихрителя потока.
Недостатком этого способа и реализующего его устройства является ограниченность перечня объектов измерения, а именно: возможность их использования для измерения вязкости только электропроводящих жидкостей, что резко ограничивает сферы их применения, в том числе и в нефтяной промышленности, не говоря об их использовании в нефтепромысловой геофизике при проведении скважинных исследований. Кроме того, представляет собой достаточно непростую задачу выделение полезного информационного сигнала в электромагнитных приборах (в частности, в электромагнитных расходомерах) на фоне различного ряда помех (трансформаторные, квадратурные, электрохимические) [8].
Требуемый технический результат (иначе – цель создания заявляемых объектов) заключается в обеспечении известным техническим решениям более высоких потребительских свойств с учетом расширения сфер применения.
Требуемый технический результат в заявляемом способе измерениях характеристик жидких сред, а именно объемного расхода и вязкости, при котором струе жидкости в кольцевом канале придают вращательное движение, вращающейся жидкостью придают вращение двум шарообразным телам качения, движущимся по кольцевым траекториям кольцевых канавок, размещенных в зоне затухания вращательного возмущения, сформированных внутри трубопровода и разнесенных по его длине, по частоте F1 вращения первого шарообразного тела качения судят о расходе протекающей жидкости, а по отношению частоты F1 к частоте F2 вращения второго шарообразного тела качения судят о величине измеряемой вязкости.
Требуемый технический результат в части устройства для реализации заявляемого способа, как показывают стендовые и промышленные испытания заявляемого устройства и опыт эксплуатации прототипа-устройства, обеспечивается тем, что известное устройство, содержащее, проточный цилиндрический корпус с измерительным, коаксиальным корпусу, кольцевым каналом, на входе которого установлен вращатель потока кольцеобразной формы с радиальными, относительно измерительного канала, лопатками криволинейного профиля в сечении, шарообразное тело качения из магнитного материала, размещенное в измерительном канале корпуса, канавку во внешней стенке измерительного канала корпуса для обеспечения возможности движения размещенного в ней шарообразного тела по штатной кольцевой траектории под воздействием вращающегося потока измеряемой среды, причем, канавка в измерительном канале корпуса выполнена с поверхностью S, для качения шарообразного тела, образованной дугой окружности с диаметром большим, чем диаметр шарообразного тела, узел формирования и съема электрического сигнала, наземный блок для обеспечения электропитания и индикации, объемного расхода, а также кабельную связь наземного блока с узлом формирования и съема информационного электрического сигнала, а на определенном расстоянии, метрологически обоснованном (с точки зрения максимальной чувствительности измерения), от имеющейся канавки с размещенным в ней шарообразным телом качения установлены вторые канавка с шарообразным телом качения и узел формирования и съема информационного электрического сигнала, конструктивно выполненные аналогично первым.
Дополнительным отличием заявляемого объекта является наличие в нем второго вращателя потока, позволяющего осуществлять измерение объемного расхода и вязкости при реверсивном течении измеряемой среды.
Требуемый технический результат обеспечен наличием в совокупности существенных признаков (характеризующих предлагаемый способ и реализующее его устройство для измерения характеристик жидких сред, а именно объемного расхода и вязкости) при несомненной применимости в промышленности, что предполагает соответствие заявляемых объектов критериям изобретения.
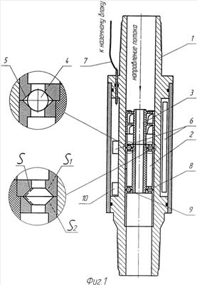
На чертежах (см. фиг.1 и 2) изображено устройство для реализации способа измерения характеристик жидких сред, а именно объемного расхода и вязкости (в варианте скважинного исполнения), которое содержит: проточный цилиндрический корпус 1 с измерительным, коаксиальным корпусу, кольцевым каналом 2, на входе которого установлен вращатель 3 потока кольцеобразной формы с радиальными, относительно измерительного канала, лопатками криволинейного профиля в сечении, шарообразное тело 4 качения из магнитного материала, размещенное в измерительном канале корпуса, канавку 5 во внешней стенке измерительного канала корпуса для обеспечения возможности движения размещенного в ней шарообразного тела 4 по штатной кольцевой траектории под воздействием вращающегося потока измеряемой среды, причем канавка 5 в измерительном канале корпуса выполнена с поверхностью S, для качения шарообразного тела 4, образованной дугой окружности с диаметром большим, чем диаметр шарообразного тела, узел 6 формирования и съема электрического сигнала, наземный блок (на рисунке не показан) для обеспечения электропитания и за работой и учета объемного расхода и вязкости, кабельную связь 7 наземного блока с узлом 6 формирования и съема информационного электрического сигнала. На определенном расстоянии, метрологически обоснованном (с точки зрения максимальной чувствительности измерения) от имеющейся канавки 5 с размещенным в ней шарообразным телом 4 качения, имеющей форму, образованную двумя конусными поверхностями S1 и S2, установлены вторые канавка 8 с шарообразным телом 9 качения и узел 10 формирования и съема информационного электрического сигнала, конструктивно выполненные аналогично первым. В нижней части скважинного прибора установлен дополнительный вращатель 11 потока (см. фиг.2).
Устройство для измерения объемного расхода и вязкости (на примере его применения в скважине) работает следующим образом. При установке прибора в скважину его резьбовые концы (на рисунке изображены, но отдельными позициями не показаны) соединяются (свинчиваются) с насосно-компрессорными трубами (НКТ) или каким-либо другим внутрискважинным оборудованием, при этом кабель связи 7 между наземным блоком и узлами (6 и 10) съема информационного электрического сигнала, крепится общеизвестными техническими средствами к НКТ.
Работа устройства (в качестве скважинного прибора) может происходить в следующих режимах:
1) режим измерения объемного расхода жидкости (при прямом и обратном направлении потока измеряемой среды);
2) режим измерения вязкости жидкости (при прямом и обратном направлении потока измеряемой среды);
3) комплексный режим измерения объемного расхода и вязкости жидкости (при прямом и обратном направлении потока измеряемой среды).
Естественно, наиболее предпочтительным является комплексный режим измерения, а классификация здесь приведена для удобства рассмотрения принципа действия устройства в скважинном исполнении.
1. Режим измерения объемного расхода жидкой среды
В данном режиме измерения производятся, например, в насосно-компрессорных трубах для измерения объемного расхода жидкости (например, воды), закачиваемой в скважину.
Принцип действия устройства заключается в следующем. Измеряемая среда поступает в НКТ и далее часть потока проходит через центральную цилиндрическую полость корпуса 1, а другая часть потока закручивается вращателем потока 3, идет по измерительному кольцевому каналу 2, увлекая шарообразное тело качения (шар) 4 в круговое движение по кольцевой траектории канавки 5, выполненной во внешней стенке измерительного канала корпуса с поверхностью S и имеющей форму, образованную двумя конусными поверхностями S1 и S2. Угловая скорость (частота вращения) шара является мерой расхода измеряемой жидкости. Частота вращения шара F1, прямо пропорциональная скорости потока и, следовательно, объемному расходу проходящей жидкости, преобразуется в электрический частотный сигнал или индукционным, или индуктивным, или магнитоуправляемым контактом узла 6 формирования и съема электрического сигнала. Далее, электрический сигнал с частотой F1 преобразуется микроконтроллером (на фигуре 1 не показан), входящим в состав узла 6 формирования и съема электрического канала, в расход, а информация о расходе передается по кабельной связи 7 в наземный блок (на рисунке не показан), который осуществляет функции электроснабжения и индикации объемного расхода.
При изменении направления течения измеряемой среды (см. фиг.2) поток закручивается вторым вращателем 11 потока, соответственно приходит во вращение второе шарообразное тело 9 качения, частота вращения которого воспринимается вторым узлом 10 формирования и съема электрического сигнала, и далее информация о расходе передается по кабельной связи 7 в наземный блок.
2. Режим измерения вязкости жидкости.
Пусть поток измеряемой среды поступает (см. фиг 2) сверху вниз, при этом под действием вращающегося потока приходят во вращение по своим канавкам 5 и 8 шарообразные тела качения, соответственно 4 и 9, имеющие соответственно частоты вращения F1 и F2, причем всегда должно соблюдаться неравенство F1>F2. Обоснуем это утверждение следующими рассуждениями.
В связи с условием сплошности потока (или неразрывности течения) [12] для несжимаемой жидкости можно записать:

где Q – расход потока жидкости;
– средняя (линейная) скорость потока;
s – площадь сечения трубопровода.
Исходя из этого, для нашего случая, будет справедливо следующее равенство:

где Q1 и Q2 – расход жидкости соответственно в сечениях S1 и S2 расположения первой 5 и второй 8 канавок. Следовательно, можно записать:


но, поскольку s1=s2, a Q1=Q2, можно записать:

где K1 и K2 – соответственно коэффициенты масштабирования.
Докажем, что в нашем случае, когда кольцеобразные канавки 5 и 8, по которым под действием вращающегося потока перемещаются шарообразные тела 4 и 9, линейно, по ходу потока, разнесены друг от друга на определенном расстоянии, в общем случае

а в частном случае

Неравенство это справедливо как для ламинарного, так и для турбулентного режимов течения жидкости в замкнутых трубопроводах.
При движении жидкости по трубопроводу возникают, благодаря вязкости, силы гидравлического сопротивления (трения), вследствие чего частицы жидкости тормозятся, причем скорость движения частиц по мере их удаления от оси трубы уменьшается. Для преодоления сопротивления трения и поддержания равномерного поступательного движения жидкости необходимо затратить энергию, называемую потерянной энергией или потерянным напором hтp.
Потери напора на трение при ламинарном режиме пропорциональны средней скорости движения потока и вязкости движущейся жидкости и не зависят от состояния внутренней поверхности стенок трубы. Объясняется это тем, что жидкость прилипает к стенкам трубопровода, в результате чего происходит трение жидкости о жидкость, а не жидкости о стенку. В работе [12, стр.160] приведены следующие формулы:


где – коэффициент гидравлического трения;
l – линейная длина по потоку;
d – диаметр трубопровода;
Re – число Рейнольдса;
– кинематическая вязкость жидкости;
– средняя линейная скорость движения жидкости.
q – ускорение свободного падения.
Для турбулентного течения жидкости справедлива следующая функциональная зависимость:

где k/d – отношение абсолютной шероховатости к диаметру трубопровода (относительная шероховатость).
Анализируя выражения (8, 9 и 10), можно сделать следующие выводы. Коэффициент гидравлического трения в трубопроводах пропорционален вязкости движущейся жидкости для ламинарного режима течения (формула 9) при малых числах Рейнольдса (до 2000), а для турбулентного режима течения пропорционален вязкости и относительной шероховатости (формула 10). Причем во втором случае (турбулентный режим), влияние шероховатости на изменение коэффициента гидравлического трения тем меньше, чем меньше отношение k/d, или чем больше отношение r/k, где r – радиус трубопровода. Из работы [12, рис.XII.4, стр.169] следует, что для гидравлически гладких труб с относительной шероховатостью r/k>500 коэффициент гидравлического трения изменяется линейно в диапазоне чисел Рейнольдса от 2,6 до 5,3 (логарифмический масштаб) и зависит только от вязкости жидкости.
Таким образом, учитывая вышесказанное, следует ожидать падение частоты F2 вращения второго шарообразного тела качения 9 по причине затухания вращательного движения в силу действия вязкостного трения и в общем случае можно записать:


и окончательно будем иметь

где – кинематическая вязкость жидкости;
K – коэффициент масштабирования;
L – расстояние между центрами канавок 5 и 8.
Результаты испытания экспериментального образца показали, что для надежного измерения вязкости необходимо соблюдать следующие условия:
– плотность шарообразного тела качения должна быть близка к плотности измеряемой жидкости. В этом случае [13, стр.30, 31] исчезает систематическая ошибка метода измерения скорости;
– расстояние L между центрами канавок находится экспериментально с учетом чистоты обработки поверхностей канавок, измерительного коаксиального кольцевого канала и наибольшей чувствительности выявленного градиента частоты;
– для уменьшения погрешности измерения необходимо пользоваться не мгновенными измерениями частот F1 и F2, а их средними оценками.
При изменении направления потока измерение вязкости происходит аналогично вышеописанному, а формула (13) трансформируется к виду:

3. Комплексный режим измерения расхода и вязкости происходит в последовательности, данной при описании режимов 1 и 2, с учетом условий измерения режима 2.
Таким образом, с учетом вышеизложенного, заявляемый объект подлежит охране как объект промышленной собственности с выдачей заявителю соответствующего охранного документа.
Источники информации
1. Габдуллин Т.Г. Разработка комплексной скважинной аппаратуры на одножильном кабеле, применительно к станции для исследования действующих скважин. Отчет по теме 134-76. Фонды ВНИИНПГ. Уфа, 1977.
2. СССР, а.с. 1051247, М кл3. Е21В 47/10, 1982.
3. СССР, а.с. 1746254, М.кл4. G01N 11/10, 1992.
4. СССР, а.с. 1081473, М.кл3. G01N 11/10, 1984.
5. СССР, а.с. 1837208, М.кл4. G01N 11/10, 1993.
6. СССР, а.с. 1300333, М.кл4. G01N 11/10, 9/10, 1987.
7. Томус Ю.Б. Разработка и исследование ИИС для определения основных реологических параметров промывочных жидкостей в бурении. Автореферат диссертации на соискание ученой степени кандидата наук. Куйбышев, 1976. – 14 с.
8. Абрамов Г.С., Барычев А.В., Зимин М.И. Практическая расходометрия в промышленности. М., ОАО «ВНИИОЭНГ», 2000. – с.104-109.
9. СССР, а.с. 322623, М.Кл. G01f 1/06, 1970.
10. СССР, а.с. 301540, МПК G01f 1/12, 1969.
11. СССР, а.с. 868473, М.кл3. G01N 11/16, 1980 (прототип).
12. Альтшуль А.Д., Киселев П.Г. Гидравлика и аэродинамика (Основы механики жидкости). Учебное пособие для вузов. Изд. 2-е, перераб. и доп. М., Стройиздат, 1975. 323 с.(стр.67).
13. Шейпак А.А. Гидравлика и гидропневмопривод: Учебное пособие, Ч.1. Основы механики жидкости и газа. 4-е изд., стереотипное. – М.: МГИУ, 2005. – 192 с.
Формула изобретения
1. Способ измерения характеристик жидких сред, а именно объемного расхода и вязкости, при котором струе жидкости в кольцевом канале придают вращательное движение, отличающийся тем, что вращающейся жидкостью придают вращение двум шарообразным телам качения, движущимся по кольцевым траекториям кольцевых канавок, размещенных в зоне затухания вращательного возмущения, сформированных внутри трубопровода и разнесенных по его длине, по частоте F1 вращения первого шарообразного тела качения судят об объемном расходе протекающей жидкости, а по отношению частоты F1 к частоте F2 вращения второго шарообразного тела качения судят о величине измеряемой вязкости.
2. Устройство для реализации способа измерения характеристик жидких сред, а именно объемного расхода и вязкости, по п.1, содержащее проточный цилиндрический корпус с измерительным коаксиальным корпусу кольцевым каналом, на входе которого установлен вращатель потока кольцеобразной формы с радиальными относительно измерительного канала лопатками криволинейного профиля в сечении, шарообразное тело качения из магнитного материала, размещенное в измерительном канале корпуса, канавку во внешней стенке измерительного канала корпуса для обеспечения возможности движения размещенного в ней шарообразного тела по штатной кольцевой траектории под воздействием вращающегося потока измеряемой среды, причем канавка в измерительном канале корпуса выполнена с поверхностью S для качения шарообразного тела, образованной дугой окружности диаметром, большим, чем диаметр шарообразного тела, узел формирования и съема электрического сигнала, наземный блок для обеспечения электропитания и индикации объемного расхода, а также кабельную связь наземного блока с узлом формирования и съема информационного электрического сигнала, отличающееся тем, что на определенном расстоянии, метрологически обоснованном с точки зрения максимальной чувствительности измерения, от имеющейся канавки с размещенным в ней шарообразным телом качения, имеющей форму, образованную двумя конусными поверхностями S1 и S2, установлены вторые канавка с шарообразным телом качения и узел формирования и съема информационного электрического сигнала, конструктивно выполненные аналогично первым.
3. Устройство для реализации способа измерения расхода и вязкости по п.2, отличающееся тем, что оно снабжено дополнительным вращателем потока, позволяющим осуществлять измерение расхода и вязкости при реверсивном течении измеряемой среды.
РИСУНКИ
|
|