|
|
(21), (22) Заявка: 2008115274/28, 17.04.2008
(24) Дата начала отсчета срока действия патента:
17.04.2008
(46) Опубликовано: 20.01.2010
(56) Список документов, цитированных в отчете о поиске:
RU 44162 U1, 27.02.2005. RU 2066419 C1, 10.09.1996. SU 1594338 A1, 23.09.1990. DE 4307809 C1, 13.10.1994. FR 2848288 A1, 11.06.2004.
Адрес для переписки:
630092, г.Новосибирск, пр-кт К. Маркса, 20, НГТУ
|
(72) Автор(ы):
Борыняк Леонид Александрович (RU), Непочатов Юрий Кондратьевич (RU)
(73) Патентообладатель(и):
Государственное образовательное учреждение высшего профессионального образования “Новосибирский государственный технический университет” (RU)
|
(54) СВЕТИЛЬНИК
(57) Реферат:
Изобретение относится к области светотехники и может быть использовано в качестве декоративных светильников. Заявленный светильник содержит корпус, разноспектральные источники света, основной полый отражатель в форме эллипса с зеркальной поверхностью и дополнительный отражатель и рассеиватель, каждый из которых выполнен в виде диска и расположен параллельно относительно друг друга. Дополнительный отражатель и рассеиватель выполнены в виде системы концентрических рельефных полос с тонкопленочным светоотражающим покрытием на одном диске, прикрепленном шарнирно к наружной лицевой поверхности корпуса. К верхней поверхности корпуса присоединена подвесная штанга с основным полым отражателем в форме эллипса с зеркальной поверхностью. Внутри основного полого отражателя установлена печатная плата, в отверстиях которой установлены разноспектральные источники света. Светильник снабжен контроллером, расположенным в корпусе, с которым соединяются разноспектральные источники света. Технический результат – расширение области применения, увеличение количества световых трансформаций, обеспечение динамического изменения яркости и цветности световой картины в пространстве и времени, усиление декоративного эффекта за счет создания цветной мерцающей картины, аналогичной виду природного явления. 5 з.п. ф-лы, 5 ил.
Изобретение относится к области светотехники и предназначено для внутреннего освещения жилых и общественных помещений и может быть использовано в качестве оригинального светового декорирования фойе, витрин магазинов, внутреннего интерьера жилых и офисных помещений, досуговых учреждений (дискотек, кафе, баров, ресторанов, казино, ночных клубов) и для изготовления рекламоносителей.
Неизгладимое впечатление на человека производят такие природные явления, как радуга, северное сияние, зори, гало и т.д., когда динамика широкой палитры цвета изменяется в пространстве и во времени. В заявляемой конструкции устройства осуществлена работа по моделированию этих зрительных образов с применением современных нанотехнологий. Стандартные художественные образцы светильников, панно, светодинамических панелей, наделенные разработанными источниками света, приобретают новые поразительные свойства воздействия на эмоции человека, соизмеримые с природными эффектами, и их можно использовать для создания специальных световых эффектов и придания интерьерам помещений индивидуальности, неповторимости и красочности.
Известен светильник для создания декоративного эффекта (авт. свид. СССР 1158819, заявл. 29.07.83, опубл. 30.05.85), содержащий источник света с размещенным на одной оптической оси с ним пучком световодных волокон и установленный между ними с возможностью вращения диск со светофильтрами, выполненными в виде секторов. Для повышения декоративного эффекта светильник снабжен коллимирующей линзой, помещенной между источником света и диском со светофильтрами, при этом оптическая ось линзы и ось вращения диска со светофильтрами совмещены с оптической осью светильника. При включении устройства свет от источника света, проходя линзу и вращающиеся светофильтры, меняет свой спектральный состав и формируется в коллимированный пучок, который освещает нижние торцы световодных волокон, при этом верхние торцы световодных волокон одновременно светятся различными цветами, меняя цвет при вращении светофильтров. Данное изобретение позволяет обеспечить декоративный эффект благодаря тому, что шаровая поверхность распушенного конца волоконного жгута формирует перемещающиеся по кругу световые картины высокого уровня яркости.
Однако с помощью данного светильника можно обеспечить лишь один декоративный эффект изменения цвета на выходе световых волокон и для его реализации необходимо наличие огромного количества световодов. Кроме того, громоздкость конструкции, заключающаяся в наличии узлов механического вращения, и высокая сложность ограничивают широкое применение данного типа светильника для декоративного освещения интерьера.
Известен светильник для создания специальных световых эффектов (патент Франции 1591710, кл. F21Р 3/00), содержащий тубус с объективом, трехгранную зеркальную призму, кассету с разноцветными хаотически расположенными в ней стеклами, конденсор, лампу и отражатель, причем кассета установлена с возможностью вращения от привода. Свет от включенной лампы просвечивает цветные стекла в кассете и создает на экране различные световые эффекты, изменяющиеся с частотой, задаваемой скоростью вращения кассеты.
Недостатком данного светильника является ограниченное разнообразие световых эффектов, что обусловлено конструкцией и наличием только одной кассеты. Кроме этого, при достижении высокой яркости светопотока прозрачные стенки кассеты должны быть выполнены из кварцевого стекла, что повышает стоимость устройства.
Известен также светильник со светодиодами (заявка Франции 2848288, F21V 13/04, H05B 32/02), включающий светоизлучающие диоды (СИД) белого света и оптическую систему, увеличивающую эмиссионную площадь. Оптическая система с набором призм перехватывает случайные пучки света от СИД и перераспределяет их по зоне осветительного устройства. Распределительное устройство позволяет также смешивать световые пучки от цветных СИД.
Однако данный светильник не позволяет создавать светодинамические декоративные эффекты и не может быть использован для освещения баров, ресторанов, казино, ночных клубов и для изготовления рекламоносителей.
Наиболее близким техническим решением к заявляемому является конструкция светильника (авторское свидетельство SU 1594338, кл. F21S 5/00, заявл. 23.08.88 г., опубл. 23.09.90 г.), выбранного в качестве прототипа и содержащего разноспектральные источники света, основной составной отражатель в виде эллипса с зеркальной поверхностью и дополнительный отражатель и рассеиватель, каждый из которых выполнен в виде диска и расположен параллельно относительно друг друга.
Этот светильник обеспечивает статический цветовой эффект, который достигается в зависимости от источника света с помощью сложной, трудоемкой в изготовлении конструкции устройства.
Недостатком светильника является ограниченная область применения, малое количество световых трансформаций, отсутствие декоративного эффекта при использовании разноспектральных источников света невозможность создания цветной мерцающей картины и динамического изменения цвета и яркости светового потока в пространстве и времени.
Задачей изобретения является расширение области применения, увеличение количества световых трансформаций, обеспечение динамического изменения цвета и яркости световой картины в пространстве и времени, усиление декоративного эффекта за счет создания цветной мерцающей картины, аналогичной виду природного явления гало.
Поставленная задача достигается за счет того, что в светильнике, содержащем корпус, разноспектральные источники света, основной полый отражатель в форме эллипса с зеркальной поверхностью и дополнительный отражатель и рассеиватель, каждый из которых выполнен в виде диска и расположен параллельно относительно друг друга, дополнительный отражатель и рассеиватель, выполнены в виде системы концентрических рельефных полос с тонкопленочным светоотражающим покрытием на одном диске, прикрепленном шарнирно к наружной лицевой поверхности корпуса, причем к верхней поверхности корпуса присоединена подвесная штанга с основным полым отражателем в форме эллипса с зеркальной поверхностью, внутри основного полого отражателя установлена печатная плата, в отверстиях которой установлены разноспектральные источники света, при этом он снабжен контроллером, расположенным в корпусе, с которым соединяются разноспектральные источники света, причем разноспектральный источник света выполнен в виде осветителя, состоящего из набора разноспектральных микроламп, лазеров, световолокон, светодиодов.
Система концентрических рельефных полос выполнена в виде отражательной радиальной дифракционной решетки с микроструктурой, сформированной из нанесенного на пластину тонкопленочного светоотражающего покрытия с размером микроструктуры 1-3 мкм и глубиной впадин 0,3 мкм.
Профиль впадин системы концентрических рельефных полос выполнен прямоугольной, треугольной, трапециевидной или закругленной формы.
Дополнительный отражатель и рассеиватель установлены с возможностью возвратно-поступательного движения, к оборотной стороне которых прикреплены шарниры, соосно с ними внутри корпуса установлены соленоиды, соединенные с контроллером.
Тонкопленочное светоотражающее покрытие выполнено белого или черного цвета.
Подвесная штанга с разноспектральными источниками света выполнена гибкой с возможностью изменения в пространстве формы геометрической оси и расстояния от разноспектральных источников света до дополнительного отражателя и рассеивателя в пределах 1/2-2/3 диаметра диска.
Сущность изобретения поясняется чертежами.
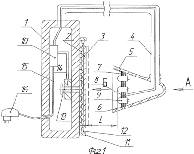
На фиг.1 изображен общий вид светильника в поперечном разрезе, на фиг.2 представлен вид на светильник сбоку (вид А). На фиг.3 показан вид сверху (вид Б) на дополнительный отражатель и рассеиватель, на фиг.4 изображена в разрезе, в увеличенном виде, структура микрорельефа поверхности дополнительного отражателя и рассеивателя.
Светильник (фиг.1, 2) содержит корпус 1 в виде короба прямоугольного сечения, к лицевой стороне которого прикреплен диск 2 со сформированными на его поверхности дополнительным отражателем и рассеивателем 3. К верхней части корпуса присоединена подвесная гибкая штанга 4 с основным полым отражателем 5 в форме эллипса с зеркальной поверхностью 6. Внутри основного полого отражателя установлена печатная плата 7 с металлизационным рисунком 8. В отверстиях печатной платы установлены разноспектральные источники света 9 (светодиоды, микролампы, лазеры, световолокна) различных цветов свечения (красного, зеленого и синего, составляющих систему RGB, – триады цветов, при смешивании которых получается вся цветовая гамма), схемно соединенные с контроллером 10, управляющим их переключениями. Принцип получения цветовой гаммы при включении контроллером одного, двух или трех разноспектральных источников света, составляющих систему RGB, в различных сочетаниях подобен принципу формирования цвета в системах цветного телевидения. На лицевой стороне корпуса на одной оси установлены стойки 11, к которым с помощью шаровых шарниров 12 прикреплен диск 2 дополнительного отражателя и рассеивателя. К оборотной стороне диска на оси, перпендикулярной к оси, где установлены шарниры, к ее диаметрально противоположным краям прикреплены изготовленные из магнитно-мягкого материала (электротехнической стали) стержни 13, соосно с ними внутри корпуса установлены соленоиды 14, схемно соединенные с контроллером 10. Электрическое питание контроллера 10 и светодиодов 9 осуществляется за счет подключения с помощью проводов 15 к электрическому преобразователю 16, соединенному с электрической сетью. Дополнительный отражатель и рассеиватель 3 выполнен в виде отражательной дифракционной решетки на полимерном диске 2 и представляет собой высокочастотную систему рельефных полос из выступов 17 и впадин 18, покрытых светоотражающей пленкой 19 из алюминия или хрома (фиг.3, 4). Частота полос составляет 1000 линий на миллиметр, а глубина рельефа – около 0,3 мкм, что необходимо для пространственного разделения цветов.
Светильник работает следующим образом.
При включении в электрическую сеть с переменным напряжением 220 В с помощью преобразователя 16 подается постоянное напряжение 5 В на контроллер 10, соединенный проводами 15 и металлизационным рисунком 8 печатной платы 7 с выводами разноспектрального источника света 9, например светодиодов, которые при подаче на них управляющих напряжений от контроллера 10 включаются по специальной программе в различных комбинациях. Свет, излучаемый разноспектральными источниками света 9, с помощью основного полого отражателя 5, покрытого зеркальной пленкой 6, направляется на дополнительный отражатель и рассеиватель 3, выполненный на полимерном диске 2 в виде системы концентрично расположенных полос из выступов 17 и впадин 18, покрытых светоотражающей пленкой 19 из алюминия или хрома (фиг.3, 4) с частотой полос 1000 линий на миллиметр и глубиной рельефа 0,3 мм. При попадании света на дополнительный отражатель и рассеиватель 3 на его плоскости образуется цветное радужное изображение в виде кольца, внешне похожего на природное явление гало. За счет штанги 4, позволяющей изменять в пространстве форму ее геометрической оси, выбирается расстояние L между дополнительным отражателем и рассеивателем 3 на диске 2 и разноспектральными источниками света 9, при котором получается наиболее яркое или контрастное цветное кольцо. Оптимальные значения величины L находятся в пределах 1/2-2/3 диаметра диска 2.
Внешне дополнительный отражатель и рассеиватель 3 выполнены на одном диске и представляют оптический элемент в виде двумерной (2Д) дифракционной решетки или бинарной фазовой зонной пластинки с тонким фазовым микрорельефом, рассчитанным в рамках теории дифракции. Дифракционная решетка как дифракционный оптический элемент представляет собой систему равноотстоящих колец трапецеидального профиля одинаковой ширины у вершин трапеций и имеет бинарное амплитудное и фазовое отражение волн. Профиль колец может также иметь форму треугольника или закругленного прямоугольника. При освещении дифракционной решетки монохроматическим пучком света с длиной волны , падающим нормально к плоскости решетки, в результате дифракции света на периодической структуре концентрических колец будет образовываться множество пучков света, выходящих под разными углами и соответствующим различным порядком дифракции. Граница зон при этом будет выглядеть в виде окружности. Радиусы окружности R меняются пропорционально квадратным корням из последовательных целых чисел р:

Дифракционная решетка выполняет функцию фокусатора света с множеством фокусов f-2, f-1 f0, f1, f2, соответствующих различным порядкам дифракции и расположенных на оси распространения света:

Интенсивность света I убывает с ростом номера порядка по закону

При этом получается кольцо света на решетке с переменной интенсивностью света от центра к краям кольца.
Таким образом, в плоскости дополнительного отражателя и рассеивателя 3 образуется система концентрических равномерно отстоящих колец одинаковой ширины, которые фокусируются дифракционной решеткой в сплошное кольцо. При падении светового потока на дифракционную решетку свет разлагается на составляющие цвета спектра, создавая радужный эффект. При падении светового пучка на совокупность рельефных полос из выступов и впадин часть его будет отражаться прямо в обратном направлении, а часть будет огибать упомянутые микроэлементы решетки, в результате чего образуются новые пучки, выходящие из решетки и формирующие цветное изображение в виде кольца, внешне похожего на природное явление гало. В зависимости от угла падающего света на высокоразрешающую структуру дифракционной решетки из выступов и впадин кольцо переливается всеми цветами радуги.
Экспериментальным путем было определено, что наиболее приемлемыми размерами радужного кольца для зрелищного восприятия являются размеры, получаемые в площади диска 2 с дополнительным отражателем и рассеивателем 3, при расположении разноспектральных источников света 9 от дополнительного отражателя и рассеивателя 3 в виде дифракционной решетки на расстоянии L, равном 1/2-2/3 диаметра диска.
Кольцевые плоскости вершин выступов 17 и кольцевые донные плоскости впадин 18 у дополнительного отражателя и рассеивателя 3 имеют полированные поверхности, благодаря этому происходит отражение части светового потока, падающего от разноспектральных источников света 9. За счет различных материалов, используемых в качестве светоотражающей пленки 19 указанных участков дополнительного отражателя и рассеивателя 3, обеспечивается контрастность и яркость цветного кольца. При покрытии алюминиевой светоотражающей пленкой, имеющей белый цвет и отражающей 87-89% падающего света, при его нормальном падении кольцо получается ярким. При напылении светоотражающей пленки темного цвета из хрома, отражающего 55-56% света, оно становиться более контрастным.
Благодаря тому, что дополнительный отражатель и рассеиватель 3 имеет такую структуру, свет дифрагирует, отражается и рассеивается, образовывая кольцо такого цвета, какой в данный момент времени был на него направлен. Контроллер 10 осуществляет подключение светодиодов по специальной программе в различной комбинации – попарно и одиночно; при этом происходит поочередная, медленная смена цветов свечения цветного кольца на поверхности дополнительного отражателя и рассеивателя 3.
Для осуществления дополнительного динамического изменения яркости и цветности радужного кольца и еще большего усиления декоративного эффекта на соленоиды 14 подается промодулированный сигнал звуковой частоты определенной музыкальной тональности от контроллера 10. В момент подключения одного соленоида стержень 13 втягивается внутрь соленоида 14 и вместе с одним краем диска 2 притягивается к корпусу 1. Плоскость диска 2 наклоняется и для наблюдателя, находящегося перед светильником, изменяются цветность и яркость радужного кольца. В следующий момент контроллер 10 включает второй соленоид и выключает первый, плоскость диска 2 наклоняется в противоположную сторону и для наблюдателя, находящегося перед светильником, изменяется цветность и яркость радужного кольца. При одновременном включении двух соленоидов диск 2 то притягивается к корпусу 1, то отодвигается, совершая незначительные возвратно-поступательные движения в пространстве между корпусом 1 и основным полым отражателем 5 с разноспектральными источниками света 9, при этом плоскость диска 2 передвигается параллельно плоскости корпуса 1. Для наблюдателя и в этом случае будет изменяться цветность и яркость радужного кольца. Во всех вариантах подключения контроллером 10 соленоидов 14 радужное кольцо колеблется в такт со звучащей музыкой.
Конструкция светильника дополнительно обеспечивает получение светодинамических эффектов за счет переключения светодиодов по заданной программе с помощью контроллера. Одновременное включение одного или нескольких источников света разной длины волны в группе светодиодов, расположенных над дифракционной решеткой, создало огромные возможности, с точки зрения световых решений, благодаря смешиванию цветов, формированию множества цветовых оттенков, осуществлению динамического изменения света в различных режимах с несколькими уровнями скорости эффекта смешения цветов при переливании одного цветового оттенка в другой в пространстве и во времени.
Использование дифракционной решетки из концентрических рельефных полос из выступов размером 1-3,3 мкм и впадин глубиной 0,3 мкм позволило разбить фронт световой волны на отдельные пучки когерентного света. Эти пучки, претерпевая дифракцию на выступах и впадинах, интерферировали друг с другом, раскладывая белый свет в спектр и позволяя получать благодаря этому радужный декоративный эффект. Из-за интерференции интенсивность света, отраженного от совокупности концентрических рельефных полос из выступов и впадин получалась различной в различных направлениях. В некоторых направлениях световые волны от дифракционной решетки складывались в фазе, многократно усиливая друг друга.
Получаемый свет различной длины волны и длительности, а также цветовые оттенки в виде кольца в центральной части диска с дифракционной решеткой создают определенную ауру в помещении и оказывают общестимулирующее воздействие на организм человека. Отображение нежных цветовых градиентов и изменение яркости света вызывают различные эмоции у наблюдателя, создают у него своеобразный психоэмоциональный заряд. Плавный и мягкий переход от одного цвета к другому, используемый в конструкции заявляемого устройства, позволяет получать высокое эстетическое наслаждение и удовольствие от созерцания световой картины, похожей на природное явление гало.
Применение в заявляемой конструкции устройства дифракционной решетки с размерами элементов на уровне 1-3,3 мкм, получаемых методом фотолитографии и техпроцессов, применяемых в нанотехнологии, а также современных твердотельных источников света – светоизлучающих диодов позволило создавать декоративные эффекты, значительно усиливающиеся за счет одновременного применения эффекта дифракции света и динамического изменения цвета и формирования широкой цветовой гаммы с помощью светодиодов разного цвета (система RGB), работающих по заданной программе, что позволило приблизить эффект эмоционального воздействия разработанной конструкции светильника к эффекту воздействия природных явлений, таких, как, например, гало.
За счет освещения отражательной дифракционной решетки светодиодами системы RGB с динамическим изменением длины волны монохроматического света при подключениях светодиодов в различных комбинациях изобретение позволило обеспечить динамическое изменение яркости и цветности излучаемого светового потока в пространстве и времени, создать декоративный эффект в виде цветной мерцающей картины, аналогичной виду природного явления гало, что значительно расширяет гамму цветов, число вариантов световых эффектов и область применения светильника по сравнению с прототипом.
Формула изобретения
1. Светильник, содержащий корпус, разноспектральные источники света, основной полый отражатель в форме эллипса с зеркальной поверхностью и дополнительный отражатель и рассеиватель, каждый из которых выполнен в виде диска и расположен параллельно друг относительно друга, отличающийся тем, что дополнительный отражатель и рассеиватель выполнены в виде системы концентрических рельефных полос с тонкопленочным светоотражающим покрытием на одном диске, прикрепленном шарнирно к наружной лицевой поверхности корпуса, причем к верхней поверхности корпуса присоединена подвесная штанга с основным полым отражателем в форме эллипса с зеркальной поверхностью, внутри основного полого отражателя установлена печатная плата, в отверстиях которой установлены разноспектральные источники света, при этом он снабжен контроллером, расположенным в корпусе, с которым соединяются разноспектральные источники света, причем разноспектральный источник света выполнен в виде осветителя, состоящего из набора разноспектральных микроламп, лазеров, световолокон, светодиодов.
2. Светильник по п.1, отличающийся тем, что система концентричных рельефных полос выполнена в виде отражательной радиальной дифракционной решетки с микроструктурой, сформированной из нанесенного на пластину тонкопленочного светоотражающего покрытия с размером микроструктуры 1-3 мкм и глубиной впадин 0,3 мкм.
3. Светильник по п.1, отличающийся тем, что профиль впадин системы концентричных рельефных полос выполнен прямоугольной, треугольной, или трапециевидной, или закругленной формы.
4. Светильник по п.1, отличающийся тем, что дополнительный отражатель и рассеиватель установлены с возможностью возвратно-поступательного движения, к оборотной стороне которых прикреплены шарниры, соосно с ними внутри корпуса установлены соленоиды, соединенные с контроллером.
5. Светильник по п.1, отличающийся тем, что тонкопленочное светоотражающее покрытие выполнено белого или черного цвета.
6. Светильник по п.1, отличающийся тем, что подвесная штанга с разноспектральными источниками света выполнена гибкой с возможностью изменения в пространстве формы геометрической оси и расстояния от разноспектральных источников света до дополнительного отражателя и рассеивателя в пределах диаметра диска.
РИСУНКИ
|
|