|
|
(21), (22) Заявка: 2008150000/06, 18.12.2008
(24) Дата начала отсчета срока действия патента:
18.12.2008
(46) Опубликовано: 20.01.2010
(56) Список документов, цитированных в отчете о поиске:
SU117297 A1, 18.03.1959. SU 1551927 A1, 23.03.1990. RU 2130144 С1, 10.05.1999. GB 1214933 A, 09.12.1970. US 3794063 A, 26.02.1974. US 2854025 A, 30.09.1958. CN 2918931 Y, 04.07.2007.
Адрес для переписки:
115533, Москва, ул. Нагатинская, 27, корп.3, кв.8, В.В. Шаршкову
|
(72) Автор(ы):
Шаршков Владимир Васильевич (RU), Трегубов Владислав Михайлович (RU), Корольков Юрий Борисович (RU), Таубкин Игорь Соломонович (RU), Бабичев Алексей Анатольевич (RU)
(73) Патентообладатель(и):
Шаршков Владимир Васильевич (RU)
|
(54) ВЗРЫВОПРЕГРАЖДАЮЩЕЕ УСТРОЙСТВО
(57) Реферат:
Изобретение относится к вентиляционной технике, а именно к автоматическим отсекателям в воздуховодах, и предназначено для предотвращения аварийной ситуации на трубопроводах, связанной с выбросом воздуха с отравляющими веществами при взрыве. Взрывопреграждающее устройство содержит цилиндрический кожух. Кожух снабжен фланцевым соединением с входным и выходным патрубками воздуховода. В кожухе размещена золотниковая пара в виде двух надетых друг на друга неподвижного внутреннего и подвижного внешнего стаканов. В последних выполнены концентрические отверстия. Стаканы снабжены с торца кольцевыми основаниями. В основании внутреннего стакана напротив основания внешнего стакана установлен, по крайней мере, один постоянный магнит. Этот магнит фиксирует золотниковую пару в закрытом положении. В результате достигается повышение надежности перекрытия воздуховода при взрыве и исключение протечки через него вместе с воздушным потоком вредных примесей. 8 з.п. ф-лы, 1 ил.
Изобретение относится к вентиляционной технике, а именно к автоматическим отсекателям в воздуховодах, и предназначено, главным образом, для предотвращения аварийной ситуации, связанной с выбросом воздуха с отравляющими веществами при взрыве во время ликвидации аварийных зарядов, снабженных взрывчатыми веществами.
Известен отсечной аварийный клапан, содержащий корпус с входным и выходным патрубками, в полости которого размещены запорный орган, спусковой механизм и чувствительный элемент, при этом спусковой механизм выполнен в виде шариковой защелки, рабочие канавки защелки выполнены на хвостовике запорного органа и на стенках чувствительного элемента, который выполнен в виде стакана, а отверстия под шарики выполнены в направляющей между чувствительным элементом и запорным органом (см. авторское свидетельство SU 1551927, кл. F16K 17/22, 23.03.90).
Данный отсечной аварийный клапан реагирует на заданный допустимый расход среды. Клапан в принципе может реагировать на кратковременный импульс давления рабочей среды, например, при авариях взрывного типа. Однако он имеет низкую чувствительность к воздействию такого типа импульсов вследствие того, что чувствительный элемент имеет большую массу и подпружинен приводной пружиной.
Наиболее близким к изобретению по технической сущности и достигаемому результату является взрывопреграждающее устройство, содержащее цилиндрический кожух, снабженный фланцевым соединением с входным и выходным патрубками воздуховода, и размещенную в кожухе золотниковую пару в виде двух надетых друг на друга неподвижного и подвижного стаканов, в которых выполнены отверстия (см. авторское свидетельство SU 117297, кл. E21F 5/00, 01.01.1958).
Данное взрывопреграждающее устройство позволяет перекрывать трубопровод при возникновении в трубопроводе взрыва. Однако оно имеет невысокую надежность перекрытия трубопровода после взрыва, что связано с отсутствием средств фиксации подвижного стакана относительно неподвижного после перекрытия трубопровода, что может привести к утечке через устройство вредных выбросов, которые могли образоваться в трубопроводе при взрыве.
Задачей, на решение которой направлено настоящее изобретение, является создание взрывопреграждающего устройства с возможностью фиксации подвижного стакана относительно неподвижного в его крайних положениях.
Технический результат заключается в повышении надежности перекрытия трубопровода при взрыве и исключении протечки через него вместе с воздушным потоком отравляющих веществ.
Указанная задача решается, а технический результат достигается за счет того, что взрывопреграждающее устройство содержит цилиндрический кожух, снабженный фланцевым соединением с входным и выходным патрубками воздуховода, и размещенную в кожухе золотниковую пару в виде двух надетых друг на друга неподвижного внутреннего и подвижного внешнего стаканов, в которых выполнены концентрические отверстия, причем стаканы снабжены с торца кольцевыми основаниями, в основании внутреннего стакана напротив основания внешнего стакана установлен, по крайней мере, один постоянный магнит, фиксирующий золотниковую пару в закрытом положении.
В днище внутреннего стакана могут быть закреплены стойки, пропущенные через днище внешнего стакана, на концах которых установлен ограничитель подъема внешнего стакана, и на его днище закреплена упорная планка, при этом, по крайней мере, в ограничителе установлены расположенные напротив упорной планки постоянные магниты, фиксирующие внешний стакан в открытом положении.
На днище внутреннего стакана может быть смонтирован цилиндр пневмопривода принудительного срабатывания, шток которого расположен с возможностью воздействия на упорную планку.
На внешней стороне стенки внутреннего стакана, предпочтительно, установлены шариковые опоры, а на внутренней поверхности внешнего стакана выполнены направляющие пазы для шариков шариковых опор.
Основание внутреннего стакана, предпочтительно, снабжено штуцером для подвода управляющего давления в полость между основаниями.
В основании внутреннего стакана, предпочтительно, выполнено сквозное резьбовое отверстие, в которое ввернут болт для принудительного открытия устройства.
Боковые стенки внутреннего и внешнего стаканов могут быть выполнены цилиндрическими.
Боковые стенки внутреннего и внешнего стаканов могут быть выполнены коническими.
Между боковыми стенками внутреннего и внешнего стаканов может быть размещена смазка.
В ходе проведенного исследования было выявлено, что представляется возможность предотвратить выброс вредных отравляющих веществ в окружающее пространство и при этом создать минимальное гидравлическое сопротивление. Выполнение взрывопреграждающего устройства с золотниковой парой в виде двух надетых друг на друга неподвижного внутреннего и подвижного внешнего стаканов, в которых выполнены концентрические отверстия, позволяет создать проходное сечение в открытом положении устройства, превышающее проходное сечение трубопровода на входе и выходе устройства, что и позволяет снизить гидравлические потери. В то же время снабжение стаканов с торца кольцевыми основаниями в сочетании с установкой в основании внутреннего стакана напротив основания внешнего стакана, по крайней мере, одного постоянного магнита, фиксирующего золотниковую пару в закрытом положении, позволяет фиксировать устройство, что позволяет предотвратить смещение стаканов относительно друг друга после срабатывания устройства, что повышает надежность перекрытия трубопровода.
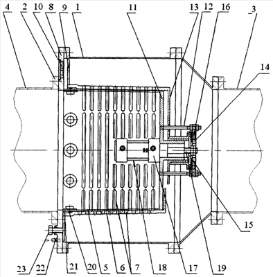
На чертеже представлен продольный разрез взрывопреграждающего устройства: выше осевой линии – открытое положение, ниже осевой линии – закрытое положение.
Взрывопреграждающее устройство содержит цилиндрический кожух 1, снабженный фланцевым соединением 2 с входным 3 и выходным 4 патрубками воздуховода, и размещенную в кожухе 1 золотниковую пару в виде двух надетых друг на друга неподвижного внутреннего 5 и подвижного внешнего 6 стаканов, в которых выполнены концентрические отверстия 7. Стаканы 5 и 6 снабжены с торца кольцевыми основаниями соответственно 8 и 9. В основании 8 внутреннего стакана 5 напротив основания 9 внешнего стакана 6 установлен, по крайней мере, один постоянный магнит 10, фиксирующий золотниковую пару в закрытом положении.
В днище 11 внутреннего стакана 5 закреплены стойки 12, пропущенные через днище 13 внешнего стакана 6, на концах которых установлен ограничитель 14 подъема внешнего стакана 6, и на его днище 13 закреплена упорная планка 15, при этом, по крайней мере, в ограничителе 14 установлены расположенные напротив упорной планки 15 постоянные магниты 16, фиксирующие внешний стакан 6 в открытом положении.
На днище 11 внутреннего стакана 5 смонтирован цилиндр 17 пневмопривода 18 принудительного срабатывания, шток 19 которого расположен с возможностью воздействия на упорную планку 15.
На внешней стороне стенки внутреннего стакана 5 установлены шариковые опоры 20, а на внутренней поверхности внешнего стакана 6 выполнены направляющие пазы 21 для шариков шариковых опор 20.
Основание 8 внутреннего стакана 5 снабжено штуцером 22 для подвода управляющего давления в полость между основаниями 8 и 9.
В основании 8 внутреннего стакана 5 выполнено сквозное резьбовое отверстие, в которое ввернут болт 23 для принудительного открытия устройства.
Боковые стенки внутреннего 5 и внешнего 6 стаканов могут быть выполнены цилиндрическими или коническими.
Между боковыми стенками внутреннего 5 и внешнего 6 стаканов может быть размещена смазка.
В исходном состоянии взрывопреграждающее устройство открыто и рабочая среда свободно транспортируется по воздуховоду.
При аварийном взрыве импульс ударной волны воздействует на днище 13 и основание 9 внешнего стакана 6, вызывая его перемещение и перекрытие концентрических отверстий 7. При этом постоянный магнит 10 притягивает основание 9 внешнего стакана, что предотвращает самопроизвольное открытие взрывопреграждающего устройства. После нормализации ситуации с помощью пневмопривода 18 перемещают внешний стакан 6 в исходное состояние, при этом упорная планка 15 притягивается к постоянным магнитам 16, фиксируя внешний стакан 6.
При необходимости возможно принудительное перемещение внешнего стакана 6 с помощью болтов 23 или путем подачи сжатого воздуха через штуцер 22.
Между внешним и внутренним стаканами 5 и 6 целесообразно размещение смазки, что позволяет обеспечить герметичность устройства за счет предотвращения перетечки газообразной среды через зазор между стенками внешнего и внутреннего стаканов 5 и 6.
Изобретение может быть использовано в системах автоматической аварийной отсечки каналов возможного выхода в окружающую среду вредных продуктов взрывной аварии в технологических установках и локализующих системах химической и атомной промышленности, а также в локализующих системах безопасности атомных реакторов.
Формула изобретения
1. Взрывопреграждающее устройство, содержащее цилиндрический кожух, снабженный фланцевым соединением с входным и выходным патрубками воздуховода, и размещенную в кожухе золотниковую пару в виде двух надетых друг на друга неподвижного внутреннего и подвижного внешнего стаканов, в которых выполнены концентрические отверстия, причем стаканы снабжены с торца кольцевыми основаниями, в основании внутреннего стакана напротив основания внешнего стакана установлен, по крайней мере, один постоянный магнит, фиксирующий золотниковую пару в закрытом положении.
2. Устройство по п.1, отличающееся тем, что в днище внутреннего стакана закреплены стойки, пропущенные через днище внешнего стакана, на концах которых установлен ограничитель подъема внешнего стакана и на его днище закреплена упорная планка, при этом, по крайней мере, в ограничителе установлены расположенные напротив упорной планки постоянные магниты, фиксирующие внешний стакан в открытом положении.
3. Устройство по п.2, отличающееся тем, что на днище внутреннего стакана смонтирован цилиндр пневмопривода принудительного срабатывания, шток которого расположен с возможностью воздействия на упорную планку.
4. Устройство по п.1, отличающееся тем, что на внешней стороне стенки внутреннего стакана установлены шариковые опоры, а на внутренней поверхности внешнего стакана выполнены направляющие пазы для шариков шариковых опор.
5. Устройство по п.1, отличающееся тем, что основание внутреннего стакана снабжено штуцером для подвода управляющего давления в полость между основаниями.
6. Устройство по п.1, отличающееся тем, что в основании внутреннего стакана выполнено сквозное резьбовое отверстие, в которое ввернут болт для принудительного открытия устройства.
7. Устройство по п.1, отличающееся тем, что боковые стенки внутреннего и внешнего стаканов выполнены цилиндрическими.
8. Устройство по п.1, отличающееся тем, что боковые стенки внутреннего и внешнего стаканов выполнены коническими.
9. Устройство по п.1, отличающееся тем, что между боковыми стенками внутреннего и внешнего стаканов размещена смазка.
РИСУНКИ
|
|