|
|
(21), (22) Заявка: 2008121283/06, 27.05.2008
(24) Дата начала отсчета срока действия патента:
27.05.2008
(46) Опубликовано: 20.01.2010
(56) Список документов, цитированных в отчете о поиске:
US 5593292 А, 14.01.1997. SU 415404 A1, 15.02.1974. SU 934117 A1, 07.06.1982. GB 1163626 A, 10.09.1969. US 1214400 A, 30.01.1917. FR 2082086 A1, 10.12.1971. DE 102006007583 A1, 23.08.2007. DE 3003480 A1, 06.08.1981.
Адрес для переписки:
426003, г.Ижевск, ул. Пушкинская, 116, кв.68, А.В. Антоневичу
|
(72) Автор(ы):
Антоневич Алексей Валерьевич (RU)
(73) Патентообладатель(и):
Антоневич Алексей Валерьевич (RU), Общество с ограниченной ответственностью Научно-производственная фирма “АВиС” (RU)
|
(54) КЛАПАН ОБРАТНЫЙ
(57) Реферат:
Изобретение относится к нефтяному машиностроению и предназначено для использования в нефтяных скважинах со штанговыми насосами или с электроцентробежными насосами, перекачивающими преимущественно жидкости с высоким содержанием механических примесей. Клапан обратный включает корпус, седло, запорный элемент. Последний установлен в ограничителе с конусными отверстиями, переходящими в конусные расточки. Ограничитель выполнен с возможностью увеличения проходного сечения между запорным элементом и ограничителем при осевом перемещении запорного элемента. Изобретение направлено на увеличение срока службы обратного клапана и повышения технологичности его изготовления. 5 з.п. ф-лы, 5 ил.
Изобретение относится к нефтяному машиностроению и может быть использовано в нефтяных скважинах со штанговыми насосами или с электроцентробежными насосами, перекачивающими преимущественно жидкости с высоким содержанием механических примесей.
Известен клапан штангового насоса (по патенту на полезную модель RU 42281), содержащий запорный элемент со сферической или конической поверхностью и составное седло. Наружный кольцевой элемент седла выполнен из пластичного антифрикционного материала, внутренний кольцевой элемент выполнен из износостойкого твердого, но хрупкого материала. Отверстия наружного и внутреннего кольцевых элементов образованы конической сужающейся поверхностью с переходом в цилиндрическую поверхность. В результате достигается повышение надежности работы клапана за счет безударной посадки запорного элемента на внутренний кольцевой элемент.
Известен клапан для насосных скважин (по патенту на полезную модель RU 50592), содержащий корпус с осевым отверстием и седлом для посадки шара и шар для перекрытия осевого отверстия. При посадке шара в седло происходит дросселирование жидкости через суженый зазор между шаром и сужением. Шар тормозится, за счет чего резко снижается сила удара его о посадочное седло. Известен клапан обратный (по патенту на полезную модель RU 55018), состоящий из цилиндрического корпуса с внутренним кольцевым выступом, запорного элемента, установленного с возможностью осевого перемещения внутри корпуса, седла, закрепленного с помощью резьбовой втулки, ограничителя с отверстиями для протока жидкости.
Общим недостатком известных клапанов является то, что при открытом клапане запорный элемент занимает преимущественно одно положение в ограничителе (в клетке), не зависящее от величины потока. При этом обтекание потоком, содержащим абразивные механические примеси, запорного элемента приводит к разрушению стенок корпуса или клетки.
Известен обратный клапан по патенту US 5593292, выбранный в качестве прототипа, содержащий ограничитель с отверстиями для протока жидкости, выполненный с возможностью увеличения проходного сечения при осевом перемещении запорного элемента. Отверстия выполнены в виде секторных вырезов. В корпусе выполнены расширяющиеся расточки. Его недостатком явлется низкая технологичность изготовления отверстий и расточек сложной формы, сопряженные друг с другом по сложной поверхности. При этом требуется фрезерная обработка. Конструкция обладает недостаточной жесткостью (прочностью) и низкой износостойкостью. При фрезерной обработке секторых вырезов образуются углы (узлы напряжения), в которых образуются микротрещины и другие инициаторы разрушения материала при нагрузке. Перемычки между секторными вырезами, имеющие прямоугольную форму (вид сверху), также характеризуются пониженной жескостью (прочностью).
Технической задачей изобретения является увеличение срока службы обратного клапана и повышение технологичности его изготовления.
Технический результат достигается в клапане обратном, включающем корпус, седло, запорный элемент, установленный в ограничителе с конусными отверстиями, переходящими в конусные расточки для протока жидкости. Ограничитель с конусными отверстиями и расточками выполнен с возможностью увеличения проходного сечения между запорным элементом и ограничителем при осевом перемещении запорного элемента. Угол раствора конусных отверстий и расточек составляет 1-20 градусов. Седло закреплено с помощью гайки и втулки. Втулка не выходит за габариты корпуса, снабжена уплотнительным кольцом и пазами под ключ. Ограничитель выполнен в виде клетки, закрепленной с помощью стопорного кольца. Запорный элемент выполнен в виде шара.
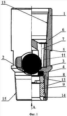
Изобретение поясняется фиг.1-5: фиг.1 – клапан обратный в сборе; фиг.2 – втулка;
фиг.3 – ограничитель (клетка); фиг.4-5 – ограничитель (вид с торцов).
Клапан обратный состоит из цилиндрического корпуса 1 с внутренним кольцевым выступом 2. На концах корпуса 1 выполнена резьба 15 для монтажа в колонну. Внутри корпуса 1 установлены запорный элемент 3 в виде шара, седло 4, ограничитель хода запорного элемента 3 в виде клетки 5. Седло 4, шар 3, клетка 5 выполнены из износостойких твердых сплавов, например ВК-15. Седло 4 установлено с одной стороны кольцевого выступа 2, а клетка 5 закреплена с другой стороны кольцевого выступа 2 с помощью стопорного кольца 6.
Запорный элемент 3 установлен в клетке 5 с возможностью осевого перемещения внутри клетки 5, снабженной отверстиями 7 для протока жидкости, переходящими в расточки 11, образующие вместе с перемычками 12 внутренние стенки клетки 5, фиг.3. Перемычки 12 выполняют роль направляющих для запорного элемента 3.
Клетка 5 (фиг.3-5) выполнена с возможностью увеличения проходного сечения между запорным элементом 3 и клеткой 5 при осевом перемещении запорного элемента 3. Это достигается тем, что отверстия 7 для протока жидкости и расточки 11 на внутренних стенках выполнены конусными. Угол раствора конусных отверстий 7 и угол раствора конусных расточек 11, которые выполняются одним инструментом в ходе одной технологической операции, совпадает и может находиться в диапазоне 1-20 градусов (на фиг.3 показан угол , составляющий половину угла раствора). Угол раствора зависит от диаметра шарового запорного элемента 3 (от его массы).
Седло 4 закреплено с помощью резьбовой гайки 8 и резьбовой втулки 9, снабженной пазами 10, под ключ (фиг.2). Для защиты резьбы 13 втулка 9 снабжена уплотнительным кольцом 14.
Клапан обратный изготавливается и работает следующим образом. На обрабатывающих центрах в ходе одной технологической операции выполняется коническое отверстие в верхней части клетки 5, переходящее в коническую расточку. Отверстия и расточки выполняются одним и тем же инструментом (сверла и специальные развертки) с одной установки, все они выполнены максимально соосно между собой, с одинаковым углом раствора, погрешность размеров минимальна. Одновременное изготовление конических отверстий и расточек позволяет повысить технологичность операции и сократить время изготовления деталей.
Конусные отверстия, имеющие в сечении форму круга, позволяют при том же суммарном проходном сечении добиться максимальной жесткости (прочности) ограничителя за счет того, что площадь круга максимальна при минимальной длине периметра отверстия, а также за счет двояковогнутой формы перемычек на ограничителе.
При использовании с насосами клапан устанавливают в насосно-компрессорную трубу.
После включения насоса рабочая жидкость поступает через резьбовую втулку 8 к запорному элементу 3. Под действием давления жидкости запорный элемент 3 поднимается с седла 4 и перемещается внутри клетки 5 вдоль направляющих перемычек 12 по направлению потока, образуя поток жидкости внутри клапана. Положение равновесия запорного элемента 3 достигается при выравнивании силы тяжести, действующей на запорный элемент, и силы, действующей на него со стороны потока. Далее жидкость проходит через отверстия 7 клетки 5 и поступает на выход клапана.
При увеличении потока жидкости увеличивается сила, действующая на запорный элемент со стороны потока. Запорный элемент 3 поднимается вверх вдоль направляющих перемычек 12. При этом увеличивается проходное сечение между запорным элементом и внутренними стенками клетки 5 и достигается новое положение равновесия запорного элемента 3 в клетке 5.
Таким образом, достигается равномерность износа стенок клетки 5 за счет плавного увеличения проходного сечения между запорным элементом 3 и клеткой 5 при осевых перемещениях запорного элемента между крайними положениями. Кроме того, увеличивается площадь контакта между запорным элементом и клеткой 5: в зоне максимального износа размер h перемычки 12 больше в 2 раза, чем в зоне умеренного износа, что приводит к увеличению срока службы максимально изнашиваемой детали – клетки (фиг.3-5).
При остановке насоса запорный элемент 3 под давлением столба рабочей жидкости в колонне опускается в седло 4, тем самым предотвращает обратный поток рабочей жидкости и удерживает жидкость в колонне насосно-компрессорных труб.
При необходимости замены запорного элемента 3 или седла 4 в клапане сливают жидкость из колонны над обратным клапаном с помощью сливного клапана. Для замены седла 4 с запорным элементом 3 выкручивают резьбовую втулку 9 с гайкой 8. Втулка 9 не выходит за габариты корпуса 1, тем самым уменьшая сопротивление потоку (повышается КПД всей установки) и повышая износостойкость клапана.
Уплотнительное кольцо 14, установленное в кольцевой выточке во втулке 9, предохраняет резьбу 13 на гайке 8 от воздействия агрессивной рабочей жидкости.
Формула изобретения
1. Клапан обратный, включающий корпус, седло, запорный элемент, установленный в ограничителе с конусными отверстиями, переходящими в конусные расточки, ограничитель выполнен с возможностью увеличения проходного сечения между запорным элементом и ограничителем при осевом перемещении запорного элемента.
2. Клапан обратный по п.1, отличающийся тем, что угол раствора конусных отверстий и расточек составляет 1-20°.
3. Клапан обратный по п.1, отличающийся тем, что седло закреплено с помощью гайки и втулки.
4. Клапан обратный по п.3, отличающийся тем, что втулка не выходит за габариты корпуса, снабжена уплотнительным кольцом и пазами под ключ.
5. Клапан обратный по п.1, отличающийся тем, что ограничитель выполнен в виде клетки, закрепленной с помощью стопорного кольца.
6. Клапан обратный по п.1, отличающийся тем, что запорный элемент выполнен в виде шара.
РИСУНКИ
|
|