|
|
(21), (22) Заявка: 2008109038/11, 12.03.2008
(24) Дата начала отсчета срока действия патента:
12.03.2008
(43) Дата публикации заявки: 20.09.2009
(46) Опубликовано: 20.01.2010
(56) Список документов, цитированных в отчете о поиске:
SU 1373929 A1, 15.02.1988. SU 649907 A1, 28.02.1979. DE 102004037178 A1, 23.03.2006. US 4660435 A, 28.04.1987.
Адрес для переписки:
125212, Москва, ул. Адмирала Макарова, 21, кв.14, Скорнякову Э.П.
|
(72) Автор(ы):
Гулиа Нурбей Владимирович (RU), Лаврентьев Александр Иванович (RU)
(73) Патентообладатель(и):
Гулиа Нурбей Владимирович (RU), Бабин Владимир Александрович (RU)
|
(54) СОСТАВНОЙ МАХОВИК
(57) Реферат:
Изобретение относится к машиностроению. Маховик включает пакет маховиков в виде дисков равной прочности с ободьями и промежуточными кольцами, а также две щеки с выполненными на них цапфами. Ширина ободьев превышает толщину диска. К щекам по внутренним кольцевым поверхностям примыкают ободья крайних дисков. Кольца содержат по краям замковые бурты и соединяют соседние ободья за замковые бурты, выполненные на их торцах. Ободья выполнены с центрирующими посадочными поверхностями на их сопряженных торцах. Достигается повышение надежности конструкции, снижение аэродинамических сопротивлений и повышение уравновешенности маховика. 9 з.п. ф-лы, 4 ил.
Изобретение относится к машиностроению и может быть использовано в приводах машин.
Из уровня техники известны составные маховики, содержащие диски, близкие по профилю к дискам равной прочности и включающие ободья, соединенные друг с другом торцами с помощью резьбовых шпилек и втулок в центральной части дисков (см. авт. свид. СССР SU 1154501 A, F16F 15/30, 1977; «Составной маховик», автор – Н.В.Гулиа). Недостатками этого устройства, принятого за аналог, является ненадежность крепления резьбовыми шпильками из-за возможности их отворачивания, а также большие осевые размеры креплений, не позволяющие выполнять диски, близкие к дискам равной прочности.
Известно устройство составного маховика, включающего ряд дисков равной прочности и со щеками по бокам, соединенных между собой торцами с помощью центрирующих колец с коническими участками (см. авт. свид. СССР SU 1373929 A1, F16F 15/30, 1986; «Составной маховик», авторы – Н.В.Гулиа и др.). Это устройство принято за прототип, как наиболее близкое к заявляемому.
Недостатками прототипа является ненадежность центрирования крепления ободьев друг к другу и к щекам кольцами с коническими участками, посаженными на ободья с помощью горячей посадки. Горячая посадка создает большие напряжения растяжения в ободьях, и без того нагруженных напряжениями из-за вращения. Щеки с плоскими торцами не могут быть выполнены в виде дисков равной прочности и нагружены несимметрично, а при выполнении их симметричными создадут высокие аэродинамические сопротивления при вращении из-за фасонных торцов. Помимо упомянутого, в конструкции не предусмотрено средств для уравновешивания составного маховика.
Задача изобретения состоит в разработке такой конструкции составного маховика, которая обеспечивает надежное центрирование ободьев дисков, снижая аэродинамическое сопротивление на торцах маховика и повышает уравновешенность составного маховика.
Указанная задача решается тем, что предложен составной маховик, включающий пакет составляющих маховиков в виде дисков равной прочности с ободьями, ширина которых превышает толщину диска, и промежуточными кольцами, соединяющими ободья соседних дисков друг с другом, а также две щеки, с выполненными на них цапфами, с примыкающими к ним ободьями крайних дисков по их внутренним кольцевым поверхностям, в котором согласно изобретению промежуточные кольца содержат по их краям замковые бурты, кинематически замыкающие соединяемые соседние ободья за замковые бурты, выполненные на их торцах, а сами эти ободья выполнены с центрирующими посадочными поверхностями на их сопряженных торцах. Другим отличием составного маховика является то, что промежуточные кольца могут быть выполнены как в виде прорезных пружин с осевыми несквозными прорезями в кольце, так и из пластиков, в том числе и отвердевшего клея. Следующим отличием составного маховика является то, что промежуточные кольца и ободья выполнены с кольцевыми упорами, центрирующими эти кольца в осевом положении. При этом промежуточные кольца выполнены с посадочными фасками по краям. Еще одним отличием составного маховика является то, что центрирующие посадочные поверхности маховиков выполнены по сопрягающимся внутренним и внешним цилиндрическим поверхностям на соседних ободьях. Другим отличием является то, что замковые бурты на ободьях выполнены с радиальными продольными прорезями. В числе отличий следует отметить то, что каждая из щек составного маховика выполнена в виде диска равной прочности с центральным цилиндрическим выступом на наружном его торце и несимметричным ободом, внутренний торец которого выполнен в виде ответной части для его крепления к ободу примыкающего маховика, а наружный торец выполнен с кольцевой поверхностью для балансировки, расположенной на внутренней части обода. Еще одним отличием является то, что кольцевая поверхность для балансировки выполнена в виде дорожки качения с расположенными там телами качения. Другим отличием является то, что каждая из щек составного маховика содержит крышку, размещенную на наружном торце щеки и установленную в посадочной поверхности в ободе щеки и закрепленную от перемещений в осевом направлении.
Технический результат, достигаемый изобретением, состоит в повышении надежности конструкции за счет кинематического замыкания соединений и точного центрирования торцов ободьев соседних маховиков и щек с маховиком, а также в снижении аэродинамических сопротивлений и повышении уравновешенности составного маховика.
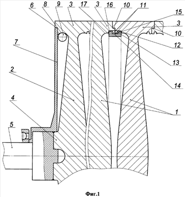
Устройство составного маховика представлено на фиг.1, где изображен продольный разрез составного маховика при выполнении промежуточного кольца из пластика. На фиг.2 представлен продольный разрез составного маховика при использовании в качестве замыкающего элемента клея. На фиг.3 изображен продольный разрез составного маховика при конструкции промежуточного кольца, представляющего собой стальное пружинное кольцо с прорезями. На фиг.4 представлен разрез составного маховика в объемной проекции (до заполнения клеем).
Составной маховик (фиг.1) собран из отдельных маховиков 1 и двух щек 2 по торцам составного маховика. Каждый маховик 1 и каждая щека 2 представляют из себя диск, по форме выполненный в виде так называемого диска равной прочности (такими выполняют, например, турбинные диски) – формы диска, выдерживающего наибольшие частоты вращения. По периферии маховика 1 и щек 2 расположены ободья 3, по ширине превышающие максимальную толщину диска равной прочности. Каждая из щек 2 с наружного торца выполнена с выступом 4, к которому крепится, например, сваркой или другим известным способом, цапфа 5.
Обод 3 щеки 2 с наружного торца снабжен цилиндрической посадочной поверхностью 6, в которую посажена крышка 7 в виде диска, установленная также на выступе 4 и цапфе 5 и закрепленная там любым известным способом. Крышка 7 закрывает фасонную поверхность центрального диска щеки 2 и дорожку качения 8, выполненную на наружном торце щеки 2, а также тела качения 9, например, шарики, помещенные на дорожке качения 8 для автоматической балансировки (уравновешивания) составного маховика. Крышка 7, таким образом, удерживает тела качения 9 от выпадания, а заодно уменьшает аэродинамические сопротивления при вращении составного маховика.
Маховики 1, расположенные между щеками 2, отцентрированы друг с другом и со щеками 2 посадкой в осевом направлении торцов упомянутых деталей на посадочные цилиндрические поверхности 10. Для крепления маховиков 1 и щек 2 друг другу в осевом направлении, сопряженные торцы упомянутых деталей выполнены с замковыми буртами 11 и с упорами 12. С внутренней стороны в замковые бурты 11 на торцах ободьев 3 входят замковые бурты 13 промежуточных колец 14. Замковые бурты, как 11, так и 13, могут быть выполнены с посадочными фасками, соответственно, 15 и 16, для обеспечения осевой посадки сопряженных ободьев 3, а промежуточные кольца 14 снабжены также упорами 17, для ограничения осевого хода колец 14 относительно ободьев 3 при сборке составного маховика путем осевой напрессовки сопрягаемых деталей друг на друга. Замковые бурты 11 могут быть выполнены с радиальными продольными прорезями 18 для уменьшения окружных напряжений в буртах 11 при вращении составного маховика (фиг.4).
Промежуточные кольца 14 могут быть изготовлены из различных материалов. При изготовлении их из материалов с малым модулем упругости, например пластиков и композитов, эти кольца могут быть изготовлены цельными (см. фиг.1).
Относительное удлинение пластиков достигает 5% и более, что позволяет, например, при диаметре кольца 14, равном 500 мм, выполнить замковый бурт высотой более 6 мм, что вполне достаточно для кинематического замыкания соединяемых деталей. При толщине кольца 15 мм и диаметре 500 мм, и пределе прочности пластика на разрыв 100 МПа, кольцо выдержит осевое усилие свыше 75 тонн, что вполне достаточно для фиксации отдельных маховиков 1 в осевом направлении.
Кольца 14 могут представлять собой также затвердевший клей горячего или холодного отверждения, например, на основе эпоксидных смол. Такой клей помещается в полость между соединяемыми маховиками 1 или маховиками 1 и щеками 2, а после напрессовки друг на друга соединяемых деталей, составной маховик приводится во вращение с небольшой частотой вращения до отверждения клея. После этого затвердевший клей образует промежуточное кольцо 14 из пластика достаточной толщины и прочности, кинематически замыкающее соединяемые детали (см. фиг.2). В этом случае необходимость в упорах 12 и 17 отпадает, хотя они и могут быть сохранены для унифицирования деталей, а радиальные продольные прорези 18 в замковых буртах 11 дополнительно увеличивают прочность промежуточного кольца.
При изготовлении кольца 14 из стали с осевыми несквозными прорезями 18 в стенке кольца (см. фиг.3), оно приобретает свойства пружины, жесткой в осевом направлении и податливой в окружном и радиальном направлении. Такое кольцо может вставляться между напрессовываемыми друг на друга маховиками 1 или маховиками 1 и щеками 2 и под давлением упоров 12 на упоры 17 оно, сжимаясь с помощью посадочных фланцев 15 и 16, проходит своими замковыми буртами 13 через бурты 11 и защелкивается за ними, фиксируя соединение детали в осевом направлении. В этом случае осевое усилие, которое выдержит такое кольцо, достигает сотен тонн. Будучи пружинным, кольцо 14 создает достаточное давление на бурты 11, для рассматриваемого случая около 10 кН, чтобы за счет трения передать крутящий момент около 250 Нм, что при частоте вращения 10000 мин-1 обеспечит передачу около 250 кВт мощности.
Работа устройства состоит в том, что в раскрученном составном маховике маховики 1 и щеки 2 напрессованы друг на друга по посадочным поверхностям 10, лишаются возможности радиального перемещения друг относительно друга, что делает составной маховик отцентрированным относительно оси вращения.
Промежуточные кольца 14, податливые в окружном и радиальном направлении, при вращении составного маховика на опорах, посаженных на цапфах 5, прижимаются с существенными силами к ободьям 3 изнутри и благодаря замковым буртам 11 и 13 кинематически замыкают соединение детали 1 и 2, а также благодаря прижиму, а в случае кольца 14 из клея и адгезии его к соединяемым деталям 3, обеспечивают передачу крутящего момента между щеками 2 и маховиком 1. Раскрутка составного маховика и отбор от него мощности производится через одну или обе цапфы 5, путем соединения их с тем или иным приводом вращения.
Изобретение позволяет создавать маховики достаточной длины при лимитированной толщине дисков равной прочности у составляющих маховиков при надежных соединении и центровке, а также балансировке и снижении аэродинамических потерь составного маховика.
Формула изобретения
1. Составной маховик, включающий пакет составляющих маховиков в виде дисков равной прочности с ободьями, ширина которых превышает толщину диска, и промежуточными кольцами, соединяющими ободья соседних дисков друг с другом, а также две щеки с выполненными на них цапфами, с примыкающими к ним ободьями крайних дисков по их внутренним кольцевым поверхностям, отличающийся тем, что промежуточные кольца содержат по их краям замковые бурты, кинематически замыкающие соединяемые соседние ободья за замковые бурты, выполненные на их торцах, а сами эти ободья выполнены с центрирующими посадочными поверхностями на их сопряженных торцах.
2. Составной маховик по п.1, отличающийся тем, что промежуточные кольца выполнены в виде прорезных пружин с осевыми несквозными прорезями в кольце.
3. Составной маховик по п.1, отличающийся тем, что промежуточные кольца выполнены из пластиков, в том числе и отвердевшего клея.
4. Составной маховик по п.1, отличающийся тем, что промежуточные кольца выполнены с посадочными фасками по краям.
5. Составной маховик по п.1, отличающийся тем, что промежуточные кольца и ободья выполнены с кольцевыми упорами, центрирующими эти кольца в осевом положении.
6. Составной маховик по п.1, отличающийся тем, что центрирующие посадочные поверхности маховиков выполнены по сопрягающимся внутренним и внешним цилиндрическим поверхностям на соседних ободьях.
7. Составной маховик по п.1, отличающийся тем, что замковые бурты на ободьях выполнены с радиальными продольными прорезями.
8. Составной маховик по п.1, отличающийся тем, что каждая из щек выполнена в виде диска равной прочности с центральным цилиндрическим выступом на наружном его торце и несимметричным ободом, внутренний торец которого выполнен в виде ответной части для его крепления к ободу примыкающего маховика, а наружный торец выполнен с кольцевой поверхностью для балансировки, расположенной на внутренней части обода.
9. Составной маховик по п.9, отличающийся тем, что кольцевая поверхность для балансировки выполнена в виде дорожки качения с расположенными там телами качения.
10. Составной маховик по п.9, отличающийся тем, что каждая из щек содержит крышку, размещенную на наружном торце щеки, и установленную в посадочной поверхности в ободе щеки и закрепленную от перемещений в осевом направлении.
РИСУНКИ
|
|