|
|
(21), (22) Заявка: 2007111243/11, 27.03.2007
(24) Дата начала отсчета срока действия патента:
27.03.2007
(43) Дата публикации заявки: 10.10.2008
(46) Опубликовано: 20.01.2010
(56) Список документов, цитированных в отчете о поиске:
RU 2225544 С2, 10.03.2004. SU 1275167 А2, 07.12.1986. US 3610377 A, 05.10.1971. DE 2332219 A1, 23.01.1975. US 2911075 A, 03.11.1959. SU 1280233 А2, 30.12.1986.
Адрес для переписки:
76019, Украина, Ивано-Франковск, ул. Карпатская, 15, Ивано-Франковский национальный технический университет нефти и газа, патентно-лицензионный отдел
|
(72) Автор(ы):
Вольченко Александр Иванович (UA), Крыжановский Евстахий Иванович (UA), Вольченко Николай Александрович (RU), Вольченко Дмитрий Александрович (UA), Стебелецкий Мирон Михайлович (UA)
(73) Патентообладатель(и):
Ивано-Франковский национальный технический университет нефти и газа (UA)
|
(54) БАРАБАННО-КОЛОДОЧНЫЙ ТОРМОЗ С ОХЛАЖДЕНИЕМ ТИПА “ТЕПЛОВАЯ ТРУБА”
(57) Реферат:
Изобретение относится к области машиностроения, а именно к барабанно-колодочным тормозам грузоподъемных, дорожных и строительных машин. Барабанно-колодочный тормоз содержит тормозной барабан с охлаждающим устройством, тормозные колодки с фрикционными накладками, стяжные пружины колодок, тормозной диск и привод. Охлаждающее устройство выполнено в виде цилиндрических тепловых труб, установленных в сквозных отверстиях одинакового диаметра, расположенных с постоянным шагом по периметру в средней части обода тормозного барабана и перпендикулярно к поверхности трения. Со стороны рабочей поверхности обода барабана в тепловых трубах установлены заглушки. В средней части тепловых труб имеются сквозные клиноподобные отверстия прямоугольного сечения, в которые установлены клиноподобные пластины, являющиеся дополнительными поверхностями теплообмена, соприкасающимися своими внутренними торцами с нерабочей поверхностью обода тормозного барабана. На наружной поверхности клиноподобных пластин между корпусами тепловых труб выполнены проточки, в которые установлено прижимное пружинное кольцо. Достигается снижение теплонагруженности фрикционных узлов тормоза в процессе торможения и тормозных барабанов между торможениями, а также повышение ресурса их пар трения. 2 ил.
Изобретение относится к области машиностроения и может быть использовано в грузоподъемных, дорожных и строительных машинах.
Известен самоохлаждающийся тормозной барабан, в ободе которого выполнена полость, снабженная выпускными и впускными клапанами, которые снаружи обода тормозного барабана соединены между собой трубопроводами. Последние в системе охлаждения выполняют роль зоны конденсации [1, аналог]. Система охлаждения является сложной в эксплуатации, так как должна быть тщательно герметизирована. При этом существенно увеличивается строительный объем тормозного барабана из-за выполнения в его ободе полости.
Известно устройство для выравнивания теплонагруженности барабанно-колодочного тормоза, содержащее тормозной барабан, тормозные колодки с основаниями, фрикционные накладки и теплоотводящие вставки, прикрепленные к колодке с помощью полых винтов, выполненных в виде тепловых труб. При этом каждая теплоотводящая вставка первого ряда под полыми винтами является горячей зоной тепловой трубы и соединена поперечной теплопроводной пластиной с каждой теплоотводящей вставкой второго ряда, расположенного в средней части накладок, а каждый конец второго ряда полых винтов, т.е. холодные зоны тепловых труб соединены гибкими оребренными трубопроводами с концами третьего ряда полых винтов, находящихся со стороны нерабочей поверхности основания колодки и свободного края обода барабана [2, прототип]. Данную конструкцию устройства можно применить только для тормозных колодок, которые расположены в строительном объеме тормозного барабана, но не наружной поверхности его обода.
По сравнению с аналогом и прототипом предложенное техническое решение имеет следующие существенные отличительные признаки:
– достигается снижение поверхностных температур фрикционных узлов тормоза в процессе торможения, что позволяет поддерживать уровень ниже допустимой для материала фрикционных накладок, а также теплонагруженности тормозных барабанов в интервале времени между торможениями, как при движущемся транспортном средстве, так и в находящемся в состоянии покоя;
– достигается увеличение матовой поверхности теплообмена за счет применения клиноподобных пластин, что позволяет иметь равенство между отношением коэффициентов излучения матовых поверхностей к полированной и отношением поверхностей охлаждения (матовых) к нагреваемой (полированной) и тем самым обеспечивает квазиустановившееся тепловое состояние обода тормозного барабана;
– обеспечивается неодинаковый отвод теплоты тепловыми трубами из-за различного объема их полостей, т.е. больший со стороны фланца барабана, и меньший – со стороны его свободного края;
– достигается повышение прочности свободного края обода тормозного барабана за счет применения клиподобных пластин, прижатых к нерабочей поверхности его обода с помощью прижимного кольца;
– обеспечивается квазипостоянный уровень теплонагруженности фрикционных узлов тормоза в процессе торможения за счет эффекта «тепловой трубы».
Целью настоящего изобретения является снижение теплонагруженности фрикционных узлов тормоза в процессе торможения и тормозных барабанов между торможениями, а также повышение ресурса их пар трения.
Поставленная цель достигается тем, что в барабанно-колодочном тормозе охлаждающее устройство выполнено в виде цилиндрических тепловых труб, установленных в сквозных отверстиях одинакового диаметра, расположенных с постоянным шагом по периметру в средней части обода тормозного барабана и перпендикулярно к поверхности трения, и при этом со стороны рабочей поверхности обода барабана в тепловых трубах установлены заглушки, а в средней части тепловых труб имеются сквозные клиноподобные отверстия прямоугольного сечения, в которые установлены клиноподобные пластины, являющиеся дополнительными поверхностями теплообмена, соприкасающимися своими внутренними торцами с нерабочей поверхностью обода тормозного барабана, а на наружной поверхности клиноподобных пластин между корпусами тепловых труб выполнены проточки, в которые установлено прижимное пружинное кольцо.
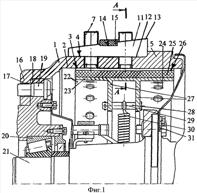
На фиг.1 представлен поперечный разрез барабанно-колодочного тормоза, а на фиг.2 – разрез по А-А охлаждающего узла с фрикционными элементами тормоза.
Барабанно-колодочный тормоз содержит тормозной барабан 1, имеющий обод 2 с рабочей 3 и нерабочей 4 поверхностями. На последней со стороны свободного края обода 2 выполнен прилив в виде подкрепляющего кольца 5. В средней части обода 2 тормозного барабана 1 выполнены сквозные отверстия 6 одинакового диаметра. Отверстия 6 расположены по периметру обода 2 с равномерным шагом и в них установлены цилиндрические трубы 7, торец которых с заглушкой 8 находится заподлицо рабочей поверхности 3 обода 2.
Полость 9 цилиндрической трубы 7 заполнена жидкостью, например, 25%-ным раствором аммиака, имеющего высокую скрытую теплоту парообразования. Объемы полости 8 и цилиндрических труб 7 вакуумированы, что позволяет использовать эффект «тепловой трубы» для охлаждения фрикционных узлов тормоза. В средней части тепловых труб 7 имеются сквозные клиноподобные отверстия 10 прямоугольного сечения, в которые установлены клиноподобные пластины 11, являющиеся дополнительными поверхностями теплообмена. Кроме того, больший торец (по высоте) клиноподобной пластины 11 упирается в выступ подкрепляющего кольца 5 обода 2. При этом клиноподобные пластины 11 своими внутренними торцевыми поверхностями 12 (по длине) соприкасаются с нерабочей поверхностью 4 обода 2 барабана 1. На наружной поверхности 13 клиноподобных пластин 11 между тепловыми трубами 7 выполнены проточки 14, в которые установлено прижимное пружинное кольцо 15.
С противоположной стороны обод 2 барабана 1 сопряжен с фланцем 16, в котором выполнены отверстия 17. С помощью последних тормозной барабан 1 прикреплен к фланцу 16 ступицы 18 посредством болтов 19. В свою очередь, фланец 16 ступицы 18 снизу через роликовый подшипник 20 опирается на полуось 21 заднего моста.
Внутри тормозного барабана 1 установлены тормозные колодки 22, к основаниям 23 которых прикреплены с помощью заклепок 24 фрикционные накладки 25, имеющие рабочую поверхность 26.
С нерабочей стороны основания 23 колодок 22 размещены их ребра жесткости 27, которые между собой соединены пальцем 28 с проточкой 29. В последнюю посажена оттяжная цилиндрическая пружина 30. Со свободного края обода 2 тормозного барабана 1 установлен направляющий диск 31.
Барабанно-колодочный тормоз с охлаждением типа «тепловая труба» работает следующим образом. Разгоняют транспортное средство до заданной скорости и выполняют его торможение. В процессе торможения барабанно-колодочным тормозом разжимной кулак (не показан) разводит тормозные колодки 22 с фрикционными накладками 25, которые взаимодействуют своими рабочими поверхностями 26 с рабочими поверхностями 3 ободов 2 тормозных барабанов 1. При этом на поверхностях трения тормоза генерируется некоторое количество теплоты, которое в дальнейшем отводится от нерабочей поверхности 4 обода 2 барабана 1 конвекцией и лучеиспусканием.
Незначительная часть теплоты отводится кондуктивным теплообменом от фланца 16 барабана 1 к ступице 18 заднего моста транспортного средства.
Особенностью работы охлаждающих устройств в барабанно-колодочном тормозе в процессах притормаживания и полного торможения является следующее. Часть поверхности тепловой трубы 7, которая находится в ободе 2 тормозного барабана 1, является ее зоной испарения (а). Остальная часть поверхности тепловой трубы 7, т.е. выступающая над нерабочей поверхностью 3 обода 2 является зоной конденсации (б). Для интенсификации теплообмена в тепловых трубах 7 зона конденсации (б) снабжена дополнительными поверхностями теплообмена, которые имеют клиноподобные пластины 11 и пружинное кольцо 15. Кроме того, необходимо отметить, что сопряжение внутренней поверхности 12 клиноподобной пластины 11 с нерабочей поверхностью 4 обода 2 позволяет интенсифицировать кондуктивный вид теплообмена от тормозного барабана 1. При расчетах соотношение поверхностей охлаждения (матовых) к нагреваемой (полированной) тормозного барабана 1 должно быть равно отношению коэффициентов излучения матовой поверхности к полированной для обеспечения квазиустановившегося теплового состояния его обода 2. Так для заднего тормозного барабана транспортного средства КрАЗ-256Б, изготовленного из чугуна, отношение указанных поверхностей составляет , а коэффициентов излучения . Поэтому все поверхности клинопопобных пластин 11 должны быть матовыми и иметь общую площадь, равную 0,143 м2, что обеспечит отношение .
В процессах притормаживания и полного торможения транспортного средства тормозной барабан 1 вращается. Симметрично расположенные тепловые трубы 7 будут находиться сверху и снизу обода 2 барабана 1.
При этом в тех тепловых трубах 7, которые будут расположены сверху обода 2 барабана 1, жидкость будет находиться в их зоне испарения (а) и частично разбрызгиваться в зону конденсации (б) за счет действия центробежных сил. В тех тепловых трубах 7, которые будут расположены снизу обода 2 барабана 1, жидкость будет находиться в их зоне конденсации (б) и частично разбрызгиваться в зону испарения (а) за счет действия центробежных сил. В зонах испарения (а) тепловых труб 7 жидкость превращается в пар, а в зонах конденсации (б) конденсируется. Таким образом, циркуляция жидкости в полости 9 тепловых труб 7 и будет способствовать интенсивному отводу теплоты от пар трения барабанно-колодочного тормоза. Кроме того, теплота отводится от наружных поверхностей тепловых труб 7 конвективным, радиационным и кондуктивным теплообменом.
После завершения торможения транспортным средством водитель снимает нагрузку с тормозной педали и с помощью оттяжной цилиндрической пружины 30, концы которой сидят в проточках 29 пальцев 28, и отводятся тормозные колодки 22 с накладками 25 от рабочей поверхности 3 тормозного барабана 1. После завершения торможения транспортного средства процессы охлаждения тормозных барабанов 1 продолжаются, но только не с такой интенсивностью как раньше.
Применение предложенного технического решения позволяет снизить теплонагруженность пар трения барабанно-колодочного тормоза, повысить эффективность их действия и увеличить ресурс фрикционных элементов.
Источники информации
1. А.с. 690210 (СССР), кл2. F16D 65833, 1979, Б.Н. 17 (аналог)
2. Патент на изобретение 2225544 (Россия), МПК F16D 51/50, 2004, Б.И. 7 (прототип).
Формула изобретения
Барабанно-колодочный тормоз с охлаждением типа «тепловая труба», содержащий тормозной барабан с охлаждающим устройством, тормозные колодки с фрикционными накладками, стяжные пружины колодок, тормозной диск и привод, отличающийся тем, что охлаждающее устройство выполнено в виде цилиндрических тепловых труб, установленных в сквозных отверстиях одинакового диаметра, расположенных с постоянным шагом по периметру в средней части обода тормозного барабана и перпендикулярно к поверхности трения и при этом со стороны рабочей поверхности обода барабана в тепловых трубах установлены заглушки, а в средней части тепловых труб имеются сквозные клиноподобные отверстия прямоугольного сечения, в которые установлены клиноподобные пластины, являющиеся дополнительными поверхностями теплообмена, соприкасающимися своими внутренними торцами с нерабочей поверхностью обода тормозного барабана, а на наружной поверхности клиноподобных пластин между корпусами тепловых труб выполнены проточки, в которые установлено прижимное пружинное кольцо.
РИСУНКИ
|
|