|
(21), (22) Заявка: 2008125734/06, 24.06.2008
(24) Дата начала отсчета срока действия патента:
24.06.2008
(46) Опубликовано: 20.01.2010
(56) Список документов, цитированных в отчете о поиске:
RU 2013615 C1, 30.05.1994. RU 2096640 C1, 20.11.1997. RU 2148218 C1, 27.04.2000. EP 0309267 A1, 23.03.1989. US 4238925 A, 16.12.1980. EP 0282321 A2, 14.09.1988.
Адрес для переписки:
443112, г.Самара, ул. Крайняя, 18-17, Н.Б. Болотину
|
(72) Автор(ы):
Болотин Николай Борисович (RU)
(73) Патентообладатель(и):
Болотин Николай Борисович (RU)
|
(54) ГАЗОТУРБИННАЯ УСТАНОВКА
(57) Реферат:
Газотурбинная установка содержит компрессор, соединенный с приводом, содержащим, в свою очередь, первый и второй контуры, внешний и внутренний валы с вентилятором, установленным на внутреннем валу, и компрессор, установленный на внешнем валу, турбины высокого и низкого давления с системой охлаждения, основную камеру сгорания между компрессором и турбиной высокого давления. Газотурбинная установка также содержит внешнюю камеру сгорания, установленные за турбиной высокого давления дополнительный компрессор и теплообменник-подогреватель, соединенный трубопроводами циркуляции теплоносителя с теплообменником, установленным за внешней камерой сгорания. Изобретение направлено на повышение КПД и надежности двигателя. 2 з.п. ф-лы, 4 ил.
Изобретение относится к двигателестроению, в том числе к мощным стационарным газотурбинным двигателям ГТД, предназначенным преимущественно для газоперекачивающих агрегатов, и может найти применение для пиковых энергетических установок в качестве привода для электрогенератора, предназначенного для выработки электроэнергии.
Известна силовая установка по патенту РФ на изобретение 2137617. Эта установка имеет жидкостную систему охлаждения и вентилятор для создания потока охлаждающего воздуха.
Известна силовая установка по патенту РФ 212418, которая содержит газотурбинный двигатель, газовый тракт, соединяющий этот газотурбинный двигатель с силовой турбиной, и обводной канал, который соединяет газовый тракт между турбинами и перед свободной турбиной.
Недостатком этой силовой установки является плохие характеристики его запуска, конкретно большое время запуска. Это связано с тем, что газодинамическое сопротивление свободной турбины имеет значительную величину и мощности стартера для одновременной раскрутки нескольких газотурбинных двигателей и свободной турбины, с которой отбирается мощность на трансмиссию.
Известна энергетическая газотурбинная транспортируемая силовая установка по пат. РФ 2189477, прототип, которая содержит модули газогенератора с компрессором, основной камерой сгорания и турбиной газотурбинного привода, и систему выхлопа, соединенные между собой.
Недостатки: низкая мощность при небольших габаритах установки, повышенный расход топлива и низкая надежность установки из-за высокого уровня температуры перед турбиной. Большая мощность легко может быть достигнута при больших габаритах установки, но это затрудняет ее транспортировку в отдаленные районы.
Задачи создания изобретения: повышение мощности, КПД и надежности установки.
Решение указанной задачи достигнуто в газотурбинной установке, содержащей компрессор, соединенный с приводом, содержащим, в свою очередь, первый и второй контуры, внешний и внутренний валы с вентилятором, установленным на внутреннем валу, и компрессор, установленный на внешнем валу, турбины высокого и низкого давления с системой охлаждения, основную камеру сгорания между компрессором и турбиной высокого давления, тем, что она содержит внешнюю камеру сгорания, установленные за турбиной высокого давления дополнительный компрессор и теплообменник-подогреватель, соединенный трубопроводами циркуляции теплоносителя с теплообменником, установленным за внешней камерой сгорания. Во втором контуре может быть установлен охлаждающий теплообменник, вход которого соединен с выходом из компрессора, а выход – с системой охлаждения турбин. Внешняя камера сгорания может быть подсоединена к газовой магистрали через клапан и регулятор, а основная камера сгорания – через клапан, дожимной компрессор и регулятор (дожимной компрессор на фиг.1 4 не показан).
Сущность изобретения поясняется чертежами, где
на фиг.1 приведен первый вариант двигателя,
на фиг.2 – второй вариант двигателя,
на фиг.3 приведена система охлаждения турбины,
на фиг.4 приведен разрез А-А.
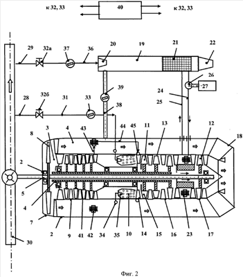
Предложенное техническое решение (фиг.1) содержит газовый компрессор 1 и привод 2. Привод 2 выполнен на базе газотурбинного двигателя и содержит два контура: первый 3 и второй 4, соответственно два вала: внутренний 5 и наружный 6, т.е. привод 2 выполнен двухконтурным по двухвальной схеме. Кроме того, привод 2 содержит воздухозаборник 7, вентилятор 8, компрессор 9, основную камеру сгорания 10 и турбины высокого давления 11 и турбину низкого давления 12. Каждая из турбин 11 и 12 может иметь или по одной, или несколько ступеней. В дальнейшем рассмотрен пример с одноступенчатыми турбинами. За турбиной высокого и низкого давления 11 установлены дополнительный компрессор 13 и теплообменник-подогреватель 23. Турбина высокого давления 11 содержит первый сопловой аппарат турбины 14 и первое рабочее колесо турбины 15, а турбина низкого давления 12 – второй сопловой аппарат турбины 16 и второе рабочее колесо турбины 17. Первое рабочее колесо турбины 15 установлено на наружном валу 6, а второе рабочее колесо турбины 17 – на внутреннем валу 5. На выходе из обоих контуров 3 и 4 выполнено реактивное сопло 18.
Вне привода 2 установлена внешняя камера сгорания 19 с форсунками 20 и теплообменником 21 на выходе и выхлопным устройством 22 после теплообменника 21.
Теплообменник 21 соединен трубопроводами рециркуляции теплоносителя: соответственно подводящим 24 и отводящим 25 с теплообменником-подогревателем 23. В подводящем трубопроводе рециркуляции теплоносителя 24 установлен насос теплоносителя 26 с приводом 27, а отводящий трубопровод рециркуляции теплоносителя 25 соединяет теплообменник-подогреватель 23 с теплообменником 21 для отвода теплоносителя. В качестве теплоносителя предпочтительно использовать жидкий натрий.
Газотурбинная установка содержит две системы топливоподачи 28 и 29 для подачи топлива (природного газа) в основную камеру сгорания 10 и во внешнюю камеру сгорания 19. Обе системы топливоподачи подключены к газовой магистрали 30. Основная система топливоподачи 28 содержит основной топливопровод 31, подключенный к газовой магистрали 30, и содержит клапан 32а и регулятор 33, а ее выход соединен с кольцевым коллектором 34, кольцевой коллектор 34 соединен с форсунками 35 основной камеры сгорания 10.
Дополнительная система топливоподачи 29 содержит дополнительный топливопровод 36 с клапаном 32б, регулятором 37, который соединен с форсунками 20. К внешней камере сгорания 19 подсоединен воздушный трубопровод 38 с регулятором расхода воздуха 39. Установка имеет блок управления 40, соединенный электрическими связями с клапаном 32 и регуляторами 33, 37 и 39.
Компрессор 9 содержит ротор компрессора 41 с внешним валом 6. На внешнем валу 6 установлено также первое рабочее колесо турбины 15.
Во втором контуре 4 (фиг.2) может быть установлен охлаждающий теплообменник 42, вход которого соединен трубопроводом отбора воздуха 43 с выходом компрессора 9, а выход – трубопроводом подачи 44 – с системой охлаждения 45 турбины 11 (или турбин 11 и 12).
Система охлаждения 45 турбины 11 (фиг.3 и 4) содержит коллектор 46, установленный над первым сопловым аппаратом 14, и систему охлаждения турбины высокого давления, содержащую, в свою очередь, диафрагму 47, связанную через первый сопловой аппарат 14 с корпусом двигателя 48, дефлектор 49, установленный на диске турбины 50 и уплотнения 51. Система охлаждения турбин 45 теплоизолирована от теплообменника-подогревателя 23 теплоизоляционной перегородкой 52. Первый сопловой аппарат 14 и первое рабочее колесо турбины 15 имеют пустотелые охлаждаемые лопатки. Между внутренним валом 5 и теплоизоляционной перегородкой 52 образован кольцевой канал Б для прохода охлаждающего воздуха от турбины высокого давления 14 к турбине низкого давления 13. Аналогично системе охлаждения турбины высокого давления 12 выполнена система охлаждения турбины низкого давления 13 (фиг.3 и 4).
Теплообменники-подогреватели 23 закреплены на теплоизоляционной перегородке 52, внутри которой выполнен коллектор теплоносителя 53, для раздачи теплоносителя (жидкого натрия) по элементам 54 теплообменника-подогревателя 23 (фиг.3 и 4). К коллектору теплоносителя 53 подстыкован подводящий трубопровод циркуляции теплоносителя 24.
При работе ГТД осуществляют его запуск стартером (стартер на фиг.1 4 не показан). При этом раскручивают только один ротор из двух. Одновременно по команде с блока управления 40 открывают клапан 32 и топливо подается в основную камеру сгорания 10 к форсункам 35, где оно воспламеняется при помощи электрозапальника (на фиг.1 4 не показано) и в форсунки 20 внешней камеры сгорания 19.
В результате продукты сгорания проходят через рабочие колесо турбины 15 и 17 и раскручивают их, а также внешний вал 6 и внутренний вал 5. Тепло, снимаемое в теплообменнике 21 при помощи теплоносителя, подаваемого по подводящему трубопроводу рециркуляции теплоносителя 24, прогревает теплообменник-подогреватель 23, которые подогревают, в свою очередь, продукты сгорания за первой турбиной высокого давления 12, что позволяет повысить мощность и КПД установки в целом.
Применение изобретения позволило следующее.
1. Улучшить запуск и приемистость привода установки на переходных режимах за счет применения дешевого топлива (природного газа) и тепловой энергии, вырабатываемой во внешней камере сгорания одновременно.
2. Повысить надежность двигателя
– за счет того, что при отказе одной топливной системы она может длительное время работать в режиме 50% от номинального,
– за счет применения эффективной системы охлаждения турбин и охлаждающего теплообменника.
3. Повысить КПД установки за счет
– более рациональной компоновки привода,
– дополнительного подвода тепла при высоком давлении, созданным дополнительным компрессором.
4. Улучшить надежность установки за счет уменьшения числа ступеней турбины до одной ступени и распределения большей части нагрузки на вторую и последующие ступени турбины, при их наличии.
5. Создать благоприятные условия для работы вентилятора компрессора, согласовав их оптимальные расчетные угловые скорости вращения вентилятора. Применение двухвальной схемы двигателя для привода позволит развязать механически рабочие колеса и роторы турбин и компрессоров.
6. Обеспечить оптимальную работу двигателя привода на переходных режимах.
7. Значительно уменьшить удельный расход топлива при эксплуатации установки.
8. Облегчить условия работы вентилятора за счет его нежесткой связи с валом компрессора и возможности их взаимного проскальзывания и рассогласования оборотов ротора компрессора и ротора вентилятора.
9. Облегчить запуск и останов привода установки за счет применения двухвальной схемы.
10. Уменьшить вес и габариты, и общий вес установки за счет компактности.
11. Снизить стоимость установки за счет отказа от дорогостоящих материалов, используемых при изготовлении турбины, и решить проблему охлаждения турбины, во-первых, снизив температуру перед ней, во-вторых, направив весь охлаждающий воздух на охлаждение только одной или двух ступеней турбины, вместо 4-х 5-ти ступеней, применяемых ранее на мощных газотурбинных двигателях.
Формула изобретения
1. Газотурбинная установка, содержащая компрессор, соединенный с приводом, содержащим, в свою очередь, первый и второй контуры, внешний и внутренний валы с вентилятором, установленным на внутреннем валу, и компрессор, установленный на внешнем валу, турбины высокого и низкого давления с системой охлаждения, основную камеру сгорания между компрессором и турбиной высокого давления, отличающаяся тем, что она содержит внешнюю камеру сгорания, установленные за турбиной высокого давления дополнительный компрессор и теплообменник-подогреватель, соединенный трубопроводами циркуляции теплоносителя с теплообменником, установленным за внешней камерой сгорания.
2. Газотурбинная установка по п.1, отличающаяся тем, что во втором контуре установлен охлаждающий теплообменник, вход которого соединен с выходом из компрессора, а выход – с системой охлаждения турбин.
3. Газотурбинная установка по п.1 или 2, отличающаяся тем, что внешняя камера сгорания подсоединена к газовой магистрали через клапан и регулятор, а основная камера сгорания – через клапан, дожимной компрессор и регулятор.
РИСУНКИ
|