|
|
(21), (22) Заявка: 2008100252/03, 15.01.2008
(24) Дата начала отсчета срока действия патента:
15.01.2008
(43) Дата публикации заявки: 20.07.2009
(46) Опубликовано: 20.01.2010
(56) Список документов, цитированных в отчете о поиске:
SU 1305351 A1, 23.04.1987. SU 1159941 A, 07.06.1985. RU 2147994 C1, 27.04.2000. SU 535940 A, 25.11.1976.
Адрес для переписки:
170026, г.Тверь, наб. А. Никитина, 22, ТГТУ, отдел ОАПиЗИ, Е.Н. Ратовой
|
(72) Автор(ы):
Суворов Владимир Иванович (RU), Соловьев Николай Леонидович (RU), Шахматов Кирилл Леонидович (RU)
(73) Патентообладатель(и):
Общество с ограниченной ответственностью “Эко-ТОП” (RU)
|
(54) МАТРИЦА ДЛЯ ФОРМОВАНИЯ
(57) Реферат:
Изобретение относится к формованию сухих и вязкопластичных материалов. Матрица для формования содержит корпус, который, согласно изобретению, выполнен разъемным. Разъемный корпус содержит наружную и внутреннюю части, расположенные соосно с возможностью свободного перемещения в осевом направлении относительно друг друга и образующие кольцевую щель. Две части корпуса соединены между собой винтами, при этом между головками винтов и наружным корпусом установлены пружины, которые перекрывают кольцевую щель при отсутствии давления раствора в системе подачи связующей добавки. Технический результат заключается в облегчении формования как влажных, так и сухих материалов за счет снижения трения. 1 з.п. ф-лы, 1 ил.
Изобретение относится к формованию вязкопластичных материалов и может быть использовано при формовании продукции из сухих дисперсных материалов.
Известны матрицы для брикетирования дисперсных материалов при низкой влажности 10-15%, состоящие из держателей и установленных в них направляющих и боковых планок, образующих матричный канал, в котором происходит прессование, также известны мундштуки для получения формованной продукции методом экструзии из вязкопластичных материалов, представляющие собой трубу цилиндрического или иного сечения, закрепленную на выходном окне шнекового пресса, через которую продавливается формуемая масса (Справочник по торфу. М. Недра, 1982, с.511-512, с.402).
Недостатком известных решений является невозможность вводить добавки в процессе формования материала, что приводит к повышению затрат энергии на брикетирование и снижению качества продукции.
Наиболее близким по технической сущности и достигаемому эффекту является мундштук (матрица) для формования торфа (SU 1305351, кл. Е21С49/00, C10F 7/04, 1987 г.) содержащий насадку и камеру, на стенке которой выполнены отверстия. Во входной части мундштука размещена эластичная вставка, установленная с возможностью перекрытия отверстий в стенке камеры. При этом внутренний диаметр эластичной вставки равен внутреннему диаметру насадки. Данное устройство позволяет вводить добавку на поверхность формуемого материала в процессе формования.
Недостатком предлагаемой конструкции является невозможность использования ее для брикетирования материалов низкой влажности из-за высокого противодавления, возникающего в мундштуке, и блокировки кольцевой проточки эластичной вставкой, что препятствует поступлению добавки на поверхность мундштука и снижает качество продукции.
Задачей изобретения является повышение качества формуемой продукции.
Технический результат – облегчение формования как влажных, так и сухих материалов за счет снижения трения.
Поставленная задача и поставленный технический результат достигаются тем, что в матрице для формования, прикрепленной к прессу и содержащей корпус, согласно изобретению корпус выполнен разъемным и включает наружную и внутреннюю части, расположенные соосно и установленные с возможностью свободного перемещения в осевом направлении относительно друг друга, при этом между наружной и внутренней частями образована кольцевая щель, две части корпуса соединены между собой винтами, а между головками винтов и наружным корпусом установлены пружины, которые перекрывают кольцевую щель при отсутствии давления раствора в системе подачи связующей добавки. Матрицу к прессу прикрепляют при помощи переходной втулки.
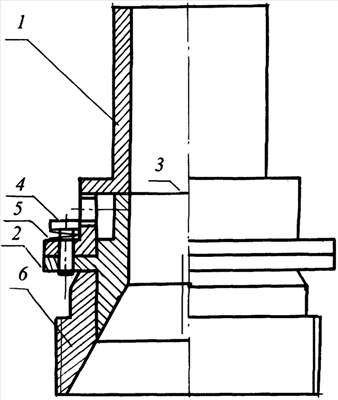
Изобретение поясняется чертежом, где изображена матрица для формования в разрезе.
Корпус включает наружную 1 и внутреннюю 2 части, расположенные соосно относительно друг друга и с возможностью свободного перемещения в осевом направлении относительно друг друга за счет свободной посадки. Между наружной 1 и внутренней 2 частями корпуса образована кольцевая щель 3. Две части корпуса 1 и 2 соединены между собой винтами 4, при этом между головками винтов 4 и наружным 1 корпусом установлены пружины 5, которые перекрывают кольцевую щель 3 при отсутствии давления раствора в системе подачи связующей добавки. Матрица к прессу крепится при помощи переходной втулки 6, которая соединена с внутренним корпусом 2 посредством резьбового соединения.
Матрица для формования работает следующим образом. Система подачи связующего (не показана) под давлением подает ее по трубопроводу через кольцевую щель 3 между корпусами 1 и 2. Далее связующее поступает в зону контакта прессуемого материала и внутренней поверхности корпуса 2, обеспечивая, таким образом, снижение трения на границе материалов за счет эффекта смазки связующим. При снижении давления в системе подачи связующего пружины 6 прижимают наружный корпус 1 к внутреннему корпусу 2 и происходит перекрытие кольцевой щели 3 между корпусами. Конструктивное решение матрицы для формования позволяет производить формование и прессование различных сыпучих (в том числе с пониженной влажностью, например опилки) и вязкопластичных материалов с одновременной подачей различных добавок на поверхность матрицы, повышая при этом качество готовой продукции.
В настоящее время разработан и испытан опытный образец матрицы для формования, готовится ее серийное производство.
Формула изобретения
1. Матрица для формования, прикрепленная к прессу и содержащая корпус, отличающаяся тем, что корпус матрицы выполнен разъемным и включает наружную и внутреннюю части, расположенные соосно и установленные с возможностью свободного перемещения в осевом направлении относительно друг друга, при этом между наружной и внутренней частями образована кольцевая щель, две части корпуса соединены между собой винтами, а между головками винтов и наружным корпусом установлены пружины, которые перекрывают кольцевую щель при отсутствии давления раствора в системе подачи связующей добавки.
2. Матрица по п.1, отличающаяся тем, что матрица к прессу прикреплена при помощи переходной втулки.
РИСУНКИ
|
|