|
|
(21), (22) Заявка: 2008140266/03, 09.10.2008
(24) Дата начала отсчета срока действия патента:
09.10.2008
(46) Опубликовано: 20.01.2010
(56) Список документов, цитированных в отчете о поиске:
RU 2129655 C1, 27.04.1999. RU 2057894 C1, 10.04.1996. RU 2069739 C1, 27.11.1996. RU 2069740 С1, 27.11.1996. RU 2070959 С1, 27.12.1996. RU 2172394 C1, 20.08.2001. RU 2211310 C1, 27.08.2003. US 2381929 А, 14.08.1945. US 4165784 A, 28.08.1979.
Адрес для переписки:
629809, Ямало-Ненецкий автономный округ, Тюменская обл., г. Ноябрьск, промышленная зона, панель 15, ОАО “Газпром-нефть-ННГГФ”, КТС
|
(72) Автор(ы):
Пасечник Михаил Петрович (RU), Ковалев Валерий Иванович (RU), Молчанов Евгений Петрович (RU), Коряков Анатолий Степанович (RU), Гаценко Пётр Васильевич (BY)
(73) Патентообладатель(и):
Открытое Акционерное Общество “Газпромнефть-Ноябрьскнефтегазгеофизика” (RU)
|
(54) ПРОКАЛЫВАТЕЛЬ
(57) Реферат:
Изобретение относится к нефтяной и газовой промышленности и может быть использовано для прокола отверстий в насосно-компрессорных и обсадных трубах. Технический результат – устранение заклинивания и невозвращения инструмента, а также устранение чрезмерного превышения давления рабочей жидкости в инструментальном цилиндре. Прокалыватель содержит корпус 1 с цилиндром 2 внутри и с окнами 3 в цилиндре 2, в котором расположены поршень 4 со срезными штифтами 5 и шток 6, входящий в отверстие 7, соединенное с полостью опоры 9 и инструмента 10, в котором расположено сливное отверстие 11, соединенное со сливной полостью 12, закрытой пробкой 13. Инструмент 10 закреплен в корпусе 1 соосно опоре 9 и ее полости 8. Угол заострения инструмента 10 выполнен больше угла трения материалов инструмента и прокалываемой трубы. В сливном отверстии 11 установлена пробка 14 со срезными штифтами 15, рассчитанными на срез давлением рабочей жидкости в полости опоры 8, превышающем необходимое для прокола трубы на 5-10 процентов. 1 ил.
Изобретение относится к нефтяной и газовой промышленности и может быть использовано для прокола отверстий в насосно-компрессорных и обсадных трубах.
Известные различные конструкции прокалывателей выполняют прокол острым инструментом, приводимым в действие силовым приводом или скважинным давлением (см. статью «Гидромониторная перфорационная система» в журнале «Нефть, газ и нефтехимия за рубежом». Переводное издание журнала США, 1991, 6, с.51-52. Патенты СССР 1446974, 2069740, 2129655; патент США 2381929).
Наиболее близким аналогом из известных конструкций является прокалыватель, содержащий корпус с цилиндром внутри с окнами в нем, в котором расположены поршень со срезными штифтами и шток, входящий в отверстие, соединенное со сливной полостью, закрытой пробкой (см. Перфоратор механический с пробойником ПМП-112. Техническое описание и инструкция по эксплуатации. ПМП 112.00.000ТО». Краснодар, НИИКРнефть, 1990 г.).
Недостатками прототипа являются:
– заклинивания инструментального поршня в цилиндре из-за возникающих при прокалывании перекосов инструмента и корпуса прокалывателя, что приводит к невозвращению поршня и инструмента и к поломкам инструмента;
– чрезмерное превышение давления рабочей жидкости в инструментальном цилиндре, приводящее к повреждению резиновых колец на инструментальном поршне с последующим его заклиниванием и поломкам инструмента на нем.
Задачей изобретения является устранение указанных недостатков.
Техническим результатом, достигаемым при использовании предложенного технического решения, является полное устранение заклинивания и невозвращения инструмента, а также устранение чрезмерного превышения давления рабочей жидкости в инструментальном цилиндре.
Указанный технический результат достигается тем, что в прокалывателе, содержащем корпус с цилиндром внутри и с окнами в цилиндре, в котором расположены поршень со срезными штифтами и шток, входящий в отверстие, соединенное с полостью опоры и инструмента, в котором расположено сливное отверстие, соединенное со сливной полостью, закрытой пробкой, согласно изобретению инструмент закреплен в корпусе соосно опоре и ее полости, угол заострения инструмента выполнен больше угла трения материалов инструмента и прокалываемой трубы, в сливном отверстии установлена пробка со срезными штифтами, рассчитанными на срез давлением рабочей жидкости в полости опоры, превышающем необходимое для прокола трубы на 5-10 процентов.
Закрепление инструмента в корпусе обеспечивает полное отсутствие заклинивания инструментального поршня в цилиндре, отсутствие взаимных перекосов инструмента, поршня и корпуса, отсутствие невозвращений поршня с инструментом и отсутствие поломок инструмента, что обусловлено отсутствием инструментального поршня и инструментального цилиндра. Инструмент закреплен жестко непосредственно на корпусе и перемещается вместе с ним без каких-либо перекосов или смещений относительно корпуса. Отсутствие подвижного инструментального поршня с установленным на нем инструментом сразу устраняет все проблемы перекосов, заклиниваний и поломок.
Закрепление инструмента соосно опоре и ее цилиндру обеспечивает отсутствие перекосов инструмента в процессе прокалывания трубы, а значит, отсутствие поломок инструмента во время работы.
То что угол заострения инструмента выполнен больше угла трения материалов инструмента и прокалываемой трубы, гарантирует отсутствие заклиниваний инструмента в проколотом им отверстии в стенке трубы.
Установка пробки со срезными штифтами в сливном отверстии обеспечивает устранение чрезмерного превышения давления рабочей жидкости в цилиндре опоры, приводящего к повреждению резиновых колец на опоре с последующим ее заклиниванием и поломкам инструмента из-за невозврата опоры. Указанное устранение чрезмерного давления обеспечивается тем, что при его достижении пробка срезает штифты, после чего давление сразу же падает, и повреждения резиновых колец не происходит.
То что срезание штифтов происходит при превышении рабочего давления, обеспечивающего прокол трубы, всего на 5-10 процентов, гарантирует, во-первых, надежный прокол трубы, а во-вторых, своевременное ограничение повышения давления и даже его устранение, что предотвращает повреждение уплотнительных резиновых колец на опоре и, следовательно, предотвращает вызванные этим аварии.
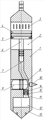
Прокалыватель показан на чертеже, где изображен его продольный разрез.
Прокалыватель содержит корпус 1 с цилиндром 2 внутри, с окнами 3 в цилиндре 2, в котором расположен поршень 4 со срезными штифтами 5 и шток 6, входящий в отверстие 7, соединенное с полостью 8 опоры 9 и инструмента 10, в которой расположено сливное отверстие 11, соединенное со сливной полостью 12, закрытой пробкой 13.
Инструмент 10 закреплен в корпусе 1 соосно опоре 9 и ее полости 8. Угол заострения инструмента 10 выполнен больше угла трения материалов инструмента 10 и прокалываемой трубы. В сливном отверстии 11 установлена пробка 14 со срезными штифтами 15, рассчитанными на срез давлением рабочей жидкости в полости 8 опоры 9, превышающем необходимое для прокола трубы на 5-10 процентов.
Прокалыватель работает следующим образом.
Подготовленный к работе перфоратор содержит штифты 5, диаметр которых рассчитан на срабатывание от расчетного давления скважинной жидкости в расчетной точке скважины.
Содержит перфоратор также срезные штифты 15, рассчитанные на срез давлением рабочей жидкости в полости 8, превышающем необходимое для прокола трубы на 5-10 процентов.
Опускают подготовленный к работе перфоратор в заданную точку скважины. Как только скважинное давление достигнет величины, обеспечивающей достаточное усилие на поршне 4, поршень 4 срезает штифты 5 и ударно воздействует на шток 6. Шток 6 повышает давление рабочей жидкости в отверстии 7 пропорционально отношению площади поршня 4 к поперечному сечению штока 6.
Как только давление рабочей жидкости в отверстии 7 и в связанной с ним полости 8 достигнет критического, инструмент 10, перемещающийся совместно с корпусом 1, скользящим своим цилиндром по цилиндрической поверхности опоры 9 проколет трубу. После прокола трубы корпус 1 упирается в стенку трубы, прекращая дальнейшее перемещение инструмента 10 в стенку трубы. Перекосов и заклиниваний инструмента 10 относительно корпуса 1 не происходит.
Так как взаимное перемещение корпуса 1 и опоры 9 прекращается, давление жидкости в отверстии 7 и в полости 8 снова начинает возрастать.
Как только давление жидкости на пробку 14 достигнет критического значения для среза штифтов 15, произойдет их срез и пробка 14 резко переместится по отверстию 11 в сливную полость 12 совместно с жидкостью над пробкой 14. Давление рабочей жидкости в отверстии 7 и в полости 8 резко падает, и повреждений уплотнительных колец на опоре 9 не происходит.
После падения давления рабочей жидкости в полости 8 скважинное давление перемещает опору 9 в исходное положение. Остатки рабочей жидкости перемещаются опорой 9 через открывшееся отверстие 11 в сливную полость 12.
После полного входа опоры 9 в полость 8 перфоратор готов к извлечению на поверхность. Инструмент 10 при этом свободно выходит из проколотого отверстия благодаря тому, что угол заострения инструмента превышает угол трения материала инструмента и трубы.
Формула изобретения
Прокалыватель, содержащий корпус с цилиндром внутри и с окнами в цилиндре, в котором расположен поршень со срезными штифтами и шток, входящий в отверстие, соединенное с полостью опоры и инструмента, в котором расположено сливное отверстие, соединенное со сливной полостью, закрытой пробкой, отличающийся тем, что инструмент закреплен в корпусе соосно опоре и ее полости, угол заострения инструмента выполнен больше угла трения материалов инструмента и прокалываемой трубы, в сливном отверстии установлена пробка со срезными штифтами, рассчитанными на срез давлением рабочей жидкости в полости опоры, превышающем необходимое для прокола трубы на 5-10%.
РИСУНКИ
|
|