|
|
(21), (22) Заявка: 2008137153/03, 16.09.2008
(24) Дата начала отсчета срока действия патента:
16.09.2008
(46) Опубликовано: 20.01.2010
(56) Список документов, цитированных в отчете о поиске:
US 3500908 А, 17.03.1970. SU 1469098 A1, 30.03.1989. SU 1583585 A1, 07.08.1990. SU 1645453 A1, 30.04.1991. RU 2055151 C1, 27.02.1996. US 4574888 A, 11.03.1986. US 4658901 A, 21.04.1987.
Адрес для переписки:
423236, Республика Татарстан, г. Бугульма, ул. М. Джалиля, 32, “ТатНИПИнефть”, сектор создания и развития пром. собственности
|
(72) Автор(ы):
Махмутов Ильгизар Хасимович (RU), Страхов Дмитрий Витальевич (RU), Зиятдинов Радик Зяузятович (RU), Асадуллин Марат Фагимович (RU), Оснос Владимир Борисович (RU)
(73) Патентообладатель(и):
Открытое акционерное общество “Татнефть” им. В.Д. Шашина (RU)
|
(54) УСТЬЕВОЕ УСТРОЙСТВО ДЛЯ ОСВОБОЖДЕНИЯ КОЛОННЫ ТРУБ ИЗ СКВАЖИНЫ
(57) Реферат:
Изобретение относится к нефтегазодобывающей промышленности, в частности к устьевым устройствам для освобождения аварийной колонны труб, прихваченной в скважине. Техническим результатом является простота конструкции и повышение эффективности извлечения из скважины прихваченной колонны труб за счет увеличения усилия, направленного вверх. Устьевое устройство для освобождения колонны труб из скважины включает демпфер, установленный между подъемником и генератором вертикальных импульсов. При этом демпфер выполнен в виде вертикального герметичного цилиндра с поршнем, внутренняя полость которого заполнена газом, а генератор вертикальных импульсов выполнен в виде нескольких соединенных между собой гидроцилиндров, внутри которых размещены соединенные между собой поршни со штоками. Причем штоки выполнены полыми и гидравлически сообщают подпоршневые полости гидроцилиндров между собой. Подпоршневая полость одного из гидроцилиндров выполнена с возможностью сообщения с насосом, снабженным буферной емкостью, через распределитель, состоящий из двухкамерного цилиндрического корпуса, камеры которого сообщаются между собой каналом, и вращающейся от привода перегородкой, оснащенной вырезом, который периодически сообщается с указанным каналом. 1 з.п. ф-лы, 2 ил.
Изобретение относится к нефтегазодобывающей промышленности, в частности к устьевым устройствам для освобождения аварийной колонны труб, прихваченной в скважине.
Известна устьевая установка генерации и передачи акустической энергии для освобождения прихваченной колонны труб в буровой скважине (US 4429743, Е21В 37/08; Е21В 41/00, опубл. 07.02.1974 г.), включающая орбитальный массовый генератор, предназначенный для генерации акустической энергии с резонатором, соединенный на устье с колонной труб, подъемник и демпфер, установленный между генератором и подъемником и выполненный в виде поршневого вертикального амортизатора, заполненного жидкостью или газожидкостной смесью.
Недостатками данной устьевой установки являются:
– во-первых, сложность конструкции, обусловленная большим количеством узлов и деталей;
– во-вторых, высокая стоимость изготовления и металлоемкость (орбитальный массовый генератор предназначен для генерации акустической энергии с резонатором).
Наиболее близким по технической сущности является устьевое устройство для освобождения колонны труб из скважины (патент US 3500908, Е21В 37/08; Е21В 41/00, опубл. 07.02.1974 г.), включающее демпфер, установленный между подъемником и генератором вертикальных импульсов, который снизу соединен с колонной труб, причем демпфер выполнен в виде верхней и нижней горизонтальных пластин с вертикальными телескопически вставленными друг в друга цилиндром и штоком, между упорами которых установлены пружины, а генератор вертикальных импульсов выполнен в виде установленных в корпусе пар соединенных вертикальных зубчатых колес со смещенным центром тяжести, подобранных так, что при вращении зубчатых колес их суммарный импульс был направлен по оси колонны труб.
Недостатками данной устьевой установки являются:
во-первых, сложность конструкции, обусловленная большим количеством узлов и деталей;
во-вторых, высокая точность изготовления зубчатых колес, напрямую влияющая на дороговизну устройства в изготовлении, в обратном случае может произойти заклинивание зубчатых колес в процессе работы;
в-третьих, усилие по оси колонны, создаваемое на прихваченную колонну труб, равнозначно по усилию вверх и вниз, что снижает эффективность извлечения прихваченной колонны труб из скважины.
Задачей изобретения является упрощение конструкции устройства, снижение стоимости его изготовления, снижение металлоемкости, а также увеличение усилий, направленных вниз.
Поставленная задача решается устьевым устройством для освобождения колонны труб из скважины, включающим демпфер, установленный между подъемником и генератором вертикальных импульсов, который снизу соединен с колонной труб.
Новым является то, что демпфер выполнен в виде вертикального герметичного цилиндра с поршнем, внутренняя полость которого заполнена газом, а генератор вертикальных импульсов соединен с демпфером и выполнен в виде нескольких соединенных между собой гидроцилиндров, внутри которых размещены соединенные между собой поршни со штоками, причем все штоки, кроме нижнего штока, который заглушен снизу и соединен с верхним концом колонны труб, выполнены полыми и гидравлически сообщают подпоршневые полости гидроцилиндров между собой, а подпоршневая полость одного из гидроцилиндров выполнена с возможностью сообщения с насосом, снабженным буферной емкостью, через распределитель, состоящий из двухкамерного цилиндрического корпуса, и с вращающейся от привода перегородкой, оснащенной вырезом, при этом первая камера сообщена со второй камерой каналом, с выходом насоса и подпоршневой полостью одного из гидроцилиндров, а вторая – в буферной емкостью насоса, причем перегородка выполнена с возможностью герметичного перекрытия канала цилиндрического корпуса и периодического при вращении сообщения ее выреза с этим каналом.
Новым также является то, что величина выреза перегородки по окружности подбирается в зависимости от необходимого вибрационного воздействия, так как она обратно пропорциональна величине суммарного объема подпоршневых полостей гидроцилиндров генератора вертикальных импульсов
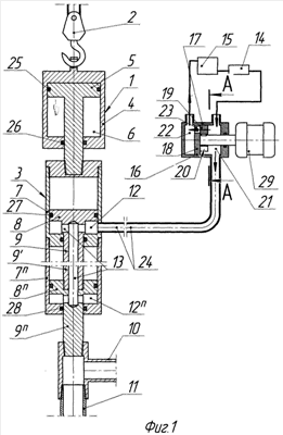
На фиг.1 изображено предлагаемое устьевое устройство для освобождения колонны труб из скважины в продольном разрезе.
На фиг.2 изображено сечение А-А распределителя.
Устьевое устройство для освобождения колонны труб из скважины (не показано) включает демпфер 1 (см. фиг.1), установленный между подъемником 2 (условно показан крюкоблок) и генератором вертикальных импульсов 3.
Демпфер 1 выполнен в виде вертикального герметичного цилиндра 4 с герметично вставленным в него поршнем 5, внутренняя полость 6 которого заполнена газом (например, азотом под давлением 30,0 МПа).
Генератор вертикальных импульсов 3 выполнен в виде нескольких соединенных между собой гидроцилиндров 7 7n (например, из пяти соединенных между собой гидроцилиндров), внутри которых размещены соединенные между собой поршни 8 8n со штоками 9; 9′ 9n, причем все штоки, кроме нижнего штока 9n, который заглушен снизу и посредством тройника 10 соединен с верхним концом прихваченной колонны труб 11, выполнены полыми и гидравлически сообщают подпоршневые полости 12 12n гидроцилиндров 7 7n между собой посредством каналов 13. Сверху генератор вертикальных импульсов соединен с демпфером 1, а подпоршневая полость 12 одного из гидроцилиндров, например 7, выполнена с возможностью сообщения с насосом 14.
Насос 14 соединен буферной емкостью 15 через распределитель 16, состоящий из двухкамерного цилиндрического корпуса 17 со стенкой 18 и с вращающейся от привода перегородкой 19 (см. фиг.1 и 2), оснащенной вырезом 20. Первая камера 21 сообщена со второй камерой 22 каналом 23, выполненным в стенке 18, с выходом насоса 14 и подпоршневой полостью 12 гидроцилиндра 7 посредством гидравлической линии 24. Вторая камера 22 распределителя 16 сообщена с буферной емкостью 15 насоса 14. Перегородка 19 выполнена с возможностью герметичного перекрытия канала цилиндрического корпуса 17 распределителя 16 и периодического при вращении сообщения ее выреза 20 с каналом 23.
Величина (геометрические размеры) выреза 20 перегородки 19 по окружности подбирается в зависимости от необходимого вибрационного воздействия, так как она обратно пропорциональна величине суммарного объема подпоршневых полостей 12 12n гидроцилиндров 7 7n генератора вертикальных импульсов 3.
Несанкционированные перетоки жидкости исключаются уплотнительными элементами 25, 26, 27, 28.
Устьевое устройство для освобождения колонны труб из скважины работает следующим образом.
Устройство собирают на устье скважины, как показано на фигуре, после чего с помощью подъемника 2 (см. фиг.1) производят натяжку устройства и соответственно прихваченной в скважине колоны труб 11.
Распределитель 16 приводится в действие с помощью двигателя 29 (любой известной конструкции), который передает вращательное движение через вал 30 и шпонку 31 перегородке 19, имеющей вырез 20 (см. фиг.1 и 2). Приводят в действие насос 14, который может быть любой известной конструкции.
В процессе вращения перегородки 19 происходит нагнетание рабочей жидкости (например, технической воды) насосом 14 в распределитель 16 (см. фиг.1), при этом в момент, когда перегородка 19 герметичного перекрывает канал 23 цилиндрического корпуса 17 распределителя 16, первая камера 21 распределителя 16 гидравлически сообщается с выходом насоса 14 и подпоршневой полостью 12 гидроцилиндра 7 посредством гидравлической линии 24. В результате поток рабочей жидкости под действием давления нагнетания насоса 14 через первую камеру 21 распределителя 16 устремляется по гидравлической линии 24 в подпоршневую полость 12 гидроцилиндра 7, откуда по каналам 13 рабочая жидкость перетекает в подпоршневые полости 12′ 12n других гидроцилиндров 7′ 7n.
В результате поршни 8 8n со штоками 9; 9′ 9n под действием гидравлического давления, создаваемого насосом 14 в подпоршневых полостях 12 12n гидроцилиндров 7 7n, перемещаются вверх, вытягивая за собой прихваченную колонну труб 11 относительно перемещающихся вниз гидроцилиндров 7 7n генератора вертикальных импульсов 3, при этом во внутренней полости 6 демпфера 1 происходит сжатие газа поршнем 5, герметично вставленным в цилиндр 4, и происходит гашение ударного усилия, направленного вниз, воспринимаемого подъемником 2.
Движение поршней 8 8n со штоками 9; 9′ 9n вверх и, соответственно, вытягивание прихваченной колонны труб 11 происходит до тех пор, пока перегородка 19 своим вырезом 20 (см. фиг.2) не сообщится со второй камерой 22 посредством канала 23, при этом вторая камера 22 распределителя 16 (см. фиг.2) сообщится с буферной емкостью 15 насоса 14, при этом рабочая жидкость под давлением, создаваемым насосом 14, будет переткать через распределитель 16 и сбрасываться в буферную емкость 15.
В результате давление в подпоршневых полостях 12 12n гидроцилиндров 7 7n падает, и за счет веса прихваченной колонны труб 11 поршни 8 8n со штоками 9; 9′ 9n перемещаются вниз относительно перемещающихся вверх гидроцилиндров 7 7n генератора вертикальных импульсов 3, при этом происходит соударение нижнего торца 32 поршня 8 в нижний торец гидроцилиндра 7, который передает вверх ударное усилие на поршни 8 8n гидроцилиндров 7 7n, а поскольку снизу нижний шток 9n посредством тройника 10 жестко соединен с верхним концом прихваченной колонны труб 11, то происходит резкий рывок (удар, направленный вверх) прихваченной колонны труб 11, при этом в генераторе вертикальных импульсов 3 поршень 5 под действием давления газа во внутренней полости 6 демпфера 1 возвращается в исходное положение (см. фиг.1) и происходит гашение ударного усилия направленного вверх, воспринимаемого подъемником 2.
Демпфер 1 служит для гашения знакопеременной нагрузки, передающейся в процессе работы предлагаемого устройства на подъемник 2.
Таким образом, происходит один цикл работы устьевого устройства для освобождения колонны труб из скважины.
В дальнейшем цикл повторяется, как описано выше, и количество ударов, направленных вниз (рывков прихваченной колонны труб 11), соответствует количеству оборотов перегородки 19, приводимой в движение двигателем 29 посредством вала 30 и шпонки 31 (см. фиг.2).
При необходимости в любой момент в процессе освобождения при наличии циркуляции можно произвести промывку прихваченной колонны труб 11 через тройник 10.
Предлагаемое устьевое устройство для освобождения колонны труб из скважины имеет простую конструкцию и сравнительно с прототипом дешево в изготовлении и имеет меньшую металлоемкость, при этом конструкция устройства позволяет значительно увеличить усилия, направленные вверх по оси колонны труб, что повышает эффективность извлечения из скважины прихваченной колонны труб.
Формула изобретения
1. Устьевое устройство для освобождения колонны труб из скважины, включающее демпфер, установленный между подъемником и генератором вертикальных импульсов, который снизу соединен с колонной труб, отличающееся тем, что демпфер выполнен в виде вертикального герметичного цилиндра с поршнем, внутренняя полость которого заполнена газом, а генератор вертикальных импульсов соединен с демпфером и выполнен в виде нескольких соединенных между собой гидроцилиндров, внутри которых размещены соединенные между собой поршни со штоками, причем все штоки, кроме нижнего штока, который заглушен снизу и соединен с верхним концом колонны труб, выполнены полыми и гидравлически сообщают подпоршневые полости гидроцилиндров между собой, а подпоршневая полость одного из гидроцилиндров выполнена с возможностью сообщения с насосом, снабженным буферной емкостью, через распределитель, состоящий из двухкамерного цилиндрического корпуса и с вращающейся от привода перегородкой, оснащенной вырезом, при этом первая камера сообщена со второй камерой каналом, с выходом насоса и подпоршневой полостью одного из гидроцилиндров, а вторая – с буферной емкостью насоса, причем перегородка выполнена с возможностью герметичного перекрытия канала цилиндрического корпуса и периодического при вращении сообщения ее выреза с этим каналом.
2. Устьевое устройство для освобождения колонны труб из скважины по п.1, отличающееся тем, что величина выреза перегородки по окружности подбирается в зависимости от необходимого вибрационного воздействия, так как она обратно пропорциональна величине суммарного объема подпоршневых полостей гидроцилиндров генератора вертикальных импульсов.
РИСУНКИ
|
|