|
|
(21), (22) Заявка: 2007116952/03, 07.10.2005
(24) Дата начала отсчета срока действия патента:
07.10.2005
(30) Конвенционный приоритет:
08.10.2004 FR 0410657
(43) Дата публикации заявки: 20.11.2008
(46) Опубликовано: 20.01.2010
(56) Список документов, цитированных в отчете о поиске:
FR 2424459 A1, 23.11.1979. US 3765604 A, 16.10.1973. US 6257493 B1, 10.07.2001. RU 2154854 C2, 20.08.2000.
(85) Дата перевода заявки PCT на национальную фазу:
08.05.2007
(86) Заявка PCT:
FR 2005/002479 20051007
(87) Публикация PCT:
WO 2006/040456 20060420
Адрес для переписки:
129090, Москва, ул. Б.Спасская, 25, стр.3, ООО “Юридическая фирма Городисский и Партнеры”, пат.пов. А.В.Мицу
|
(72) Автор(ы):
МАС Кристиан (FR)
(73) Патентообладатель(и):
ВЕРНЕ (FR)
|
(54) КАРТРИДЖ ДЛЯ ВОДОСМЕСИТЕЛЬНОГО КРАНА, КРАН, СОДЕРЖАЩИЙ ДАННЫЙ КАРТРИДЖ, И ТЕРМОСТАТИЧЕСКИЙ БЛОК ДЛЯ ОСНАЩЕНИЯ ДАННОГО КАРТРИДЖА
(57) Реферат:
Изобретение относится к области санитарной техники. Картридж для водосмесительного крана включает два керамических диска регулировки температуры и расхода смеси двух жидкостей (F, С), входящих в картридж с различными температурами. Также он дополнительно содержит термостатические средства, выполненные с возможностью, по меньшей мере, автоматически перекрывать на входе дисков, когда температура смеси (М) превысит заданную пороговую величину (Td), по меньшей мере, частично, циркуляцию (Еc) в картридже наиболее горячей входящей жидкости (С). Причем указанные термостатические средства содержат: затвор прохода наиболее горячей жидкости (С), ограниченного картриджем на входе дисков, и термостатический элемент, включающий одновременно термочувствительную часть, расположенную, по меньшей мере, частично на пути потока смеси (М) в картридже и на выходе обоих дисков, и подвижную часть, выполненную с возможностью смещаться по отношению к термочувствительной части и перемещающуюся совместно с затвором. При этом затвор установлен с возможностью скольжения вдоль направления смещения (Z-Z) подвижной части, в зону картриджа, ограничивающую проход наиболее горячей жидкости (С), посредством уплотнения. Водосмесительный кран оснащен вышеописанным картриджем. Технический результат заключается в повышении безопасности при эксплуатации крана. 3 н. и 9 з.п. ф-лы, 7 ил.
Настоящее изобретение касается картриджа для водосмесительного крана и оснащенного таким картриджем водосмесительного крана, а также термостатического блока регулирования потока жидкости.
Изобретение относится, в частности, к картриджам крана, питаемым двумя жидкостями, имеющими различные соответствующие температуры и предназначенными для смешивания внутри картриджа посредством по меньшей мере двух керамических дисков, подвижных один по отношению к другому. Для изменения относительного расположения этих дисков и, соответственно, регулировки температуры и расхода смеси картриджи оснащены, как правило, органом управления, выполненным в виде рукоятки, более или менее наклонной по отношению к центральной продольной оси картриджа. Эта рукоятка предназначена для того, чтобы пользователь крана мог ею манипулировать, то есть вращением рукоятки вокруг продольной оси картриджа изменять температуру смешанной жидкости, а качанием рукоятки, остающейся в той же самой вертикальной плоскости, изменять расход смеси. Сложение этих двух движений позволяет изменять одновременно температуру и расход. Таким образом, соотношение двух смешиваемых жидкостей может изменяться от 100-0% до 0-100%, что приводит к тому, что температура смеси может изменяться от «полностью холодной» до «полностью горячей».
Такие краны используются обычно в установках бытовой водопроводной сети, в которых горячая вода подается при температуре, достигающей приблизительно 80°C, что может привести к ожогам.
Чтобы устранить это неудобство, было предложено предусмотреть ограничитель, позволяющий блокировать вращение рукоятки до полного перекрывания трубы подвода холодной воды, что позволяет ограничить температуру смешанной воды со стороны «горячая». Между тем, расположение этого ограничителя зависит от величин давления и температуры холодной воды и горячей воды, питающих картридж. Вследствие этого, когда, например, давление холодной воды падает или температура горячей воды увеличивается, температура смешанной воды увеличивается на несколько градусов и достигает величин, приводящих к ожогам. Кроме того, в случае полного отключения холодного водоснабжения вода на выходе из картриджа имеет температуру, равную температуре входящей горячей воды, что особенно опасно.
Наряду с этим известны термостатические картриджи с единственной регулировочной рукояткой, например, по патенту WO-A-96/26475. Они являются дорогостоящими и обладают большим размером, что делает их практически неприменимыми в водосмесительных кранах стандартного размера, которые обычно рассчитаны на использование картриджа диаметром 40 мм.
Другой пример термостатического картриджа представлен в патенте EP-A-1 048 997. Этот картридж включает перепускную трубу, соединяющую напрямую вход холодной воды с выходом смешанной воды, причем перекрывание этой трубы осуществляется термостатическим элементом, термочувствительная часть которого омывается потоком смешанной воды. Если температура смешанной воды слишком высока, холодная вода подается непосредственно на выход из картриджа через перепускную трубу. Между тем, в случае недостаточного водоснабжения холодной водой, а также в случае полного его прекращения опасность ожогов остается. Кроме того, размеры приспособлений, относящихся к перепускной трубе, делают затруднительным их встраивание внутри картриджей стандартного размера.
В другой области, а именно в области традиционной трубопроводной арматуры, другими словами там, где корпуса кранов не предусмотрены для использования взаимозаменяемых картриджей, в частности картриджей с керамическими дисками, в патент FR-A-2 424 459 предлагается водосмесительный кран, корпус которого включает термостатический элемент, термочувствительная часть которого омывается потоком смешанной воды, выходящей из крана, в то время как его поршень приводит в движение клапан отсечки потока входящей в кран горячей воды. Канал входа горячей воды снабжен для этой цели уплотнительным кольцом, на которое клапан опирается поршнем, следуя направлению своего перемещения, когда температура смешанной воды достигает заранее определенной величины. Если эта температура превышена, клапан воздействует на кольцо и перемещает его вдоль канала, сжимая специальную пружину, вставленную между кольцом и стенкой корпуса крана. Эта пружина позволяет вернуть кольцо в его первоначальное положение вдоль канала горячей воды, когда температура смешанной воды снижается. Эта пружина, которая выполняет таким образом функцию концевой пружины термостатического элемента и которая необходима для хорошей работы крана, занимает значительное место внутри корпуса крана и существенно увеличивает его габариты вдоль продольной оси термостатического элемента. Как следствие, корпус крана имеет продольный размер, существенно превышающий размер стандартных кранов, а также существенно превышающий в диаметре взаимозаменяемые картриджи, прямо приспособленные для использования в таких стандартных кранах.
Задача изобретения состоит в том, чтобы предложить картридж, который гарантирует лучшую безопасность против ожогов, не требуя сложных и громоздких переделок существующих картриджей, в частности, сохраняя устройство регулирования с двумя керамическими дисками, и позволяя соблюсти стандарт по размеру 40 мм для диаметра картриджа.
Для этого изобретение предлагает в качестве объекта картридж для водосмесительного крана, имеющий два керамических диска регулировки температуры и расхода смеси двух жидкостей, входящих в картридж с соответствующими различными температурами, отличающийся тем, что он дополнительно содержит термостатические средства, выполненные с возможностью по меньшей мере частичного автоматического перекрывания в момент, когда температура смеси превысит заранее определенную пороговую величину циркуляции в картридже наиболее горячей входящей жидкости выше дисков, причем указанные термостатические средства содержат:
– затвор прохода наиболее горячей жидкости, ограниченного картриджем выше дисков,
– термостатический элемент, включающий одновременно термочувствительную часть, расположенную, по меньшей мере частично, на пути прохода смеси в картридже и выше по течению обоих дисков, и подвижную часть, выполненную с возможностью смещаться по отношению к термочувствительной части и перемещающуюся совместно с затвором, при этом
затвор установлен с возможностью скольжения вдоль направления перемещения подвижной части, в зоне картриджа, ограничивающей проход наиболее горячей жидкости, посредством уплотнения, которое соединено либо с этой зоной, либо с затвором и которое в момент, когда температура смеси превосходит заранее определенную пороговую величину, может создавать герметичный скользящий контакт соответственно с затвором или с зоной.
Картридж согласно изобретению обеспечивает также функцию термостатического ограничения температуры смеси, выходящей из картриджа, что предупреждает таким образом опасность ожогов. Компоновка соответствующих термостатических средств не заставляет отказываться от использования большей части компонентов существующих картриджей, в особенности керамических регулировочных дисков, которые являются одновременно надежными и дорогостоящими компонентами, и единой рукоятки управления расходом и температурой смеси; этот тип «однокомандной рукоятки» особенно распространен и по достоинству оценен пользователями. Кроме того, благодаря уплотнению, которое позволяет одновременно герметично перекрыть проход наиболее горячей жидкости и обеспечить возможный дополнительный ход поршня термостатического элемента, размер этих термостатических средств может быть предусмотрен достаточно небольшим, чтобы картридж согласно изобретению смог быть установлен взамен и на место существующего картриджа и, в частности, картриджа с внешним диаметром порядка 40 мм.
Целесообразно, чтобы:
– уплотнение было выполнено из упруго деформируемого материала;
– уплотнение имело кольцевую форму, приспособленную для поддерживания герметичного скользящего контакта, когда температура смеси превышает температуру, соответствующую началу полного перекрытия циркуляции входящей наиболее горячей жидкости;
– затвор являлся трубчатым и, если уплотнение соединено с вышеупомянутой зоной, то уплотнение должно быть способно образовывать герметичный скользящий контакт на всей периферии внешней поверхности затвора, а в случае соединения уплотнения с затвором уплотнение должно располагаться на всей периферии внешней поверхности затвора;
– оба керамических диска примыкали друг к другу одной из своих поверхностей, и направление перемещения подвижной части термостатического элемента по отношению к термочувствительной части было почти параллельно плоскости примыкания дисков;
– термостатические средства включали в себя цоколь, поддерживающий термостатический элемент и затвор, ограничивающий, по меньшей мере частично, проход наиболее горячей жидкости и выполненный с возможностью монтажа съемным образом в корпус картриджа, в котором установлены керамические диски;
– зона была ограничена цоколем;
– цоколь ограничивал также проход, свободно пересекаемый наиболее холодной входящей жидкостью;
– максимальный размер цоколя, оснащенного термостатическим элементом и затвором, составлял менее 40 мм вдоль направления перемещения подвижной части термостатического элемента;
– термостатические средства включали в себя средство возврата подвижной части к термочувствительной части термостатического элемента, причем средство возврата должно опираться одновременно на стенку цоколя и на затвор.
Объектом изобретения является также водосмесительный кран, оснащенный картриджем, описанный выше.
Кроме того, объектом изобретения является термостатический блок регулирования потока жидкости, встраиваемый в картридж выше указанного водосмесительного крана, содержащий термостатический элемент, включающий термочувствительную часть и часть, подвижную по отношению к термочувствительной части, затвор, перемещающийся совместно с подвижной частью термостатического элемента, и цоколь, поддерживающий термостатический элемент и затвор и ограничивающий проход для потока жидкости вплоть до его перекрытия затвором, отличающийся тем, что цоколь выполнен с возможностью монтажа съемным образом в корпусе картриджа водосмесительного крана, в котором установлены по меньшей мере два керамических диска регулирования температуры и расхода смеси потока жидкости с другим потоком жидкости, температура которого ниже температуры потока жидкости, регулируемого термостатическим блоком, таким образом, что, с одной стороны, ограниченный цоколем проход жидкости выходит выше керамических дисков, а с другой стороны, термочувствительная часть термостатического элемента расположена, по меньшей мере частично, на пути потока смеси ниже по течению обоих дисков, затвор, закрывающий по меньшей мере частично, проход жидкости, когда температура смеси превышает заранее определенную пороговую величину, и установленный с возможностью скольжения вдоль направления перемещения подвижной части в зоне картриджа, ограничивающей проход жидкости посредством уплотнения, которое соединено либо с этой зоной, либо с затвором и которое при превышении температурой смеси определенной пороговой величины образует герметичный скользящий контакт, соответственно, с затвором или с зоной.
В дальнейшем изобретение поясняется описанием примера его осуществления, приводимого со ссылками на чертежи.
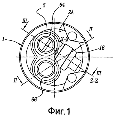
Фиг.1 изображает вид спереди торца картриджа водосмесительного крана согласно изобретению;
Фиг.2 и 3 – сечения, соответственно, по плоскостям II-II и III-III на фиг.1;
Фиг.4 – вид, аналогичный фиг.3, иллюстрирующий различные состояния функционирования картриджа;
Фиг.5 – взятый по отмеченной на фиг.2 стрелке V вид спереди термостатического блока регулирования согласно изобретению, оснащающего картридж по фиг.1-4;
Фиг.6 – вертикальный вид в разборе блока по фиг.5;
Фиг.7 – схематический продольный разрез согласно плоскости фиг.3 варианта блока регулирования по фиг.5 и 6.
На фиг.1-4 изображен картридж водосмесительного крана, предназначенный для оснащения кранов водоснабжения, в частности для бытового оборудования. Для удобства в описании термин «верхний» относится к верхней части фиг.2-4, в то время как термин «нижний» относится к противоположному направлению.
Картридж состоит из твердого тела 1, образовывающего корпус, имеющий, в целом, цилиндрическую внешнюю поверхность с осью X-X. Корпус включает нижнее основание 2, выше которого располагается трубчатая юбка 4, отцентрированная по оси X-X. Эта юбка определяет внутренний объем 6, ограниченный снизу основанием 2 и сверху крышкой 8, жестко соединенной с верхним краем юбки 4, например клипсами. Крышка 8 имеет центральное отверстие, внутри которого центрируется втулка 10, снабженная фланцем 10A, прижатым к нижней стороне крышки 8 таким образом, чтобы втулка 10 могла поворачиваться вокруг оси X-X по отношению к неподвижной крышке. Это вращение ограничено углом приблизительно в четверть оборота не представленной на фигуре системой ограничителей.
Рукоятка 12 крана для регулирования расхода и температуры воды, выдаваемой на выходе из картриджа и, следовательно, выдаваемой краном, размещена во втулке 10, а вал 14, имеющий продольную ось Y-Y, перпендикулярную оси X-X, связывает эти две детали. Рукоятка 12, таким образом, может качаться вокруг оси Y-Y по отношению к крышке 8 на угол, ограниченный приблизительно 25°, посредством не представленной на фигурах системы ограничителей.
Основание 2 корпуса 1 своим нижним концом ограничивает полость 2A в целом цилиндрической формы с осью X-X, в которую помещается термостатический блок 16, детально описанный ниже. Полость 2A сообщается с внутренним объемом 6 тремя сквозными отверстиями, ограниченными основанием 2, а именно:
– первым входным отверстием 2F, предусмотренным для снабжения объема 6 водой, называемой в дальнейшем «холодной водой F», поступающей из полости 2A и имеющей первую температуру,
– вторым входным отверстием 2C, предусмотренным для снабжения объема 6 водой, называемой в дальнейшем «горячей водой C», поступающей из полости 2A и имеющей вторую температуру, превышающую первую температуру,
– выходным отверстием 2M, предусмотренным для отвода из объема 6 к полости 2A воды, называемой в дальнейшем «смешанной водой M», имеющей температуру, регулируемую в диапазоне от первой до второй температуры.
Регулировка пользователем температуры и расхода смешанной воды M осуществляется внутри объема 6 посредством следующих элементов:
– нижнего керамического диска 20, отцентрированного по оси X-X и жестко соединенного с корпусом 1, например, посредством системы выступов; этот неподвижный диск включает сквозной проход холодной воды 20F, проход горячей воды 20C, а также проход смешанной воды 20M, причем эти три прохода сообщаются, соответственно, с отверстиями 2F, 2C и 2M основания 2 корпуса через посредство уплотнительной прокладки 22;
– верхнего керамического диска 24, подвижным образом прижатого к верхней поверхности нижнего диска 20, образуя с последним плоское опорное соединение, перпендикулярное оси X-X; противолежащие поверхности дисков 20 и 24, плотно прилегающие таким образом друг к другу в упомянутой плоскости P, способны обеспечивать герметичность между дисками, в том числе в ходе перемещений диска 24 по отношению к неподвижному диску 20; нижняя сторона диска 24 образует выше плоскости P полость 24A, которая, с одной стороны, находится в постоянной гидравлической связи с проходом смешанной воды 20M диска 20 и, с другой стороны, соединена или нет с проходами холодной воды 20F и горячей воды 20C в зависимости от относительного положения диска 24 по отношению к диску 20;
– приводного диска 28, прижатого, с одной стороны, к нижней стороне фланца 10A втулки 10 и, с другой стороны, к верхней стороне подвижного диска 24; приводной диск 28 связан также с помощью плоских опор, перпендикулярных оси X-X, с втулкой 10 и диском 24; диск 28 также связан с рукояткой 12 зубчатой системой 30, образующей поворотное соединение вдоль оси, параллельной оси Y-Y.
Пакет дисков 20, 24 и 28 удерживается уплотнительной прокладкой 22, которая создает достаточное усилие, чтобы прижимать эти диски к фланцу 10A втулки 10.
За исключением полости 2A в нижнем основании 2 корпуса 1 и термостатического блока 16 описанные выше устройства картриджа являются стандартными устройствами для картриджа с единственной рукояткой управления и с керамическими дисками. Указанные диски обеспечивают высокую герметичность на уровне плоскости их примыкания P; риск утечки между этими дисками является несущественным даже после длительного периода использования.
Согласно изобретению картридж согласно фиг.1-4 оснащен термостатическим блоком 16, представленным отдельно на фиг.5 и 6. Этот блок состоит главным образом из цоколя 32, изготовленного из пластмассы, например, аналогичной пластмассе корпуса 1, трубчатого клапана 34 и термостатического элемента 36, имеющего термочувствительную часть 38, которая содержит расширяющийся воск и поршень 40, который под воздействием расширения воска поступательно перемещается по отношению к части 38, следуя оси Z-Z, вокруг которой вытянут в длину термостатический элемент.
Цоколь 32 ограничивает в целом цилиндрический внутренний объем 42, внутрь которого через посредство кольцевого уплотнения 44 соосно вставлен термостатический элемент 36. Корпус термостатического элемента, который включает термочувствительную часть 38, зафиксирован по отношению к цоколю 32 с помощью гайки 46, закрученной вокруг термочувствительной части 38 через посредство уплотнительной прокладки 48 вдоль оси Z-Z. В собранном состоянии поршень 40 термостатического элемента расположен внутри внутреннего объема 42 цоколя 32, в то время как его термочувствительная часть 38 расположена в основном снаружи этого объема.
Со стороны, противоположной от термочувствительной части 38, следуя оси Z-Z, внутренний объем 42 цоколя 32 открывается наружу в радиальном направлении на уровне нижнего отверстия 32A и верхнего отверстия 32B, ограниченных цоколем 32.
Клапан 34 установлен с возможностью скольжения во внутреннем объеме 42 цоколя 32, следуя оси Z-Z. Для этой цели клапан снабжен на своем конце, обращенном к термостатическому элементу 36, фланцем 50, обеспечивающим скользящий и герметичный контакт по отношению к цилиндрической стенке цоколя, ограничивающей объем 42.
Поступательное перемещение клапана управляется поршнем 40 термостатического элемента 36. Для этой цели клапан 34 включает в своей промежуточной части поперечную внутреннюю перегородку 34A, опирающуюся на поршень 40, когда последний выдвинут по отношению к корпусу термостатического элемента 36, как показано на фиг.4, или напрямую опирающуюся на неподвижный корпус элемента, как показано на фиг.3, когда этот поршень полностью убран. Чтобы прижимать клапан 34 к термостатическому элементу 36 между клапаном и цоколем 32 со стороны перегородки 34A, противоположной клапану термостатического элемента, вставлена пружина сжатия 52. Эта пружина располагается предпочтительно вокруг оси Z-Z, причем один из ее концов опирается на перегородку 34A, в то время как ее противоположный конец опирается на стенку 54 цоколя 32, перпендикулярную оси Z-Z.
Отверстия 32A и 32B открываются в той части объема 42, которая герметизирована по отношению к термостатическому элементу 36 фланцем 50 и перегородкой 34A клапана 34. Эта часть объема 42 и отверстия 32A и 32B определяют таким образом проход жидкости 56, пересекающий цоколь 32, следуя направлению, в целом радиальному к оси Z-Z. Движение жидкости в этом проходе зависит также от положения клапана 34 по отношению к цоколю 32. Когда клапан опирается на корпус термостатического элемента 36, как показано на фиг.3, клапан радиально удален от зоны 42A соединения между внутренним объемом 42 и нижним отверстием 32A так, чтобы это отверстие 32A и объем 42 находились в гидравлической связи; при этом соответствующее осевое смещение обозначено как e. Так как объем 42 имеет постоянную гидравлическую связь с верхним отверстием 32B, проход 56 становится доступным для циркуляции. Напротив, когда клапан 34 сдвинут по направлению к стенке 54 цоколя на расстояние, превышающее e, как показано на фиг.4, зона соединения 42A перекрыта, и проход жидкости 56 прерван.
Чтобы минимизировать опасность утечки жидкости на уровне зоны соединения 42A, когда клапан сдвинут, как показано на фиг.4, эта зона снабжена уплотнительным кольцом 58, постоянно соединенным с цоколем 32. Это кольцо изготовлено из материала, допускающего упругую деформацию, и имеет внутренний диаметр, почти равный диаметру внешней цилиндрической части 34B клапана 34. Кольцо 58 поддерживает таким образом герметичный контакт по всей периферии клапана 34, когда последний достаточно сдвинут к стенке цоколя 54, а также, если клапан осуществляет поступательное движение и скользит вдоль кольца. Иначе говоря, когда клапан достаточно сдвинут к стенке 54, как на фиг.4, кольцо 58, неподвижное по отношению к цоколю 32, расположено между затвором и зоной 42A цоколя, следуя направлению, почти радиальному к оси Z-Z.
Цоколь 32 ограничивает, кроме того, второй проход жидкости 60, обособленный от прохода 56 и ориентированный по направлению, в целом параллельному направлению прохода 56.
Цоколь 32 выполнен с возможностью монтажа съемным образом в полость 2A, ограниченную основанием 2 корпуса 1 картриджа. Как показано на фиг.1-4, цоколь 32 прижат в этом случае ко дну полости 2A так, чтобы его верхнее отверстие 32B открывалось в отверстие входа горячей воды 2C основания 2 (фиг.3), в то время как верхнее отверстие 60B прохода 60 открывалось в отверстие входа холодной воды 2F (фиг.2). Что касается выходного отверстия смешанной воды 2M, то оно открывается по вертикали от гайки 46 и термочувствительной части 38 термостатического элемента. При такой схеме расположения цоколя 32 ось Z-Z распространяется перпендикулярно оси X-X картриджа, причем эти оси не пересекаются. Соединение прохода 56 с отверстием 2C и соединение прохода 60 с отверстием 2F герметизированы двойным уплотнением 62.
Картридж, оснащенный термостатическим блоком 16, предусмотрен для размещения в корпусе крана, в котором водоснабжение горячей водой C и холодной водой F связано, соответственно, с отверстием 32A и нижним отверстием 60A прохода 60 через посредство герметичных уплотнений 64 и 66, в то время как канал отвода смешанной воды M из крана находится в гидравлической связи с зоной выхода отверстия 2M в полость 2A через посредство герметичного уплотнения 68.
Картридж действует следующим образом:
При нормальной работе, представленной на фиг.2 и 3, то есть когда кран снабжается одновременно холодной водой F и горячей водой C, и притом, что рукоятка 12 занимает положение, обеспечивающее априори умеренную температуру смеси, холодная вода F поднимается в проход 60 цоколя 32, затем последовательно в отверстия 2F и 20F, чтобы оказаться в полости 24A верхнего диска 24. Параллельно горячая вода C поднимается в отверстие 32A цоколя 32, проникает в объем 42, огибая клапан 34, проходит через промежуток e, образованный между свободным концом клапана и уплотнительным кольцом 58, затем снова поднимается последовательно через верхнее отверстие 32B цоколя, через отверстие 2C корпуса 1 и через отверстие 20C диска 20, чтобы оказаться в полости 24A. Горячая вода C и холодная F смешиваются в полости 24A. Полученная в результате смешанная вода M снова спускается последовательно через отверстия 20M диска 20 и 2M корпуса 2, выводится из картриджа и направляется затем к выпуску крана, причем часть смешанной воды ниже по течению диска 20 проходит в этом случае вокруг термочувствительной части 38 термостатического элемента 36. Пути циркуляции холодной воды F, горячей воды C и смешанной воды M указаны, соответственно, стрелками EF, EС и EM.
Пока температура термочувствительной части 38 ниже заранее определенной пороговой величины Td, соответствующей температуре начала движения поршня 40 из неподвижной части термостатического элемента 36, вызванной расширением воска, содержащегося в этой неподвижной части, расход и температура смешанной воды M регулируются изменением пропускного сечения горячей воды C и холодной воды F между верхним 24 и нижним 20 дисками; указанные пропускные сечения являются сечениями, образованными при совмещении, соответственно, отверстия входа горячей воды 20C диска 20 с полостью смешивания 24A диска 24 и совмещении отверстия входа холодной воды 20F диска 20 с этой полостью смешивания. Эти сечения устанавливаются перемещением параллельно плоскости P верхнего диска 24 по нижнему диску 20 при помощи рукоятки 12, через посредство приводного диска 28. Расход смешанной воды M регулируется от закрытия до полного открытия качанием рукоятки 12 вокруг оси Y-Y, в то время как температура этой смешанной воды регулируется от полностью холодной до полностью горячей вращением рукоятки вокруг оси X-X.
Вследствие воздействия на рычаг управления 12 падения давления или температуры питающей кран холодной воды F и/или увеличения давления или температуры питающей кран горячей воды C, температура выходящей из картриджа смешанной воды M может превысить пороговую величину температуры Td. В этом случае воск, содержащийся в термочувствительной части 38, расширяется и перемещает поршень 40 вдоль оси Z-Z по отношению к корпусу термостатического элемента 36, увлекая клапан 34 в направлении уплотнительного кольца 58, уменьшая таким образом промежуток e и частично перекрывая циркуляцию горячей воды Eс в проходе 56. Если температура смешанной воды достигает значения температуры, называемой в дальнейшем Tf, передаваемое клапану 34 поршнем 40 поступательное движение становится таким, что этот клапан входит в соприкосновение с уплотнительным кольцом 58. Тогда движение горячей воды Eс вдоль прохода 56 полностью прерывается. Если температура смешанной воды M продолжает увеличиваться и превосходит температуру Tf, связанную с началом общего перекрывания циркуляции горячей воды Ec, поршень 40 продолжает перемещать клапан 34, который скользит внутри уплотнительного кольца 58, как представлено на фиг.4. Циркуляция горячей воды Ec остается полностью перекрытой.
Иначе говоря, когда температура выходящей из картриджа смешанной воды M имеет величину, заключенную между Td и Tf, термостатический блок 16 сокращает расход горячей воды C выше по течению дисков 20 и 24, приближая клапан 34 к уплотнительному кольцу 58 и заставляя, таким образом, падать температуру смешанной воды. Когда температура выходящей из картриджа смешанной воды M равна или выше пороговой величины Tf, термостатический блок 16 полностью перекрывает проход 56 горячей воды и горячая вода C не доходит до входного отверстия 2C корпуса 1; таким образом, выходящая из картриджа вода будет состоять в этом случае только из питающей картридж холодной воды F.
Когда поршень 40 выдвинут, падение температуры смешанной воды M, в известных случаях до температуры холодной воды F, вызывает отход поршня и возврат клапана в его первоначальное положение под воздействием пружины 52. Таким образом, когда температура смешанной воды M снова станет ниже пороговой величины Tf, клапан 34 выйдет из уплотнительного кольца 58, восстанавливая, по меньшей мере частично, циркуляцию Ec горячей воды C в проходе 56.
Термостатический блок 16 стабилизирует таким образом температуру смешанной воды M до величины, заключенной между Td и Tf, в случае, когда условия регулирования или скачки давления и/или температуры горячего водоснабжения или холодного водоснабжения допускали бы в отсутствие этого блока 16 увеличение температуры выше Tf. На практике значения Td и Tf могут быть относительно близкими.
К тому же в случае, если неожиданно происходит нарушение холодного водоснабжения F и если температура питающей картридж горячей воды C превосходит Tf, никакого поступления воды из картриджа не будет до тех пор, пока холодное водоснабжение не восстановится.
Таким образом, во всех рассмотренных на чертеже случаях температура смешанной воды M ограничена величиной температуры Tf, выбранной, чтобы избежать ожогов.
Использование уплотнительного кольца 58, которое обеспечивает одновременно герметичное закрытие прохода 56 и скольжение клапана 34 за пределы его выдвинутого положения, связанного с величиной температуры Tf, позволяет избежать применения в термостатическом блоке 16 сложных и более дорогостоящих систем, предназначенных для уменьшения дополнительного хода поршня 40 термостатического элемента 36. Как следствие этого, размер термостатического блока 16 имеет малую величину, что позволяет картриджу согласно изобретению быть встроенным в корпус крана, имеющего внутренний диаметр менее 40 мм. Иначе говоря, максимальный размер D блока 16 вдоль оси Z-Z меньше 40 мм.
На фиг.7 изображен вариант 16′ термостатического блока 16 по предыдущим чертежам. Согласно этому варианту герметичность между зоной соединения 42A цоколя 32 и внешней цилиндрической поверхностью 34B клапана 34 обеспечена уплотнительным кольцом 58′, которое, в отличие от кольца 58 по предыдущим фигурам, закреплено на поверхности 34B клапана 34. В процессе функционирования, когда клапан 34 сдвинут к стенке 54 цоколя 32, кольцо 58′ скользит к стенке цоколя, которая ограничивает зону соединения 42A.
Кроме того, возможны и другие различные изменения и варианты описанных выше картриджа и его термостатического блока. В частности, геометрия цоколя 32 может быть адаптированной к крану, в который должен быть установлен картридж, и/или к корпусу 1 картриджа, оснащаемого термостатическим блоком 16, 16′. К тому же в не представленном варианте цоколь 32 может быть выполнен из материала основания 2 корпуса 1.
Формула изобретения
1. Картридж для водосмесительного крана, включающий два керамических диска (20, 24) регулировки температуры и расхода смеси двух жидкостей (F, С), входящих в картридж с различными температурами, отличающийся тем, что он дополнительно содержит термостатические средства (16, 16′), выполненные с возможностью, по меньшей мере, автоматически перекрывать на входе дисков (20, 24), когда температура смеси (М) превысит заданную пороговую величину (Тd), по меньшей мере, частично, циркуляцию (Еc) в картридже наиболее горячей входящей жидкости (С), причем указанные термостатические средства содержат: затвор (34) прохода (56) наиболее горячей жидкости (С), ограниченного картриджем на входе дисков (20, 24), и термостатический элемент (36), включающий одновременно термочувствительную часть (38), расположенную, по меньшей мере, частично, на пути потока смеси (М) в картридже и на выходе обоих дисков (20, 24), и подвижную часть (40), выполненную с возможностью смещаться по отношению к термочувствительной части и перемещающуюся совместно с затвором, при этом затвор установлен с возможностью скольжения, вдоль направления смещения (Z-Z) подвижной части (40), в зону (42А) картриджа, ограничивающую проход (56) наиболее горячей жидкости (С), посредством уплотнения (58, 58′), которое жестко соединено либо с этой зоной, либо с затвором и которое, когда температура смеси (М) превосходит заданную пороговую величину (Тd), может создавать герметичный скользящий контакт соответственно с затвором или с зоной.
2. Картридж по п.1, отличающийся тем, что уплотнение (58, 58′) изготовлено из упруго деформируемого материала.
3. Картридж по одному из пп.1 или 2, отличающийся тем, что уплотнение (58, 58′) имеет кольцевую форму, приспособленную для поддерживания герметичного скользящего контакта, когда температура смеси (М) превышает температуру (Tf), связанную с началом общего перекрывания циркуляции (Еc) наиболее горячей входящей жидкости (С).
4. Картридж по п.1, отличающийся тем, что затвор (34) является трубчатым, причем если уплотнение (58) жестко соединено с упомянутой зоной (42А), то образуется герметичный скользящий контакт на всей периферии внешней поверхности (34В) затвора, причем если уплотнение (58′) жестко соединено с затвором, то оно проходит по всей периферии внешней поверхности (34В) затвора.
5. Картридж по п.1, отличающийся тем, что оба керамических диска (20, 24) примыкают друг к другу одной из своих поверхностей, и направление смещения подвижной части термостатического элемента по отношению к термочувствительной части, по существу, параллельно плоскости примыкания дисков.
6. Картридж по п.1, отличающийся тем, что термостатические средства (16, 16′) включают цоколь (32), удерживающий термостатический элемент (36) и затвор (34), ограничивающий, по меньшей мере, частично, проход (56) наиболее горячей жидкости (С), выполненный с возможностью разъемного монтажа в корпусе (1) картриджа, в котором установлены керамические диски (20, 24).
7. Картридж по п.6, отличающийся тем, что упомянутая зона (42А) ограничена цоколем (32).
8. Картридж по п.6, отличающийся тем, что цоколь (32) ограничивает проход (60), свободный для протекания входящей наиболее холодной жидкости (F).
9. Картридж по п.6, отличающийся тем, что вдоль направления смещения (Z-Z) подвижной части (40) термостатического элемента (36) максимальный размер (D) цоколя (32), оснащенного термостатическим элементом (36) и затвором (34), составляет менее 40 мм.
10. Картридж по п.6, отличающийся тем, что термостатические средства (16, 16′) включают в себя средство (52) возврата подвижной части (40) к термочувствительной части (38) термостатического элемента (36), причем это средство возврата опирается одновременно на стенку (54) цоколя (32) и на затвор (34).
11. Водосмесительный кран, отличающийся тем, что он оснащен картриджем по одному из пп.1-10.
12. Термостатический блок (16, 16′) регулирования потока жидкости (Еc), включающий термостатический элемент (36), термочувствительную часть (38) и подвижную часть (40), подвижную относительно термочувствительной части, затвор (34), перемещающийся совместно с подвижной частью (40) термостатического элемента (36), и цоколь (32), удерживающий термостатический элемент и затвор, ограничивающий проход (56) для течения жидкости (Еc), вплоть до состояния его полного перекрывания затвором (34), отличающийся тем, что цоколь (32) выполнен с возможностью разъемного монтажа в корпусе (1) картриджа водосмесительного крана, в котором установлены, по меньшей мере, два керамических диска (20, 24) регулировки температуры и расхода смеси (М) потока жидкости (Еc) с другим потоком жидкости (ЕF), температура которого ниже температуры потока жидкости, регулируемого термостатическим блоком таким образом, чтобы, с одной стороны, проход жидкости (56), ограниченный цоколем (32), открывался на входе керамических дисков, и, с другой стороны, термочувствительная часть (38) термостатического элемента (36) располагалась, по меньшей мере, частично, на пути движения смеси (М) на выходе обоих дисков, при этом затвор закрывает, по меньшей мере, частично, проход жидкости, когда температура смеси (М) превышает заданную пороговую величину (Тd), и установлен с возможностью скольжения вдоль направления смещения (Z-Z) подвижной части (40) в зоне (42А) картриджа, ограничивающей проход жидкости (56) посредством уплотнения (58; 58′), которое соединено либо с этой зоной, либо с затвором и которое, при превышении температурой смеси (М) заданной пороговой величины (Td), образует герметичный скользящий контакт соответственно с затвором или с зоной.
РИСУНКИ
|
|