|
|
(21), (22) Заявка: 2008139504/03, 06.10.2008
(24) Дата начала отсчета срока действия патента:
06.10.2008
(46) Опубликовано: 20.01.2010
(56) Список документов, цитированных в отчете о поиске:
RU 2278206 C1, 20.06.2006. SU 242750 A, 22.09.1969. RU 2037009 C1, 09.06.1995. SU 59471 A, 31.03.1941. US 3916628 A, 04.11.1975.
Адрес для переписки:
123317, Москва, 1-й Красногвардейский пр-д, 20, кв.43, Н.В. Селезневу
|
(72) Автор(ы):
Селезнев Николай Васильевич (RU)
(73) Патентообладатель(и):
Селезнев Николай Васильевич (RU)
|
(54) ПЛАВУЧИЙ ЗАТВОР
(57) Реферат:
Изобретение относится к гидротехническим сооружениям, перекрывающим судоходные пролеты плотин речных гидроузлов. Затвор представляет собой металлический понтон, опирающийся концами на бетонные устои, ограничивающие судоходный пролет. На понтоне установлен насос с трубами для подачи забортной воды в понтон и откачки из него обратно при регулировании уровней воды в реке. За пределами судоходного пролета сооружен пирс с закрепленной на нем лебедкой. На зиму и на время пропуска судов в паводок понтон отводится из судоходного пролета к пирсу путем поворота его на 90 градусов с помощью лебедки, а после паводка понтон, поворачиваясь на такой же угол течением реки, возвращается в судоходный пролет для регулирования уровней воды в реке. Изобретение позволяет уменьшить металлоемкость, сократить эксплуатационные расходы. 2 ил.
Изобретение относится к гидротехническим сооружениям и может быть использовано для перекрытия судоходных пролетов плотин речных гидроузлов.
Известен плавучий затвор, содержащий металлический понтон, опирающийся концами на устои, ограничивающие судоходной пролет плотины, имеющий горизонтальную перегородку и бортовые отверстия с клапанами для наполнения через них водой понтона и его опорожнения при регулировании уровней воды в реке (авторское свидетельство СССР 242750).
Необходимость иметь у понтона по всей его длине перегородку осложняет его изготовление и увеличивает его металлоемкость.
Известен плавучий затвор, содержащий металлический понтон без каких-либо перегородок и отверстий, к борту которого прикреплены металлические тавровые балки со вставленными между ними щитами, которые при регулировании уровней воды в реке опускаются вниз или поднимаются вверх с помощью домкратов, а понтон отводится от устоев с помощью катеров (патент РФ 2278206 – прототип).
В таком затворе на изготовление металлических балок и щитов расходуется много металла, а подъем и опускание щитов с помощью домкратов требует применения тяжелого физического труда. Отвод же понтона от устоев с помощью катеров (буксиров) в какое-то удаленное место занимает длительное время и требует для стоянки понтона устройства дорогостоящего причала, что существенно удорожает эксплуатацию затвора.
Задача изобретения – уменьшение металлоемкости затвора и сокращение эксплуатационных расходов. Эта задача решается тем, что для регулирования уровней воды в реке на понтоне установлен насос с трубами для подачи по ним забортной воды в понтон и откачки из него обратно, а за пределами судоходного пролета сооружен пирс с закрепленной на нем лебедкой, причем понтон имеет возможность поворота на 90 градусов при отводе его от судоходного пролета к пирсу с помощью лебедки и при возврате его течением реки обратно.
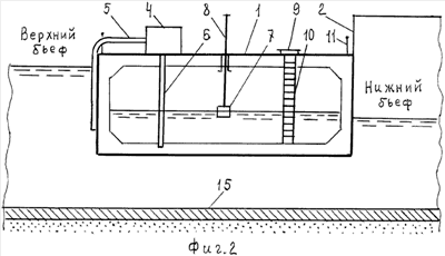
Затвор схематически изображен на фиг.1 – вид сверху и фиг.2 – разрез А-А по фиг.1.
Затвор содержит металлический понтон 1, опирающийся концами на бетонные устои 2 и 3, поверхности которых, соприкасающиеся с понтоном, облицованы металлом. На понтоне 1 установлен насос 4 с трубой 5, опущенной в забортную воду, и трубой 6, пропущенной внутрь понтона. Внутри понтона также расположен поплавок 7 со штоком 8, выведенным на поверхность понтона. Понтон имеет люк 9 с отходящей от него лестницей 10. По бортам понтона установлено леерное ограждение 11. За пределами судоходного пролета на расстоянии от него, примерно равном длине понтона, сооружен пирс 12, на котором закреплены лебедка 13 и швартовная тумба 14. Дно реки под понтоном укреплено бетонной плитой 15.
Затвор действует следующим образом. При закачке в понтон 1 забортной воды насосом 4 через трубы 5 и 6 понтон оседает вниз, а уровень воды в верхнем бьефе поднимается. При откачке же воды из понтона обратно за борт он поднимается вверх, а уровень воды в верхнем бьефе опускается. Насос 4 работает от электроэнергии, подаваемой от береговой сети. Уровень воды внутри понтона, где плавает поплавок 7, показывается на его штоке 8, имеющем сантиметровые деления. Подпор воды в верхнем бьефе увеличивает ее скорость течения под понтоном, но, благодаря бетонной плите 15, грунт под ней не размывается.
На зиму и время пропуска судов через судоходный пролет в паводок понтон, освобожденный насосом от внутренней воды, отводится из судоходного пролета к пирсу 12.
Для этого на конец понтона, находящийся у устоя 3, от лебедки 13 заводится длинный канат 16, а противоположный конец понтона связывается с устоем 2 коротким канатом 17. Затем канат 16 натягивается лебедкой 13. При этом понтон, удерживаемый у устоя 2 канатом 17, поворачивается на 90 градусов и прижимается к пирсу 12, после чего понтон швартуется к нему через тумбу 14, а канат 16 отсоединяется от понтона и наматывается на барабан лебедки. Отведенный таким образом понтон на фиг.1 показан штриховыми линиями.
После паводка, когда суша проходят через шлюз, понтон возвращается обратно в судоходный пролет следующим образом. Конец каната 16 от лебедки 13 подается на понтон 1 и прикрепляется к нему. Затем понтон отшвартовывается от тумбы 14, после чего между понтоном и пирсом заводится рычаг /жесткий металлический стержень/, с помощью которого понтон отжимается от пирса, в результате чего понтон захватывается течением реки и поворачивается им на 90 градусов вокруг его конца, связанного с устоем 2 коротким канатом 17. При этом канат 16 сматывается с барабана лебедки. При подходе к устою 3 движение понтона затормаживается натяжением лебедкой каната 16, что обеспечивает плавное примыкание понтона к устою 3. После возвращения таким образом понтона в судоходный пролет канат 16 отсоединяется от него и наматывается на барабан лебедки, а затвор, как и прежде, действует, регулируя уровни воды в реке.
Преимущество данного плавучего затвора перед прототипом заключается в следующем. Затвор обладает значительно меньшей металлоемкостью, поскольку в нем, кроме понтона, нет никаких металлоемких конструкций.
Регулирование уровней воды в реке путем заполнения понтона водой и его опорожнения с помощью насоса осуществляется легко и просто. Надо только переключать работу насоса на закачку воды в понтон и откачку ее обратно. Отвод понтона из судоходного пролета к пирсу и возвращение его обратно не занимает много времени и не требует больших эксплуатационных затрат.
Формула изобретения
Плавучий затвор, содержащий металлический понтон, опирающийся концами на бетонные устои, ограничивающие судоходный пролет плотины, отличающийся тем, что для регулирования уровней воды в реке на понтоне установлен насос с трубами для подачи по ним забортной воды в понтон и откачки из него обратно, а за пределами судоходного пролета сооружен пирс с закрепленной на нем лебедкой, причем понтон имеет возможность поворота на 90° при отводе его из судоходного пролета к пирсу с помощью лебедки и при возврате его течением реки обратно.
РИСУНКИ
|
|