|
(21), (22) Заявка: 2008123203/12, 08.03.2004
(24) Дата начала отсчета срока действия патента:
08.03.2004
(30) Конвенционный приоритет:
12.03.2003 GB 0305661.1
(46) Опубликовано: 20.01.2010
(56) Список документов, цитированных в отчете о поиске:
US 4526317 A, 02.07.1985. US 5197935 A, 30.03.1993. DE 597002 C1, 15.05.1934. US 4121756 A, 24.10.1978. SU 147975 A1, 01.01.1962.
(62) Номер и дата подачи первоначальной заявки, из которой данная заявка выделена: 2005131311 08.03.2004
Адрес для переписки:
101000, Москва, М.Златоустинский пер., 10, кв.15, “ЕВРОМАРКПАТ”
|
(72) Автор(ы):
БРЕЙ Эндрью Джонатан (GB), ТИРЛ Алан Дуглас (GB), ХОЛДФОРД Стивен (GB)
(73) Патентообладатель(и):
БРИТИШ АМЕРИКЭН ТОБЭККО (ИНВЕСТМЕНТС) ЛИМИТЕД (GB)
|
(54) ЗАГОТОВКА(-И) УПАКОВКИ КУРИТЕЛЬНЫХ ИЗДЕЛИЙ
(57) Реферат:
Изобретение относится к заготовке(-ам) упаковки курительных изделий, в частности, но не исключительно сигарет. Задачей изобретения является разработка конструкции заготовки упаковки курительных изделий, из которой можно легко собрать упаковку с обычной для табачной промышленности скоростью. Заготовка упаковки курительных изделий, состоит из соединенных между собой шарнирной линией сгиба (27) участка крышки (2) и участка основания (3), который имеет первую главную панель (24) и вторую главную панель (25). Главные панели заготовки имеют примыкающие к ним боковые панели (32, 33, 38, 39), по меньшей мере одна из которых имеет примыкающий к ней боковой клапан (35). В собранной упаковке часть основания можно согнуть вокруг продольной шарнирной линии сгиба (34), расположенной на боковой стенке упаковки. В изобретении предлагается также упаковка курительных изделий, собранная из описанной выше заготовки наружной упаковки и нескольких внутренних упаковок. Наружную упаковку можно открыть, согнув ее вокруг продольной шарнирной линии сгиба, расположенной на боковой стенке собранной упаковки. Техническим результатом изобретения является использование заготовки для изготовления упаковок различного размера и формы. 3 н. и 24 з.п. ф-лы, 8 ил.
Настоящее изобретение относится к заготовке(-ам) упаковки курительных изделий, в частности, но не исключительно сигарет.
В настоящее время известны упаковки сигарет с несколькими отделениями. Так, например, в патенте FR 2614720 описана упаковка с несколькими смежными отделениями, которые закрываются одной общей крышкой. Заготовка, из которой собирают такую упаковку, в этом патенте не описана, однако из его описания следует, что предложенную в нем упаковку нельзя собрать на обычном или несколько модернизированном оборудовании, на котором в настоящее время собирают большинство упаковок табачных изделий.
В основу настоящего изобретения была положена задача разработать конструкцию заготовки упаковки курительных изделий, из которой можно было бы легко собрать упаковку с обычной для табачной промышленности высокой скоростью.
Еще одна задача изобретения состояла в разработке конструкции заготовки, из которой упаковку можно было бы собирать на обычном сборочном оборудовании или по меньшей мере на обычном оборудовании после его небольшой модернизации.
В настоящем изобретении предлагается заготовка упаковки курительных изделий, содержащая соединенные шарнирно по линии сгиба участок крышки и участок основания, т.е. основной части упаковки, (в дальнейшем называемые просто крышкой и основанием), при этом основание состоит из ограниченных продольными боковыми краями нижней панели и первой, и второй главных панелей с примыкающими к их продольным краям боковыми панелями, по меньшей мере одна из которых имеет боковой клапан, примыкающий к ее продольному краю.
Боковой клапан предпочтительно должен соединяться с боковой панелью шарнирно по линии сгиба.
В предпочтительном варианте каждая панель имеет верхний и нижний край.
Целесообразно, чтобы нижняя панель заготовки имела по меньшей мере две части. Более предпочтительно, чтобы нижняя панель состояла из двух частей.
В предпочтительном варианте обе части нижней панели соединяются друг с другом по линии пониженной прочности. В другом варианте обе части нижней панели объединены в одну панель.
При соединении двух частей нижней панели по линии пониженной прочности целесообразно, чтобы эта линия проходила между продольными краями нижней панели. Предпочтительно, чтобы линия пониженной прочности проходила между противоположными продольными краями нижней панели и оканчивалась с отступом от них. Более предпочтительно, чтобы линия пониженной прочности в нижней панели проходила между продольными краями нижней панели параллельно ее верхнему и/или нижнему краю.
Линию пониженной прочности предпочтительно выполнять в виде перфорированной линии.
В другом варианте осуществления изобретения с объединенными вместе частями нижней панели целесообразно, чтобы их можно было отделить друг от друга. Разделить части нижней панели можно путем надреза по линии соединения обеих частей нижней панели. Более предпочтительно, чтобы линия соединения частей нижней панели проходила между противоположными продольными краями нижней панели. В наиболее предпочтительном варианте линия соединения частей нижней панели должна проходить между противоположными продольными краями нижней панели параллельно верхнему и/или нижнему краю нижней панели.
Ширина нижней панели и боковых панелей предпочтительно должна быть по существу кратна диаметру курительного изделия. В упаковке, в которой курительные изделия плотно прижаты друг к другу, ширина нижней панели и боковых панелей заготовки может быть несколько меньше величины, кратной диаметру курительного изделия. При этом коэффициент кратности может быть равен единице. Предпочтительно, чтобы ширина каждой боковой панели, примыкающей к главной панели заготовки, была по существу равна ширине части нижней панели, примыкающей к главной панели и ограниченной линией пониженной прочности или линией соединения частей нижней панели. Целесообразно, чтобы панели заготовки имели общую продольную ось симметрии.
Предпочтительно, чтобы общая ширина нижней панели равнялась сумме ширины боковой панели, примыкающей к продольному краю первой главной панели, и ширины боковой панели, примыкающей к продольному краю второй главной панели.
Предпочтительно, чтобы шарнирная линия сгиба, соединяющая боковой клапан и боковую панель, проходила по общему продольному краю бокового клапана и примыкающей к нему боковой панели.
Боковой клапан должен располагаться у наружного продольного края боковой панели второй главной панели основания заготовки. В собранной упаковке боковой клапан закрывает боковую панель другой главной панели заготовки. В другом варианте в собранной упаковке боковая панель другой главной панели закрывает боковой клапан.
Предпочтительно далее, чтобы боковой клапан закрывал боковую панель первой главной панели основания заготовки. Целесообразно, чтобы боковая панель и закрывающий ее боковой клапан имели по существу равную ширину. Более предпочтительно, чтобы в собранной упаковке продольный край боковой панели, к которому примыкает боковой клапан, был выполнен в виде продольной шарнирной линии сгиба в боковой стенке упаковки. Продольная шарнирная линия сгиба, совпадающая с продольным краем закрывающей клапан боковой панели, позволяет сгибать в этом месте собранную упаковку.
В предпочтительном варианте осуществления изобретения в нем предлагается заготовка наружной упаковки. Под термином “заготовка наружной упаковки” подразумевается заготовка, которую собирают поверх собранной внутренней упаковки или нескольких внутренних упаковок либо – в другом варианте – поверх пачки курительных изделий, обернутой соответствующим оберточным материалом.
Основание предлагаемой во втором варианте осуществления изобретения заготовки упаковки курительных изделий имеет два боковых клапана, примыкающих соответственно к продольным краям первой и второй боковых панелей одной из главных панелей заготовки. Боковые клапаны предпочтительно должны примыкать к наружным продольным краям первой и второй боковых панелей второй главной панели заготовки.
Целесообразно, чтобы в собранной заготовке продольные края боковых панелей, к которым примыкают края боковых клапанов, служили продольными шарнирными линиями сгиба на каждой боковой стенке собранной заготовки. Продольные шарнирные линии, совпадающие с продольными краями закрывающих клапаны боковых панелей, расположены в местах сгиба собранной упаковки.
Во втором варианте основание предлагаемой в изобретении заготовки упаковки курительных изделий имеет также вторую линию пониженной прочности, проходящую в продольном направлении от верхнего до нижнего края второй главной панели.
Вторая линия пониженной прочности предпочтительно должна проходить по существу параллельно продольным боковым краям второй главной панели заготовки. Кроме того, в предпочтительном варианте вторая линия пониженной прочности пересекает нижний край второй главной панели и оканчивается на нижней панели заготовки. Нижний край второй главной панели предпочтительно выполнять в виде линии пониженной прочности. Целесообразно, чтобы вторая линия пониженной прочности доходила до линии пониженной прочности, проходящей через нижнюю панель, но не пересекала ее. Более предпочтительно, чтобы вторая линия пониженной прочности проходила вдоль продольной оси симметрии второй главной панели и нижней панели заготовки.
Вторую линию пониженной прочности предпочтительно выполнять в виде перфорированной линии.
Необходимо подчеркнуть, что во втором варианте осуществления вторая линия пониженной прочности может проходить по линии соединения обеих частей панели.
Очевидно, что заготовка, предлагаемая во втором варианте осуществления изобретения, может иметь и линию пониженной прочности, и соединительную линию. Так, например, вторую линию пониженной прочности можно заменить соединительной линией, оставив линию пониженной прочности на нижней панели заготовки. Точно так же линию пониженной прочности на нижней панели можно заменить соединительной линией, выполнив в заготовке еще одну линию пониженной прочности.
В другом варианте у предлагаемой в изобретении заготовки вторая соединительная линия делит вторую главную панель на две части. В предпочтительном варианте обе эти части можно разделить по соединительной линии. Очевидно, что для разделения на части второй главной панели можно использовать разрез, проходящий по соединительной линии.
В настоящем изобретении предлагается также упаковка курительных изделий, собираемая из нескольких заготовок внутренних упаковок и предлагаемой в изобретении заготовки наружной упаковки. В собранном виде в каждую внутреннюю упаковку можно поместить определенное количество курительных изделий.
Заготовки внутренних упаковок предпочтительно выполнять отдельно от предлагаемой в изобретении заготовки наружной упаковки. В другом варианте заготовки внутренних упаковок можно объединить с заготовкой наружной упаковки.
Заготовка внутренней упаковки предпочтительно должна иметь по меньшей мере одну главную панель. Более предпочтительно, чтобы заготовка внутренней упаковки имела две главные панели. Обе главные панели заготовки внутренней упаковки целесообразно соединить друг с другом нижней панелью.
По меньшей мере одна главная панель заготовки внутренней упаковки предпочтительно должна иметь на своем верхнем краю вырез. Размеры выреза должны обеспечивать возможность доступа и извлечения из собранной внутренней упаковки находящихся в ней курительных изделий.
При сборке наружной упаковки с внутренними упаковками одну главную панель каждой внутренней упаковки соединяют с главной панелью наружной упаковки, а после разрыва и/или разреза линии(-й) пониженной прочности и/или соединительной линии наружной упаковки и изгиба наружной упаковки по расположенной на ее боковой стороне шарнирной линии сгиба главная панель каждой внутренней упаковки оказывается открытой.
Собранная упаковка курительных изделий с целой(-ыми) линией(-ями) пониженной прочности остается закрытой крышкой до тех пор, пока ее не откроет потребитель. После разрыва линии пониженной прочности при первом вскрытии упаковки ее можно снова закрыть крышкой.
У упаковки, предлагаемой в другом варианте, линию пониженной прочности и/или соединительную линию можно разорвать или разрезать до продажи собранной упаковки.
Очевидно, что предлагаемая во втором варианте упаковка в собранном виде имеет две расположенные на ее боковых стенках продольные шарнирные линии сгиба. Следует также отметить, что заготовка упаковки, предлагаемая во втором варианте, имеет две линии пониженной прочности, одна из которых проходит поперек нижней панели между ее продольными краями, а другая проходит в продольном направлении между верхним краем второй главной панели и первой линией пониженной прочности нижней панели заготовки.
Предлагаемую в изобретении заготовку можно использовать для изготовления упаковок различных размеров и форм. Так, например, из нее можно изготавливать упаковки с прямоугольными, скругленными или скошенными краями. Кроме того, предлагаемую в изобретении заготовку можно использовать для изготовления упаковок с известными специалистам размерами упаковок типа “International”, “King Size”, “SuperKing” или “Jumbo Carton”. Более предпочтительно предлагаемую в изобретении заготовку использовать для изготовления упаковки с откидной крышкой. Настоящее изобретение может также использоваться в сочетании с решением, описанным в WO 03/078724.
Упаковку курительных изделий, собранную из предлагаемых в настоящем изобретении наружной и внутренних заготовок, можно обернуть целлофановой оберткой. Целесообразно, чтобы целлофановая обертка имела отрывную полоску, предназначенную для разрыва обертки и ее снятия с упаковки. Отрывная полоска должна быть расположена таким образом, чтобы потребитель для свободного доступа к упаковке и находящимся в ней курительным изделиям мог снять с упаковки всю целлофановую обертку. Отрывную полоску можно, например, расположить в поперечном направлении рядом с крышкой собранной упаковки. Отрывная полоска может проходить и вдоль продольной оси упаковки.
В настоящем изобретении предлагается также способ сборки упаковки курительных изделий из предлагаемой в изобретении заготовки наружной упаковки и нескольких заготовок внутренних упаковок, заключающийся в том, что определенное количество курительных изделий обертывают в обертку, подают заготовку внутренней упаковки в предназначенную для сборки упаковок машину, частично собирают внутреннюю упаковку, помещают внутрь частично собранной внутренней упаковки обернутые курительные изделия, окончательно собирают внутреннюю упаковку с обернутыми курительными изделиями, подают в предназначенную для сборки упаковок машину частично собранную наружную упаковку, помещают внутрь частично собранной наружной упаковки две или несколько собранных внутренних упаковок с курительными изделиями и окончательно собирают наружную упаковку с находящимися в ней внутренними упаковками с курительными изделиями.
Сборку упаковки предлагаемым в изобретении способом предпочтительно выполнять на одной или нескольких сборочных машинах. Более предпочтительно для сборки упаковки использовать только одну сборочную машину.
Собирать упаковку предлагаемым в изобретении способом предпочтительно из предлагаемых в изобретении заготовки наружной упаковки и заготовок внутренних упаковок.
Ниже изобретение более подробно рассмотрено на примере некоторых вариантов его осуществления со ссылкой на прилагаемые чертежи, на которых показано:
на фиг.1 – предлагаемая в изобретении заготовка наружной упаковки курительных изделий,
на фиг.2 – заготовка внутренней упаковки, используемая вместе с заготовкой наружной упаковки, показанной на фиг.1,
на фиг.3 – вторая заготовка внутренней упаковки, используемая вместе с показанной на фиг.1 заготовкой наружной упаковки и показанной на фиг.2 заготовкой внутренней упаковки,
на фиг.4 – заготовка наружной упаковки, выполненная по второму варианту,
на фиг.5 – заготовка внутренней упаковки, используемая вместе с заготовкой наружной упаковки, показанной на фиг.4,
на фиг.6 – вторая заготовка внутренней упаковки, используемая вместе с показанной на фиг.4 заготовкой наружной упаковки и показанной на фиг.5 заготовкой внутренней упаковки,
на фиг.7 – заготовка еще одной внутренней упаковки, используемой вместе с показанной на фиг.4 заготовкой наружной упаковки и показанными на фиг.5 и 6 заготовками внутренней упаковки, и
на фиг.8 – другой вариант выполнения заготовки внутренней упаковки, показанной на фиг.2.
На всех перечисленных выше чертежах одни и те же детали и элементы заготовок обозначены одними и теми же позициями.
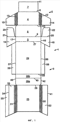
На фиг.1 показана заготовка 1 наружной упаковки, предлагаемая в первом варианте осуществления настоящего изобретения. Заготовка 1 состоит из крышки 2 и основания 3. Крышка 2 имеет переднюю панель 4, заднюю панель 5, верхнюю панель 6 и переднюю внутреннюю панель 7. Панели 4, 5, 6 и 7 имеют верхние края, обозначенные позициями 8, 9, 10 и 11 соответственно. В показанном на фиг.1 варианте верхние края 8, 9 и 10 являются также нижними краями передней внутренней панели 7, верхней панели 6 и передней панели 4 соответственно.
Крышка 2 имеет, кроме того, продольные края 12 и 13, к которым примыкают боковые панели 14 и 15 соответственно. Задняя панель 5 ограничена продольными краями 16 и 17. Внутренние боковые панели 18 и 19 имеют соответственно верхние края 20 и 21, которые являются нижними краями внутренних верхних панелей 22 и 23.
Основание 3 заготовки наружной упаковки состоит из первой главной панели 24, второй главной панели 25 и нижней панели 26а, 26 b. Первая главная панель 24 соединена с задней панелью 5 крышки по шарнирной линии 27 сгиба. Первая главная панель основания соединена с нижней панелью 26а, 26b краем 28, а нижняя панель 26а, 26b в свою очередь соединена со второй главной панелью краем 29.
Вторая главная панель 25 заготовки наружной упаковки имеет продольные края 30 и 31, к которым примыкают соответственно боковые панели 32 и 33. Боковой клапан 35 примыкает к наружному продольному краю 34 боковой панели 33. В другом варианте боковой клапан 35 примыкает также к наружному продольному краю 41 боковой панели 32.
Первая главная панель 24 имеет продольные края 36 и 37. К этим продольным краям 36 и 37 примыкают соответственно боковые панели 38 и 39.
Нижняя панель 26 имеет перфорированную линию 40, проходящую между продольными краями 42 и 43 панели.
В собранной из заготовки 1 наружной упаковке боковая панель 39 своей внутренней поверхностью закрывает боковой клапан 35. В другом варианте боковой клапан 35 может закрывать наружную поверхность боковой панели 39. Продольный край 34 образует шарнирную линию сгиба, по которой можно открыть собранную из заготовки 1 упаковку. Суммарная ширина боковых панелей 32 и 38, включая биговку (при ее наличии), равна толщине собранной наружной упаковки. Суммарная ширина боковых панелей 32 и 38, включая биговку (при ее наличии), равна также длине каждого продольного края 42 и 43 нижней панели. Длина продольных краев 42 и 43 имеет протяженность, кратную диаметру курительного изделия, однако в том случае, когда курительные изделия в собранной упаковке плотно прижаты друг к другу, длина продольных краев 42 и 43 может быть несколько меньше величины, кратной диаметру курительного изделия.
Ширина боковых панелей 32 и 33, включая биговку (при ее наличии), равна длине продольного края части 26а нижней панели. Ширина боковых панелей 38 и 39, включая биговку (при ее наличии), равна длине продольного края части 26b нижней панели.
Показанная на фиг.1 заготовка 1 наружной упаковки имеет скругленные продольные края. Заготовка 1 наружной упаковки может также иметь прямоугольные или скошенные продольные края.
Показанную на фиг.1 заготовку 1 наружной упаковки можно использовать вместе с заготовками внутренней упаковки, показанными на фиг.2 и 3. Показанная на фиг.2 заготовка 44 внутренней упаковки состоит из главных панелей 45 и 46 и нижней панели 47. Главная панель 45 соединена с нижней панелью 47 краем 48. Главная панель 46 соединена с нижней панелью 47 краем 49. Заготовка 44 внутренней упаковки имеет, кроме того, боковые панели 50, 51, 52 и 53, которые примыкают соответственно к продольным краям 54, 55, 56 и 57 главных панелей 45 и 46. Заготовка 44 внутренней упаковки имеет выступы 58 и 59, которые удерживают крышку 2 полностью собранной наружной упаковки в закрытом положении. Заготовка 44 внутренней упаковки имеет вырезы 60 и 61. Через вырез 60 потребитель может извлечь из собранной внутренней упаковки находящиеся в ней курительные изделия.
Внутренняя упаковка 44 расположена в наружной упаковке 1 таким образом, что ее главная панель 45 прилегает к внутренней поверхности второй главной панели 25 наружной упаковки 1. Внутреннюю упаковку 44 можно закрепить в этом положении, например, клеем. Перед креплением к наружной упаковке 1 внутреннюю упаковку 44 необходимо сначала собрать и заполнить курительными изделиями.
На фиг.3 показана заготовка 62 второй внутренней упаковки, предназначенной для использования вместе с показанной на фиг.1 заготовкой 1 наружной упаковки и показанной на фиг.2 заготовкой 44 внутренней упаковки. Заготовка 62 имеет главные панели 63 и 64 и нижнюю панель 65. К продольным краям 70, 71, 72 и 73 главных панелей 63 и 64 примыкают соответственно боковые панели 66, 67, 68 и 69. Главная панель 64 соединена с нижней панелью 65 краем 74, а главная панель 63 соединена с нижней панелью краем 75.
На верхних краях 78 и 79 главных панелей 64 и 63 выполнены вырезы 76 и 77.
При сборке упаковки в заготовку 62 внутренней упаковки помещают определенное количество курительных изделий и укладывают на заготовку 1 наружной упаковки таким образом, чтобы главная панель 64 лежала на внутренней поверхности первой главной панели 24 заготовки наружной упаковки. Затем заготовку 1 наружной упаковки собирают, сгибая ее вокруг внутренней упаковки, собранной из заготовок 44 и 62.
После сборки наружной и внутренних упаковок готовую пачку курительных изделий можно обернуть наружной оберткой, например целлофаном. К наружной обертке приклеивают отрывную полоску, позволяющую потребителю снять наружную обертку с пачки. Затем при вскрытии пачки разрывают перфорацию по линии 40 и открывают крышку, поворачивая ее по шарнирной линии 27 сгиба и получая тем самым доступ к наружным поверхностям панелей 46 и 63. На панели 46 и 63 можно напечатать любую полезную потребителю информацию. В открытой пачке потребитель видит эти панели вместе с напечатанными на них различного рода графическими изображениями и товарными знаками.
На фиг.4 показана еще одна заготовка 81 наружной упаковки, выполненная по второму варианту настоящего изобретения. Заготовка 81 имеет все элементы заготовки, показанной на фиг.1. Однако в отличие от нее показанная на фиг.4 заготовка 81 имеет дополнительный боковой клапан 80, примыкающий к продольному краю 41 боковой панели 32. Таким образом, показанная на фиг.4 заготовка 81 имеет два боковых клапана, примыкающих к продольным краям боковых панелей 32 и 33. Перфорированная линия 82 проходит в продольном направлении от верхнего края 83 второй главной панели 25, пересекает край 29 и оканчивается на нижней панели 26. Перфорированная линия 82 доходит до перфорированной линии 40, но не пересекает ее.
При сборке наружной упаковки из заготовки 81 боковые клапаны 80 и 35 соединяют с внутренними поверхностями боковых панелей 38 и 39, например, клеем. После разрыва перфорации по линиям 82 и 40 наружную упаковку можно открыть, сгибая ее по двум шарнирным линиям сгиба, образованным по продольным краям 34 и 41. В другом варианте сборки наружной упаковки из заготовки 81 боковые клапаны 80 и 35 приклеивают к наружным поверхностям боковых панелей 38 и 39.
На фиг.5, 6 и 7 показаны заготовки внутренних упаковок, которые можно собирать вместе с заготовкой 81 наружной упаковки, показанной на фиг.4.
Показанная на фиг.5 заготовка 84 внутренней упаковки имеет главные панели 85 и 86 и нижнюю панель 87. К продольным краям 90 и 91 главной панели 85 примыкают боковые панели 88 и 89 соответственно.
К продольным краям 94 и 95 главной панели 86 примыкают боковые панели 92 и 93.
На фиг.6 показана еще одна заготовка 96 внутренней упаковки с главными панелями 97 и 98 и нижней панелью 99. Главная панель 97 имеет боковые панели 100 и 101, примыкающие соответственно к продольным краям 102 и 103 главной панели.
Главная панель 98 имеет боковые панели 104 и 105, примыкающие к продольным краям 106 и 107 главной панели.
На фиг.7 показана еще одна заготовка 108 внутренней упаковки с главными панелями 109 и 110 и нижней панелью 111. Главная панель 109 имеет боковые панели 112 и 113, примыкающие к продольным краям 114 и 115 главной панели.
Главная панель 110 имеет боковые панели 116 и 117, примыкающие соответственно к продольным краям 118 и 119 главной панели.
При сборке упаковки курительных изделий из показанной на фиг.4 заготовки 81 наружной упаковки и заготовок внутренних упаковок, показанных на фиг.5, 6 и 7, главную панель 109 заготовки 108 внутренней упаковки соединяют, например, клеем, с первой главной панелью 24 заготовки 81 наружной упаковки. Боковые панели 112 и 113 приклеивают к внутренней поверхности боковых панелей 38 и 39 заготовки 81.
Главную панель 98 заготовки 96 внутренней упаковки приклеивают к внутренней поверхности первой части 25а второй главной панели заготовки 81 наружной упаковки. Боковую панель 104 заготовки 96 приклеивают к внутренней поверхности боковой панели 32 заготовки 81.
Главную панель 86 заготовки 84 внутренней упаковки приклеивают к внутренней поверхности второй части 25b второй главной панели заготовки 81 наружной упаковки. Боковую панель 93 заготовки 84 приклеивают к внутренней поверхности боковой панели 35 заготовки 81.
После этого заготовку 81 наружной упаковки и заготовки 84, 96 и 108 внутренних упаковок окончательно собирают в пачку курительных изделий. Собранную пачку можно обернуть, например, целлофаном.
Существенное преимущество предлагаемого в изобретении способа сборки заключается в том, что до сборки наружной упаковки с внутренними упаковками внутренние упаковки собирают с упаковываемыми в пачку курительными изделиями.
На фиг.8 показана заготовка внутренней упаковки, отличающаяся от заготовки, показанной на фиг.2. Эта заготовка имеет менее глубокий вырез 60, чем заготовка, показанная на фиг.2. Для специалистов очевидно, что после сборки показанной на фиг.1 заготовки 1 наружной упаковки с показанными на фиг.3 и 4 заготовками внутренних упаковок извлечь из пачки находящиеся в упаковках курительные изделия можно только после разрыва заготовки 1 по линии 40 перфорации и сгиба наружной упаковки по шарнирной линии 34.
Наружные и внутренние упаковки, собранные из показанных на чертежах заготовок, могут иметь скругленные, прямоугольные или скошенные продольные края. Заготовки могут иметь размеры, соответствующие размерам любых пачек или коробок с курительными изделиями. Предлагаемые в настоящем изобретении заготовки наружных и внутренних упаковок пачек курительных изделий должны иметь размеры, позволяющие разместить в наружной упаковке несколько внутренних упаковок.
Формула изобретения
1. Заготовка (1) упаковки курительных изделий, состоящая из соединенных по шарнирной линии (27) сгиба участка крышки (2) и участка основания (3), содержащего первую главную панель (24), вторую главную панель (25) и нижнюю панель (26а, 26b), каждая из которых ограничена продольными боковыми краями (30, 31, 36, 37), при этом каждая из первой и второй главных панелей (24, 25) имеет боковые панели (32, 33, 38, 39), примыкающие к продольным краям (30, 31, 36, 37) первой и второй главных панелей (24, 25), и в собранной упаковке боковые панели (32, 33, 38, 39) не накладываются друг на друга, причем полная ширина нижней панели (26а, 26b) равна сумме ширины боковой панели (32, 33, 38, 39), примыкающей к продольному краю (30, 31) первой главной панели (24), и ширины боковой панели (32, 33), примыкающей к продольному краю (36, 37) второй главной панели (25).
2. Заготовка по п.1, в которой каждая панель имеет верхний край (8, 9, 10, 11, 27, 28, 29) и нижний край (29, 28, 11).
3. Заготовка по п.1, в которой нижняя панель состоит по меньшей мере из двух частей (26а, 26b).
4. Заготовка по п.3, в которой нижняя панель состоит из двух частей (26а, 26b).
5. Заготовка по п.3, в которой части (26а, 26b) нижней панели соединены по линии пониженной прочности (40).
6. Заготовка по п.5, в которой линия пониженной прочности (40) проходит между продольными краями (42, 43) нижней панели.
7. Заготовка по п.6, в которой линия пониженной прочности (40) проходит между продольными краями нижней панели (26а, 26b) параллельно верхнему краю (28) и/или нижнему краю (29) нижней панели.
8. Заготовка по п.5, в которой линия пониженной прочности (40) выполнена в виде перфорированной линии.
9. Заготовка по п.3, в которой части (26а, 26b) нижней панели соединены друг с другом.
10. Заготовка по п.9, в которой части (26а, 26b) нижней панели выполнены отделяемыми друг от друга.
11. Заготовка по п.10, в которой части (26а, 26b) нижней панели выполнены отделяемыми друг от друга по линии их соединения.
12. Заготовка по п.11, в которой соединительная линия проходит между противоположными продольными краями нижней панели (26а, 26b).
13. Заготовка по п.12, в которой соединительная линия проходит между противоположными продольными краями нижней панели (26а, 26b) параллельно верхнему краю (28) и/или нижнему краю (29) нижней панели.
14. Заготовка по п.1, в которой боковые панели (32, 33, 38, 39) имеют ширину, по существу кратную диаметру курительного изделия.
15. Заготовка по п.1, в которой ширина каждой боковой панели (32, 33, 38, 39), примыкающей к главной панели (24, 25) заготовки, по существу равна ширине примыкающей к этой панели части нижней панели (26а, 26b), ограниченной линией (40) пониженной прочности или соединительной линией нижней панели.
16. Заготовка по п.1, в которой панели имеют общую ось симметрии.
17. Заготовка по любому из предыдущих пунктов, собранная из которой упаковка является наружной упаковкой пачки курительных изделий.
18. Заготовка по п.6, которая имеет вторую линию (82) пониженной прочности, проходящую в продольном направлении от верхнего края до нижнего края второй главной панели (25).
19. Заготовка по п.18, в которой вторая линия (82) пониженной прочности проходит в продольном направлении по существу параллельно продольным боковым краям (36, 37) второй главной панели (25).
20. Заготовка по п.18, в которой вторая линия (82) пониженной прочности пересекает нижний край второй главной панели (25) и оканчивается на нижней панели (26а, 26b).
21. Заготовка по п.18, в которой вторая линия (82) пониженной прочности выполнена в виде перфорированной линии.
22. Заготовка по п.1, собираемая с несколькими заготовками (44, 62, 84, 96) внутренних упаковок, в каждой из которых может находиться определенное количество курительных изделий.
23. Упаковка курительных изделий, собранная из заготовки наружной упаковки по любому из пп.1-21 и нескольких заготовок (44, 62, 84, 96) внутренних упаковок.
24. Упаковка по п.23, в которой каждая заготовка внутренней упаковки имеет по меньшей мере одну главную панель.
25. Упаковка по п.24, в которой каждая заготовка внутренней упаковки имеет две главные панели.
26. Упаковка по п.23, которая в собранном виде заготовок наружной упаковки с заготовками внутренних упаковок может быть закрыта участком крышки (2).
27. Способ сборки пачки курительных изделий из упаковки по п.23, заключающийся в том, что оборачивают определенное количество курительных изделий оберткой, подают заготовку (44, 62, 84, 96) внутренней упаковки в машину для сборки упаковок, частично собирают внутреннюю упаковку, помещают обернутые курительные изделия в частично собранную внутреннюю упаковку, полностью собирают частично собранную внутреннюю упаковку с обернутыми курительными изделиями, подают заготовку (1) упаковки в машину для сборки упаковок, частично собирают заготовку (1) в упаковку, помещают в нее две или несколько заготовок (44, 62, 84, 96) внутренних упаковок и полностью собирают упаковку с находящимися в ней заготовками (44, 62, 84, 96) внутренних упаковок.
РИСУНКИ
|