|
|
(21), (22) Заявка: 2007119403/12, 20.10.2005
(24) Дата начала отсчета срока действия патента:
20.10.2005
(30) Конвенционный приоритет:
25.10.2004 EP 04025321.3
(43) Дата публикации заявки: 27.11.2008
(46) Опубликовано: 20.01.2010
(56) Список документов, цитированных в отчете о поиске:
FR 2041380 A5, 29.01.1971. US 2003089245 A1, 15.05.2003. DE 1429932 A1, 06.03.1969. RU 2220639 C2, 10.01.2004.
(85) Дата перевода заявки PCT на национальную фазу:
25.05.2007
(86) Заявка PCT:
EP 2005/011307 20051020
(87) Публикация PCT:
WO 2006/045537 20060504
Адрес для переписки:
103735, Москва, ул. Ильинка, 5/2, ООО “Союзпатент”, пат.пов. Л.С.Кишкиной
|
(72) Автор(ы):
ИОАКИМ Альфред (CH), ГАВИЛЛЕ Жиль (CH), ДЕНИЗАР Жан-Поль (CH)
(73) Патентообладатель(и):
НЕСТЕК С.А. (CH)
|
(54) КАПСУЛА С ОТГИБАЮЩИМСЯ УПЛОТНЯЮЩИМ ЭЛЕМЕНТОМ
(57) Реферат:
Изобретение относится к капсулам, предназначенным для содержания в них ингредиентов напитка, к системе производства напитков, связанной с такими капсулами, а также к способам производства напитков с использованием таких капсул. Капсула включает в себя основной корпус и оболочку из фольги, закрывающую основной корпус, которая прикреплена к ободу в виде фланца, отходящему от боковой стенки основного корпуса капсулы. Капсула включает в себя упруго отклоняющийся уплотняющий элемент. Уплотняющий элемент сконструирован так, чтобы отгибаться к уплотняющей поверхности аппарата для производства напитка, когда капсула установлена на место в аппарате для производства напитка. Контакт уплотнения уплотняющего элемента капсулы и уплотняющей поверхности является самоукрепляющимся, когда используется давление. Изобретение улучшает контактное уплотнение, расположенное между частью для впуска жидкости и частью для выпуска напитка указанной системы для производства напитка. 5 н. и 7 з.п. ф-лы, 5 ил.
Область техники, к которой относится изобретение
Настоящее изобретение в основном относится к капсулам, предназначенным для содержания в них ингредиентов напитка, к системе производства напитков, связанной с такими капсулами, а также к способам производства напитков с использованием таких капсул.
Уровень техники
Основой настоящего изобретения является область применения капсул, предназначенных для содержания в них ингредиентов напитка или другого пищевого продукта (например, супа). Посредством взаимодействия этих ингредиентов с жидкостью могут быть произведены напиток или другие пищевые продукты, например, такие как супы. Этим взаимодействием может быть, например, процесс экстрагирования, варки или заваривания, растворения и т.д. Указанная капсула особенно подходит для содержания в ней молотого кофе с целью приготовления кофейного напитка путем подачи в капсулу горячей воды под давлением и выпуска кофейного напитка из капсулы.
Системы и методы для получения жидких пищевых продуктов из составных частей, включающих капсулы, известны, например, из патентной заявки ЕР-А-512470 (аналог патентной заявки US 5402707).
Сущность изобретения
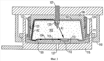
Капсула 101, как показано на фиг.1, имеет чашу в форме усеченного конуса 102, которая может быть наполнена, например, жареным и молотым кофе 103, и может быть закрыта внешней разрываемой оболочкой в виде фольги 104, приваренной и/или опрессованной на ободе в виде фланца, который отходит в боковом направлении от боковой стенки чаши 102. Держатель капсулы 111 включает в себя решетку для ограждения потока жидкости 112 с компонентами с рельефной поверхностью 113 и кольцеобразный скошенный обод 114. Держатель капсулы 111 размещен в опорной стойке 115, которая имеет боковую стенку 124 и отверстие 127 для выпуска экстрагированного кофейного напитка.
Как видно на фиг.1, система экстрагирования дополнительно включает в себя инжектор воды 107, имеющий впускной канал для воды 120, и кольцеобразный элемент 108, форма внутренней выемки которого в основном соответствует внешней форме капсулы. Элемент в виде раструба 108 на своей внешней части имеет пружину 122, держащую кольцо 123, для освобождения капсулы при завершении экстрагирования.
При эксплуатации капсула 101 размещена в держателе капсулы 111. Инжектор воды 107 перфорирует верхнюю сторону чаши 102. Нижняя разрываемая сторона 104 капсулы опирается на радиально расположенные компоненты 113 держателя капсулы 111.
Вода впрыскивается через канал 120 инжектора воды 107 и соприкасается со слоем кофе 103. Давление в капсуле 101 возрастает, и разрываемая сторона 104 все в большей степени приобретает форму радиальных прорывающих рельефных компонентов 113. Когда материал, составляющий разрываемую сторону, достигает своего напряжения разрушения, разрываемая сторона прорывается рельефными компонентами. Экстрагированный кофе течет через отверстия решетки для ограждения потока жидкости 112 и собирается в контейнер (не показанный) под отверстием 127.
Принципы этого процесса экстрагирования в той степени, в которой они могут быть связаны с настоящим изобретением, могут быть суммированы следующим образом:
– изолированная капсула вставлена в держатель капсулы;
– держатель капсулы соединен со средством впрыскивания воды указанного устройства таким образом, что кольцеобразный элемент (108 на фиг.4) окружает капсулу;
– на первой стенке капсулы образовано по меньшей мере одно отверстие;
– вода, поступающая в капсулу через отверстие в первой стенке, взаимодействует с ингредиентами внутри капсулы и затем производит напиток, который затем выпускается по меньшей мере из второго отверстия, образованного во второй стенке.
Ингредиенты в капсуле создают «бутылочное горлышко» на пути потока воды и поэтому могут стать причиной перепада давлений между верхней и нижней частью жидкости, протекающей через капсулу, и этот перепад давлений будет даже возрастать во время взаимодействия между жидкостью и ингредиентами, например, в связи с набуханием ингредиентов. Соответственно, необходимо обеспечить, чтобы вода фактически текла только через внутреннюю часть капсулы (стрелка А1) и чтобы вода не могла попасть из инжектора воды в промежуток между кольцеобразным ограждающим элементом 108 и внешней частью капсулы 101 и затем в выпускное отверстие 127 аппарата. Стрелка А2 показывает этот нежелательный внешний маршрут потока воды. Иначе говоря, любой поток воды с внешней стороны капсулы должен быть остановлен (или, по меньшей мере, удержан в значительной степени) контактом уплотнения, расположенным в промежутке между кольцеобразным элементом 108 и капсулой 101, и на маршруте потока между инжектором воды и выпускающим напиток отверстием. В варианте конструкции изобретения согласно предшествующей технологии, показанном на фиг.1, такой контакт уплотнения может быть достигнут посредством защемляющего зацепления между кольцеобразным элементом 108, ободом в виде фланца на боковой стенке капсулы 101 и держателем капсулы.
В случае, если контакт уплотнения не действует как следует и вода течет за пределы капсулы, внутри капсулы не будет создано достаточное давление для обеспечения прорыва разрываемой стороны или же слишком низкое давление приведет к частичному прорыву разрываемой стороны и поэтому лишь к недостаточному экстрагированию вещества, результатом чего является подача напитка низкого качества. При таком сценарии вода будет выпускаться из аппарата для производства напитка не пройдя должного взаимодействия или полностью провзаимодействовав при условиях достаточного давления с ингредиентами, содержащимися в капсуле.
Из предшествующего уровня техники известны усовершенствования, в которых этот контакт уплотнения более усовершенствован посредством облицовки внутренней стенки кольцеобразного элемента резиновым эластичным материалом. Иначе говоря, в соответствии с указанной предшествующей технологией контакт уплотнения подстрахован устройствами, прикрепленными к аппарату для производства напитка или соединенными с ним. Недостатками этого является то, что после использования большого количества капсул износ фиксированных контактных уплотнений может быть таковым, что качество производимого напитка будет все больше ухудшаться из-за воды, проходящей через более не являющееся эффективным уплотнение.
Любое «просачивание» на внешнюю поверхность капсулы уменьшает создание давления внутри капсулы. С другой стороны, хорошо известно, что достаточное давление для экстрагирования является ключевым фактором для качества кофе сорта эспрессо.
Настоящее изобретение, соответственно, стремится улучшить контактное уплотнение, расположенное между частью для впуска жидкости и частью для выпуска напитка указанной системы для производства напитка.
Поэтому основная задача настоящего изобретения – переместить упругий взаимодействующий элемент контактного уплотнения с аппарата для производства напитка на капсулу. Преимуществом является то, что тогда упругий взаимодействующий элемент используется только один раз (то есть только с соответствующей капсулой) таким образом, что это может обеспечить надлежащее функционирование изоляции и не возникнут никакие проблемы гигиены с уплотняющим элементом.
Следует отметить, что настоящее изобретение стремится, таким образом, к такому улучшению капсул, чтобы современные аппараты для производства напитка со встроенными уплотняющими средствами, как, например, показано в патентной заявке ЕР-А-512470, также могли бы использовать капсулу в соответствии с настоящим изобретением.
Эта цель достигается посредством характерных свойств независимых пунктов формулы изобретения. Зависимые пункты формулы изобретения развивают дальше основную задачу настоящего изобретения.
В соответствии с первым аспектом настоящего изобретения капсула для содержания в ней ингредиентов напитка сконструирована для ее установки в аппарат для производства напитка так, чтобы в эту капсулу поступала жидкость под давлением, взаимодействующая с ингредиентами в капсуле. В связи с этим внешняя сторона капсулы представляет собой упруго отгибаемый уплотняющий элемент.
Этот уплотняющий элемент может быть геометрически расположен так, чтобы отгибаться по меньшей мере к одной уплотняющей поверхности аппарата для производства напитка, когда капсула установлена в этом аппарате и/или когда создается давление воды в аппарате для производства напитка с целью заставить воду поступать внутрь капсулы. Явление отгибания может происходить при закрытии или только под воздействием давления воды или при закрытии и под воздействием давления воды.
В примере эта уплотняющая часть имеет конфигурацию, отгибающуюся к уплотняющей поверхности ограждающего элемента аппарата для производства напитка. Поэтому между капсулой и ограждающим элементом обеспечивается герметичность, гарантирующая, что вода не просочится на внешнюю поверхность капсулы и что необходимый уровень давления может быть установлен внутри капсулы. Таким образом, не нужна уплотняющая часть, входящая в состав аппарата для производства напитка.
В возможном варианте уплотняющая часть имеет конфигурацию, отгибающуюся к уплотняющей поверхности держателя капсулы. Этот уплотняющий элемент может отгибаться как к ограждающему элементу, так и к держателю капсулы; в этом случае не нужна уплотняющая часть, входящая в состав аппарата для производства напитка.
В альтернативном варианте конструкции уплотняющая часть может отгибаться только к держателю капсулы; в этом случае не нужна уплотняющая часть, например статическая или динамическая уплотняющая часть, в аппарате для производства напитка для обеспечения создания необходимого давления в капсуле. Дополнительным преимуществом этого варианта является то, что он существенно облегчает извлечение капсулы и предотвращает задерживание капсулы вакуумом в держателе капсулы.
Упруго отклоняющийся уплотняющий элемент может быть частью обода в виде фланца капсулы. Обод в виде фланца может включать в себя зажимающую часть, которая служит опорой для усилий зажима, когда капсула установлена на место в аппарате для производства напитка. В результате уплотняющий элемент может свободно отклоняться под давлением и обеспечивать эффективную изоляцию. Например, уплотняющий элемент может быть свободным выступом, отходящим от обода капсулы.
Отклоняющийся уплотняющий элемент может иметь форму выступа, например кольцеобразного выступа.
Капсула может включать в себя основной корпус в форме чаши, причем на боковой стенке основного корпуса капсулы предусмотрен упруго отклоняющийся уплотняющий элемент.
Этот уплотняющий элемент может быть изготовлен из гибкого материала.
Капсула и уплотняющий элемент могут быть изготовлены из пластиков.
Уплотняющий элемент может быть сконструирован так, чтобы представлять вместе с уплотняющей поверхностью аппарата для производства напитка самоукрепляющееся устройство, когда используется давление воды во время эксплуатации капсулы для производства напитка.
Другой аспект настоящего изобретения относится к системе производства напитка, включающей в себя капсулу и аппарат для производства напитка. Этот аппарат для производства напитка имеет по меньшей мере одну уплотняющую поверхность, к которой отгибается уплотняющий элемент капсулы, когда эта капсула установлена в этом аппарате для производства напитка и/или когда создается давление воды в аппарате для производства напитка с целью заставить воду поступать только внутрь капсулы.
В аппарате для производства напитка может иметься ограждающий элемент с уплотняющей поверхностью, находящийся в контакте уплотнения, с уплотняющим элементом капсулы, когда капсула установлена на место в аппарате и/или когда она находится под давлением, контакт уплотнения, образованный между уплотняющим элементом и уплотняющей поверхностью, являющимися самоукрепляющимися, когда используется давление.
Еще один аспект настоящего изобретения относится к способу производства напитка. Этот способ может включать в себя следующие этапы:
– обеспечение капсулой, содержащей ингредиенты,
– установка капсулы на место в аппарате для производства напитка,
– образование по крайней мере первого отверстия в первой части стенки капсулы,
– обеспечение поступления жидкости в капсулу через по крайней мере первое отверстие в капсуле,
– образование по крайней мере второго отверстия во второй части стенки и выпуск напитка из по крайней мере второго отверстия в капсуле, и
– отделение по крайней мере первого и по крайней мере второго отверстий контактом уплотнения от по крайней мере одной уплотняющей поверхности аппарата для производства напитка и уплотняющим элементом на внешней поверхности капсулы, причем уплотняющий элемент отгибается к уплотняющей поверхности аппарата для производства напитка.
Еще один дополнительный аспект настоящего изобретения относится к способу производства напитка, который включает в себя следующие этапы:
– обеспечение капсулой, содержащей ингредиенты,
– установка капсулы на место в аппарате для производства напитка,
– образование по крайней мере одного отверстия в первой части стенки капсулы, и
– обеспечение поступления жидкости в капсулу через по крайней мере первое отверстие в капсуле,
– образование по крайней мере второго отверстия во второй части стенки и выпуск напитка из по крайней мере второго отверстия в капсуле, и
– отделение по крайней мере первого и по крайней мере второго отверстий контактом уплотнения уплотняющей поверхности аппарата для производства напитка и уплотняющим элементом на внешней поверхности капсулы, причем контакт уплотнения является самоукрепляющимся, когда создается избыточное давление воды.
Краткое описание чертежей
Дополнительные преимущества, особенности и задачи настоящего изобретения станут очевидными для специалистов благодаря следующему подробному описанию вариантов конструкции настоящего изобретения со ссылкой на прилагаемые чертежи, на которых:
фиг.1 – капсула для экстрагирования, известная из патентной заявки ЕР-А-512470,
фиг.2 – вариант конструкции настоящего изобретения, в котором капсула расположена в держателе капсулы, но еще не достигла своего окончательного местоположения в аппарате для производства напитка,
фиг.3 – увеличенный вид на фиг.2,
фиг.4 – вариант конструкции в положении, в котором капсула достигла своего окончательного местоположения между элементом в виде раструба и держателем капсулы, и
фиг.5 – перспектива держателя капсулы, элемента в виде раструба и капсулы в соответствии с вариантом конструкции в положении, в котором капсула еще не достигла своего окончательного местоположения.
Подробное описание изобретения
Со ссылкой на фиг.2 будет дано подробное объяснение первого варианта конструкции.
Следует отметить, что далее изобретение будет объяснено со ссылкой на определенную конструкцию капсулы, то есть конструкцию, в соответствии с которой капсула включает в себя основной корпус в форме чаши и закрывающий элемент из фольги. Однако следует понимать, что и другие конструкции капсулы практически осуществимы, такие, например, как капсулы, имеющие двояковыпуклую форму с двумя тщательно подогнанными оболочками из фольги, изолированными, например, на кольцеобразном краю. Обычно капсула в соответствии с настоящим изобретением включает в себя по меньшей мере две части стенки, которые соединены одна с другой по краям, образуя изолированную зону обода в виде фланца.
По сравнению с предшествующим уровнем техники этот вариант конструкции также предусматривает держатель капсулы 13, имеющий рельефные компоненты 12, которые сконструированы для прорывания и перфорации оболочки из фольги 5, закрывающей основной корпус в форме чаши 4 капсулы 1. Это прорывание оболочки из фольги может происходить, например, когда давление внутри капсулы превышает пороговое значение. Следует отметить, что рельефные компоненты могут иметь любую выступающую форму, способную произвести (частичное) прорывание оболочки из фольги. В качестве примера можно упомянуть форму пирамид, иголок, столбиков, цилиндров, удлиненных ребер.
В пределах капсулы 1 содержатся ингредиенты 3, причем ингредиенты 3 отобраны таким образом, чтобы можно было произвести напиток, когда жидкость поступит в капсулу в районе верхней стенки 17 капсулы 1 и затем вступит во взаимодействие с ингредиентами 3. Предпочтительными ингредиентами являются, например, молотый кофе, чай или любые другие ингредиенты, из которых можно произвести напиток, или другую жидкость, или вязкий пищевой продукт (например, суп).
Фиг.2 показывает положение, в котором пользователь поместил капсулу в держатель капсулы 13, причем оболочка из фольги 5 прислоняется к стороне рельефного компонента 12 держателя капсулы 13, а основной корпус в форме чаши 4 капсулы 1 уже частично окружен кольцевой стенкой 25 ограждающего элемента 9 аппарата для производства напитка 2. Показанный ограждающий элемент имеет форму раструба. Допустимы другие формы, при которых конструкция выемки ограждающего элемента в основном подогнана к контурам капсулы 1.
Следует отметить, что оболочка из фольги 5, как показано, не является полностью плоской из-за избыточного давления внутри капсулы, а это избыточное давление создается посредством ввода, например, защитного газа, когда производится заполнение капсулы 1.
Ограждающий (в виде раструба) элемент 9 дополнительно включает в себя кольцевой опорный плинтус 18, функция которого будет объяснена позже, наружную резьбу 19 для установки элемента в виде раструба в аппарате для производства напитка и впускное отверстие для воды 20, чтобы подавать жидкость, такую как, например, горячая вода под давлением, в инжектор воды 14, который монтируется посредством разъемного соединения (крепится винтами) на элементе в виде раструба 9.
Следует отметить, что именно резьба 19 представляет собой пример средства соединения, которое может быть разъемным или неразъемным.
Другие компоненты аппарата для производства напитка, такие как, например, механизм для перемещения элемента в виде раструба и, возможно, также держателя капсулы, известны по предшествующим технологиям в области использования аппаратов эспрессо, основанных на применении капсулы.
Инжектор воды включает в себя компонент для перфорации (лезвие, шип и т.д.) 14, сконструированный для создания отверстия в нижней стенке 17 капсулы 1, когда держатель капсулы 13 и элемент в виде раструба 9 близко сдвинуты вместе вручную или автоматическим устройством. Чтобы создать более широкий участок открытия, чем фактический участок плоскости компонента для перфорации, канал или отверстие (не показанное на чертежах) пересекает компонент для перфорации 14 таким образом, чтобы вода могла подаваться внутрь капсулы 1, как только компонент для перфорации 14 продвинется внутрь этой капсулы. Следует отметить, что в капсуле может иметься предварительно проделанное отверстие для впуска воды и что средством для впрыскивания воды может быть трубка или выпускной канал, который соответствует предварительно проделанному отверстию капсулы. В этом случае требуемое отверстие может быть образовано без производства перфорации, но посредством использования средства открытия, такого как клапан и т.д.
Капсула 1 в соответствии с описанным вариантом конструкции включает в себя верхнюю стенку 17, боковую стенку 7 и обод в виде фланца 6, причем в этой капсуле оболочка из фольги 5 приварена к ободу в виде фланца 6, чтобы герметически уплотнить основной корпус в форме чаши 4 капсулы 1. Кроме того, возможны и другие конструкции капсулы, если капсула может быть уплотнена и может содержать указанные ингредиенты.
В соответствии с настоящим изобретением внутри капсулы 1 имеется специальный уплотняющий элемент 8. Этот уплотняющий элемент 8 может быть упругим, благодаря используемому материалу и/или благодаря геометрической форме уплотняющего элемента 8.
Кроме того, уплотняющий элемент 8 может составлять единое целое с капсулой 1 или являться ее отдельной частью. В последнем случае уплотняющий элемент может присоединяться посредством разъемного соединения к основному корпусу 4 или неподвижно прикрепляться к нему, например, сваркой или с помощью клеящих средств.
В случае, когда уплотняющий элемент 8 является отдельной частью, присоединенной к капсуле 1, он может быть смонтирован как составляющий единое целое с капсулой. В качестве альтернативы, он может быть применен в текучей или вязкой форме и затем может принять отвержденную форму (например, может полимеризироваться), когда будет наложен на внешнюю поверхность капсулы, как, например, в случае применения силикона.
Если для уплотняющего элемента 8 используется упругий материал, предпочтительно, чтобы были использованы резиновые эластичные материалы.
В случае если для уплотняющего элемента использован тот же самый материал, что и для капсулы (например, такой металл, как алюминий, или пластики), предпочтительно, чтобы упругое свойство этого уплотняющего элемента обеспечивало его геометрическую форму.
В том варианте конструкции, которому соответствует фиг.2, уплотняющий элемент 8 упруго отклоняется благодаря тому, что он имеет форму выступа. Этот уплотняющий элемент изготовлен из того же самого материала, что и капсула, предпочтительно из пластиков. Он может составлять единое целое с основным корпусом 4 капсулы 1.
Гибкий выступ 8 отходит от внешнего края обода в виде фланца 6. Этот уплотняющий элемент 8 продолжает зажимающую часть 29 обода в виде фланца, но ее зажатие не допускается, поскольку она должна свободно отклоняться под давлением. Зажимающая часть 29 обода в виде фланца сконструирована так, чтобы образовывать кольцевую поверхность, которая зажата по меньшей мере частично подогнанными поверхностями аппарата для производства напитка. В результате уплотняющий элемент 8 освобожден от усилий или нагрузок, которые могут воздействовать на обод в ходе прорыва оболочки из фольги 5 рельефными компонентами 12.
Следует отметить, что этот отклоняющийся уплотняющий элемент 8 может быть расположен на любом месте на капсуле 1, если это место адаптировано для внешнего контакта уплотнения уплотняющего элемента 8 и ограждающего элемента 9 между инжектором воды 14 и отверстиями в оболочке из фольги 5. Уплотняющий элемент 8 может также быть предусмотрен в области верхней стенки 17 капсулы 1, окружающей инжектор воды 14, когда инжектор воды находится в позиции продвижения внутрь капсулы 1. Уплотняющий элемент 8 может также располагаться так, чтобы покрывать различные части (верх, боковую стенку, обод в виде фланца) капсулы.
Как подробно показано на фиг.3, элемент в виде раструба в соответствии с этим вариантом конструкции не включает в себя никакого специального упругого уплотняющего элемента. Однако ограждающий элемент 9 аппарата для производства напитка 2 факультативно может также включать в себя упругий уплотняющий элемент.
Отклоняющаяся в разных направлениях уплотняющая поверхность 15 элемента в виде раструба 9 сконструирована для взаимодействия с упруго отклоняющимся уплотняющим элементом 8 капсулы 1. Отклонение уплотняющей поверхности противоположно отклонению свободного гибкого выступа, составляющего уплотняющий элемент.
В зависимости от формы и материала уплотняющего элемента 8 капсулы 1 взаимодействующая поверхность элемента в виде раструба 9 может иметь любые форму, местоположение и ориентацию, адаптированные к контакту уплотнения с уплотняющим элементом 8 капсулы 1.
При закрытии аппарата вокруг капсулы, как показано на фиг.4, элемент в виде раструба 9 и держатель капсулы 13 вместе зажимают капсулу вдоль зажимной части 29 обода в виде фланца. Для этого элемент в виде раструба 9 может включать в себя одну или более кольцеобразных поднимающихся частей, которые крепко защемляют или зажимают зажимную часть 29 капсулы на принимающей части поверхности 31 держателя капсулы. Зажимная часть может, кроме того, иметь углубление, которое является дополнительной выемкой поверхности 31. Поэтому кольцеобразная полость 32 образовалась как результат компоновки при герметизации элемента в виде раструба 9 и держателя капсулы 13, который содержит в себе уплотняющий элемент 8. В результате капсула прочно держится на месте и силы растяжения освобождены на незакрепленном выступе, который может свободно отклоняться в полости в направлении отклоняющейся уплотняющей поверхности 15, посредством чего может быть достигнута полная водонепроницаемая изоляция.
Фиг.4 показывает положение, в котором элемент в виде раструба 9 и держатель капсулы 13 введены в тесный контакт посредством давления и, с помощью воды, поступающей внутрь капсулы и создающей в ней давление, пирамидальные рельефные компоненты 12 держателя капсулы 13 уже образовали отверстия в оболочке из фольги 5 капсулы 1. При установке капсулы элемент в виде лезвия инжектора воды образует отверстие 16 в верхней стенке 17 капсулы 1, когда создано достаточное давление внутри капсулы. Напиток, произведенный из ингредиентов, содержащихся в капсуле, может быть выпущен через маленькие промежутки между рельефными компонентами 12 и окружающей их оболочкой из фольги 5.
В положении, показанном на фиг.4, упруго отклоняющийся уплотняющий элемент 8 капсулы 1, то есть гибкий выступ, отгибается к соответствующей отклоненной уплотняющей поверхности 15 ограждающего элемента 9. Гибкий выступ является краем боковых стенок основного корпуса капсулы, и край этого выступа изогнут под углом А, при неподвижном состоянии (относительно плоской зажимной части 29 обода или уплотняющей плоскости Р), и этот угол составляет более чем примерно 90 градусов, предпочтительно он должен быть между 95 и 175 градусов. Уплотняющая поверхность 15 образует предпочтительно угол наклона В относительно уплотняющей или герметизирующей плоскости Р при измерении во внутреннем направлении к капсуле, составляющий 90 градусов или менее. Предпочтительно угол наклона В составляет от 85 до 50 градусов. Таким образом, исходная сила отгибания является силой, прижимающей уплотняющий элемент 8 к уплотняющей поверхности 15 аппарата для производства напитка перед тем, как вода впрыснута в капсулу. Эта сила отгибания обычно будет создаваться посредством слабого отклонения уплотняющего элемента во время относительного движения между ограждающим элементом 9 и капсулой 1, опирающейся на держатель капсулы 13. Следует отметить, что уплотняющий элемент может также отгибаться к поднимающемуся вверх краю 28 держателя 13, чтобы завершить выполнение уплотнения. Для этого край 28 может включать в себя наклонную оконечную поверхность, как показано на фиг.3, на которой уплотняющий элемент может дополнительно отгибаться.
Кольцевой опорный плинтус 18 теперь покрывает конец обода в виде фланца 6 капсулы 1, в то время как зажимная часть 29 зажата между поверхностями 30, 31 аппарата для обеспечения того, чтобы уплотняющий элемент 8 мог свободно отклоняться, а капсула оставалась в положении, когда уплотняющая поверхность 15 элемента в виде раструба произведет определенное давление на уплотняющий элемент 8.
Фактически, уплотняющий элемент 8 в форме плинтуса представляет собой пример конструкции, обеспечивающей самоукрепляющееся уплотняющее устройство при вхождении в воде под давлением в контакт с уплотняющей поверхностью (поверхностями) аппарата для производства напитка. Предпочтительно, чтобы эффект самоукрепления достигался путем использования давления воды для усиления контакта уплотнения, а не для его ослабления. Обычно давление воды будет действовать на уплотняющий элемент капсулы таким образом, что этот элемент прижимается к взаимодействующей уплотняющей поверхности с силой, превышающей исходную силу отгибания.
Вода, поступающая из инжектора воды, будет сдавливаться в промежутке между внешней стороной капсулы и ограждающим элементом и в конечном счете достигнет уплотняющего элемента 8 в форме плинтуса. Этот уплотняющий элемент в форме плинтуса будет по меньшей мере частично удерживать поток воды, отгибаясь к уплотняющей поверхности кольцеобразного элемента. Это исходное воздействие, задерживающее поток, приведет к возрастанию давления на верхней стороне уплотняющего элемента, что, в свою очередь, приведет к более сильному прижиманию уплотняющего элемента к уплотняющей поверхности и, таким образом, к контакту уплотнения, который тем более прочен, чем выше давление воды на контакт уплотнения.
Следует отметить, что нет необходимости в том, чтобы контакт уплотнения был уже совсем обеспечен перед впрыскиванием воды, поскольку имеется соприкосновение, предпочтительно определенное отгибание уплотняющего элемента к уплотняющей поверхности ограждающего элемента, что приведет к давлению на уплотняющий элемент, который, в свою очередь, произведет соответствующий контакт уплотнения, останавливающий поток воды. Самоукрепляющееся сближение может, таким образом, привести к динамично развивающемуся контакту уплотнения.
До некоторой степени приемлемо, если в начале впрыскивания воды произойдет определенная внешняя протечка воды, исходный поток которой будет потом остановлен автоматически динамикой контакта уплотнения. Это является противоположностью известным изолирующим технологиям, в которых исходное уплотняющее воздействие имеет тенденцию ослабевать вместе с ходом впрыскивания воды.
Даже если уплотняющая поверхность не является совершенно чистой и гладкой, динамика контакта уплотнения может все же привести к приемлемой изоляции.
В противоположность известным контактам уплотнения в указанной технической области, давление воды работает для осуществления уплотнения, а не против нее.
Следует отметить, что в соответствии с описанным вариантом конструкции исходная зона контакта между уплотняющим элементом и взаимодействующей уплотняющей поверхностью имеет форму окружности. При повышении давления эта зона контакта будет фактически все в большей и большей степени принимать форму кольцеобразной поверхности из-за деформации уплотняющего элемента. Альтернативные разработки могут уже представить эту исходную кольцеобразную зону контакта. В то же время в настоящем варианте конструкции первоначально (то есть в положении, когда нет повышения давления) в основном только внешний край плинтуса соприкасается с взаимодействующей уплотняющей поверхностью 15. Могут быть придуманы другие конструкции, в соответствии с которыми ее большая часть или даже весь уплотняющий элемент соприкасается с взаимодействующей уплотняющей поверхностью.
В качестве альтернативы, взаимодействующая поверхность ограждающего элемента аппарата для производства напитка является не плоской поверхностью, а, например, выступающим кольцом, к которому первоначально отогнут уплотняющий элемент. В этом сценарии зона исходного контакта может быть в форме линии.
В любом случае, находясь под давлением воды, гибкий уплотняющий элемент 8 капсулы 1 будет приспосабливать свою форму все ближе к форме взаимодействующей поверхности аппарата для производства напитка.
Когда капсула 1 находится в позиции, показанной на фиг.4, и затем после окончания процесса производства напитка, держатель 13 открыт и капсула вынута из держателя капсулы 13 или элемента в виде раструба 9.
В варианте конструкции, показанном на фиг.5, выемки 22 предусмотрены в окружности держателя капсулы 13, то есть они равномерно прорезаны в поднимающемся вверх крае 28, и эти выемки 22 срабатывают для выпуска жидкости, которая может осаждаться или скапливаться на поверхности держателя капсулы, или жидкости, стекающей каплями с капсулы перед ее выемкой.
Формула изобретения
1. Капсула для содержания в ней ингредиентов напитка, причем капсула (1) выполнена с возможностью расположения ее в аппарате для производства напитка (2) для обеспечения поступления жидкости под давлением в капсулу (1) для взаимодействия с ингредиентами (3) в капсуле (1), в которой внешняя сторона капсулы (1) представляет собой упруго отклоняющийся под давлением жидкости уплотняющий элемент (8), при этом уплотняющий элемент является частью обода в виде фланца (6) капсулы, отличающаяся тем, что обод в виде фланца включает в себя зажимающую часть (29), которая служит опорой для усилий зажима, когда капсула установлена на место в аппарате для производства напитка, при этом зажимающая часть обода (29) образует кольцевую поверхность, и уплотняющий элемент (8) продолжает зажимающую часть (29).
2. Капсула по п.1, отличающаяся тем, что уплотняющий элемент (8) геометрически расположен так, чтобы отгибаться по меньшей мере к одной уплотняющей поверхности (15) аппарата для производства напитка (2), когда капсула (1) установлена в аппарат для производства напитка (2).
3. Капсула по п.2, отличающаяся тем, что уплотняющий элемент (8) имеет конфигурацию, отгибающуюся к уплотняющей поверхности (15) ограждающего элемента (9) аппарата для производства напитка (2).
4. Капсула по п.4, отличающаяся тем, что упруго отклоняющийся уплотняющий элемент (8) является свободным выступом, отходящим от обода капсулы (1).
5. Капсула по п.1, отличающаяся тем, что капсула (1) включает в себя основной корпус в форме чаши (4), при этом упруго отклоняющийся уплотняющий элемент (8) предусмотрен на боковой стенке основного корпуса (4) капсулы (1).
6. Капсула по п.1, отличающаяся тем, что уплотняющий элемент (8) изготовлен из гибкого материала.
7. Капсула по п.1, отличающаяся тем, что капсула (1) и уплотняющий элемент (8) изготовлены из пластиков.
8. Капсула по п.1, отличающаяся тем, что уплотняющий элемент (8) выполнен так, чтобы представлять самоукрепляющееся уплотняющее устройство, когда эта часть прижата к уплотняющей поверхности (15).
9. Система производства напитка, включающая в себя капсулу (1), в соответствии с любым из предшествующих пунктов, и аппарат (2) для производства напитка, причем этот аппарат имеет по меньшей мере одну уплотняющую поверхность (15), к которой отгибается уплотняющий элемент (8) капсулы (1), когда капсула (1) установлена в аппарате (2) для производства напитка и/или когда создается давление воды в этом аппарате для производства напитка, чтобы заставить воду поступать только внутрь капсулы.
10. Система производства напитка, включающая в себя капсулу (1), в соответствии с любым из пп.1-8, и аппарат (2) для производства напитка, причем аппарат (2) для производства напитка имеет ограждающий элемент (9) с уплотняющей поверхностью (15), находящийся в контакте уплотнения, с уплотняющим элементом (8) капсулы (1), когда капсула (1) установлена на место в ограждающем элементе (9), причем контакт уплотнения является самоукрепляющимся, когда используется давление.
11. Способ производства напитка, включающий в себя следующие этапы: обеспечение капсулы (1), содержащей ингредиенты, установка капсулы (1) в аппарате для производства напитка (2), выполнение обода в виде фланца с зажимающей частью (29), когда капсула установлена на место в аппарате для производства напитка, образование по крайней мере первого отверстия в первой части стенки (4) капсулы (1), обеспечение поступления жидкости в капсулу (1) через по крайней мере первое отверстие в основном корпусе (4), и образование по крайней мере второго отверстия во второй части стенки и выпуск напитка из второго отверстия капсулы (1), в котором осуществляют отделение обоих отверстий контактом уплотнения от по меньшей мере одной изолирующей поверхности аппарата для производства напитка (2) и уплотняющим элементом на внешней стороне капсулы (1), причем уплотняющий элемент (8) отгибают к уплотняющей поверхности аппарата для производства напитка (2), и в котором зажимающая часть обода (29) образует кольцевую поверхность, и уплотняющий элемент (8) продолжает зажимающую часть (29).
12. Способ производства напитка, включающий в себя следующие этапы: обеспечение капсулы (1), содержащей ингредиенты, установка капсулы (1) в аппарате для производства напитка (2), выполнение обода в виде фланца с зажимающей частью (29), когда капсула установлена на место в аппарате для производства напитка, образование по крайней мере первого отверстия в первой части стенки капсулы, обеспечение поступления жидкости в капсулу (1) через первое отверстие в основном корпусе (4), образование по крайней мере второго отверстия во второй части стенки и выпуск напитка из второго отверстия капсулы (1), и отделение по крайней мере первого и второго отверстий контактом уплотнения от по меньшей мере одной уплотняющей поверхности аппарата для производства напитка (2) и уплотняющим элементом на внешней стороне капсулы (1), причем уплотняющий элемент (8) является самоукрепляющимся, когда используется давление, и в котором зажимающая часть обода (29) образует кольцевую поверхность, и уплотняющий элемент (8) продолжает зажимающую часть (29).
РИСУНКИ
|
|