|
|
(21), (22) Заявка: 2006128596/09, 02.02.2005
(24) Дата начала отсчета срока действия патента:
02.02.2005
(30) Конвенционный приоритет:
06.02.2004 US 60/542,530
(43) Дата публикации заявки: 10.02.2008
(46) Опубликовано: 10.01.2010
(56) Список документов, цитированных в отчете о поиске:
RU 2198479 С2, 10.02.2003. US 2003012176 A1, 16.01.2003. US 2003231607 A1, 18.12.2003. WO 03093951 A2, 13.11.2003.
(85) Дата перевода заявки PCT на национальную фазу:
04.08.2006
(86) Заявка PCT:
IB 2005/050441 20050202
(87) Публикация PCT:
WO 2005/076543 20050818
Адрес для переписки:
129090, Москва, ул. Б.Спасская, 25, стр.3, ООО “Юридическая фирма Городисский и Партнеры”, пат.пов. Ю.Д.Кузнецову, рег. 595
|
(72) Автор(ы):
ДЕЛЬ ПРАДО ПАВОН Хавьер (US), СООМРО Амджад (US), НАНДАГОПАЛАН Саишанкар (US), ЧЖУН Чжунь (US), ЧАЛЛАПАЛИ Киран С. (US), ХАБЕТА Йорг (US), ХИРТЦ Гвидо (US)
(73) Патентообладатель(и):
КОНИНКЛЕЙКЕ ФИЛИПС ЭЛЕКТРОНИКС Н.В. (NL)
|
(54) ПРОТОКОЛ РАССЫЛКИ СИГНАЛОВ-МАЯКОВ ДЛЯ ad-hoc СЕТЕЙ
(57) Реферат:
Изобретение относится к беспроводным сетям связи. Технический результат заключается в повышении эффективности использования ресурсов. Предоставлен протокол управления распределенным доступом к среде (MAC), который включает в себя суперфрейм (102), имеющий период (104) рассылки разбитых на интервалы сигналов-маяков и период (103) передачи данных. Предоставленный суперфрейм (102) содержит множество интервалов (107) доступа к среде, и множество интервалов (107) доступа к среде назначено к периоду (104) рассылки разбитого на интервалы сигнала-маяка. Длина (106) периода рассылки сигнала-маяка может быть фиксированной или переменной. Предоставленный протокол рассылки сигнала-маяка определяет инициализацию ad-hoc сети посредством начала (101) периода (104) рассылки сигнала-маяка, присоединения к существующему периоду (104) рассылки сигнала-маяка ad-hoc сети и разрешения коллизий в течение периода рассылки сигнала-маяка. 2 н. и 17 з.п. ф-лы, 7 ил., 1 табл.
Настоящее изобретение имеет отношение к системе и способу протокола рассылки сигналов-маяков для ad-hoc сетей (одноранговых сетей с произвольной структурой).
Популярность беспроводных локальных сетей увеличивается, и для поддержки спроса на различные типы служб в одной беспроводной среде получили развитие несколько решений для уровня управления доступом к среде (MAC), в том числе действующие протоколы IEEE 802.11 и IEEE 802.11e. В результате существует несколько протоколов связи для поддержки возможности соединения ad-hoc сетей в беспроводных сетях, такие как независимый базовый набор служб (IBSS) протокола IEEE 802.11 или семейство протоколов IEEE 802.15. Эти протоколы определены в стандарте IEEE 802.11-1999 (Reaff 2003), Часть 11: “Спецификация уровня управления доступом к среде передачи (MAC) и физического уровня (PHY) беспроводной локальной сети”, издание 2003 года и в стандарте IEEE 802.15.3-2003, Часть 15.3: “Спецификация уровня управления доступом к беспроводной среде передачи (MAC) и физического уровня (PHY) высокоскоростных беспроводных персональных сетей”, издание 2003 года, которые, таким образом, включены здесь по ссылке во всей их полноте.
Стандарт IEEE 802.11 определяет две основные функции для доступа к беспроводной среде: функцию централизованной координации (Point Coordination function, PCF) и функцию распределенной координации (Distributed Coordination Function, DCF). Функция распределенной координации (DCF) ответственна за службы асинхронной передачи данных и обрабатывает период конкуренции, во время которого передающие станции конкурируют друг с другом за доступ, используя схему коллективного доступа к среде с обнаружением несущей и предотвращением коллизий (CSMA/CA).
Беспроводные персональные сети (WPAN) взаимодействуют среди конкурирующих узлов, которые расположены ближе к друг другу, чем в типичной беспроводной локальной сети (WLAN). Беспроводные персональные сети могут иметь потребность в среде нулевой инфраструктуры.
Промышленная группа по продвижению технологий многодиапазонной передачи данных с использованием метода OFDM (MBOA от MultiBand OFDM Alliance) также определяет протокол управления доступом к среде передачи (MAC) для беспроводных персональных сетей, см. “Спецификация управления доступом к беспроводной среде передачи (MAC) MBOA для высокоскоростных беспроводных персональных сетей”. Техническая спецификация, проект документа версия 0.5, апрель 2004 года, который, таким образом, включен здесь по ссылке во всей своей полноте. Протокол управления доступом к среде передачи (MAC) MBOA является распределенным, то есть равноправные устройства имеют одно и то же поведение протокола и одни и те же возможности аппаратных средств/программного обеспечения. Управление доступом к среде передачи (MAC) MBOA основано на резервировании среды устройствами, таким образом устраняя времена считывания и коллизий в среде. Также протокол управления доступом к среде передачи (MAC) MBOA устраняет всякую потребность в сетевой инфраструктуре путем распределения функций по всем узлам (устройствам) беспроводной персональной сети и основан на режиме работы усовершенствованного распределенного доступа к каналу (EDCA) протокола IEEE 802.11e. В протоколе распределенного управления доступом к среде передачи (MAC) MBOA нет точки доступа или центрального координатора для беспроводной персональной сети. В протоколе распределенного управления доступом к среде передачи (MAC) MBOA поддерживаются синхронная, асинхронная и изохронная передача данных.
Изохронная передача данных – это зависящая от времени передача данных, где есть определенные временные ограничения, наложенные на доставку данных. Например, изохронный транспортный механизм требуется для потоков мультимедиа для гарантии того, что данные доставляются с такой скоростью, с какой они отображаются, и для обеспечения синхронизации звука с видео. В отличие от этого асинхронные процессы содержат потоки данных, которые могут быть разделены случайными интервалами, а синхронные процессы содержат потоки данных, которые нужно доставлять только через предопределенные равные интервалы. Ограничения по времени для изохронной службы не являются столь же строгими, как ограничения для синхронной службы, но они не столь мягкие, как для асинхронной службы.
Две главные проблемы, которые до сих пор требуют решения, – это управление питанием и синхронизация. Например, устройство должно иметь возможность перейти в неактивное состояние, когда не ожидается трафик, адресованный к нему. Механизм, обеспеченный в независимом базовом наборе служб (IBSS) протокола IEEE 802.11, является очень неэффективным и несовершенным в эффективной синхронизации устройств. В частности, это предполагает, что все устройства слушают друг друга, когда это не всегда тот случай.
Имеется потребность в протоколе распределенного управления доступом к среде передачи (MAC), который обеспечивает как эффективное управление питанием, так и синхронизацию и предусматривает распределенное резервирование времени среды.
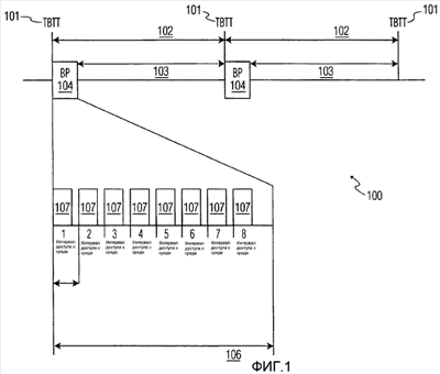
Теперь со ссылкой на фиг.1, настоящее изобретение обеспечивает протокол распределенного управления доступом к среде передачи (MAC), содержащий структуру 102 суперфрейма и процедуры для использования этой структуры 102 суперфрейма, которые, среди других преимуществ, улучшают управление питанием и синхронизацию в ad-hoc сетях. В соответствии с настоящим изобретением предоставленная структура суперфрейма управления доступом к среде передачи (MAC) включает в себя разбитый на интервалы период (104) рассылки сигналов-маяков, содержащий множество интервалов 107 доступа к среде и период 103 передачи данных. Все устройства ad-hoc сети участвуют в рассылке сигналов-маяков. Доступ к среде в интервалах доступа к среде периода передачи данных основан на усовершенствованном распределенном доступе к каналу (EDCA) или подобном ему механизме или механизме распределенного резервирования.
Методика, используемая для поддержания координации между взаимодействующими устройствами в ad-hoc сети, в соответствии с настоящим изобретением заключается в периодической передаче сигнала-маяка. Сигналы-маяки обеспечивают основную синхронизацию для сети, в том числе информацию относительно изохронного резервирования. Устройства, которые хотят взаимодействовать, должны принадлежать одной и той же группе маяка или набору устройств, которые находятся в пределах дальности беспроводной связи данного устройства и этого сигнала-маяка в течение одного и того же периода сигнала-маяка.
Снова со ссылкой на фиг.1, в протоколе распределенного управления доступом к среде передачи (MAC) MBOA настоящего изобретения каждый суперфрейм 102 содержит множество интервалов 107 доступа к среде (MAS). Интервалы доступа к среде (MAS) разделены между периодом 104 сигнала-маяка и периодом 103 передачи данных, см. также фиг.2b. Чтобы передавать/принимать сигналы-маяки, устройства определяют промежуток времени, соответствующий непрерывному набору 104 из смежных интервалов 107 доступа к среде (MAS) как период 104 сигнала-маяка (BP), который строго резервирован для передачи и приема сигнала-маяка. Группу устройств, которые совместно используют это эфирное время сигнала-маяка, или период 104 сигнала-маяка, называют группой маяка. Таким образом, группа маяка определена локально относительно данного устройства как набор устройств, которые синхронизируют свои передачи сигнала-маяка в пределах того же самого подмножества интервалов 107 доступа к среде (MAS) и которые идентифицируют это подмножество 104 интервалов 107 доступа к среде (MAS) как свой период 104 маяка. В соответствии со спецификацией MBOA период 104 маяка определен как восемь смежных интервалов доступа к среде, определяемых сигналами-маяками одного или более устройств как период сигнала-маяка или разделенный на интервалы период 104 рассылки сигнала-маяка. В соответствии с предпочтительным вариантом осуществления количество интервалов 107 доступа к среде (MAS), назначенных для периода 104 сигнала-маяка, может быть фиксированным, например быть равным 8 интервалам доступа к среде, или переменным. MBOA определяет период 104 сигнала-маяка как имеющий 24 интервала сигнала-маяка, эквивалентных восьми интервалам доступа к среде, причем каждый интервал доступа к среде содержит три интервала сигнала-маяка, см. фиг.2a. Количество интервалов сигнала-маяка может быть переменным и не установленным в зависимости от количества интервалов 107 доступа к среде, назначенных для периода сигнала-маяка.
Кластер – это набор устройств в пределах дальности беспроводной связи устройства, он включает в себя все устройства в пределах группы маяка. Кластер может также включать в себя устройства в пределах дальности беспроводной связи, которые принадлежат другой группе маяка.
Таким образом, длина 106 периода сигнала-маяка (ВР) может быть фиксированной или переменной. Если она является фиксированной, соответствующее фиксированное количество интервалов 105 сигнала-маяка определяет максимальное количество устройств, которые могут работать одновременно в одном том же местоположении и на одной частоте. Однако длина 202 интервала сигнала-маяка является фиксированной и зависит от длины кадра сигнала-маяка, т.е. времени, требуемого для передачи кадра сигнала-маяка.
Другие особенности и преимущества настоящего изобретения будут ясны из следующих чертежей и подробного описания изобретения.
Фиг.1 иллюстрирует структуру суперфрейма в соответствии с настоящим изобретением;
Фиг.2a – разбитый на интервалы период рассылки сигнала-маяка в соответствии с настоящим изобретением, причем интервал доступа к среде содержит три интервала сигнала-маяка;
Фиг.2b – суперфрейм в соответствии с настоящим изобретением, содержащий множество интервалов доступа к среде, которые разделены на период сигнала-маяка и период передачи данных;
Фиг.3 – архитектуру беспроводной системы связи, к которой должны быть применены варианты осуществления настоящего изобретения; и
Фиг.4 – упрощенную блок-схему беспроводного устройства системы связи фиг.3 в соответствии с вариантом осуществления настоящего изобретения;
Фиг.5 – диаграмму конечных состояний для функциональных возможностей синхронизации протокола рассылки сигналов-маяков;
Фиг.6 – диаграмму конечных состояний для протокола коллизий и разрешений сигналов-маяков (BCRP) в течение периода рассылки сигнала маяка.
Обычным специалистам в данной области техники должно быть понятно, что последующие описания даны в целях иллюстрации, а не для ограничения. Специалист понимает, что существует много разновидностей, которые лежат в пределах сущности изобретения и объема формулы изобретения. Излишние подробности известных функций и операций могут быть опущены в настоящем описании, чтобы не затруднять понимание настоящего изобретения.
Настоящее изобретение имеет отношение к ad-hoc сетям, в которых время канала разделено на суперфреймы, и каждый суперфрейм начинается с периода сигнала-маяка (ВР). Период сигнала-маяка (ВР) используется для отправки сигналов-маяков. Фиг.1 иллюстрирует структуру 100 суперфрейма управления доступом к среде (MAC) в соответствии с настоящим изобретением. В ad-hoc сети все устройства участвуют в посылке сигналов-маяков. Каждая структура 100 суперфрейма управления доступом к среде (MAC) содержит последовательность из, по меньшей мере, одного суперфрейма 102 и также содержит разбитый на интервалы период 104 сигнала-маяка, который начинается в планируемое время начала сигнала-маяка (Target Beacon Transition Time, TBTT) или во время 101 начала периода рассылки сигнала-маяка (Beaconing Period Start Time, BPST) и продолжается в течение длины 106 разбитого на интервалы периода сигнала-маяка и который включает в себя множество интервалов 105 сигнала-маяка, таким образом новые устройства могут присоединиться к сети, за указанным разбитым на интервалы периодом 104 сигнала-маяка следует период 103 передачи данных. Длина 106 периода сигнала-маяка может быть фиксированной или переменной.
Как проиллюстрировано на фиг.2a, время между каждым смежным интервалом 105 сигнала-маяка больше, чем короткий промежуток 203 между фреймами (short inter frame space, SIFS). Интервал 107 доступа к среде является основной единицей измерения коммуникации. Как проиллюстрировано на фиг.2b, суперфрейм предпочтительно разделен на 256 интервалов 107 доступа к среде. Каждый интервал доступа к среде имеет длину 256 мкс, что приводит к длине суперфрейма 65 мс. Интервал 107 доступа к среде может использоваться для усовершенствованного распределенного доступа к каналу (EDCA), протокола распределенного резервирования (DRP) для передачи данных или рассылки сигналов-маяков. Несколько типов интервала доступа к среде определены в зависимости от того, как интервал 107 доступа к среде используется данным устройством или устройствами поблизости. Таблица резюмирует все типы интервала доступа к среде.
| Определение типов интервалов доступа к среде |
| Тип интервала доступа к среде |
Количество интервалов доступа к среде |
Примечания |
| Период Маяка |
Переменное, >1, предпочтительно 8 |
Интервалы зарезервированы для передачи Маяка |
| EDCA |
Переменное, >=1 |
Интервалы используются только для EDCA |
| DRP |
Переменное, >=1 |
Интервалы используются как зарезервированные интервалы. Определено несколько подтипов в соответствии с категорией DRP. |
Перед тем как связь может быть установлена, устройство должно создать свою собственную группу маяка или присоединиться к существующей группе маяка. Для каждого периода сигнала-маяка предпочтительно используются восемь последовательных интервалов 107 доступа к среде как интервалы 105 сигнала-маяка, где все устройства, которые принадлежат группе маяка, передают сигналы-маяки. Время начала суперфрейма определяется началом периода сигнала-маяка и определено как планируемое время начала сигнала-маяка (TBTT) в протоколе IEEE 802.11 и время начала периода рассылки сигнала-маяка (BPST) в управлении распределенным доступом к среде (MAC) MBOA.
В предпочтительном варианте осуществления период 104 рассылки сигнала-маяка определен для использования восьми интервалов 107 доступа к среде. Каждый интервал 107 доступа к среде включает в себя три интервала 107 сигнала-маяка, разделенных короткими промежутками между фреймами (SIFS), и поэтому период сигнала-маяка содержит двадцать четыре интервала 105 сигнала-маяка в управлении распределенным доступом к среде (MAC) MBOA. Количество интервалов может быть переменным, как уже было указано. Длина 106 разбитого на интервалы периода сигнала-маяка может быть фиксированной или переменной. Если она является фиксированной, количество интервалов 105 сигнала-маяка является фиксированным и определяет максимальное количество устройств, которые могут работать одновременно в одном и том же местоположении и на одной частоте. В конечном счете, однако, длина 202 интервала сигнала-маяка зависит от длины кадра сигнала-маяка.
Суперфрейм 102 настоящего изобретения также включает в себя период 103 передачи данных, содержащий оставшиеся интервалы 107 доступа к среде из суперфрейма 102, т.е. интервалы доступа к среде суперфрейма, находящиеся не в периоде 104 сигнала-маяка. В течение периода 103 передачи данных суперфрейма 102 устройства отправляют и принимают данные либо через ассоциативный приоритетный доступ к каналу, называемый усовершенствованным распределенным доступом к каналу (EDCA), либо используя доступ к каналу на основе резервирования, называемого протоколом распределенного резервирования (DRP).
Сигнал-маяк включает в себя, но без ограничения, такую информацию, как:
(1) Идентификацию устройства и его возможностей;
(2) Карту идентификации трафика (TIM);
(3) Поле занятости интервала сигнала-маяка;
(4) Связанные ячеистые сети и
(5) Распределенные резервирования среды.
Эта информация может быть передана в виде информационных элементов в сигнале-маяке, как определено в стандартах IEEE 802.11 или IEEE 802.15.
Использования рассылки сигналов-маяков настоящего изобретения включают в себя, но не ограничиваются:
(1) Управление питанием;
(2) Обнаружение устройства через быстрое ассоциирование;
(3) Маршрутизацию многоинтервальных сообщений и
(4) Синхронизацию нескольких одноранговых пар;
(5) Распределенное резервирование среды.
Управление питанием: настоящее изобретение способствует экономии энергии каждым устройством. Все устройства просыпаются в планируемое время начала сигнала-маяка (TBTT) или во время начала периода рассылки сигнала-маяка (BPST) для приема сигнала-маяка. Устройства с трафиком в очередях включают в себя устройства адресата в карте идентификации трафика. Устройства, которые принимают адресованную к ним карту идентификации трафика, остаются активными в течение следующего периода конкуренции суперфрейма. Устройства могут заснуть, как только период сигнала-маяка суперфрейма закончился и карта идентификации трафика очищена. Устройства могут также заснуть перед концом суперфрейма, если фрейм был принят с признаком “Есть еще данные”, установленным в значение ноль.
Обнаружение устройства через быстрое ассоциирование: Все устройства посылают сигнал-маяк в течение периода рассылки сигналов-маяков. Устройства могут быть обнаружены во время одного суперфрейма, как только сигнал-маяк был принят.
Маршрутизация многоинтервальных сообщений: Сигналы-маяки включают в себя информацию относительно окружения устройства. Эта информация, включенная в элемент информации о занятости периода сигнала-маяка (Beacon Period Occupancy Information Element, BPOIE) в сигналах-маяках, может использоваться для нахождения самого короткого или самого дешевого пути к конкретному устройству.
Синхронизация: Каждое устройство сканирует среду на предмет сигналов-маяков. Если не принят ни один сигнал-маяк, устройство устанавливает свое собственное планируемое время начала сигнала-маяка (TBTT) или время начала периода рассылки сигнала-маяка (BPST) и передает первый сигнал-маяк. Однако если сигнал-маяк принят, устройство ищет пустой интервал в разбитом на слоты периоде сигнала-маяка и выбирает его, если он доступен. Как только интервал выбран, устройство всегда посылает свой сигнал-маяк в этом интервале, если не обнаружена коллизия. Если принят более чем один сигнал-маяк, то устройство синхронизируется на самые быстрые часы.
Может случиться, что два устройства используют один и тот же интервал сигнала-маяка, и поэтому необходим механизм проверки и разрешения коллизий (BCRP). Устройства передают поле занятости интервала сигнала-маяка в своих собственных сигналах-маяках:
(1) поле занятости интервала сигнала-маяка включает в себя информацию о количестве интервалов и идентификаторах устройств принятого сигнала-маяка;
(2) если либо данный интервал сигнала-маяка в принятом сигнале-маяке обнаружен как пустой, либо кадр сигнала-маяка принят неправильно, по меньшей мере, предопределенное количество раз, поле занятости интервала сигнала-маяка считается пустым или не включает в себя информацию для данного интервала;
Когда устройство, посылающее сигнал-маяк, принимает, по меньшей мере, предопределенное количество раз область (области) занятости интервала сигнала-маяка, которая не включают в себя свою собственную информацию интервала сигнала-маяка или включают в себя другой идентификатор устройства в том же самом интервале, устройство ищет новый пустой интервал сигнала-маяка.
Распределенное резервирование среды: устройство может объявить в своем сигнале-маяке специфическое резервирование времени периода передачи данных суперфрейма. Все устройства принимают это объявление при приеме сигнала-маяка и таким образом узнают о резервировании времени. Устройства не осуществляют передачу в течение зарезервированного времени соседних устройств.
Система и способ настоящего изобретения могут использоваться для беспроводных персональных сетей и локальных сетей 300, в которых беспроводные устройства 301 содержат модуль управления доступом к среде, измененный в соответствии с настоящим изобретением. Фиг.3 показывает иллюстративную беспроводную сеть, к которой должны быть применены варианты осуществления настоящего изобретения. В соответствии с принципами настоящего изобретения обеспечивается модуль 400 управления доступом к среде, см. фиг.4, выполненный с возможностью выполнения протокола рассылки разбитого на интервалы сигнала-маяка таким образом, что облегчена, по меньшей мере, одна из функций из группы, состоящей из управления питанием каждого устройства, распределенного резервирования и синхронизации среди беспроводных устройств ad-hoc сети. Должно быть отмечено, что сеть, проиллюстрированная на фиг.3, является маленькой только в целях иллюстрации. На практике беспроводные персональные сети и беспроводные локальные сети могут включать в себя намного большее количество беспроводных устройств, внедряющих настоящее изобретение.
Теперь со ссылкой на фиг.4, каждое устройство 301 в пределах ad-hoc сети, как проиллюстрировано на фиг.3, может включать в себя модуль 400 управления доступом к среде с архитектурой, которая проиллюстрирована в блок-схеме фиг.4. Каждое устройство 301 может включать в себя модуль 400 управления доступом к среде, имеющий контроллер 402, соединенный, по меньшей мере, с передатчиком 401, компонентом 403 обработки разбитого на интервалы сигнала-маяка в соответствии с настоящим изобретением, и приемник 404. Передатчик 401 и приемник 404 соединены с антенной 405. Компонент 403 обработки разбитого на интервалы сигнала-маяка обеспечивает адаптивное программирование, таким образом, например, длина периода рассылки сигнала-маяка приспособлена к различным протоколам связи, в том числе протоколу IEEE 802.11, протоколу Bluetooth и любому другому протоколу, поддерживающему беспроводные ad-hoc сети, известные в области техники. Только в качестве примера, в протоколе IEEE 802.11 независимый базовый набор служб (IBSS) является ad-hoc сетью, к которой применимо настоящее изобретение. Ad-hoc сеть начинается данной станцией, выполненной с возможностью проведения ad-hoc операции “поиска” сигналов-маяков, содержащих имя сети (идентификатор набора сервисов, Service Set ID, SSID), соответствующее имени, которое сконфигурировано. Когда Маяки с соответствующими идентификаторами набора сервисов (SSID) приняты данной станцией и выданы другой станцией, работающей в режиме ad-hoc сети, данная станция присоединяется к сети, т.е. беспроводной локальной сети, другой станции. Если не принят ни один сигнал-маяк с соответствующим именем сети, станция сама выдаст сигналы-маяки, чтобы установить ad-hoc сеть, имеющую сконфигурированный идентификатор набора сервисов (SSID).
Со ссылкой теперь на фиг.5, проиллюстрирована диаграмма конечных состояний (FSD) для функциональных возможностей синхронизации компонента 403 обработки разбитого на интервалы Маяка. Устройство пробуждается до планируемого времени начала сигнала-маяка (TBTT) 501 и/или выполняет проверку на Маяк(и) 502. Либо принят, по меньшей мере, один Маяк, либо не принято ни одного Маяка, и устройство соответственно переходит из состояния 502 проверки к состоянию 503 проверки на интервал Маяка или к состоянию 504 установки ad-hoc сети. Из состояния 503 проверки на интервал Маяка устройство переходит к состоянию 506 синхронизации, если доступен пустой интервал Маяка. После синхронизации устройство может передавать данные, если данные находятся в очередях (507), или может перейти в неактивное состояние и снова активизироваться перед следующим планируемым временем начала сигнала-маяка (TBTT) или временем начала периода рассылки сигнала-маяка (BPST) (501). Если в очередях (507) имеются данные, устройство может перейти в неактивное состояние (505), как только все данные доставлены. Если не доступен ни один интервал, устройство может установить вторую ad-hoc сеть с новым Периодом Маяка (504) или оно может перейти в неактивное состояние до следующего суперфрейма (505). В качестве альтернативы, если устройство не принимает ни одного Маяка, оно может установить ad-hoc сеть путем установки планируемого времени начала сигнала-маяка (TBTT) или времени начала периода рассылки сигнала-маяка (BPST) и т.д. 504.
Теперь со ссылкой на фиг.6, проиллюстрирована диаграмма конечных состояний для обнаружения и разрешения коллизий сигналов-маяков (BCRP) компонента 403 обработки разбитого на интервалы сигнала-маяка. Предположим, что устройство выполнило функцию синхронизации из фиг.5 и установило ad-hoc сеть (504) или синхронизировалось с существующей ad-hoc сетью (506). Диаграмма конечных состояний для обнаружения и разрешения коллизий сигналов-маяков начинается выбором устройством пустого интервала 601 в периоде рассылки сигналов-маяков. Устройство ожидает планируемое время начала сигнала-маяка (TBTT) или время начала периода рассылки сигнала-маяка (BPST) 602 и отправляет сигнал-маяк в выбранном пустом интервале, в том числе вычисленный элемент информации о занятости периода сигнала-маяка (BPOIE) из предыдущего суперфрейма 603. В течение периода рассылки сигнала-маяка устройство принимает сигналы-маяки, если таковые имеются, от других устройств в группе маяка 604 и сохраняет идентификатор устройства передатчиков сигнала-маяка 605. Эти идентификаторы устройств вместе с номерами интервала включены в элемент информации о занятости периода сигнала-маяка (BPOIE) в переданном сигнале-маяке следующего суперфрейма 603. Элементы информации о занятости периода сигнала-маяка (BPOIE) принятых сигналов-маяков также декодируются 606.
Параллельно устройство выполняет операцию маркировки интервалов как занятых/пустых 606. Все интервалы, где сигнал-маяк был принят или включен в принятые элементы информации о занятости периода сигнала-маяка (BPOIE), отмечаются как занятые. Интервалы, которые были отмечены как занятые, изменяются на пустые, если сигнал-маяк не был принят в интервале в течение предопределенного количества N последовательных суперфреймов и информация интервала не была включена в элементы информации о занятости периода сигнала-маяка (BPOIE), принятые от любого устройства в той же самой группе маяка в течение предопределенного количества N последовательных суперфреймов.
Обнаружение и разрешение коллизий сигналов-маяков (BCRP) продолжается исследованием принятых элементов информации о занятости периода сигнала-маяка (BPOIE). Если собственный идентификатор устройства был включен во все принятые элементы информации о занятости периода сигнала-маяка (BPOIE), устройство переходит к нормальной операции и ждет следующего планируемого времени начала сигнала-маяка (TBTT) или времени начала периода рассылки сигнала-маяка (BPST) 602. Если его собственный идентификатор устройства отсутствует в одном или более элементах информации о занятости периода сигнала-маяка (BPOIE), счетчик (который поддерживается для каждого элемента информации о занятости периода сигнала-маяка (BPOIE)) увеличивается устройством, указывая количество последовательных суперфреймов, в которых его собственный идентификатор устройства отсутствовал в этом конкретном элементе информации о занятости периода сигнала-маяка (BPOIE) 607. Если идентификатор устройства отсутствовал в конкретном элементе информации о занятости периода сигнала-маяка (BPOIE) для большего, чем предопределенное количество N, количества суперфреймов, устройство выбирает новый интервал 601 и перезапускает процесс. Иначе устройство ожидает следующего планируемого времени начала сигнала-маяка (TBTT) или времени начала периода рассылки сигнала-маяка (BPST) 602.
Несмотря на то, что были проиллюстрированы и описаны предпочтительные варианты осуществления настоящего изобретения, специалисты в данной области техники поймут, что суперфрейм, который описан здесь, является иллюстративным, и для суперфрейма могут быть сделаны различные изменения и модификации, и для его элементов могут быть осуществлены замены без отступления от истинного объема настоящего изобретения. Кроме того, много модификаций может быть сделано для приспособления идей настоящего изобретения к конкретной ситуации без отступления от его основных рамок, например, позиция периода рассылки сигнала-маяка может отличаться от иллюстративного начала суперфрейма. Поэтому подразумевается, что настоящее изобретение не ограничено отдельными вариантами осуществления, раскрытыми в качестве предполагаемого наилучшего способа осуществления настоящего изобретения, но что настоящее изобретение включает в себя все варианты осуществления, попадающие в рамки приложенной формулы изобретения.
Формула изобретения
1. Способ рассылки сигналов-маяков для устройства, участвующего в ad-hoc сети связи устройств, т.е. одноранговой сети с произвольной структурой, содержащий этапы, на которых осуществляют: a) деление времени доступа к среде на периодическую последовательность из, по меньшей мере, двух суперфреймов (102), причем каждый суперфрейм начинается в начальное время (101) периода рассылки сигналов-маяков и содержит период (104) рассылки сигналов-маяков и период (103) передачи данных; b) разделение каждого суперфрейма (102) на множество смежных интервалов 107 доступа к среде (MAS); c) назначение заранее определенного количества смежных интервалов доступа к среде (MAS) в начале каждого суперфрейма в качестве периода рассылки сигналов-маяков; d) назначение оставшихся MAS в качестве периода передачи данных; e) выполнение, по меньшей мере, одного из следующих действий: запуска новой ad-hoc сети путем выполнения этапов (a)-(h), передачи сигнала-маяка в пределах по меньшей мере одного MAS периода рассылки сигналов-маяков для резервирования конкретного времени периода передачи данных, занимая таким образом пустой MAS из множества смежных MAS, и перехода в неактивное состояние до начала следующего периода рассылки сигналов-маяков с последующей активизацией и повторением этапа (с); f) рассылку собственного сигнала-маяка в указанном занятом MAS; g) прием передач данных от других устройств в течение периода передачи данных; h) передачу данных другим устройствам в течение периода передачи данных.
2. Способ по п.1, в котором этап рассылки сигнала-маяка дополнительно содержит этап передачи сигнала-маяка, содержащего, по меньшей мере, один набор информации, выбранной из группы, состоящей из: информации идентификации устройства и возможностей, карты идентификации трафика (TIM), выполненной с возможностью указания устройства адресата для данных, сохраненных в очереди данных устройства, поля занятости интервала сигнала-маяка, включающего в себя информацию, в которой MAS (107) принятого сигнала-маяка был передан и идентификационный номер передающего устройства, связанной ячеистой сети и распределенных резервирований времени доступа к среде.
3. Способ по п.2, дополнительно содержащий этап приема других сигналов-маяков от других устройств в течение периода (104) рассылки сигналов-маяков суперфрейма (102), причем указанные другие сигналы-маяки содержат, по меньшей мере, один набор информации, выбранной из группы, состоящей из информации идентификации устройства и возможностей, TIM, поля занятости интервала сигнала-маяка, связанной ячеистой сети и распределенных резервирований времени доступа к среде; и в котором этап рассылки сигнала-маяка дополнительно содержит включение в информацию собственного сигнала-маяка, содержащего, по меньшей мере, один набор информации, выбранной из группы, состоящей из информации идентификации устройства и возможностей, TIM, поля занятости интервала сигнала-маяка, связанной ячеистой сети и распределенных резервирований времени доступа к среде.
4. Способ по п.3, дополнительно содержащий этап обнаружения других устройств в течение времени одного суперфрейма (102), если другие сигналы-маяки были приняты.
5. Способ по п.3, дополнительно содержащий этапы: активизации в начале (101) следующего суперфрейма; если карта идентификации трафика любого из принятых других сигналов-маяков адресована устройству, выполняющему этапы: i. сохранения активного состояния в течение периода (103) передачи данных суперфрейма (102), если карта идентификации трафика не пуста, ii. перехода в неактивное состояние в течение периода (103) передачи данных суперфрейма (102), если карта идентификации трафика пуста; и iii. перехода в неактивное состояние, если фрейм данных принят в течение периода (103) передачи данных суперфрейма с битом “Есть еще данные”, указывающим должно ли устройство заснуть перед концом суперфрейма (102), установленным в значение ноль.
6. Способ по п.3, дополнительно содержащий этапы: приема информации в других сигналах-маяках относительно окружения устройства; и использования принятой информации относительно окружения устройства для нахождения пути передачи на основе критериев, выбранных из группы, состоящей из наименьшего количества интервалов и наименьшей стоимости.
7. Способ по п.3, дополнительно содержащий этапы: определения, на основе информации о занятости интервала в принятом сигнале-маяке, для каждого MAS из указанного множества смежных MAS того, является MAS либо пустым, либо принятым неправильно; если для предопределенного количества последовательных суперфреймов MAS, занятый устройством, определен как либо пустой, либо принятый неправильно, и содержит информацию о другом устройстве, то считается, что произошла коллизия в MAS, занятого устройством, и устройство выполняет этап (с), чтобы разрешить коллизию.
8. Способ по п.3, в котором: этап передачи дополнительно содержит передачу данных в течение периода (103) передачи данных, соответствующих резервированию среды, переданному в собственном сигнале-маяке; и этап рассылки сигнала-маяка также содержит сохранение резервирования среды до тех пор, пока передача данных не закончена.
9. Способ по п.8, в котором резервирование доступа к среде в течение периода (103) передачи данных суперфрейма (102) основано на одном из механизмов резервирования, выбранных из группы, состоящей из механизма усовершенствованного распределенного доступа к каналу (EDCA) и механизма распределенного резервирования, в котором устройство выполнено с возможностью объявлять в своем передаваемом сигнале-маяке конкретное резервирование времени периода (103) передачи данных суперфрейма (102).
10. Способ по п.1, в котором: суперфрейм (102) содержит первое предопределенное MAS (107), имеющих первую предопределенную длину; упомянутый период (104) передачи сигнала-маяка содержит второе предопределенное количество MAS такое, что каждый MAS (107) состоит из идентичного третьего предопределенного количества интервалов (105) сигнала-маяка, за которыми следует промежуток (203) больший, чем короткий промежуток между фреймами; и упомянутый период передачи данных содержит оставшееся количество интервалов доступа к среде, равное разности между первым предопределенным количеством и вторым предопределенным количеством.
11. Способ по п.10, в котором: упомянутое первое предопределенное количество равно 256; упомянутая первая предопределенная длина равна 256 мкс, таким образом, суперфрейм имеет длину 65 мс; упомянутое второе предопределенное количество равно 24; упомянутое третье предопределенное количество равно 3.
12. Устройство рассылки разбитых на интервалы сигналов-маяков для устройства (301) ad-hoc сети, содержащее: приемник (404) для приема сигналов-маяков и передачи данных от других устройств (301) ad-hoc сети; передатчик (401) для передачи собственных сигналов-маяков устройства и данных; компонент (403) обработки разбитого на интервалы сигнала-маяка, который обрабатывает принятые сигналы-маяки и принятые передачи данных и собственные сигналы-маяки и собственные передачи данных для передачи; контроллер (402), присоединенный с возможностью взаимодействия: к упомянутому компоненту (403) обработки разбитого на интервалы сигнала-маяка, выполненному с возможностью: разделения времени доступа к среде на последовательность из, по меньшей мере, двух суперфреймов (102), причем каждый суперфрейм начинается в начальное время (101) периода рассылки сигналов-маяков, и содержит период (104) рассылки сигналов-маяков и период (103) передачи данных, разделения каждого суперфрейма на множество смежных интервалов (107) доступа к среде (MAS), назначения заранее определенного количества смежных интервалов доступа к среде (MAS) в начале каждого суперфрейма в качестве периода рассылки сигналов-маяков, назначения оставшихся MAS в качестве периода передачи данных; обработки сигналов-маяков и данных, принятых соответственно в них, и форматирования и управления собственными сигналами-маяками и собственными данными соответственно, которые будут переданы; к упомянутым приемнику (404) и передатчику (401), выполненным с возможностью управления соответственно приемом и передачей сигналов-маяков в течение упомянутого периода (104) рассылки разбитого на интервалы сигнала-маяка и управления соответственно приемом и передачей данных в течение упомянутого (103) периода передачи данных.
13. Устройство по п.12, в котором: по меньшей мере, один суперфрейм (102) содержит первое предопределенное количество MAS, имеющих первую предопределенную длину (106); упомянутый период рассылки сигналов-маяков содержит второе предопределенное количество MAS, такое, что каждый MAS (107) состоит из идентичного третьего предопределенного количества интервалов (105) сигналов-маяков, за которыми следует промежуток (203), больший, чем короткий промежуток между фреймами; и упомянутый период (130) передачи данных содержит оставшееся количество MAS, равное разности между первым предопределенным количеством и вторым предопределенным количеством.
14. Устройство по п.13, в котором: упомянутое первое предопределенное количество равно 256; упомянутая первая предопределенная длина равна 256 мкс, таким образом, суперфрейм имеет длину 65 мс; упомянутое второе предопределенное количество равно 24; упомянутое третье предопределенное количество равно 3.
15. Устройство по п.12, в котором сигнал-маяк содержит, по меньшей мере, один набор информации, выбранный из группы, состоящей из: информации идентификации устройства и возможностей, карты идентификации трафика (TIM), выполненной с возможностью указания устройства адресата для данных, сохраненных в очереди данных устройства, поля занятости интервала сигнала-маяка, включающего в себя информацию, в которой MAS (107) принятого сигнала-маяка был передан и идентификационный номер передающего устройства, информации связанной ячеистой сети и распределенных резервирований времени доступа к среде.
16. Устройство по п.15, в котором контроллер дополнительно выполнен с возможностью: активизации в начале следующего суперфрейма (102); если карта идентификации трафика (TIM) любого из принятых других сигналов-маяков адресована устройству: i. сохранения активного состояния в течение периода (103) передачи данных суперфрейма (102), если карта идентификации трафика не пуста, ii. перехода в неактивное состояние в течение периода (103) передачи данных суперфрейма (102), если карта идентификации трафика пуста; и iii. перехода в неактивное состояние, если фрейм данных принят в течение периода (103) передачи данных суперфрейма с битом “Есть еще данные”, указывающим должно ли устройство заснуть перед концом суперфрейма (102), установленным в значение ноль.
17. Устройство по п.12, в котором другие устройства обнаруживаются в течение времени одного суперфрейма (102), если был принят, по меньшей мере, один другой сигнал-маяк.
18. Устройство по п.17, в котором: принимается информация в других сигналах-маяках относительно окружения устройства; и принятая информация относительно окружения устройства используется контроллером (402) для направления передачи данных через путь на основе критериев, выбранных из группы, состоящей из наименьшего количества интервалов и наименьшей стоимости.
19. Устройство по п.12, в котором контроллер (402) дополнительно выполнен с возможностью: определять на основе информации о занятости интервала в принятом сигнале-маяке, какие MAS являются либо пустыми, либо принятыми неправильно; если для предопределенного количества последовательных суперфреймов (102), MAS, занятый устройством, определен как либо пустой, либо принятый неправильно, и содержит информацию о другом устройстве, то предполагать, что произошла коллизия в MAS, занятого устройством, и предписывать компоненту (403) обработки разбитого на интервалы маяка разрешить коллизию в соответствии с предопределенным механизмом разрешения коллизий.
РИСУНКИ
|
|