|
|
(21), (22) Заявка: 2006128592/09, 03.02.2005
(24) Дата начала отсчета срока действия патента:
03.02.2005
(30) Конвенционный приоритет:
06.02.2004 US 60/542,529 30.09.2004 US 60/614,719
(43) Дата публикации заявки: 10.02.2008
(46) Опубликовано: 10.01.2010
(56) Список документов, цитированных в отчете о поиске:
ХР 002329981, 29.09.2003. RU 2222044 C2, 20.01.2004. RU 2160464 C2, 10.12.2000. WO 01/82037 A2, 01.11.2001.
(85) Дата перевода заявки PCT на национальную фазу:
04.08.2006
(86) Заявка PCT:
IB 2005/050461 20050203
(87) Публикация PCT:
WO 2005/076544 20050818
Адрес для переписки:
129090, Москва, ул. Б.Спасская, 25, стр.3, ООО “Юридическая фирма Городисский и Партнеры”, пат.пов. Ю.Д.Кузнецову, рег. 595
|
(72) Автор(ы):
ХАБЕТА Йорг (US), ХИРТЦ Гвидо (US), ДЕЛЬ ПРАДО ПАВОН Хавьер (US), ЧАЛЛАПАЛИ Киран (US), НАНДАГОПАЛАН Саишанкар (US)
(73) Патентообладатель(и):
КОНИНКЛЕЙКЕ ФИЛИПС ЭЛЕКТРОНИКС Н.В. (NL)
|
(54) СИСТЕМА И СПОСОБ ДЛЯ ПРОТОКОЛА РАСПРЕДЕЛЕННОГО РЕЗЕРВИРОВАНИЯ И УПРАВЛЕНИЯ УЛЬТРАШИРОКОПОЛОСНЫМ ДОСТУПОМ К СРЕДЕ ПЕРЕДАЧИ
(57) Реферат:
Предоставлены система, устройство и способ децентрализованного управления доступом к среде передачи, содержащей улучшенный протокол для управления ультраширокополосным доступом (UWB) к среде передачи (MAC), который включает в себя протокол распределенного резервирования (DRP) для распределенного резервирования среды передачи. Изобретение также относится к любой беспроводной системе, которая использует МАС-протокол, содержащий протокол распределенного резервирования. Техническим результатом является увеличение пропускной способности и улучшение поддержки узловой сети. Для этого способ задействует устройства, объявляющие резервирования среды передачи в маяковых радиосигналах, и устройства, которые принимают такие объявления, касающиеся резервирований. 3 н. и 30 з.п. ф-лы, 20 ил.
Настоящее изобретение относится к протоколу для управления ультраширокополосным (UWB) доступом к среде передачи (MAC). Более детально, настоящее изобретение относится к усовершенствованному протоколу для UWB MAC. Более подробно настоящее изобретение относится к усовершенствованному протоколу для UWB MAC, содержащему протокол распределенного резервирования (DRP). Изобретение также относится к любой беспроводной системе, которая использует MAC протокол, содержащий протокол распределенного резервирования.
Беспроводные персональные вычислительные сети (WPAN) не могут предоставить сетевую инфраструктуру обычной беспроводной локальной вычислительной сети (WLAN). Тем не менее некоторые существующие WPAN типа Bluetooth или IEEE 802.15.3 зависят от центрального модуля типа Координатора сети piconet . Это делает управление топологией более сложным и в конечном счете приводит к устройствам различного типа. Протокол распределенного MAC исключает необходимость в сетевой инфраструктуре, распределяя функции между всеми устройствами, т.е. узлами. Нет точки доступа или центрального координатора для децентрализованной беспроводной персональной вычислительной сети (WPAN). То есть все устройства в децентрализованной WPAN проявляют одинаковое поведение в протоколе и имеют одинаковые аппаратные/программные возможности. Асинхронные и изосинхронные передачи данных поддерживаются в большинстве WPAN. Тогда как в Bluetooth и IEEE 802.15.3 изосинхронная передача организована посредством координатора сети piconet, в настоящем изобретении она управляется полностью распределенным образом.
В настоящем изобретении все устройства объявляют свое использование эфирного времени через передачу маякового радиосигнала, распознают использование эфирного времени соседними устройствами, принимая маяковые радиосигналы от них, и не нарушают использование эфирного времени другими устройствами до непосредственной передачи/приема данных.
Это делает протокол распределенного MAC очень хорошо подходящим для специальных приложений и организации одноранговой сети. Кроме того, резервирование среды устройствами, на которых основан распределенный MAC, исключает обнаружение и моменты коллизий в среде передачи.
Благодаря распределению резервирований среды передачи может быть гарантирована поддержка поточной передачи в реальном времени. Очень эффективный протокол поточной передачи в реальном времени разрешает управляемую доставку данных в реальном времени, таких как аудио- и видеоданных. Источники данных могут включать в себя как передачи оперативных данных, например, живого аудио и видео, так и сохраненного содержимого, например, предварительно записанных данных о событиях. Протокол поточной передачи в реальном времени (RTSP) для распределенного MAC может быть спроектирован для работы с установленными протоколами, такими как RTP и HTTP.
Пропускная способность увеличивается и поддержка узловой сети значительно улучшается.
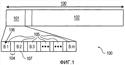
Альянс многополосного OFDM (MBOA) в настоящий момент стандартизирует новый MAC-протокол для UWB. Авторы настоящего изобретения создали базу для этого нового стандарта и передают большую часть текста настоящего изобретения в спецификацию MBOA. Согласно этому изобретению и ассоциативно связанному стандарту MBOA от всех устройств требуется регулярно передавать маяковый радиосигнал 105 для того, чтобы поддерживать согласование между взаимодействующими устройствами. Маяковый радиосигнал 105 обеспечивает основную синхронизацию для сети и передает информацию относительно изосинхронных резервирований. Конкретными параметрами протокола, который был выбран MBOA, являются длина суперкадра 100 65536 [мкс], который составлен из 256 временных интервалов доступа к среде передачи (MAS), где длина каждого MAS составляет 256 [мкс]. Интервалы MAS нумеруются от 0 до 255, и интервал 9 MAS является первым интервалом. Определены несколько типов интервалов в зависимости от того, как MAS используются устройством или устройствами, расположенными рядом.
Перед тем, как может быть связь установлена, устройство должно создать свою собственную группу устройств маякового радиосигнала или присоединиться к существующей группе устройств маякового радиосигнала. Для каждой фазы 102 передачи маякового радиосигнала (также известной как период передачи маякового радиосигнала или BP) 8 последовательных MAS-интервалов используются как временные интервалы передачи маякового радиосигнала, где все устройства передают свои маяковые радиосигналы 105. Начальное время суперкадра 100 определено началом периода 101 маякового радиосигнала и определено как начальное время периода передачи маякового радиосигнала (BPST), а MAS-интервалы нумеруются относительно этого начального времени. Когда устройство инициирует новую группу устройств передачи маякового радиосигнала, оно определяет границу суперкадра в любом интервале времени, который не перекрывается другими резервированиями временного интервала групп устройств передачи маякового радиосигнала.
Усложненный протокол распределенного резервирования или DRP необходим для того, чтобы лучше поддерживать чувствительные к задержке приложения и чтобы обеспечить эффективный доступ к среде в распределенном MAC. Система и способ настоящего изобретения предоставляют DRP, который совместим с задачами распределенного MAC.
Важной характеристикой протокола распределенного MAC и настоящего изобретения является то, что резервирования рассылаются получателем пакета или пачки пакетов. Это позволяет избежать проблемы скрытого терминала, которая в противном случае препятствует эффективной работе в сценариях узловой сети. Отправитель и, в конечном счете, соседи получателя и отправителя также рассылают резервирование.
В протоколе распределенного MAC время делится на суперкадры 100, как проиллюстрировано на фиг.1. В начале каждого суперкадра 100 есть интервал/фаза передачи маякового радиосигнала, также известный как период 101 передачи маякового радиосигнала (BP), за которым следует интервал/фаза 102 передачи данных.
Множество маяковых радиосигналов 105 в BP 101 разделяются коротким межкадровым промежутком (SIFS) плюс mBeaconGuardTime 104 (защитный интервал маякового радиосигнала).
Устройства, которые планируют передачу данных, предлагают будущую начальную точку во времени для передачи, продолжительность передачи, приоритет передачи и т.д. предназначенным получателям запланированной передачи. Начальное время и продолжительность могут быть сообщены либо в форме интервала начального времени или числа временных интервалов, либо в форме битовой карты, в которой, например, 1 сигнализирует об интервалах времени, которые предложены для резервирования. Предсказываются два варианта согласования времени канала: явное DRP-согласование и неявное DRP-согласование.
В варианте явного согласования специализированный кадр управления “Reservation-Request” (“Запрос резервирования”) используется отправителем для того, чтобы начать согласование. Получатель оценивает, свободна ли среда передачи на стороне получателя во время запланированной передачи в будущем. Для того, чтобы быть способным выполнить эту оценку, каждое устройство/узел локально хранит резервирования касательно всех других устройств, например, в битовой карте. Если получатель не имеет другого сохраненного резервирования для намеченного периода, получатель передает положительный ответ отправителю запроса резервирования. Для этой цели используется специализированный кадр управления “Reservation-Response” (“Ответ резервирования”). В случае, когда получатель не готов принять передачу, или в случае, когда получатель сохранил другое резервирование во время запланированного времени, получатель передает отрицательный ответ резервирования отправителю. В этом отрицательном ответе резервирования получатель может необязательно предложить альтернативные моменты времени для запланированной передачи. Эти альтернативные моменты времени могут также быть сообщены в виде начального временного интервала и числа временных интервалов или в виде битовой карты, в которой, например, “1” сигнализирует о возможных временных интервалах на стороне получателя.
Если отправитель и получатель успешно договорились о резервировании, оба устройства включают информацию о резервировании в свои соответствующие кадры передачи маякового радиосигнала в последующий MAC-суперкадр 100. Маяковые радиосигналы 105 передаются в BP 101 в начале суперкадра 100, см. фиг.1. Отправитель и получатели включают информацию о резервировании в свои маяковые радиосигналы 105, чтобы информировать все устройства, окружающие отправителя и получателя(ей), о предстоящей передаче. Устройства, которые принимают такую информацию о резервировании в маяковом радиосигнале 105 другого устройства, регистрируют, т.е. сохраняют эту информацию о резервировании локально, например, в битовой карте и возражают против любого доступа к среде в заявленный момент времени на соответствующем канале (например, последовательности переключения) и на время длительности запланированной передачи. Другими словами, локально сохраненная информация о резервировании используется устройством для того, чтобы определить свободное время в беспроводной среде передачи для своих собственных передач, в которых устройство является или отправителем, или получателем передачи. Для своих собственных передач устройства выбирают периоды, в которых не зарегистрированы резервирования от других устройств, т.е. сохраненные локально.
В предпочтительном варианте осуществления процесс запроса резервирования, ответа резервирования, извещение в кадрах передачи маякового радиосигнала вовлеченных устройств и последующая передача данных проиллюстрированы на фиг.2. MAC-суперкадры 100 начинаются в постоянные интервалы, известные как “начальные моменты времени периода передачи маякового радиосигнала” (BPST) или альтернативно “плановые моменты времени передачи маякового радиосигнала” (TBTT) 201. В данном суперкадре 100 отправитель передает запрос 202 резервирования в течение фазы 102 передачи данных суперкадра 205, а один получатель (в случае одностороннего соединения) или множество получателей (в случае многоадресного соединения) отвечают в том же суперкадре 205 ответом 203 резервирования. Если резервирование успешно согласовано, и отправитель, и получатель(и) включают информацию о резервировании в свои маяковые радиосигналы 204 в BP 101 последующего суперкадра 206.
В случае неявного согласования кадры запроса резервирования и ответа резервирования не затрагиваются и информация о резервировании непосредственно включается в маяковый радиосигнал отправителя. Если получатель обнаруживает, что его идентификатор (ID) устройства или ID группы многоадресной передачи, в которой он участвует, включается в маяковый радиосигнал для потока, который не существовал раньше, он отвечает неявно, также включая информацию о резервировании для этого потока в свой маяковый радиосигнал. Он может или включать такую же информацию о резервировании и, таким образом, принимать предложение, или включать информацию об альтернативном времени/интервалах времени, или отвергать запрос. В случае, когда получатель предложил альтернативные моменты времени, отправитель может или принять альтернативу и включить соответствующую информацию о резервировании в свой маяковый радиосигнал, или начать новое предложение, которое отражает готовность получателя (в конечном счете в последующем суперкадре).
Протокол настоящего изобретения позволяет динамическое резервирование передач в каждом суперкадре 100. Однако для того, чтобы сэкономить служебные данные обмена сообщениями запроса резервирования и ответа резервирования, в предпочтительном варианте осуществления этого изобретения резервирование автоматически интерпретируется как резервирование не только для последующего суперкадра 206, но также для всех последующих суперкадров. В случае, в котором отправитель хочет изменить резервирование, отправитель распространяет новую информацию о резервировании в своем маяковом радиосигнале 105.
В случае явного DRP отправитель или получатель могут закончить резервирование, отправляя кадр прекращения резервирования. В неявном случае резервирование может быть окончено либо посредством удаления DRP-информации из маякового радиосигнала, либо посредством передачи резервирования для того же потока с нулевой продолжительностью. После приема кадра прекращения резервирования или при отсутствующем информационном элементе резервирования в маяковом радиосигнале (или резервировании с нулевой продолжительностью) устройства удаляют свою соответствующую локально сохраненную информацию о резервировании.
В случае, когда устройство принимает информацию о резервировании для времени в будущем, для которого устройство в настоящий момент пытается зарезервировать среду для себя, устройству позволено распространять свое собственное резервирование только в том случае, если приоритет его запланированной передачи выше, чем приоритет принятого резервирования. В случае равных приоритетов среда резервируется на основе случайного числа (подобного, например, идентификатору потока) или на основе первого пришедшего, первого обслуженного. Если устройство обнаруживает, что его собственное резервирование пересилено другим устройством, оно отменяет свою запланированную передачу и пытается сделать новое резервирование в последующем суперкадре. Все другие устройства регистрируют резервирование с наиболее высоким приоритетом (или, например, наименьшим случайным числом) в своей таблице резервирования, сохраненной в локальной памяти 308.
В общих словах, последующие правила применимы всякий раз, когда устройство пытается зарезервировать среду:
(1) если среда уже зарезервирована устройством, другое устройство никогда не сможет отвергнуть это резервирование; и
(2) если два устройства пытаются произвести резервирование в одном и том же суперкадре, превалирует резервирование с более высоким приоритетом (или меньшим случайным ID потока в случае равных приоритетов).
Эти и другие признаки системы и способа настоящего изобретения станут очевидны из последующих чертежей и детального описания настоящего изобретения.
Фиг.1 иллюстрирует формат суперкадра в целом;
Фиг.2 иллюстрирует обзор работы протокола MAC;
Фиг.3A иллюстрирует беспроводную сеть устройств, сконфигурированную согласно настоящему изобретению;
Фиг.3B иллюстрирует устройства, сконфигурированные так, чтобы выполнять децентрализованное управление доступом к среде согласно настоящему изобретению;
Фиг.4 иллюстрирует структуру кадра маякового радиосигнала устройства;
Фиг.5 иллюстрирует структуру информационного элемента возможностей (Capability Information Element);
Фиг.6 иллюстрирует структуру информационного элемента занятия периода передачи маякового радиосигнала;
Фиг.7 иллюстрирует структуру информационного элемента протокола распределенного резервирования с альтернативными структурами информации о резервировании на вспомогательных чертежах 7A, 7B и 7C;
Фиг.8 иллюстрирует структуру поля управления DRP;
Фиг.9 иллюстрирует структуру периода передачи маякового радиосигнала;
Фиг.10 иллюстрирует структуру DRP-команды запроса и необязательной полной DRP-команды;
Фиг.11 иллюстрирует структуру команды DRP-ответа;
Фиг.12 иллюстрирует структуру DRP-команды прекращения;
Фиг.13 иллюстрирует защитный временной интервал;
Фиг.14 иллюстрирует SIFS и защитный временной интервал в конце DRP-резервирования без подтверждения приема (ACK);
Фиг.15 иллюстрирует SIFS и защитный временной интервал в конце DRP-резервирования с немедленным подтверждением приема (Imm-ACK);
Фиг.16 иллюстрирует диаграмму последовательности передачи сообщений (MSC) для отправителя, инициировавшего резервирование одноадресной передачи;
Фиг.17 иллюстрирует MSC для получателя, инициировавшего резервирование одноадресной передачи;
Фиг.18 иллюстрирует MSC для отправителя, инициировавшего резервирование многоадресной передачи;
Фиг.19 иллюстрирует MSC для DRP-прекращения одноадресной передачи;
Фиг.20 иллюстрирует MSC для DRP-прекращения многоадресной передачи.
Подробное описание предпочтительных вариантов осуществления изобретения
Рядовым специалистам в области техники должно быть понятно, что последующие описания предоставлены для целей иллюстрации, а не ограничения. Специалист понимает, что существует множество вариаций, которые находятся в рамках сущности изобретения и цели прилагаемой формулы изобретения. Излишняя подробность известных функций и операций может быть пропущена в настоящем описании так, чтобы не делать неясным настоящее изобретение.
Фиг.3A иллюстрирует типичную беспроводную персональную сеть 300, где должны быть применены варианты осуществления настоящего изобретения. Сети включают в себя множество беспроводных персональных устройств 301 связи. В традиционном подходе каждое устройство 301 может соединяться с любой специальной сетью в его радиодиапазоне 302 и, следовательно, может участвовать в более чем одном BP.
Каждое беспроводное устройство 101 в WPAN 300, показанной на фиг.3A, может включать в себя систему, включающую в себя архитектуру, которая иллюстрируется на фиг.3B. Каждое беспроводное устройство 301 может включать в себя антенну 307, соединенную с приемником 302, который осуществляет связь через беспроводную среду 310 передачи. Устройства 301 каждое дополнительно содержат процессор 303 и модуль 304 обработки протокола распределенного резервирования (DRP). Например, в устройстве процессор 303 выполнен с возможностью приема из приемника 302 команды 1000 DRP-запроса одного или более информационных элементов 700i DRP, имеющих соответствующие положения маякового радиосигнала, и обработки команды 1000 DRP-запроса с использованием модуля 304 обработки DRP для того, чтобы согласовать резервирование и передать данные согласно результату согласования. В устройстве процессор 303 дополнительно выполнен с возможностью использования модуля 304 обработки DRP для того, чтобы форматировать команду 1100 DRP-ответа, которую процессор затем отправляет через передатчик 306 устройству-получателю для того, чтобы ответить на запрос резервирования, задавая параметры, показанные на фиг.11. Дополнительно, резервирования, успешно согласованные, а также принятые в маяковых радиосигналах беспроводным устройством 301, сохраняются в устройстве постоянного хранения или битовой карте 305 DRP для того, чтобы быть использованными процессором 303 и модулем 304 обработки DRP в ответ на будущие запросы резервирования и при планировании собственных будущих резервирований. Подобным образом таблица 308 резервирования, сохраненная в локальной памяти, используется для того, чтобы хранить резервирования, принятые и сделанные устройством 101.
В предпочтительном варианте осуществления в течение BP 101 все устройства, которые находятся либо в активном состоянии, либо в стандартном состоянии энергосбережения, передают свой собственный маяковый радиосигнал 105. Тело кадра маякового радиосигнала 105 содержит следующие поля и информационные элементы (IE), как проиллюстрировано на фиг.4:
– номер 401 временного интервала;
– идентификатор 402 устройства;
– MAC-адрес 403; и
– некоторое число информационных элементов (IE) 404.
Номер 401 временного интервала представляет временной интервал, в котором передается маяковый радиосигнал. Изобретение также применяется к системе, в которой возможно множество периодов передачи маяковых радиосигналов в одном и том же суперкадре для того, чтобы поддерживать больше устройств. Однако ради простоты в дальнейшем предполагается один период маякового радиосигнала.
ID 402 устройства – относительно короткий ID (например, 16 бит), который получен, например, из 48-битного (или 64-битного) MAC-адреса устройства (или случайно выбран) и имеет целью сократить системные издержки, когда обращаются к устройству.
MAC-адрес 403 – это 48-битный (или 64-битный) полный MAC-адрес устройства.
Информационные элементы (IE) 404 могут быть различных типов. Тип информационного элемента может быть идентифицирован и посредством идентификатора (ID) информационного элемента. Примерами элементов IE, которые описаны более детально в этом изобретении, являются следующие элементы:
– информационный элемент возможностей устройства (DEV-cap);
– информационный элемент о занятии позиции маякового радиосигнала (BPOIE); и
– информационный элемент (IE) протокола распределенного резервирования (DRP).
Информационный элемент DEV-cap содержит информацию относительно возможностей устройства и проиллюстрирован на фиг.5. ID 501 элемента идентифицирует IE, длина 502 дает длину IE, а код 503 возможности идентифицирует, например, в форме битовой карты, какие возможности устройство поддерживает. Заметим, что фиг.4, 5, 6, 7, 8, 10, 11 и 12 должны читаться справа налево.
Информационный элемент о занятии позиции маякового радиосигнала (BPOIE), проиллюстрированный на фиг.6, содержит ID 601 элемента, информацию о длине IE 602, информацию о длине всего периода 603 передачи маякового радиосигнала (в случае, когда период передачи маякового радиосигнала переменной длины), дополнительные поля 604, которые не указаны здесь (а только упомянуты для того, чтобы проиллюстрировать, что дополнительные поля учтены в настоящем изобретении) и, в конце концов, список полей 605 информациио временном интервале маякового радиосигнала. Поле 605 информации о временном интервале маякового радиосигнала указывает принятый маяковый радиосигнал 105 от других устройств в соответствующем интервале времени. Следовательно каждое поле информации об интервале времени маякового радиосигнала включает в себя число интервалов (позиций) 607 маякового радиосигнала и короткий ID 606 устройства, которое отправило маяковый радиосигнал 105. Информационный элемент о занятии позиции маякового радиосигнала требуется в каждом маяковом радиосигнале 105, поскольку другие устройства должны быть проинформированы, был ли их собственный маяковый радиосигнал успешно принят или произошла коллизия (накладка) маякового радиосигнала. Последняя может произойти из-за того, что два устройства имеют случайно выбранную одинаковую позицию маякового радиосигнала в BP, или из-за проблемы скрытого терминала в сценариях узловой сети. В последнем сценарии устройство может принять два маяковых радиосигнала 105 из различных устройств в одинаковой позиции в BP 101, если эти два других устройства не могут слышать друг друга и не знают о позиции маякового радиосигнала другого устройства.
Информационный элемент протокола распределенного резервирования (DRP IE) включен в маяковый радиосигнал, если устройство является или отправителем, или получателем будущей передачи в фазе 102 передачи данных этого суперкадра 100. В альтернативном варианте осуществления DRP IE также включен в маяковые радиосигналы непосредственных соседей отправителя и получателей.
В предпочтительном варианте осуществления DRP IE отформатирован, как проиллюстрировано на фиг.7.
ID 701 элемента идентифицирует информационный элемент как DRP IE.
Поле Длина 702 задает длину информационного элемента DRP в количестве октетов. Оно используется для того, чтобы указать начало следующего IE.
Детали 703 DRP проиллюстрированы отдельно на фиг.8 и включают в себя следующие поля:
Бит 801 Tx/Rx установлен в 0, если устройство является отправителем запланированной передачи, и установлен в 1, если устройство является получателем. Бит Tx/Rx декодируется только, если резервирование является типа Жесткое или типа Мягкое. В альтернативном варианте осуществления этого изобретения бит Tx/Rx используется для того, чтобы указать является ли поток однонаправленным (например, без подтверждения приема) или двунаправленным. Если поток является однонаправленным, отправитель может необязательно включать информацию о резервировании в свой маяковый радиосигнал. В дополнительном варианте осуществления бит Tx/Rx не присутствует в DRP IE, поскольку он может не быть строго затребован.
Бит 802 политики подтверждения приема ACK устанавливается в 0 для резервирований одноадресной передачи с политикой отсутствия подтверждения приема (No-ACK) и для резервирований многоадресной или широковещательной передачи и устанавливается в 1 для резервирований одноадресной передачи с политиками Imm-ACK или B-ACK.
Поле 803 типа указывает тип резервирования и кодируется, как показано в Таблице 1.
| Таблица 1 – Типы резервирований |
| 0000 |
Период передачи маякового радиосигнала |
| 0001 |
Жесткое резервирование |
| 0010 |
Мягкое резервирование |
| 0011-1111 |
Зарезервированы |
Приоритет 804 передачи может иметь значение между 0 и 7, где приоритет выбирается согласно IEEE 802.1d Приложение H.2.
ID 805 потока – это случайно выбранное значение, которое идентифицирует поток данных и используется для того, чтобы различать множество потоков между одинаковым набором отправителя и получателя(ей).
Номер 806 канала установлен в номер канала, используемого для передачи данных. В случае, когда передача данных и передачи маякового радиосигнала всегда выполняются в одном и том же канале, это поле изымается из употребления. Оно показано здесь для полноты.
DEVID (идентификатор устройства) 704 адресата/источника установлен в DEVID получателя, группы многоадресной рассылки или ID широковещательной рассылки в случае, когда устройство является отправителем передачи, и установлено в DEVID отправителя в случае, когда устройство является получателем запланированной передачи.
Блок 707 резервирования содержит информацию о зарезервированных периодах времени, интервалах времени передачи маякового радиосигнала внутри суперкадра. Возможны разные способы передать зарезервированные интервалы времени. Три примерных кодирования блока резервирования иллюстрированы на фиг.7A, 7B и 7C. Могут быть придуманы другие способы, которые не меняют сущность настоящего изобретения. Несколько блоков резервирования могут быть включены в один DRP IE. Это может быть полезно для того, чтобы передавать сигнал более чем одного резервирования в одном DRP IE.
В первом варианте осуществления, показанном на фиг.7A, резервирование задано посредством смещения BPST (или альтернативно смещением TBTT или периодом резервирования) 705 и продолжительности 706. Смещение BPST (или смещение TBTT или период) определяют начальное время запланированной передачи. Оно установлено в номер интервала времени первого интервала резервирования, который определен относительно BPST. В альтернативном варианте осуществления (например, для несегментированных систем) смещение BPST дано кратным символам (312,5 нс). Еще в одном варианте осуществления смещение определяется не относительно начального времени периода передачи маякового радиосигнала, а относительно планового времени передачи маякового радиосигнала (TBTT) устройства. В дополнительном варианте осуществления поле смещения задает смещение между двумя последовательными резервированиями, т.е. период резервирования.
Продолжительность 706 содержит, в числах, кратных интервалам данных, продолжительность резервирования. В альтернативном варианте осуществления продолжительность дана в числах, кратных символам (312,5 нс).
В дополнительном варианте осуществления начальная точка и продолжительность резервирования сообщаются посредством битовой карты 708, в которой один или несколько битов описывают состояние каждого MAS, как показано на фиг.7B. В случае использования одного бита на MAS начальная точка резервирования задается, например, посредством первого MAS с “1” в битовой карте, а длина задается посредством числа последовательных “1” в битовой карте.
Только в качестве примера, оба предыдущих варианта осуществления могут также быть объединены в обобщенный блок резервирования, как проиллюстрировано на фиг.7C, где период резервирования, также как и битовая карта, объединены. В поле резервирования наиболее общей формы поле 708 Тип резервирования может указывать, является ли резервирование периодическим с множеством зарезервированных моментов времени в суперкадре или резервирование резервирует один период времени в суперкадре. Особенно в случае одного зарезервированного периода в суперкадре поле «тип резервирования» может также указывать, является ли резервирование только действительным внутри соответствующего суперкадра или оно также действительно для всех последующих суперкадров до тех пор, пока резервирование не будет прекращено. Для того, чтобы объединить период резервирования и битовую карту, например, 256 интервалов суперкадра могут быть разделены на M блоков, где M – это минимально возможный период резервирования. Поле 710 Период затем задает период резервирования как число, кратное минимальному периоду резервирования. Поле 711 смещения задает смещение блока, который включает в себя первое резервирование (для периодических резервирований), одно резервирование в ряд блоков. Поле 712 битовой карты указывает в виде битовой карты зарезервированные интервалы внутри блока резервирования. Таким образом, обобщенная структура поля резервирования является комбинацией понятий смещения и битовой карты.
Заметим, что DRP IE может содержать в себе дополнительные элементы или иметь различную структуру без изменения сущности настоящего изобретения. Примером потенциального дополнительного поля может быть, например, поле, которое указывает, было ли DRP-согласование успешно окончено.
Устройства, которые намереваются участвовать в связи с другими устройствами, применяют способ доступа с периодом BP для того, чтобы отправить маяковый радиосигнал в течение BP 101. Устройство не передает кадры, отличные от маяковых радиосигналов 105, в течение периода передачи маякового радиосигнала. Устройство сканирует на предмет маяковых радиосигналов 105 другие устройства в течение своего BP 101.
BP может быть динамической длины (с данной максимальной длиной) и состоит из некоторого числа интервалов MAS. Каждый интервал MAS содержит 3 интервала передачи маякового радиосигнала продолжительностью mBeaconSlotLength. Длина кадра маякового радиосигнала не может превысить mMaxBeaconLength.
mBeaconSlotLength = mMaxBeaconLength + SIFS + mBeaconGuardTime
Это означает, что маяковые радиосигналы 105 внутри периода BP 101 разделены “коротким межкадровым промежутком” (SIFS) 104 плюс mBeaconGuardTime. Переменный BP 101 имеет важное преимущество в том, что системные издержки передачи маякового радиосигнала минимальны в типичных случаях одного отправляющего и одного или более принимающих устройств.
Если новое устройство присоединяется к сети, оно проверяет, по меньшей мере, один полный первый интервал передачи маякового радиосигнала и оценивает информацию, содержащуюся в маяковых радиосигналах 105. Из принятых маяковых радиосигналов 105, также как и из BPOIE, содержащихся в них, новое устройство отслеживает занятые позиции передачи маякового радиосигнала. В одном и том же или в последующем суперкадре 100 (в зависимости от скорости обработки устройства) устройство передает свой маяковый радиосигнал в одном из свободных интервалов передачи маякового радиосигнала или добавляет его в конец BP, таким образом увеличивая размер BP. Если два устройства имеют выбранную одинаковую дополнительную позицию/номер маякового радиосигнала, например, они присоединены в сеть в одном и том же суперкадре 100, устройства обнаруживают коллизию в последующем суперкадре 100 посредством отсутствия BPOIE. В таком случае устройство повторно передает маяковый радиосигнал 105 в суперкадре 100, который следует за его последней попыткой, в отличающемся свободном интервале передачи маякового радиосигнала.
Подобным образом, BP может также быть уменьшен в размере, если устройство покинуло сеть, и интервал его маякового радиосигнала стал свободным.
Для каждого периода передачи маякового радиосигнала устройство сохраняет битовую карту, чтобы хранить занятость интервалов передачи маякового радиосигнала, и ассоциативно связанный DEVID. Интервал передачи маякового радиосигнала помечается как занятый в битовой карте всякий раз, когда:
a) маяковый радиосигнал принимается в течение этого интервала; или
b) интервал передачи маякового радиосигнала включен в BPOIE, принятый из устройства в той же группе передачи маякового радиосигнала.
Интервал передачи маякового радиосигнала изменяется с занятого на незанятый всякий раз, когда:
a) маяковый радиосигнал не был принят в интервале в течение mMaxLostBeacons последовательных суперкадров, и
b) информация об интервале не была включена в информационные элементы BPOIE, принятые из любого устройства в той же группе передачи маякового радиосигнала в течение mMaxLostBeacons последовательных суперкадров.
Устройства отправляют свой маяковый радиосигнал 105 в одном и том же интервале передачи маякового радиосигнала в последующих суперкадрах, если не происходит коллизии.
Устройства применяют протокол разрешения коллизии передачи маякового радиосигнала (BCRP), чтобы решить коллизии выбора интервала передачи маякового радиосигнала. Устройства включают BPOIE во все маяковые радиосигналы 105.
После приема кадра маякового радиосигнала устройство сохраняет DEVID отправителя и номер интервала, в котором маяковый радиосигнал принят. Эта информация включается в BPOIE, отправляемый передающим маяковый радиосигнал устройством в последующем суперкадре. Только информация о маяковых радиосигналах, принятых в течение суперкадра 101, включается в BPOIE, отправляемый в последующем суперкадре.
Если DEVID устройства отсутствует в BPOIE из соседнего маякового радиосигнала в течение mMaxLostBeacons последовательных суперкадров, устройство изменяет интервал передачи маякового радиосигнала на незанятый интервал в последующем суперкадре. Поддерживаются DRP-резервирования и нет необходимости повторно согласовывать их, если интервал периода маякового радиосигнала изменяется.
Устройства могут передавать маяковый радиосигнал в множестве периодов передачи маякового радиосигнала. Устройства поддерживают отдельную битовую карту для каждой группы устройств передачи маякового радиосигнала. BPOIE вычисляется независимо для каждой группы устройств передачи маякового радиосигнала, и устройство отправляет BPOIE для каждой группы устройств передачи маякового радиосигнала в соответствующем периоде передачи маякового радиосигнала.
Если обнаружен соседний BP 101, устройство включает DRP IE 700 типа резервирования BP в свой собственный маяковый радиосигнал. DRP-резервирование распространяется через интервалы MAS, которые использует соседний BP 101.
Устройства, которые принимают маяковый радиосигнал, который включает в себя DRP-резервирование типа BP, сканируют на наличие соседних BP.
Если во время процесса сканирования обнаружен соседний BP, DRP-резервирование 700 типа BP включается в его собственный маяковый радиосигнал. DRP-резервирование распространяется через интервалы MAS, которые использует соседний BP.
Одноранговые устройства, для которых требуется осуществить связь, передают маяковый радиосигнал в одном и том же BP 101. Если устройство-передатчик осуществляет связь с устройствами, которые передают маяковые радиосигналы в множестве (различных) BP 101, поскольку они являются членами более чем одной группы передачи маякового радиосигнала, устройство-передатчик передает маяковый радиосигнал в этом множестве BP 101.
Устройства периодически сканируют на наличие маяковых радиосигналов во всех существующих BP 101 для того, чтобы поддерживать состояние существующих резервирований и потенциально решить коллизии. Устройства сканируют все периоды передачи маякового радиосигнала, чтобы определить существующие резервирования перед созданием нового резервирования или изменением резервирования. Устройства могут необязательно отправлять маяковые радиосигналы в соседних BP 101 для того, чтобы объявить изменения в резервированиях. Резервирования, принятые из соседних периодов BP 101, обслуживаются в последующем по тем же правилам, что и резервирования внутри группы устройств передачи маякового радиосигнала.
Если существующие DRP-резервирования накладываются с BP 101, BP 101 имеет наивысший приоритет и, следовательно, существующие DRP-резервирования пересогласовываются. Если два или более BP 101 перекрываются, устройства с перекрывающимися маяковыми радиосигналами ищут пустые неперекрывающиеся интервалы времени. Необязательно, устройство может начать новый BP 101 в других незанятых интервалах времени.
BP 101 прекращается и, следовательно, резервирование BP может быть освобождено, когда маяковый радиосигнал 105 не принимается в течение BP 101, по меньшей мере, для mMaxLostBeacons последовательных суперкадров 101.
В предпочтительном варианте осуществления разрешен только один период передачи маякового радиосигнала в каждом суперкадре. Если две прежде разделенные группы устройств и их ассоциативно связанные периоды передачи маякового радиосигнала приходят в зону дальности передачи, они должны объединиться в единый период передачи маякового радиосигнала. Этот один период передачи маякового радиосигнала расположен в начале суперкадра. Правила сканирования других периодов передачи маякового радиосигнала и защита их посредством BP-резервирований не нужны для этого варианта осуществления, но могут быть применены в фазе перехода во время объединения периодов передачи маякового радиосигнала.
Как описано в сущности изобретения, DRP-протокол настоящего изобретения позволяет явное или неявное согласование резервирований. В явном случае резервирования устанавливаются посредством команды DRP-запрос и DRP-ответ или управления подтверждением связи. В альтернативном варианте осуществления применяется трехходовое подтверждение связи, в котором за DRP-запросом и DRP-ответом следует полный кадр DRP, который отправляется тем же устройством, что посылает кадр DRP-запроса. В явном случае резервирование прекращается DRP-кадром прекращения. В другом аспекте изобретения этот DRP-кадр прекращения повторяется всеми устройствами, которые ранее также объявили резервирование. В еще одном аспекте изобретения резервирование прекращается посредством включения DRP IE с нулевой продолжительностью или удаления соответствующего DRP IE.
В неявном случае подтверждение связи выполняется неявно посредством включения DRP IE в маяковые радиосигналы отправителя и получателя(ей), и заранее не отправляются кадры команд/управления.
Команда 1000 DRP-запроса может использоваться для того, чтобы запросить или модифицировать DRP-резервирование. Команда 1000 DRP-запроса имеет формат, как проиллюстрировано на фиг.10.
Каждое поле 700.n DRP IE, включенное в команду 1000 DRP-запроса, соответствует несвязному DRP-запросу. Каждый DRP IE 700.n отформатирован, как определено выше для фиг.7. Идентификатор потока установлен в одно и то же значение в каждом DRP IE 700.n.
Команда 1100 DRP-ответа отформатирована, как проиллюстрировано на фиг.11.
Значение идентификатора 1103 потока копируется из элементов DRP IE 700.n DRP-запроса.
Код 1104 причины указывает, был ли запрос DRP успешным или неуспешным. Коды, изменяемые в этом поле, это:
0 = Успех
1 = Время канала недоступно
2 = Запрошенная суперскорость передачи не поддерживается
3 = Запрос отвергнут
4-255 = Зарезервированы
В течение DRP-согласования одноадресной передачи, если код причины установлен в 1, устройство включает битовую карту 1105 доступности в команду DRP-ответа. Битовая карта 1105 доступности может также быть включена для всех других кодов причины, даже если это не является необходимым.
В течение DRP-согласования многоадресной передачи устройство включает битовую карту 1105 доступности в команду DRP-ответа для кодов причины 0, 1 и 2. С другой стороны, битовая карта 1105 доступности может также быть включена для всех других кодов причины, даже если это не нужно.
Поле 1105 битовой карты доступности содержит 256 бит. Каждый бит соответствует интервалу MAS. Значение, равное 1, указывает, что MAS не доступен для DRP-размещения. Значение, равное 0, указывает, что MAS доступен для DRP. Определение битов может также явно быть инвертировано. В альтернативном варианте осуществления битовая карта также включает в себя более чем один бит на MAS.
В альтернативных вариантах осуществления, в которых начальная точка времени и продолжительность резервирования в DRP IE обозначаются посредством битовой карты или комбинации смещения и битовой карты, отвечающий может также включить полный DRP IE или его часть в кадр DRP-ответа вместо битовой карты доступности.
Необязательная команда DRP-окончания, которая передается в альтернативном варианте осуществления изобретения тем же устройством, что инициировало согласование с кадром DRP-запроса, после того как был принят ответ DRP, имеет такой же формат, что и команда DRP-запроса на фиг.10.
DRP-команда прекращения отформатирована, как проиллюстрировано на фиг.12.
Идентификатор потока указывает идентификацию доставки прекращаемого DRP.
В предпочтительном варианте осуществления второй механизм доступа к среде, основанный на соревновательном (состязательном) доступе, определен помимо DRP-доступа. Этот соревновательный доступ может быть использован для всех интервалов MAS, которые не были ранее зарезервированы посредством протокола DRP. Соревновательный доступ может также быть использован как механизм резервного доступа для трафика, который использует DRP в случае, когда зарезервированное время канала не может быть использовано, например, по причинам помех, а новое резервирование нужно установить.
В случае способа DRP-доступа согласование резервирования запускается зависящим от приложения потоком установки и выполняется в течение или после более высокоуровневого потока установки. Однако DRP-согласование не должно быть рассмотрено как установка соединения, а только как процедура согласования времени канала. Согласование может быть повторено, т.е. распределенное время канала изменяется в любой момент времени в течение срока жизни потока.
DRP настоящего изобретения позволяет устройствам делать резервирование одного или нескольких периодов фазы 102 передачи данных суперкадра 100. Резервирование гарантирует периоды времени передачи, определенные началом интервала MAS и продолжительностью интервалов MAS, битовой картой или комбинацией этих форматов. Механизмы резервирования могут быть использованы, например, для сохранения энергии и/или изосинхронного QoS. Все устройства, которые являются отправителями или получателями DRP-резервирований, объявляют свои резервирования в своих маяковых радиосигналах 105.
Другой тип резервирования является специальным типом жесткого резервирования для других периодов передачи маяковых радиосигналов. Это полезно для других устройств с тем, чтобы обнаружить присутствие чужих периодов передачи маякового радиосигнала.
В предпочтительном варианте осуществления определены различные типы резервирования: жесткие резервирования, мягкие резервирования и резервирования BP 101. Жесткие резервирования эквивалентны интервалу TDMA. Мягкие резервирования могут использоваться для того, чтобы позволить повторно использовать неиспользованное время резервирования. Тип резервирования заявляется в информационном элементе 700 DRP, включенном в маяковый радиосигнал 105, также как и в кадре DRP-команды запроса 1000 в случае явного DRP-согласования. Все устройства декодируют маяковые радиосигналы 105 и DRP IE 700 и следуют правилам доступа, заданным для каждого типа резервирования.
В жестком резервировании только владелец резервирования может иметь доступ к среде передачи, даже если среда передачи не занята. Другим устройствам разрешено иметь доступ к среде передачи только после того, как отправитель и получатель(и) освободили неиспользуемое резервирование.
Во время жесткого резервирования отправитель и получатель(и) зарезервированной передачи данных могут не нуждаться в обмене RTS-/CTS-кадрами перед передачей данных, так как среда передачи уже освобождена вокруг отправителя, так же как и получателя, посредством DRP IE 700, включенного в маяковые радиосигналы 105.
В периоде мягкого резервирования другие устройства могут иметь доступ к среде, следуя правилам соревновательного доступа. Владелец резервирования может иметь доступ к среде с наивысшим приоритетом и без выполнения выдержки по времени. Даже если механизм резервирования будет исключать любые коллизии, может случиться так, что устройство не приняло информацию о резервировании, в таком случае контроль несущей будет исключать потенциальную коллизию. В альтернативном варианте осуществления изобретения даже владелец резервирования должен контролировать среду передачи в течение некоторой продолжительности времени. Мягкий тип резервирования особенно полезен, если отправитель не использует свои ранее зарезервированные интервалы времени. В этом случае интервалы по-прежнему доступны для других устройств в соревновательном (состязательном) режиме.
Резервирования периода передачи маякового радиосигнала могут быть рассмотрены как особый тип жесткого резервирования. Они полезны для того, чтобы защищать периоды передачи чужого маякового радиосигнала (во время фазы перехода перед тем, как периоды передачи маякового радиосигнала объединяются, или в случае, когда разрешено множество периодов передачи маякового радиосигнала в суперкадрах) и чтобы указать присутствие периода передачи чужого маякового радиосигнала соседним устройствам.
Дополнительные типы резервирований возможны и находятся в рамках цели настоящего изобретения.
Защитные временные интервалы требуются для того, чтобы оберегать передачи в смежных резервированиях от перекрытия (коллизий). Кроме того, время SIFS требуется для того, чтобы обеспечить достаточное оборотное время между передачами. Резервирование определяется начальным интервалом 705 MAS и продолжительностью в интервалах 706 MAS, как задано в DRP IE 700.
Защитный временной интервал – это время между концом одного зарезервированного периода и началом следующего зарезервированного периода. Включение SIFS как части зарезервированного периода и размещение защитного интервала между зарезервированными периодами гарантирует, что передачи разделены по меньшей мере посредством SIFS. Фиг.13 – это иллюстрация того, как защитный интервал размещен так, что передачи разделены посредством по меньшей мере SIFS 1301, если владельцы смежных зарезервированных периодов смещаются по направлению друг к другу.
Требуемый защитный интервал зависит от максимального смещения между местными временами DEV. Это смещение является функцией времени, прошедшего с момента опорной синхронизации. Каждое устройство сохраняет номинальное начальное время периода передачи маякового радиосигнала (BPST), которое служит, как время начала отсчета. Устройство устанавливает свой BPST для того, чтобы поддерживать синхронизацию суперкадра с соседним самым медленным тактовым сигналом в своей группе устройств передачи маякового радиосигнала. Устройство измеряет разницу между фактическим временем, в которое маяковые радиосигналы от каждого соседа приняты, и ожидаемыми временами. Разница является положительной, если сосед имеет более медленный тактовый сигнал. Впоследствии устройство задерживает BPST на максимальную разницу со всеми соседями в группе устройств передачи маякового радиосигнала.
Защитный временной интервал является суммой максимально возможного смещения (которое зависит от минимальной точности синхронизации) и времени SIFS.
В жестком резервировании устройство начинает свою передачу в начале первого MAS резервирования на основании своего локального тактового сигнала. В мягком резервировании или альтернативных вариантах осуществления передаче может предшествовать время сканирования. В резервировании отправитель может отправить так много пакетов, сколько он хочет, т.е. также пачка пакетов данных, в которой пакеты разделены, например, временами пауз SIFS.
Получатель может не подтверждать кадры данных (фиг.14), подтверждать каждый кадр данных немедленным (Imm) кадром подтверждения приема (фиг.15) или подтверждать передачу пачки кадров данных кадром подтверждения пачки/задержанным кадром подтверждения приема. Кадр подтверждения приема пачки/задержанный кадр подтверждения приема содержит информацию, которая подтверждает каждый предшествующий пакет данных, таким образом позволяя выборочное отбрасывание поврежденных кадров.
Отправитель гарантирует, что время, требуемое для времени доступа (в случае мягких резервирований) при передаче пачки пакетов данных таково, что подтверждение приема и окончательное время SIFS не превышают длины резервирования. В случае, когда передача от другого устройства блокировала некоторый интервал в течение зарезервированного интервала, отправитель уменьшает количество отправляемых данных соответственно для того, чтобы гарантировать окончание передач по расписанию.
Поскольку тактовые сигналы в одном DEV могут быть быстрее, а другие могут быть медленнее относительно идеального времени, DEV, который ожидает принять либо маяковый радиосигнал 105 в течение BP 101, либо кадр в течение DRP-резервирования, начинает прием перед моментом времени, который он вычисляет таким, чтобы быть началом BP 101 или DRP-резервирования и продолжает прием после момента времени, которое он вычисляет таким, чтобы быть внутри одного SIFS окончания BP 101 или DRP-резервирования. Количество времени, в течение которого DEV прослушивает перед началом DRP-резервирования или BP 101 и после окончания DRP-резервирования или BP 101, соответствует устройству реализации.
Существует два механизма согласования резервирования времени канала: явное согласование посредством выделенных кадров команд/управления DRP-запроса/DRP-ответа 1000/1100 (и необязательно DRP-окончания) и неявное согласование посредством включения DRP IE 700 в маяковые радиосигналы 105 отправителя и получателя(ей). Резервирование согласовывается между отправителем и получателем(ями) запланированной передачи. После того как резервирование установлено, информация о резервировании включается в маяковый радиосигнал 105 отправителя, также как и получателя(ей), в каждом суперкадре 100, в котором резервирование все еще активно. Это необходимо для того, чтобы информировать соседние устройства отправителя и получателя(ей) о существующем резервировании. Маяковые радиосигналы 105 отправителя и получателя(ей) DRP-потока отправляют в одном и том же BP 101. Однако резервирования определяют через BP 101. Следовательно, устройства сканируют все BP 101 для того, чтобы определить существующие резервирования, перед началом нового DRP-согласования или изменением существующего резервирования. Кроме того, устройства периодически сканируют на наличие маяковых радиосигналов 105 все существующие BP 101 для того, чтобы сохранить состояние существующих резервирований и потенциально решить коллизии. В предпочтительном варианте осуществления существует только один период передачи маякового радиосигнала, который должен быть просканирован, декодирован.
Каждое устройство объявляет в своем маяковом радиосигнале 105, способно ли оно к явному DRP-согласованию с использованием кадров команд/управления запроса/ответа DRP 1000/1100 и способно ли оно к неявному DRP-согласованию посредством включения DRP IE 700 в маяковый радиосигнал 105. Устройство не начинает DRP-согласование с устройством, которое не поддерживает соответствующий механизм DRP-согласования. Устройства, которые не способны ни к явному, ни к неявному DRP-согласованию, тем не менее признают резервирования, которые объявлены в DRP IE 700 маяковых радиосигналов 105 других устройств.
Явное DRP-согласование устанавливает использование отправки DRP-команд с использованием, например, механизма состязательного доступа (но могут, например, также быть отправлены внутри уже согласованного резервирования). Явное согласование одноадресной передачи может быть инициировано либо отправителем, либо получателем запланированной передачи, даже если инициированное отправителем согласование является предпочтительным вариантом осуществления изобретения. Явное согласование многоадресной передачи может быть инициировано только отправителем из группы многоадресной передачи. Последовательность сообщений, используемых в течение инициированного отправителем согласования одноадресной передачи, проиллюстрирована на фиг.16, последовательность сообщений, используемых в течение инициированного получателем согласования одноадресной передачи, – на фиг.17. Последовательность сообщений, используемых в течение инициированного отправителем согласования многоадресной передачи, показана на фиг.18. Альтернативный вариант осуществления с трехходовым подтверждением связи не проиллюстрирован явно, поскольку инициатор только отправляет дополнительный кадр DRP-окончания в конце последовательности, чтобы подтвердить окончание согласования.
Инициированное получателем согласование аналогично инициированному отправителем согласованию только с различием в том, что один бит в кадре 1000 команд/управления DRP-запроса установлен в “0” вместо “1”, чтобы указать, что устройство предназначено быть получателем вместо отправителя потока.
Устройство может запросить множество DRP-резервирований для одного и того же потока одновременно с одним DRP-согласованием. В каждом DRP IE 700 начальный интервал MAS, заданный в поле смещения BPST, и продолжительность представляются в числах, кратных интервалам MAS. Идентификатор потока в каждом DRP IE 700 установлен в одинаковое значение, которое выбирается случайно при первой установке потока или задано более высоким уровнем, в то время как гарантируется, что идентификатор потока является неповторимым для пары устройств (или набора устройств в случае многоадресного соединения). Инициатор выбирает интервалы MAS предложенного резервирования на основе своей локально сохраненной информации, таким образом не нарушая существующие резервирования и учитывая доступность получателя(ей).
После приема DRP-запроса с DEVID получателя одноадресной передачи устройство отвечает кадром Imm-ACK, за которым следует кадр команд/управления DRP-ответа. Команда DRP-ответа отправляется с использованием состязательного доступа после того, как Imm-ACK был отправлен и запрос был обработан. Если Imm-ACK не принят, отправитель может повторно передать кадр DRP-запроса в режиме состязательного доступа.
После того как команда 1000 DRP-запроса отправлена, устройство ожидает в течение mDRPRequestTimeout. Если команда 1100 DRP-ответа не принята в течение времени mDRPRequestTimeout после того, как запрос был отправлен, устройство может повторно передать команду 1000 DRP-запроса.
После приема кадра 1000 команд/управления DRP-запроса, в котором DEVID получателя соответствует с ID группы многоадресной передачи, к которой устройство присоединено как подписчик, устройство не отвечает с помощью кадра Imm-ACK. Устройство отвечает на команду с помощью команды 1100 DRP-ответа, например, в состязательном режиме.
Получатель команды 1000 DRP-запроса оценивает, свободна ли среда передачи в течение запрашиваемого времени, согласно локально хранимой информации. Если среда передачи свободна и устройство не имеет передачи или приема, который запланирован в течение запрашиваемого времени, устройство может ответить с помощью команды 1100 DRP-ответа с кодом состояния, эквивалентным успешному, и, таким образом, положительно подтверждая прием DRP-запроса.
Если получатель команды 1000 DRP-запроса не может принять запрос из-за конфликта с другими резервированиями, код причины в команде 1100 DRP-ответа устанавливается в значение “время канала недоступно”. Команда 1100 DRP-ответа включает в себя битовую карту доступности в этом случае для того, чтобы объявить доступные интервалы для DRP.
После приема кода “время канала недоступно” в команде 1100 DRP-ответа отправитель команды 1000 DRP-запроса может повторно инициировать процесс согласования новой командой 1000 DRP-запроса с временем, которое соответствует доступности получателя.
Если получатель команды 1000 DRP-запроса выясняет, что среда передачи занята в течение предложенного времени резервирования, и если альтернативный период не может быть идентифицирован, получатель команды 1000 DRP-запроса отвечает с помощью команды DRP-ответа с кодом причины, установленным в “запрос отвергнут”. Код причины также устанавливается в “запрос отвергнут” в случае, когда получатель не готов принять резервирование по какой-нибудь другой причине.
В случае, когда команда 1000 DRP-запроса отправляется отправителем из группы многоадресной передачи, этот отправитель может принять множество команд 1100 DRP-ответа. Некоторые из ответов могут указывать на неуспешное согласование. Отправитель может попытаться выбрать период резервирования, который возможен для максимального числа получателей, на основе битовой карты доступности в кадрах DRP-ответа. Получатели, которые не могут быть обслужены в течение наиболее подходящего периода, могут быть обслужены в отдельные периоды резервирования одноадресной или многоадресной передачи. Эти резервирования нужно установить посредством отдельных DRP-согласований.
Если отправитель и получатель(и) успешно согласовали резервирование, они включают информацию о резервировании в свои соответствующие маяковые радиосигналы 105 в BP 101 последующих суперкадров 100.
В альтернативном варианте осуществления изобретения только получатель(и) включают информацию о резервировании в свои маяковые радиосигналы. Это может быть возможно, например, в случае однонаправленного соединения.
В дополнительном варианте осуществления получатель и все его непосредственные (в пределах одного прямого соединения) соседние устройства включают информацию о резервировании в свои маяковые радиосигналы.
В еще другом варианте осуществления отправитель, получатель, также как и непосредственные (в пределах одного прямого соединения) соседи отправителя и получателя включают информацию о резервировании в свои маяковые радиосигналы.
В случае, когда или отправитель, или получатель потока одноадресной передачи, или отправитель потока многоадресной передачи хотят изменить резервирование, они могут либо инициировать новый обмен сообщениями команды 1000 DRP-запроса и команды 1100 DRP-ответа, либо использовать неявное DRP-согласование с использованием DRP IE 700 в своих маяковых радиосигналах 105.
DRP-согласование одноадресной передачи с использованием DRP IE 700 в маяковых радиосигналах 105 (называемое неявным согласованием) может быть инициировано либо отправителем, либо получателем запланированной передачи, даже несмотря на то, что инициированное отправителем согласование является предпочтительным вариантом осуществления этого изобретения. Неявное согласование многоадресной передачи может быть инициировано только отправителем из группы многоадресной передачи.
С неявным DPR-согласованием, использующим DRP IE 700 в маяковых радиосигналах 105, команда 1000 DRP-запроса или команда 1100 DRP-ответа не отправляется перед включением DRP IE 700 в маяковые радиосигналы 105 отправителя и получателя(ей) потока. Этот тип DRP-согласования поэтому подходит для устройств, которые не поддерживают состязательный доступ к каналу.
Устройство только инициирует неявное DRP-согласование с устройствами, которые поддерживают, по меньшей мере, неявное DRP-согласование. Устройства, которые поддерживают явное DRP-согласование посредством кадров команд/управления DRP, также поддерживают неявное DRP-согласование. Могут быть устройства, которые поддерживают только неявное DRP-согласование.
Устройство может инициировать неявное DRP-согласование, включая соответствующий DRP IE 700 в свой маяковый радиосигнал 105. “Tx/Rx бит” в DRP IE устанавливается в “0”, если устройство предназначено быть отправителем запланированной передачи, и устанавливается в “1”, если устройство будет получателем. Поле 703 DEVID адресата/источника устанавливается в DEVID партнера(ов) по связи. Для новых потоков идентификатор потока устанавливается в значение, которое в настоящий момент не используется для этого набора устройств. Маяковый радиосигнал 105 с DRP IE 700 отправляется в период BP 101, в котором партнер по связи передает маяковый радиосигнал. Это последнее правило выводится из употребления, если есть только один единственный BP, как в предпочтительном варианте осуществления настоящего изобретения.
Устройство, которое поддерживает неявное DRP-согласование, сканирует все маяковые радиосигналы 105 своих собственных BP 101 на наличие DEVID в поле 704 DEVID адресата/источника всех DRP IE 700. Если DEVID 704 адресата/источника совпадает с собственным DEVID, устройство проверяет находится ли уже идентификатор 805 потока в использовании для осуществления связи с отправителем маякового радиосигнала 105. Идентификатор 805 потока, который не находится в использовании, указывает новое неявное DRP-согласование. Случай неявного DRP-согласования в целях модификации существующего потока трактуется подобно новому неявному DRP-согласованию.
Назначенный получатель DRP IE 700 в маяковом радиосигнале 105 оценивает, свободна ли среда передачи в течение запрашиваемого времени, согласно локально хранимой информации. Если среда передачи свободна, и собственная передача или прием не запланированы в течение запрашиваемого времени, устройство может захватить DRP IE 700 в своем следующем собственном маяковом радиосигнале 105 с помощью инвертируемого бита 801 Tx/Rx и DEVID партнера по связи в поле 743 DEVID адресата/источника. Такой DRP IE интерпретируется как положительное подтверждение неявного DRP-согласования.
Если подразумеваемый получатель DRP IE 700 в начальном маяковом радиосигнале 105 не может принять неявный запрос из-за конфликта с другими резервированиями, он может предложить альтернативные смещения 705 BPST или TBTT в своем DRP IE 700. Он может также включать в себя битовую карту или комбинацию смещения и битовой карты для этой цели. В альтернативном варианте осуществления настоящего изобретения, в котором DRP IE уже включает в себя битовую карту, дополнительная битовая карта не требуется. Инициатор неявного согласования может принять одно из альтернативных предложений резервирования и включить его в свои последующие маяковые радиосигналы 105 или может повторно инициировать процесс согласования с новым предложением резервирования. Последнее не требуется, если отвечающий включил все возможные смещения BPST и продолжительности, например, в виде битовой карты, в свой маяковый радиосигнал.
Включение всех возможных времен резервирования в маяковый радиосигнал отвечающих устройств особенно полезно в случае потоков многоадресной передачи для того, чтобы позволить отправителю найти общее время для резервирования. Получатели, которые не могут быть обслужены в течение окончательно выбранного периода резервирования, могут быть обслужены в отдельные периоды резервирования одноадресной или многоадресной передачи. Эти резервирования нужно установить посредством отдельных DRP-согласований.
Если подразумеваемый получатель DRP IE 700 в начальном маяковом радиосигнале выясняет, что среда передачи занята в течение предполагаемого времени резервирования, и, если альтернативный период не может быть идентифицирован, или если устройство не готово принять резервирование по каким-нибудь другим причинам, он доставляет DRP IE 700 в своем следующем собственном маяковом радиосигнале 105 с инвертированным битом 801 Tx/Rx, DEVID партнера по связи в поле 704 DEVID адресата/источника и полем 706 продолжительности, установленным в ноль. Такой DRP IE 700 с продолжительностью 706, установленной в ноль, интерпретируется как отрицательное подтверждение неявного DRP-согласования. В этом случае инициатор не инициирует повторно неявное DRP-согласование.
Если отправитель и получатель(и) успешно согласовали резервирование, они хранят информацию о резервировании в своих соответственных кадрах 105 маякового радиосигнала в BP 101 последующих суперкадров 100. В альтернативном варианте осуществления изобретения только получатель(и) включают информацию о резервировании в свой маяковый радиосигнал. В дополнительном варианте осуществления получатель и все его непосредственные (в пределах одного прямого соединения) соседние устройства включают информацию о резервировании в свой маяковый радиосигнал. В альтернативном варианте осуществления отправитель, получатель и все непосредственные (в пределах одного прямого соединения) соседи отправителя и получателя включают информацию о резервировании в свой маяковый радиосигнал.
В случае, когда либо отправитель, либо получатель потока одноадресной передачи, или отправитель потока многоадресной передачи хотят изменить резервирование, они могут инициировать новое неявное DRP-согласование. Идентификатор 805 потока старого потока может быть сохранен. Это является причиной, почему устройство, которое поддерживает неявное DRP-согласование, проверяет все принятые DRP IE 700 его собственных существующих потоков на изменения в полях резервирования (например, продолжительность 706, смещение 705 BPST или TBTT) (и необязательное поле 806 номера канала). Измененный DRP IE 700 трактуется подобно новой неявной DRP-инициации.
Если соседний BP 101 обнаружен, DRP IE 700 типа Hard (жесткий) и подтипа BP включается в маяковый радиосигнал 105, чтобы защитить соседний BP 101.
Устройства, которые принимают информацию о резервировании в маяковом радиосигнале 105 от других устройств, хранят эту информацию о резервировании локально и откладывают до какого-нибудь доступа к среде передачи в объявленный момент времени, указанный полем 702 смещения BPST или TBTT в DRP IE 700. Только владельцу резервирования разрешено иметь доступ к среде передачи в начале зарезервированного периода.
Возможно, что два независимых набора устройств выполняют DRP-согласование параллельно. В этом случае могут произойти коллизии резервирования, которые должны быть решены. Если устройство принимает информацию о резервировании для времени в будущем, для которого устройство зарезервировало среду передачи для себя, устройству позволено хранить только это собственное резервирование, если приоритет запланированной передачи устройства выше, чем приоритет принятого резервирования. В случае равных приоритетов преобладает резервирование устройства-передатчика с меньшим идентификатором потока. Вот почему идентификатор потока выбирается случайно. Если устройство обнаруживает, что его собственное резервирование отклоняется другим устройством, оно отменяет свою запланированную передачу и пытается сделать новое резервирование в последующем суперкадре 100. Все устройства модифицируют свою локально хранящуюся информацию о резервировании в случае, когда они принимают резервирование с более высоким приоритетом или меньшим DEVID для одинакового или перекрывающегося по времени периода.
DEV прекращает резервирование, которое было инициировано явным DRP-согласованием, отправляя команду DRP-прекращения. Команда DRP-прекращения потока одноадресной передачи подтверждается с помощью кадра Imm ACK (см. фиг.19). Команда DRP-прекращения не должна быть подтверждена в случае DRP-прекращения многоадресной передачи (см. фиг.20).
В альтернативном варианте осуществления изобретения не только устройство, которое прекращает DRP, но и все устройства, которые ранее разослали резервирования в своих маяковых радиосигналах, отправляют команду DRP-прекращения.
Потоки, которые были установлены посредством неявного DRP-согласования, могут быть завершены посредством удаления DRP IE 700 из маякового радиосигнала 105 или, альтернативно, посредством установки поля продолжительности DRP IE в ноль (или альтернативно полным обнулением битовой карты) и удаления DRP IE впоследствии. Отсутствие DRP IE 700 в корректно принятом маяковом радиосигнале 105 интерпретируется как прекращение потока. В альтернативном варианте осуществления этот механизм может также быть использован вместо команды DRP-прекращения для того, чтобы прекратить потоки, которые были установлены посредством явного согласования.
После того как DRP прекращен, все затронутые DEV очищают DRP IE 700 из своих маяковых радиосигналов 105.
Если маяковый радиосигнал 105 принимается с отсутствующим DRP IE 700, все устройства могут очистить любую локальную информацию, относящуюся к резервированию, ассоциативно связанному с отсутствующим DRP.
Если DEV не принял маяковый радиосигнал 105, который включает в себя один или более DRP IE 700, в течение mMaxLostBeacons последовательных кадров, DEV очищает зарезервированное время (времена) DRP, объявленные в этом маяковом радиосигнале 105.
В то время как предпочтительные варианты осуществления настоящего изобретения были проиллюстрированы и описаны, специалистам в данной области техники будет понятно, что кадр управления, архитектура устройства и способы, которые описаны в данном документе, являются иллюстративными, и различные изменения и модификации могут быть сделаны, а эквиваленты могут заменять его элементы, без отступления от объема настоящего изобретения. Кроме того, многие модификации могут быть сделаны для того, чтобы адаптировать идеи настоящего изобретения к конкретной ситуации без отступления от его сущности. Следовательно, имеется в виду, что настоящее изобретение не должно быть ограничено частными вариантами осуществления, раскрытыми как лучший режим, предполагаемый для выполнения настоящего изобретения, а то, что настоящее изобретение включает в себя все варианты осуществления, подпадающие под объем прилагаемой формулы изобретения.
Формула изобретения
1. Способ децентрализованного управления доступом к среде передачи в беспроводной персональной сети (300), включающей в себя множество устройств (301), содержащий этапы, на которых: разделяют время на последовательность, по меньшей мере, из двух суперкадров (100); и все устройства (301) инструктируются, чтобы регулярно передавать кадр (400) маякового сигнала; по меньшей мере, одно устройство (301) из упомянутого множества передает в одном из суперкадров (100) в плановый момент времени (ТВТТ) (201) передачи маякового сигнала кадр (400) маякового сигнала, который включает в себя резервирование для запланированной передачи упомянутым, по меньшей мере, одним устройством (301), в течение следующего суперкадра, причем резервирование воспринимается всеми устройствами (301), принимающими кадр (400) маякового сигнала, который включает в себя резервирование, кадры (400) маякового сигнала, переданные каждым из множества устройств (301), группируют в суперкадр (100) в качестве, по меньшей мере, одного периода (101) передачи маякового сигнала, при этом упомянутое, по меньшей мере, одно устройство (301) является отправителем (301) упомянутой запланированной передачи; и способ дополнительно содержит этапы, на которых: а. устройство (301), являющееся отправителем, включает резервирование в кадр (400) маякового сигнала во всех суперкадрах (100), в течение которых резервирование активно, и b. включают устройством (301), являющимся получателем запланированной передачи, упомянутое резервирование в кадр (400) маякового сигнала во всех суперкадрах (100), в течение которых резервирование активно.
2. Способ по п.1, в котором период (101) передачи маякового сигнала, имеет начальную точку в начальный момент (BPST) (201) времени периода передачи маякового сигнала, и за ним следует фаза (102) передачи данных.
3. Способ по п.1, дополнительно содержащий этап, на котором прежде, чем создать новое или изменить существующее резервирование от устройства (301), являющегося отправителем, устройство (301), являющееся отправителем, согласовывает с устройством (301), являющимся получателем, передачу, которая запланирована в течение резервирования.
4. Способ по п.3, в котором упомянутый этап согласования содержит этапы, на которых: устройство (301), являющееся инициатором резервирования, передает сообщение (1000) запроса протокола распределенного резервирования (DRP-запрос), содержащее, по меньшей мере, одно описание резервирования, выбранное из группы, состоящей из начального времени и продолжительности, сигнализируемых посредством смещения (705) (711) BPST или ТВТТ, периода (710) резервирования, битовой карты, указывающей зарезервированные моменты времени (706) (708) (712), по меньшей мере, одного номера временного интервала, приоритета (804), индикатора (806) канала/скачкообразной перестройки, и последовательности кодов; и в ответ на упомянутый DRP-запрос упомянутый этап согласования дополнительно содержит этап, на котором, по меньшей мере, одно устройство (301), являющееся получателем резервирования, передает сообщение (1100) ответа протокола распределенного резервирования (DRP-ответ), которое включает в себя указатель (1104) того, что выбрано из группы, состоящей из: предлагаемое резервирование принято, предлагаемое резервирование отвергнуто с альтернативным предложением (1105) резервирования, и предлагаемое резервирование отвергнуто без альтернативного предложения.
5. Способ по п.4, в котором этап согласования дополнительно содержит этап, на котором упомянутое, по меньшей мере, одно устройство, являющееся получателем, дополнительно включает в упомянутый DRP-ответ (1100) одного из следующего, выбранного из группы, состоящей из, по меньшей мере, одного альтернативного предложения доступного времени для резервирования и информации, по меньшей мере, об одном альтернативном доступном времени в течение суперкадра (1105).
6. Способ по п.1, дополнительно содержащий этап, на котором включают в кадр (400) маякового сигнала упомянутого устройства (301) начальное время резервирования относительно опорной точки (705) (711), выбранной из группы, состоящей из: ТВТТ (201) упомянутого устройства (301), BPST (201) периода передачи маякового сигнала, в котором упомянутое устройство (301) передает кадр (400) маякового сигнала, начала суперкадра (205), периода времени суперкадра (100) и временного интервала суперкадра (205).
7. Способ по п.6, в котором: начальное время резервирования задано относительно упомянутой опорной точки (705) (711) в следующем суперкадре (206), в котором упомянутое устройство (301) будет передавать свой следующий кадр (400) маякового сигнала; и если предложено устройством, являющимся получателем, задают, по меньшей мере, одно альтернативное доступное время для резервирования относительно опорной точки (705) (711) в следующем суперкадре (206), в котором упомянутое устройство, являющееся получателем, будет передавать свой следующий кадр (400) маякового сигнала.
8. Способ по п.1, дополнительно содержащий этап, на котором поддерживают посредством каждого устройства из упомянутого множества таблицу всех запланированных резервирований (306), принятых или отправленных устройством.
9. Способ по п.1, дополнительно содержащий этапы, на которых: устройство (301), являющееся получателем упомянутого резервирования, отправляет пакет опроса устройству (301), являющемуся отправителем; после приема пакета опроса устройство (301), являющееся отправителем, отправляет, по меньшей мере, один пакет данных устройству (301), являющемуся получателем; и устройство (301), являющееся получателем, подтверждает прием, по меньшей мере, одного пакета данных посредством передачи пакета подтверждения приема (АСК).
10. Способ по п.1, дополнительно содержащий этапы, на которых: определяют упомянутый суперкадр как содержащий множество временных интервалов доступа к среде передачи; и определяют резервирование как начальный временной интервал (705) (711) упомянутого множества временных интервалов доступа к среде передачи и продолжительность (706) (712) как число временных интервалов доступа к среде передачи.
11. Способ по п.1, дополнительно содержащий этап, на котором: определяют упомянутый суперкадр как содержащий множество единичных временных интервалов; и определяют резервирование как начальное время в единичных временных интервалах (706) (712), а продолжительность (712) – как число единичных временных интервалов.
12. Способ по п.1, дополнительно содержащий этапы, на которых: определяют упомянутый суперкадр как содержащий множество временных интервалов доступа к среде передачи; и определяют резервирование как, по меньшей мере, один бит в битовой карте (708) (712), содержащей, по меньшей мере, один бит на каждый временной интервал доступа к среде передачи из упомянутого множества временных интервалов доступа к среде передачи.
13. Способ по п.1, дополнительно содержащий этапы, на которых: определяют упомянутый суперкадр как содержащий множество временных интервалов доступа к среде передачи; и определяют резервирование как, по меньшей мере, один элемент, выбранный из группы, состоящей из: периода (705) (710) резервирования, смещения (705) (711) резервирования, смещения (705) (710) (711) периода резервирования, продолжительности резервирования, битовой карты (706) (712), по меньшей мере, одного временного интервала доступа к среде передачи и типа резервирования (709).
14. Способ по п.1, дополнительно содержащий этап, на котором определяют резервирование как один элемент, выбранный из группы, состоящей из: множества резервирований для каждого суперкадра (100) и действительных для одного суперкадра (100), множества резервирований для каждого суперкадра (100) и действительных для множества суперкадров (100), одного резервирования для каждого суперкадра (100) и действительного для одного суперкадра (100), и одного резервирования для каждого суперкадра (100) и действительного для множества суперкадров (100).
15. Способ по п.5, в котором упомянутое, по меньшей мере, одно альтернативное доступное для резервирования время сигнализируется посредством битовой карты (1105) доступности, имеющей, по меньшей мере, один бит для каждого временного интервала для того, чтобы указывать доступность временного интервала.
16. Способ по п.5, в котором упомянутое, по меньшей мере, одно альтернативное доступное для резервирования время сигнализируется посредством, по меньшей мере, одного элемента, выбранного из группы, состоящей из: периода резервирования, смещения резервирования, смещения периода резервирования, продолжительности резервирования, битовой карты (1105), имеющей, по меньшей мере, один бит для каждого временного интервала для того, чтобы указывать доступность временного интервала.
17. Способ по п.1, дополнительно содержащий этап, на котором неявно согласовывают резервирование с использованием первого кадра (400) маякового сигнала от устройства (301), являющегося отправителем, и первого кадра (400) маякового сигнала от устройства (301), являющегося получателем.
18. Способ по п.1, дополнительно содержащий этап, на котором включают информацию (1105) о доступности в кадр (400) маякового сигнала устройства (301).
19. Способ по п.4, дополнительно содержащий этап, на котором устройство (301), являющееся инициатором, завершает согласование передачей сообщения DRP-окончания.
20. Способ по п.4, дополнительно содержащий этап, на котором устройство (301), являющееся отправителем, прекращает резервирование.
21. Способ по п.20, дополнительно содержащий этап, на котором устройство (301) прекращает резервирование, которое было инициировано посредством явного согласования, посредством передачи команды (1200) прекращения.
22. Способ по п.21, дополнительно содержащий этап, на котором устройство (301), являющееся получателем, подтверждает прием команды (1200) прекращения потока одноадресной передачи посредством передачи кадра немедленного подтверждения приема (Imm ACK).
23. Способ по п.21, дополнительно содержащий этап, на котором отправляют команду (1200) прекращения всеми устройствами (301), которые ранее включили резервирование в кадр маякового сигнала.
24. Способ по п.1, в котором кадр (400) маякового сигнала упомянутых этапов передачи и включения содержит информационный элемент (IЕ) (700) протокола распределенного резервирования (DRP), который включает в себя информацию, касающуюся позиции, по меньшей мере, одного резервирования (707) в суперкадре (100).
25. Способ по п.21, дополнительно содержащий этап, на котором прекращают резервирование, посредством выполнения одного из подэтапов, выбранного из группы, состоящей из: удаления IE резервирования из текущего кадра (400) маякового сигнала и всех последующих кадров (400) маякового сигнала, и установления поля продолжительности (706) (712) IE (700) резервирования в ноль в текущем кадре (400) маякового сигнала и удаления IE (700) резервирования из последующих кадров (400) маякового сигнала.
26. Способ по п.1, в котором: на этапе передачи включают в кадр (400) маякового сигнала информацию о резервировании, выбранную из группы, состоящей из: начальной точки (705) (711) и продолжительности (706) (712), и битовой карты (708) (712); и этап включения в состав является необязательным.
27. Способ по п.1, дополнительно содержащий этапы, на которых: включают информацию о направлении запланированной передачи в кадр (400) маякового сигнала, и только те устройства (301), которые находятся в пределах диапазона передачи устройства (301), являющегося получателем, соблюдают резервирование, в случае однонаправленной запланированной передачи.
28. Способ по п.24, в котором только устройство (301), являющееся получателем, выполняет упомянутый этап включения, для того, чтобы включить IE (700) резервирования в кадр (400) маякового сигнала.
29. Способ по п.24, в котором только устройства (301), являющиеся получателями, и все соседние устройства (301) в пределах одного интервала связи устройств (301), являющихся получателями, выполняют упомянутый этап включения для того, чтобы включить IE (700) резервирования в кадр (400) маякового сигнала.
30. Способ по п.24, в котором устройство (301), являющееся отправителем, устройства (301), являющиеся получателями, и все соседние устройства (301) в пределах одного интервала связи устройства (301), являющегося отправителем, и устройств (301), являющихся получателями, выполняют упомянутый этап включения для того, чтобы включить IE (700) резервирования в кадр (400) маякового сигнала.
31. Способ по п.26, в котором устройство (301), являющееся получателем резервирования, дополнительно выполняет этапы, на которых: в случае мягкого резервирования начинает собственную передачу, если устройство (301), являющееся отправителем, не использует зарезервированное время; в случае жесткого резервирования не осуществляет доступ к среде передачи, если устройство (301), являющееся отправителем запланированной передачи, не использует зарезервированное время; и в случае резервирования периода маякового сигнала резервируют время только для передачи маякового сигнала.
32. Беспроводная персональная сеть (300) связи, включающая в себя множество устройств (301), которые включают резервирования для запланированных передач в свои кадры (400) маякового сигнала, посредством выполнения способа децентрализованного управления доступом к среде передачи по п.1.
33. Беспроводное устройство (301) для распределенного резервирования среды передачи в беспроводной персональной сети (300), содержащее: антенну (307) для отправки и приема сообщений по беспроводной среде (310) передачи; приемник (302), соединенный с антенной для того, чтобы принимать сообщения резервирования среды передачи, переданные по беспроводной среде (310) передачи; модуль (304) распределенного резервирования среды передачи; передатчик (306), функционально соединенный с антенной (307) для того, чтобы передавать сообщения резервирования среды передачи по беспроводной среде (310) передачи; процессор (303), соединенный с модулем (304) распределенного резервирования, битовой картой (305) протокола распределенного резервирования (DRP), и памятью, включающую в себя таблицу (308) DRP-резервирования, причем упомянутый процессор выполнен с возможностью выполнения способа децентрализованного управления доступом к среде передачи по п.1, используя модуль (304) распределенного резервирования, битовую карту (305) DRP и таблицу (308) DRP-резервирования.
РИСУНКИ
|
|