|
|
(21), (22) Заявка: 2008104625/09, 07.07.2005
(24) Дата начала отсчета срока действия патента:
07.07.2005
(43) Дата публикации заявки: 20.08.2009
(46) Опубликовано: 10.01.2010
(56) Список документов, цитированных в отчете о поиске:
WO 02085061 A1, 24.10.2002. WO 02089432 A1, 07.11.2002. RU 2003117017 A, 10.12.2004. WO 02089432 A1, 07.11.2002.
(85) Дата перевода заявки PCT на национальную фазу:
07.02.2008
(86) Заявка PCT:
SE 2005/001144 20050707
(87) Публикация PCT:
WO 2007/008123 20070118
Адрес для переписки:
129090, Москва, ул. Б.Спасская, 25, стр.3, ООО “Юридическая фирма Городисский и Партнеры”, пат.пов. Ю.Д.Кузнецову, рег. 595
|
(72) Автор(ы):
ЛАРССОН Петер (SE), ЙОХАНССОН Никлас (SE), СУНЕЛЛ Кай-Эрик (SE)
(73) Патентообладатель(и):
ТЕЛЕФОНАКТИЕБОЛАГЕТ ЛМ ЭРИКССОН (ПАБЛ) (SE)
|
(54) СПОСОБ И УСТРОЙСТВО ДЛЯ КОДИРОВАНИЯ И ПЛАНИРОВАНИЯ В СИСТЕМАХ ПЕРЕДАЧИ ПАКЕТНЫХ ДАННЫХ
(57) Реферат:
Изобретение относится к системам связи. Технический результат заключается в повышении качества обслуживания. Способ и устройство согласно настоящему изобретению относятся к планированию и кодированию в системах связи, использующих автоматический запрос повторения (ARQ) и/или планирование и передачу со многими переключениями. Согласно предлагаемому способу принимающие узлы выборочно хранят принятую информацию, а также прослушиваемую информацию в качестве априорной информации, и подают обратно информацию относительно своей соответствующей сохраненной априорной информации к посылающему узлу. Посылающий узел формирует составные пакеты данных посредством объединенного кодирования и планирования множества пакетов данных, при этом упомянутые составные пакеты данных передают к принимающим узлам. После приема составного пакета данных принимающие узлы используют свою сохраненную априорную информацию в процессе извлечения данных для самих себя из составных пакетов данных. 6 н. и 33 з.п. ф-лы, 15 ил., 1 табл.
Область, к которой относится изобретение
Настоящее изобретение относится к системе связи с по меньшей мере одним посылающим узлом, находящимся в связи со множеством принимающих узлов, причем среда имеет ненадежные и, возможно, меняющиеся характеристики. В частности, способ и устройство согласно настоящему изобретению относятся к использованию планирования в системах, использующих автоматический запрос повторения (ARQ) и/или планирование со множеством переключений и передачу.
Предшествующий уровень техники
Системы беспроводной связи в настоящее время подвержены смене технологии, от технологии с коммутацией каналов в системах второго поколения, подобной GSM, к системам с коммутацией пакетов в системах третьего поколения и будущих системах связи. Изменение технологии является следствием растущих требований в отношении услуг, отличных от речевой связи, таких как обеспечение мультимедийных услуг и web-просмотра, объединенных с требованиями эффективного использования недостаточных радиоресурсов и увеличенной гибкости. Пакетные данные, основанные на коммуникационной технологии, обнаруживают обширные возможные усовершенствования по сравнению с технологией с коммутацией схем относительно гибкости, возможной производительности (скорости передачи данных) и возможности приспосабливаться к изменяющейся радиосреде. Ключевой функциональной возможностью в любой системе, основанной на пакетных данных, является планирование пакетов данных или блоков данных протокола (PDU). Механизм планирования, или планировщик, посылающего объекта может, например, поддерживать множество буферов данных, по меньшей мере один буфер для каждого другого объекта, с которым обменивается посылающий объект. На практике множество (логических) буферов могут выступать как один (физический) буфер вместе с указателями или альтернативно средствами просмотра физического буфера. Пакеты данных, подаваемые к посылающему объекту, например из базовой сети, сохраняются в соответствующем буфере, и функция планирования гарантирует, что другие объекты снабжаются своими соответствующими пакетами данных способами, которые, например, принимают во внимание емкость однонаправленного канала, требования полосы частот для различных приложений, требования QoS (качества услуг) и т.д. Может быть отмечено, что в традиционном планировании повторные передачи посредством ARQ (описаны более подробно ниже) обычно являются только слабо и косвенно связанными с функциональными возможностями планирования. Например, планировщик может рассматривать остающееся время жизни для пакета (если таковое определено) в качестве входных данных. Когда PDU повторно передается один или более раз, время истекает, и значение времени жизни для PDU уменьшается, таким образом неявно воздействуя на его приоритет в процессе планирования.
Сети ad hoc (специального назначения) и сети с множеством переключений (с многократным переприемом информации) представляют отличающийся подход в обеспечивающих связь системах и недавно привлекали значительный интерес. В этом типе сетей множество и предпочтительно все мобильные узлы, например, сотовый телефон/мобильный терминал, PDA или портативный компьютер, способны действовать в качестве маршрутизатора (мобильного главного компьютера) для других мобильных узлов. Потребность в фиксированной инфраструктуре таким образом устраняется, хотя доступ к стационарной сети, такой как Интернет, является хорошим дополнением к полностью специальной (ad hoc) операции. Соответственно, пакеты данных, посылаемые от исходного мобильного узла к мобильному узлу назначения, обычно маршрутизируются через множество промежуточных мобильных узлов (со многими переприемами) перед достижением мобильного узла назначения. Специальная (ad hoc) сеть обычно является полностью самоорганизующейся в том, что тракты маршрутизации (последовательность переприемов (переключений)) не всегда заранее определены, хотя могут использоваться сложные подпрограммы оптимизации, чтобы найти лучшие тракты. Будущие и исследуемые сети ad hoc предполагаются для использования множества переключений. Сети с множеством переключений, с другой стороны, могут иметь некоторые заранее определенные предпочтительные схемы переключений, то есть сети с множеством переключений необязательно являются сетью ad hoc. Однако ниже используется термин “сеть с множеством переключений” и должна интерпретироваться как любая сеть, использующая множество переключений во время связи, то есть включающая в себя сети ad hoc. Подробное описание сетей с множеством переключений (множеством переприемов) приводится в Wireless ad hoc networking- The art of networking without a network”, by M. Frodigh et al, Ericsson Review, pp 248-263 (4) 2000.
Узлы в сети обычно поддерживают предпочтительно недавно обновленную таблицу маршрутизации, определяющую мобильные узлы, к которым существующий узел способен посылать пакет данных. В сети с множеством переключений, использующей маршрутизацию пакета данных или подобное, выполняется следующая процедура для каждого направляемого пакета: когда узел принимает пакет, он проверяет свою таблицу маршрутизации для следующего узла переключения (переприема), направляющего пакет данных к адресату. Если принимающий узел не имеет следующего узла переключения и не является адресатом, то состояние таблицы маршрутизации является противоречивым в сети с множеством переключений. Чтобы обновить это состояние, принимающий узел может, например, инициализировать поиск маршрута к адресату, ожидать, пока состояние не будет обновлено автоматически (может быть выполнено на обычной основе), или просто ответить предыдущей станции, что он не имеет корректно работающего маршрута, и упомянутая предыдущая станция может пробовать другой маршрут. Последний случай, однако, в действительности полностью не решает проблему, но слегка облегчает ее. Процесс продолжается до тех пор, пока пакет данных в конечном счете не достигает узла адресата. Альтернативно, никакие списки маршрутизации не сохраняются в мобильных узлах, и тракты маршрутизации устанавливаются для каждого сеанса связи. Планировщик посылающего объекта в сети с множеством переключений организовывает передачу пакетов данных и при этом рассматривает по меньшей мере, какие пакеты постоянно находятся в очереди, информацию, содержащуюся в списках маршрутизации, когда осуществлять передачу, и предпочтительно также другие факторы передачи, такие как емкость однонаправленного канала и текущее радиоокружение.
Процедуры маршрутизации и обновление списков маршрутизации могут быть выполнены множеством разнообразных путей и многие известны из уровня техники. Недавно были предложены новые схемы передачи с множеством переключений, использующие присущие радиоканалу характеристики. Схемы передачи с разнесением по выбору (SDF) и передачи с разнесением по многим пользователям (MDF), как описано в “Multiuser Diversity Forwarding in Multihop Packet Radio Networks”, by P. Larsson and N. Johansson, Proceedings of IEEE WCNC 2005, New Orleans, март 2005, которые могут рассматриваться как обеспечение гибкого планирования в таких разновидностях радиоканала, были исследованы для мгновенного выбора оптимального маршрута и/или приспособления скорости передачи.
Автоматический запрос повторения (ARQ), как упомянуто выше, был предложен для использования для связи по эфирному интерфейсу в сотовых системах беспроводной связи. ARQ может также использоваться в системах с множеством переключений. Данные до передачи обычно разделяются на меньшие пакеты, блоки данных протокола (PDU). Надежная передача обеспечивается посредством кодирования пакетов кодом с обнаружением ошибок, так чтобы приемник мог обнаруживать ошибочные или потерянные пакеты и таким образом запрашивать повторную передачу. Целостность последовательности данных обычно обеспечивается последовательной нумерацией пакетов и применением некоторых правил передачи.
В наиболее простой форме ARQ, обычно называемой как ARQ “остановиться-и-ждать”, отправитель данных хранит каждый посланный пакет данных и ждет подтверждения от приемника о корректно принятом пакете данных посредством сообщения подтверждения (ACK). Когда ACK принят, отправитель исключает сохраненный пакет и посылает следующий пакет. Процесс обычно дополняется таймерами и использованием сообщений отрицательного подтверждения (NACK). Посылающий объект использует таймер, который начинает работу при передаче пакета данных, и если никакой ACK (или NACK) не был принят прежде, чем истечет время таймера, пакет данных передается повторно. Если приемник обнаруживает ошибки в пакете, он может посылать NACK отправителю. После приема NACK отправитель повторно передает пакет данных без ожидания истечения времени таймера. Если ACK или NACK сообщение потеряны, время таймера в конечном счете истекает, и отправитель будет повторно передавать пакет данных.
ARQ был введен в данной области техники в нескольких различных аспектах. От простого “остановиться-и-ждать” были разработаны более сложные схемы обычного ARQ, например, Возврат на N и выборочное отклонение (или выборочное повторение), которая обеспечивает более высокую производительность. В публикации WO 02/09342 раскрыта схема ARQ, которая добавляет гибкость традиционной ARQ схеме, вводя параметры ARQ, которые являются установленными и/или согласованными, чтобы обеспечить желательный компромисс относительно ресурсов связи.
В другой линии развития ARQ, избыточность в кодировании используется различными способами, чтобы повысить эффективность связи (обычно измеряемой как производительность). Эти схемы называют схемами гибридного ARQ. Комбинация кодирования и ARQ, схем гибридного ARQ может давать некоторую адаптацию к изменениям в радиосреде, например, к замиранию. В схеме 1 Гибридного ARQ прямое исправление ошибок (FEC) объединено с ARQ. В схеме 2 Гибридного ARQ PDU посылают более или менее (FEC) закодированным, но сопровождаемым проверкой при помощи циклического кода (CRC) для проверки присутствия ошибочных битов после декодирования, и если повторная передача требуется, посылают биты проверки на четность (также известные, как биты избыточности), сформированные кодером FEC, систематические биты или комбинацию обоих. Когда биты проверки на четность используются вместе с ранее принятыми битами, представляющими тот же самый пакет данных, это часто называется схемой 2 Гибридного ARQ, основанной на возрастающей избыточности. Эта последовательность битов проверки на четность может в некоторой схеме 2 Гибридного ARQ быть декодируемой непосредственно, и/или улучшать декодирование предварительно принятого некорректно декодированного PDU. Когда систематические биты используются вместе с предварительно принятыми битами, представляющими тот же самый пакет данных, это часто называется схемой 2 Гибридного ARQ, основанной на комбинировании отслеживания. Версия схемы 2 Гибридного ARQ используется в UMTS.
Документ WO 0249292 посвящен некоторым проблемам использования Гибридного ARQ в системах UMTS, особенно в отношении планирования и буферизации. Планирование упрощается и размер буфера уменьшается посредством ввода механизма управления потоком данных между Контроллером Радиосети (RNC) и Узлом B.
Были предложены схемы, например в WO 02052771, чтобы оптимизировать требуемую ширину полосы и разрешить противоречивые требования от UE посредством улучшенного планирования в базовых станциях. Также в планировании рассматриваются канальные условия.
Известные из предшествующего уровня техники схемы кодирования и планирования представляют существенные усовершенствования в отношении полной производительности и гибкости. Однако увеличивающиеся требования более высокой производительности, охвата и гибкости не могут быть удовлетворены только предшествующим уровнем техники.
Сущность изобретения
В известных системах связи, в конкретных беспроводных системах, в которых среда является ненадежной, посылают информацию, которая не принимается назначенным принимающим узлом, но которая принимается другим узлом в системе. Известные из уровня техники способы и конструкции не в состоянии распознавать и использовать тот факт, что посланная информация, которая была принята узлами, отличными от назначенного, может использоваться для улучшения кодирования и планирования в посылающем узле в отношении, например, полной производительности.
Очевидно, необходимы улучшенные способ и устройство планирования и кодирования, использующее факт приема информации узлами в системе, отличными от первоначально назначенного принимающего узла, которые являются подходящими в системах связи, использующих автоматический запрос повторения (ARQ) или планирование и передачу со многими переключениями, при этом среда является ненадежной.
Задача настоящего изобретения состоит в том, чтобы обеспечить способ и устройство, которые преодолевают недостатки известных из уровня техники способов. Это достигается способом согласно п. 1 формулы изобретения, способом в посылающем узле, как определено в п. 18 формулы изобретения, способом в принимающем узле, как определено в п. 27 формулы изобретения, посылающим узлом, как определено в п. 32 формулы изобретения, принимающим узлом, как определено в п. 36 формулы изобретения, и системой, как определено в п. 38 формулы изобретения.
Эта проблема решается тем, что настоящее изобретение обеспечивает способ и устройство, облегчающее использование прослушанной (подслушанной) и предварительно отклоненной информации для улучшения кодирования и планирования в посылающем узле. Согласно способу принимающие узлы выборочно сохраняют принятую информацию в качестве априорной информации и подают обратно информацию (обратной связи) относительно их соответствующей сохраненной априорной информации к посылающему узлу. Посылающий узел формирует составные пакеты данных посредством совместного (объединенного) кодирования и планирования множества пакетов данных ко множеству пользователей, по меньшей мере частично на основании информации обратной связи об априорной информации соответствующих принимающих узлов. Посылающий узел передает составной пакет данных ко множеству принимающих узлов. После приема составного пакета данных принимающие узлы используют свою сохраненную априорную информацию в процессе извлечения данных для себя из составных пакетов данных. Кроме того, и в комбинации с априорной информацией обратной связи, посылающий узел может использовать обычную обратную связь, информируя о принятых пакетах данных.
Изобретение применимо в системах со множеством одноадресных ARQ (например, в сотовых и системах с множеством переключений), а также в системах с множеством переключений, где информация прослушивания может быть также получена от иных отправителей, чем узел отправителя.
Благодаря изобретению меньшее количество пакетов данных должно быть послано от посылающего узла ко множеству принимающих узлов, чтобы достичь корректного приема переданных пакетов данных.
Согласно одному аспекту изобретения обеспечивается способ, который содержит этапы:
– по меньшей мере один принимающий узел принимает и сохраняет по меньшей мере один пакет данных, назначенный для другого принимающего узла, причем сохраненные пакеты данных формируют по меньшей мере часть априорной информации принимающего узла, который принял пакет данных;
– по меньшей мере один из принимающих узлов подает обратно информацию о своей априорной информации к первому посылающему узлу и/или ко второму посылающему узлу;
– по меньшей мере один из посылающего(их) узла(ов), который принял информацию обратной связи, формирует и передает составной пакет данных, при этом составной пакет данных содержит информацию из по меньшей мере двух отдельных пакетов данных, каждый содержащий информацию, предназначенную по меньшей мере двум принимающим узлам, причем в упомянутом формировании используется априорная информация по меньшей мере одного принимающего узла;
– по меньшей мере один принимающий узел декодирует, по меньшей мере частично, составной пакет данных с использованием своей априорной информации.
Объединенное (совместное) кодирование предпочтительно является нелинейным, например, выполняется с использованием операций “исключающее ИЛИ” или операций взятия по модулю.
Предпочтительно объединенное кодирование и планирование включают в себя процесс оптимизации, рассматривающий различные комбинации пакетов и различные комбинации приемников и знания об их сохраненной априорной информации.
Согласно второму аспекту изобретения обеспечивается способ в посылающем узле, который содержит этапы:
сохранение в качестве априорной информации по меньшей мере одного пакета данных, назначенного для по меньшей мере одного другого принимающего узла;
передачу информации обратной связи об априорной информации к по меньшей мере одному другому узлу в системе связи; и
после приема составного пакета данных декодирование, по меньшей мере частично, упомянутых составных пакетов данных посредством использования сохраненной априорной информации.
Согласно третьему аспекту изобретения обеспечивается способ в принимающем узле, который содержит этапы:
сохранение в качестве априорной информации по меньшей мере одного пакета данных, предназначенного для по меньшей мере одного другого принимающего узла;
передачу информации обратной связи относительно априорной информации к по меньшей мере одному другому узлу в системе связи; и
после приема составного пакета данных – декодирование, по меньшей мере частично, упомянутых составных пакетов данных посредством использования сохраненной априорной информации.
Согласно четвертому аспекту изобретения обеспечивается посылающий узел, который содержит приемник обратной связи, приспособленный для приема и идентификации априорной информации в информации обратной связи от принимающих узлов, модуль хранения априорной информации для сохранения априорной информации от множества принимающих узлов, модуль объединенного кодирования и планирования для формирования составного пакета данных из множества отдельных пакетов данных. Модуль хранения априорной информации соединен с упомянутым приемником обратной связи. Модуль объединенного кодирования и планирования выполнен с возможностью использовать априорную информацию от модуля хранения априорной информации и определять, какие из множества отдельных пакетов данных извлекать из буферного модуля для использования в составном пакете данных.
Согласно пятому аспекту изобретения обеспечивается принимающий узел, который содержит буфер априорной информации для сохранения выбранных пакетов данных в качестве априорной информации, и модуль идентификации и декодирования PDU (блоков данных протокола), выполненный с возможностью извлекать априорную информацию из упомянутого буфера априорной информации для декодирования принятых составных пакетов данных.
Одно из преимуществ изобретения состоит в том, что необходимо меньшее количество передач, чтобы гарантировать, что информация, которая достигает своего адресата, дает возможность увеличить пропускную способность и уменьшить время ожидания.
Другим преимуществом является то, что энергия/мощность, используемая в системе связи, могут быть уменьшены для той же самой пропускной способности и времени ожидания.
Еще одним преимуществом является то, что может использоваться малая сложность декодирования (и кодирования).
Варианты осуществления изобретения определены в зависимых пунктах формулы изобретения. Другие задачи, преимущества и новые признаки изобретения станут очевидны из нижеследующего подробного описания изобретения при рассмотрении совместно с сопроводительными чертежами и формулой изобретения.
Краткое описание чертежей
Изобретение подробно описано ниже со ссылками на чертежи, на которых:
Фиг. 1 является схематической иллюстрацией последовательностей передачи в системе сотовой связи согласно уровню техники;
Фиг. 2 является схематической иллюстрацией последовательностей передачи в системе с множеством переключений согласно уровню техники;
Фиг. 3 изображает последовательность операций по способу согласно настоящему изобретению;
Фиг. 4 является схематической иллюстрацией последовательностей передачи в системе связи согласно настоящему изобретению;
Фиг. 5 является схематической иллюстрацией последовательностей передачи в системе связи согласно одному варианту осуществления настоящего изобретения;
Фиг. 6 является схематической иллюстрацией последовательностей передачи в системе с множеством переключений согласно одному варианту осуществления настоящего изобретения;
Фиг. 7 изображает последовательность действий согласно операциям приема согласно способу настоящего изобретения;
Фиг. 8 изображает последовательность действий согласно операциям передачи согласно способу настоящего изобретения;
Фиг. 9 является схематической иллюстрацией передатчика и приемника согласно настоящему изобретению;
Фиг. 10 является схематическими иллюстрациями принципов кодирования согласно одному варианту осуществления настоящего изобретения;
Фиг. 11 является схематической иллюстрацией сообщения обратной связи согласно одному варианту осуществления настоящего изобретения;
Фиг. 12 является схематической иллюстрацией последовательностей передачи в системе сотовой связи согласно одному варианту осуществления настоящего изобретения.
Подробное описание изобретения
В системе связи согласно настоящему изобретению посылающий объект участвует в связи со множеством принимающих объектов. Посылающий объект, например, базовая станция (БС), в операции передачи называется посылающим узлом (SN), а принимающий объект, например, реализованный как мобильная станция (MS), в операции приема называется принимающим узлом (RN). Следует отметить, что мобильная станция может также действовать как посылающий узел, и базовая станция – как принимающий узел. Настоящее изобретение может выгодно использоваться и в обычных сотовых системах связи с базовой станцией, находящейся в связи со множеством мобильных станций, и в системах с множеством переключений, при этом по меньшей мере одна мобильная станция обменивается с по меньшей мере двумя другими мобильными станциями, чтобы разрешить обмен. Как описано выше, в таких системах могут использоваться различные схемы планирования, чтобы увеличить эффективность, и могут использоваться различные типы схем ARQ, чтобы повысить надежность передач.
Сначала рассматривается традиционная схема ARQ согласно уровню техники. Традиционная схема ARQ между одним отправителем и одним приемником ниже называется как ARQ однонаправленной передачи. Следует отметить, что, например, в системе сотовой связи для нисходящей линии связи множество сеансов ARQ однонаправленной передачи связи выполняются одновременно к различным пользователям, где каждый пользователь может иметь множество потоков со своим собственным экземпляром ARQ однонаправленной передачи. На фиг. 1 иллюстрируется посылающий узел, в этом случае базовая станция 105 находится в связи с двумя принимающими узлами va и vA соответственно, реализованными как мобильная станция 110 и мобильная станция 120. Следовательно, два протокола ARQ однонаправленной передачи выполняются параллельно, первый – между базовой станцией 105 и мобильной станцией 110 и второй – между базовой станцией 105 и мобильной станцией 120. В примере, проиллюстрированном на фиг. 1, в момент времени T1 посылающий узел, базовая станция 105, посылает информацию в форме пакета (a) данных к мобильной станции 110, причем пакет (a) данных не был принят корректно мобильной станцией 110. Пакет (a) данных может быть также принят (прослушан) другим(и) пользователем(ями), например, принимающим узлом vA (мобильной станцией 120). Однако, согласно схеме ARQ однонаправленной передачи предшествующего уровня техники, такие прослушиваемые пакеты данных отбрасываются принимающим узлом vA. Альтернативно, если принимающий узел vA знает, что он не является назначенным принимающим узлом, пакеты данных не рассматриваются вообще. В момент времени T2 пакет (A) данных посылается от посылающего узла 105 к мобильной станции 120, но также и эта передача является неудачной. Посредством процедур ARQ посылающий узел 105 обеспечивается информацией подтверждения и в моменты времени T3 и T4 посылающий узел 105 повторно передает пакет (a) и пакет (A) соответственно. Два принимающих узла va и vA корректно принимают свой соответствующий пакет (a) и (A) данных. Следует отметить, что передачи в моменты времени T1 и T2 могут происходить в одно и то же время, если используется технология передачи, допускающая одновременные передачи, например, множественный доступ с ортогональным частотным разделением (OFDMA), то есть пакет (A), и пакет (a) посылаются одновременно, но по не перекрывающимся наборам OFDM поднесущих. Повторная передача может также происходить одновременно.
Сети с множеством переключений представляют другой сценарий развертывания, где узлы направляют трафик друг другу, кроме формирования и приема своего собственного трафика. Однако сети с множеством переключений сохраняют атрибуты сотовой системы связи, то есть это обычно включает в себя отправителя, обменивающегося со множеством станций по ненадежной среде. Один тип принципа сети со множеством переключений использует планирование передачи для каждого узла. Этот процесс планирования может принимать во внимание много различных аспектов, таких как задержка пакета, требование QoS (качество услуг) и усреднение, а также мгновенные характеристики линии связи для определения, какой пакет передавать, кому и когда. Маршрутизация, основанная на разнесении по множеству пользователей, раскрывается в документе US200402333918. Подобно сотовой сети связи узел в сети с множеством переключений может использовать ARQ однонаправленной передачи, то есть один или более экземпляров для каждого соседа. Пример сети с множеством переключений с пакетами, запланированными к различным пользователям, иллюстрируется на фиг. 2, где узлы vx 205 и vy 215 представляют посылающие узлы и посылают пакеты данных к узлам vA 225 и va 210 соответственно, выступающих в качестве узлов-адресатов. Сначала пакет (A) данных посылается к (промежуточному) принимающему узлу vs 220. Узел vs 220 направляет пакет (A) данных к узлу vA 225. В более поздний момент времени узел vy 215 посылает пакет (a) данных промежуточному узлу vs 220, который направляет пакет (a) данных узлу va 210. Подобно случаю с сотовой связью и согласно процедурам ARQ прием подтверждается, и в случае необходимости потерянные пакеты данных повторно передаются к назначенному приемнику.
Согласно способу и устройству настоящего изобретения априорная информация, например, прослушиваемая информация, такая как отбрасываемые пакеты данных в вышеприведенных примерах, используется, чтобы повысить эффективность в системе связи. Принимающие узлы выборочно сохраняют принятую информацию в качестве априорной информации и подают обратно информацию о своей соответствующей сохраненной априорной информации к посылающему узлу. Посылающий узел формирует составные пакеты данных посредством совместного (объединенного) кодирования и планирования множества пакетов данных ко множеству пользователей, по меньшей мере частично, на основании обратной связи в отношении априорной информации соответствующих принимающих узлов. Кроме того, и в комбинации с априорной информацией обратной связи, посылающий узел может использовать обычную обратную связь, информирующую относительно принятых пакетов данных. Составной пакет данных передают к принимающим узлам. После приема составного пакета данных принимающие узлы используют свою сохраненную априорную информацию в процессе извлечения данных для самих себя из составных пакетов данных. Таким образом, меньшее количество пакетов данных должно быть послано от посылающего узла ко множеству принимающих узлов, чтобы достичь корректного приема переданных пакетов данных. Изобретение применимо ко множеству ARQ однонаправленной передачи (например, в сотовых системах и системах с множеством переключений), также как и в системах с множеством переключений, где прослушивание информации может также исходить от других отправителей, отличных от узла отправителя.
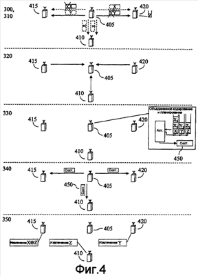
Принцип способа согласно настоящему изобретению в укрупненном виде иллюстрируется последовательностью операций на фиг. 3 и схематической схемой передачи на фиг. 4. Как иллюстрируется на чертежах, множество радиоузлов 405, 410, 415, которые являются частями в системе беспроводной связи, находится в процессе обмена информацией в форме пакетов данных. Термин “радиоузлы” должен интерпретироваться широко; любое устройство, способное к беспроводной связи и совместимое со стандартами, используемыми в сети беспроводной связи, может рассматриваться как радиоузел. Обычно радиоузел способен как к посылке, так и к приему пакетов данных, что называется как операции посылки и приема соответственно, или посылающий/принимающий узел, означающий радиоузел в операции посылки/приема. Радиоузлы включают в себя, но не ограничиваются ими базовые радиостанции, мобильные станции, портативные компьютеры и PDA (персональные цифровые ассистенты), оборудованные средствами беспроводной связи, и транспортные средства, и машины, оборудованные средствами беспроводной связи. В этом примере радиоузел 405 находится прежде всего в операции посылки (посылающий узел 405) и узлы 410, 415, и 420 находятся прежде всего в операции приема (принимающие узлы 410, 415, 420). Сплошные линии указывают назначенные передачи, и пунктирные линии указывают прослушиваемые передачи. Перечеркнутые пакеты указывают неудачный прием. Способу согласно изобретению предпочтительно предшествует начальный обмен отдельным пакетом данных, при этом предшествующий этап 300 содержит этапы:
300: Пакеты данных, иллюстрированные как пакеты (X) и (Y), посылают от одного или более радиоузлов в операции посылки, здесь – посылающего узла 405, ко множеству принимающих узлов 410, 415, 420. Обычно каждый отдельный пакет данных имеет назначенный принимающий узел. Передача пакетов данных может происходить одновременно или последовательно в зависимости от технологии передачи.
Способ согласно изобретению содержит этапы:
310: Принимающие узлы 410, 415, 420 сохраняют свои соответствующие пакеты данных, то есть свою предназначенную информацию, если она была корректно принята. Кроме того, принимающий узел может принимать и сохранять прослушиваемую информацию, то есть пакеты данных, предназначенные для других принимающих узлов, но которые рассматриваемый принимающий узел принял и смог декодировать, и/или пакеты данных, которые были посланы рассматриваемому принимающему узлу в сценарии со множеством переключений для дальнейшей передачи своему конечному адресату. Прослушиваемая информация составляет априорную информацию каждого принимающего узла 410, 415, 420. В изображенном примере пакеты данных (X) и (Y) являются априорной информацией узла 410, (Y) является априорной информацией узла 415, и (X) и (Z) являются априорной информацией узла 420, (Z) – принята ранее.
320: Принимающие узлы 410, 415, 420 передают обратно к посылающему узлу 405, или посылающим узлам, информацию соответствующей априорной информации. Обычно принимающий узел также подает назад информацию относительно результата передачи, используя процедуры ARQ, например.
330: Посылающий узел 405 формирует, если возможно и выгодно, составной пакет 450 данных с помощью использования поданного обратно знания соответствующей априорной информации от принимающих узлов 410, 415, 420. Составной пакет данных содержит данные, предназначенные для по меньшей мере двух различных принимающих узлов. Предпочтительно, знание априорной информации используется посылающим узлом 405, чтобы запланировать то, какие отдельные пакеты данных должны содержаться в составном пакете данных и совместно кодировать множество отдельных пакетов данных, которые должны содержаться в составном пакете данных. По меньшей мере, часть составного пакета данных должна состоять из совместно закодированного множества отдельных пакетов данных. Характеристикой кодирования составного пакета является то, что количество битов в составном пакете меньше, чем сумма количества битов частей пакетов, которые совместно закодированы. Этот процесс ниже называется как объединенное кодирование и планирование, и подробно описывается, и иллюстрируется ниже. Посылающий узел может формировать множество различных составных пакетов, предназначенных различным парам, или группам, принимающих узлов. В этом примере посылающий узел 405 формирует составной пакет данных, содержащий данные из (X), (Y) и (Z).
340: Посылающий узел 405 передает составной пакет данных к назначенным принимающим узлам, в примере согласно фиг. 4 – принимающим узлам 410, 415, 420.
350: После приема составного пакета данных принимающие узлы 410, 415, 420 декодируют, если возможно, составной пакет данных и извлекают соответствующие собственные данные, который был предварительно неизвестен соответствующему принимающему узлу. В процессе декодирования и извлечения используется сохраненная априорно известная информация и, возможно, собственные пакеты данных, предварительно декодированные приемником. Может иметь место случай, когда принимающий узел может не иметь полную информацию, необходимую, чтобы полностью декодировать и извлечь собственные данные из составного пакета данных. Если дело обстоит так, то принимающий узел может частично декодировать составной пакет данных, и сохранить результат, оставшийся составной пакет данных для дальнейшей обработки, когда станет доступной другая информация, например, другие пакеты данных, назначенные к этому принимающему узлу, должны быть посланы от посылающего узла 405, или прослушиваемые пакеты данных. Альтернативно, составной пакет данных сохраняют без попытки декодировать, пока принимающий узел не получит всю требуемую информацию. Информация относительно информации, требуемой для декодирования основной части составного пакета данных, может содержаться в заголовке. В этом примере узел 420 может извлекать (Y) и узел 410 извлекает (Z). Узел 415 может извлекать остаточный составной пакет данных.
Априорная информация, поданная назад от принимающих узлов 410, 415, 420 к посылающему узлу 405, предпочтительно может быть объединена с информацией обратной связи о том, какие пакеты данных были приняты и которые не имеют, при условии, что такая информация может быть определена, собственных пакетов данных, то есть пакетов данных, для которых конкретный принимающий узел был назначенным приемником. Следовательно, дополнительная обратная передача априорной информации может рассматриваться как расширение традиционной обратной связи ARQ однонаправленной передачи в том, что узел сообщает о результате декодирования также для других передач, не предназначенных для этого узла. Комбинация априорной обратной связи и традиционной ARQ однонаправленной передачи обратной связи может быть названа как расширенный или полный статус принятого пакета. Здесь “полный” означает всю информацию статуса, в то время как “расширенный” указывает больший объем информации обратной связи, чем обеспечиваемый традиционным ARQ однонаправленной передачи.
Прослушиваемые пакеты данных, принятые на этапе 310, являются обычно или обычными пакетами данных, или составными пакетами данных. Альтернативно или в комбинации, составные пакеты данных могут использоваться в качестве априорной информации принимающим узлом, даже если принимающий узел в настоящее время не имеет достаточно информации, чтобы декодировать составной пакет.
Способ согласно изобретению описан ниже со ссылками на варианты осуществления, подходящие для систем сотовой связи и сетей с множеством переключений соответственно.
На фиг. 5 иллюстрируется обычная система сотовой связи, в которой посылающий узел, базовая станция 505, обменивается со множеством принимающих узлов, мобильными станциями 510 и 520. В предшествующем уровне техники можно было иметь множество экземпляров ARQ однонаправленной передачи. Здесь, согласно одному варианту осуществления изобретения каждый имеет объединенную схему ARQ однонаправленной передачи ко многим пользователям, работающую между отправителем и множеством приемников, гарантирующую поддержку повторной передачи для каждого пользовательского потока, но также и включающую многопользовательский аспект в процессе повторной передачи. После последовательности операций, описанной в отношении фиг. 3, этапы варианта осуществления иллюстрируются следующим не ограничивающим примером:
300a: В моменты времени Т1 и T2 посылающий узел, базовая станция 505, передает пакет (a) данных, назначенный принимающему узлу va, мобильной станции 510, и пакет (A) данных, предназначенный принимающему узлу vA, мобильной станции 520, соответственно. Оба приема являются неудачными. Однако мобильная станция 520 (принимающий узел vA) принимает (прослушивает) пакет (a) данных, и мобильная станция 510 (принимающий узел vа) прослушивает пакет (A) данных.
310a: мобильная станция 520 (принимающий узел vA) сохраняет пакет (a) данных и мобильная станция 510 (принимающий узел vа) сохраняет пакет (A) данных. Сохраненные соответствующие пакеты данных составляют априорную информацию принимающих узлов.
320a: Затем в момент времени T3 мобильные станции 510, 520 передают обратно априорную информацию, то есть информируют базовую станцию 505 о том, какие пакеты данных были приняты (или, наоборот, какие не были приняты, или их комбинацию), или расширенный, или полный статус принятого пакета. Информация обратной связи находится в форме сообщения обратной связи.
330a: Базовая станция 505 формирует и планирует передачу составного пакета данных на основании сообщения обратной связи, содержащего априорную информацию соответствующей мобильной станции 510, 520, какие пакеты передавать повторно и принимать во внимание используемые принципы кодирования. Здесь, один пример кодирования использует операцию “исключающее ИЛИ” пакета (a) с пакетом (A).
340a: В момент времени T4 базовая станция 505 передает составной пакет данных, пакет (a), обработанный с помощью операции “исключающее ИЛИ” с пакетом (A), к мобильным станциям 510, 520.
350a: После (корректного) приема составного пакета данных каждая из этих двух мобильных станций 510, 520 может декодировать составной пакет данных и извлекать свою соответствующую пропущенную информацию, то есть пакет (a) данных для узла vа и пакет (A) данных для узла vA, хотя только один пакет был послан с помощью использования своей соответствующей априорной информации. Декодирование содержит, для мобильной станции 510, операцию “исключающее ИЛИ” предварительно принятого пакета (A) данных с составным пакетом данных, чтобы извлечь пакет (a) данных. По аналогии, мобильная станция 520 использует предварительно принятый пакет (a) данных, чтобы извлечь пакет (A) данных.
Для простоты, вариант осуществления иллюстрируется только с двумя принимающими узлами. Однако, как понятно специалистам в данной области техники с учетом вышеприведенного описания, способ может быть расширен на множество принимающих узлов или групп принимающих узлов.
Передача в моменты времени T1 и T2 может происходить в одно и то же время, если, например, используется OFDMA, то есть пакет (A) и пакет (a) посылаются одновременно, но по не перекрывающимся наборам поднесущих OFDM. Одновременная передача пакетов данных, например, посредством OFDMA, может использоваться также в сценарии со множеством переключений. Другие способы для одновременной передачи в моменты времени T1 и T2 также не исключаются в соответствии с изобретением.
Другой вариант осуществления изобретения относится к сценарию со множеством переключений (переприемов). На фиг. 6 иллюстрируется сеть со множеством переключений, в которой множество узлов 605, 610, 615, 620 и 625 для множества переключений используются в передаче пакета (a) данных и пакета (A) данных их соответствующим адресатам. Узлы для множества переключений обычно чередующимся образом действуют как посылающие узлы и принимающие узлы. Задача узла для множества переключений, действующего как посылающий узел, состоит в том, чтобы направить данные в его буфере на желательный приемник, который в свою очередь передает данные к адресату. В описании, относящемся к сценарию со множеством переключений, термины “назначенный узел” и “назначенный приемник” относятся к узлам/приемникам, которые являются предназначенным приемником конкретной передачи (переприема). Следовательно, назначенный узел/приемник необязательно является конечным адресатом пакета данных. Узлами для множества переключений являются, например, мобильные станции. После последовательности операций, описанной со ссылками на фиг. 3, операция иллюстрируется следующим не ограничивающим примером:
300b: В момент времени Т1 посылающий узел, узел vx 605 для множества переключений, передает пакет (A) данных, предназначенный для узла vA 625, через узел vs 620, в этом случае действующем как назначенный принимающий узел. Пакет (A) данных также прослушивается принимающим узлом vа 610. В момент времени T2 второй посылающий узел, узел vy 615 для множества переключений, передает пакет (a) данных. Назначенный приемник, узел vs 620 для множества переключений, принимает пакет (a) данных, и пакет (a) данных также прослушивается принимающим узлом vA 625.
310b: Принимающий узел vа 610 сохраняет пакет (A) данных, принимающий узел vA 625 сохраняет пакет (a) данных в качестве своей соответствующей априорной информации и узел vs 620 для множества переключений сохраняет как пакет (A) данных, так и пакет (a) данных.
320b: Затем в момент времени T3 принимающие узлы сообщают другим узлам в сети с множеством переключений свою априорную информацию и возможно также, какие назначенные пакеты были приняты (или, наоборот, не были приняты) в сообщениях обратной связи. В этом примере узел vs 620 для множества переключений принимает информацию относительно того, что пакет (a) данных был принят принимающим узлом vA 625 и пакет (A) данных – принимающим узлом vа 610.
330b: На основании принятых сообщений обратной связи узел vs 620 для множества переключений, теперь действующий как посылающий узел, планирует, какие пакеты передать, и совместно кодирует их в составной пакет данных. Здесь, простой пример кодирования содержит выполнение операции “исключающее ИЛИ” для пакета (a) с пакетом (A).
340b: В момент времени T4 узел vs 620 для множества переключений, действующий как посылающий узел, передает составной пакет данных (то есть результат операции “исключающее ИЛИ” пакета (a) с пакетом (A)) к принимающим узлам vа 610 и vA 625.
350b: После приема составного пакета данных принимающие узлы vа 610 и vA 625 декодируют свою соответствующую отсутствующую информацию, то есть первоначальный пакет (a) данных и пакет (A) данных соответственно, с использованием своей сохраненной соответствующей априорной информации. Декодирование содержит выполнение принимающими узлами vа 610 операции “исключающее ИЛИ” предварительно принятого пакета (A) данных с совместно закодированным множественным пакетом данных, чтобы извлечь пакет (a) данных. По аналогии, принимающие узлы vA 625 используют предварительно принятый пакет (a) данных, чтобы извлечь пакет (A) данных.
Следует отметить, что принимающие узлы vа 610 и vA 625 могут быть необязательно конечными адресатами пакетов (a) и (A) данных и могут теперь направлять соответствующие пакеты (a) и (A) данных к своим соответствующим конечным адресатам, если узлы vа 610 и vA 625 не были конечными адресатами.
В сети с множеством переключений можно также принимать, что один из узлов, например, vA 625, послал пакет узлу vs 620, следовательно, не имеется никакой необходимости посылки обратной связи от узла vA 625 к vs 620. Однако в процессе формирования составного пакета узел vs 620 полагается на обратную связь от vа 610. В целом, по меньшей мере, один принимающий узел должен обеспечить передачу обратно априорной информации, и эта информация используется в процессе планирования.
В то время как вышеописанная ситуация, где прослушиваемая информация от других передатчиков (отличных от в конечном счете посылающего составной пакет данных) использовалась в качестве априорной информации, возможны также другие комбинации и способы получения априорной известной информации. Например, подобно способу на фиг. 5 можно также использовать более ранние передачи от того же самого отправителя. Кроме того, другие принимающие узлы могут также декодировать составной пакет данных и извлекать пакеты данных, не предназначенные для них, которые могут затем использоваться в качестве априорной информации в будущем процессе декодирования составных пакетов данных, назначенных для них.
Следует отметить, что может иметь место случай, когда возможно только частично декодировать совместно закодированный пакет данных, например, когда три или более пакетов данных совместно кодируются и только один априорный пакет данных известен и сохранен принимающим узлом. Примером является кодирование пакетов A, B и C, в котором только пакет C постоянно находится в принимающем узле. Затем комбинация закодированного А с B будет извлечена в процессе декодирования и затем сохранена, а также сообщена посылающему узлу (или включая в себя также другие посылающие узлы). Следует заметить, что статус принятого пакета затем указывает, что А и B все еще совместно закодированы. Посылающий узел может в процессе планирования включать знание того, что априорная информация, постоянно находящаяся в одном или более принимающих узлов, является по меньшей мере частично совместно закодированной. При декодировании в приемнике можно использовать, по меньшей мере частично, информацию совместно закодированного пакета в качестве априорного знания при приеме и декодировании составного пакета.
Как указано выше, в способе согласно настоящему изобретению и составные пакеты данных, и обычные пакеты данных должны быть обработаны принимающим узлом и посылающим узлом. Последовательность операций на фиг. 7 иллюстрирует вариант осуществления изобретения, представляющий выполнение способа в принимающем узле. Термин “обычный пакет данных” обозначает несоставной пакет данных, то есть пакеты данных того типа, который также используется в предшествующем уровне техники. Последовательность операций на фиг. 8 иллюстрирует вариант осуществления в посылающем узле.
Работа приемника при приеме пакета данных, как видно из фиг. 7, содержит этапы:
705: Принимающий узел принимает пакет данных и выполняет обычное декодирование, то есть, обычно, FEC декодирование.
710: Принимающий узел определяет, является ли принятый пакет данных составным пакетом данных. Эта информация предпочтительно и обычно содержится в заголовке пакета данных или, альтернативно, в сообщении управления, передаваемом вне диапазона частот или в диапазоне частот. Если пакет данных является не составным, то есть обычным пакетом данных, алгоритм переходит на этап 730.
715: Принимающий узел определяет, возможно ли согласовать составной пакет данных с какой-либо сохраненной априорной информацией. Если нет, составной пакет данных сохраняется в буфере априорной информации, этап 745.
720: Принимающий узел декодирует составной пакет данных с соответствующей априорной информацией.
725: Если остаточный составной пакет остается после декодирования, то есть если сохраненная априорная информация достаточна только для частичного декодирования составного пакета данных, остаточный пакет данных сохраняют в буфере априорной информации, этап 745. Если составной пакет декодируется полностью, алгоритм переходит на этап 730.
730: Принимающий узел определяет, предназначен ли пакет данных, обычный или извлеченный из составного пакета данных, для другого узла. Если пакет данных предназначен для другого узла, то этот пакет данных сохраняют в буфере априорной информации, этап 745.
735: Если принимающий узел является назначенным приемником для пакета данных, этот пакет данных сохраняют в собственном буфере ARQ, если необходимо, или посылают на более высокий уровень; и
740: Принимающий узел передает обратно информацию относительно собственных принятых данных к посылающему узлу и, возможно, к другим узлам. Принимающий узел возвращается к этапу 705, чтобы обрабатывать другие принятые пакеты данных.
745: Принимающий узел сохраняет пакет данных, составной пакет данных или остаточный составной пакет данных в буфере априорной информации.
750: Принимающий узел передает обратно информацию относительно принятой априорной информации к посылающему узлу и, возможно, к другим узлам. Принимающий узел возвращается к этапу 705, чтобы обработать другие принятые пакеты данных.
Операция в посылающем узле может предполагаться как состоящая из трех различных частей или циклов, как иллюстрируется в последовательностях операций на фиг. 8a-c. Первая часть (a) принимает и обрабатывает сообщения обратной связи, вторая часть (b) формируют составные пакеты данных, и третья часть (c) посылает сообщения сброса, чтобы прервать обратную связь от принимающих узлов. Все части могут работать одновременно.
Первая часть (a) операции посылающих узлов содержит этапы:
805: Посылающий узел контролирует, были ли приняты какие-либо сообщения обратной связи.
810: Посылающий узел определяет, является ли информация обратной связи информацией обратной связи относительно априорной информации от принимающего узла или она является информацией обратной связи относительно принятых собственных данных. Если – относительно собственных данных, алгоритм переходит к обычной операции ARQ, этап 815, если относительно априорной информации, алгоритм переходит к этапу 820.
815: Посылающий узел выполняет обычную операцию ARQ и возвращается к этапу 805 контроля.
820: Посылающий узел сохраняет информацию из информации обратной связи в буфере априорной информации и возвращается к этапу 805 контроля.
Вторая часть (b) операции посылающих узлов содержит этапы:
825: Посылающий узел определяет, были ли посланы пакеты данных. Это может быть основано, например, но не ограничиваясь этим, на том, прибыла ли только что информация обратной связи, прибыл ли только что новый пакет для передачи или что случай передачи определен посредством некоторой другой функции.
830: Посылающий узел планирует пакеты данных, которые должны быть посланы из его буферов. На этапе планирования посылающий узел определяет, были ли пакеты данных объединены в составной пакет данных, принимая во внимание априорную информацию из буфера априорной информации, или должен ли быть послан обычный пакет. В процессе планирования также определяется, для какого узла или узлов пакет или пакеты назначен(ы).
835: Посылающий узел проверяет, был ли составной пакет запланирован на этапе 830. Если нет, то передача обычного пакета данных выполняется на этапе 845.
840: Если составной пакет был запланирован, то составной пакет данных формируется посредством объединенного кодирования отдельных пакетов данных из буферов данных.
845: Пакет данных, или обычный пакет данных, или составной пакет данных, посылается.
Третья часть (c) операции посылающих узлов касается того, как долго априорная информация должна храниться. Когда принимающий узел принял ему назначенный пакет данных, другие приемники больше не должны продолжать сохранять соответствующую информацию, так как она никогда не будет снова передаваться повторно. Кроме того, другие приемники не должны продолжать информировать, что они приняли эту информацию. Следовательно, требуется механизм, чтобы подавлять (сбрасывать) устаревшую информацию других пользователей, а также гарантировать, что сообщения обратной связи не посылаются для пакетов, уже принятых назначенным узлом. Эта операция содержит этапы:
850: Посылающий узел определяет, было ли сообщение сброса (подавления) послано, и какого(их) пакета(ов) данных это сообщение сброса должно касаться.
830: Посылающий узел посылает сообщение сброса (подавления).
Соответствующий цикл для обработки сообщений сброса также выполняется в приемнике. Цикл в приемнике, как иллюстрируется на фиг. 7, содержит этапы:
760: Принимающий узел контролирует, было ли принято сообщение сброса.
765: Принимающий узел идентифицирует и сбрасывает (подавляет) устаревшую априорную информацию на основании информации, содержащейся в принятом сообщении сброса.
Подробности и примеры подходящих механизмов сброса описаны ниже.
Устройство согласно настоящему изобретению, подходящее для выполнения вышеупомянутых описанных вариантов осуществления, схематично иллюстрируется на фиг.9. Модули и блоки согласно настоящему изобретению, описанному выше, должны быть расценены как функциональные части посылающего и/или принимающего узла в системе связи и, необязательно, как физические объекты. Модули и блоки, по меньшей мере частично, предпочтительно осуществляются как средства программного кода, приспособленного для выполнения способа согласно изобретению. Термин “содержащий”, прежде всего, относится к логической структуре, и термин “соединенный” должен интерпретироваться как связи между функциональными частями и необязательно физические соединения. Однако, в зависимости от выбранного исполнения, некоторые модули могут быть реализованы как физически отличительные объекты в приемнике или передатчике.
Передатчик 900 посылающего узла содержит средство 903 передачи, которое обеспечивает необходимые функциональные возможности для выполнения фактической передачи. Подходящие средства передачи, например, радиопередающие средства, известны специалисту. Передатчик 900 также содержит модуль 905 объединенного кодирования и планирования, в котором постоянно находится алгоритм объединенного кодирования и планирования. Модуль 905 объединенного кодирования и планирования находится в связи с модулем 910 априорной информации; модулем 915 дополнительной информации; буферным модулем 920; и модулем 925 кодера и сортировки PDU. Передатчик также содержит средство для приема и обработки сообщений 930 обратной связи как ACK, так и/или NACK, для пакетов, которые были приняты назначенным приемником и информации обратной связи, содержащих априорную информацию от принимающих узлов. Модуль 905 объединенного кодирования и планирования содержит средство 933 для обычных операций ARQ. Модуль 910 априорной информации сохраняет и обновляет список статусов принятых пакетов на основании информации обратной связи от принимающих узлов, то есть статусов расширенного или полностью принятого пакета. Буферный модуль 920 обеспечивает буферы посылки, обычно один для каждого потока. Предполагая, что передатчик намеревается послать пакет, он рассматривает, какой пакет постоянно находится в буферах посылки буферного модуля 920 и априорную информацию различных принимающих узлов, которая хранится в модуле 910 априорной информации. Возможное дополнительное знание, обеспечиваемое модулем 915 дополнительной информации, также используется для планирования. Дополнительная информация включает в себя, но не ограничивается, информацию качества канала (CQI) для каждой линии связи, используемую в гибком планировании, описанном ниже, требования QoS для возможности расширения изобретения аспектами планирования QoS, а также статус отдельных пакетов, например значение их времени жизни. В случае со множеством переключений для распределенного исполнения модуль 915 дополнительной информации также содержит средство для определения стоимости маршрутизации, а также средство для определения стоимости маршрутизации соседних узлов, и, таким образом, позволяя планировщику рассматривать стоимость маршрутизации соседних узлов также как свою собственную стоимость маршрутизации, чтобы гарантировать, что пакеты данных направляются к предназначенному адресату, а также разрешая решения планирования оптимальной маршрутизации. Если мобильность является разумно низкой, альтернативой распределенному случаю может быть централизованное определение маршрута и стоимости. Для этого последнего случая информация, относящаяся к маршруту, распространяется тогда от центрального узла к другим узлам в сети. На основании этих параметров, и возможно дополнительных параметров, один или более пакетов выбираются из буферов посылки к модулю 925 кодера и сортировки PDU. Если множество пакетов собраны, они совместно кодируются, чтобы сформировать составной пакет данных модулем 925 кодера и сортировки PDU, и затем добавляют CRC и FEC (предпочтительно), и пакеты передают посредством средства 905 радиопередачи.
Приемник 940 принимающего узла содержит средство 945 приема, которое обеспечивает необходимые функциональные возможности для выполнения фактического приема. Подходящие средства приема, например радиоприемники, известны специалистам. Приемник также содержит средство для выдачи и обработки сообщений обратной связи, как относящихся к ARQ, так и относящихся к априорной информации 950; модуль 955 FEC декодирования и CRC в соединении со средством 945 приема; модуль 960 идентификации и декодирования PDU и буфер 965 априорной информации. Модуль 960 идентификации и декодирования PDU находится в соединении с модулем 955 FEC декодирования и CRC и буфером 965 априорной информации, а также с функциональными средствами/модулями верхнего уровня (не показаны) для обеспечения принятых данных. Буфер 965 априорной информации содержит буферы для корректно декодированных пакетов (здесь декодированные пакеты означает, что CRC является правильным, однако может все еще иметься некоторое остаточное объединенное кодирование, то есть удаленное влияние пакета A, но пакеты B и C все еще закодированы вместе), например, прослушиваемых пакетов данных, предназначенных для других приемников. Модуль 960 идентификации и декодирования PDU содержит средство 952 ARQ. Средство 952 ARQ должно интерпретироваться широко, то есть быть способным обработать положительные, отрицательные подтверждения или их комбинацию.
Приемник 940 декодирует пакет и идентифицирует, какие пакеты были закодированы вместе. На основании априорного знания ранее корректно принятых пакетов (предназначенных для других пользователей) и принятого совместно закодированного пакета принимающий узел извлекает новую информацию. Декодированная информация может быть затем направлена к более высоким уровням (если она предназначена для этого узла) или сохранена в буфере 965 априорной информации. В случае когда возможно только частично декодировать составной пакет данных, например, когда три или более пакетов данных совместно закодированы и только один априорный пакет данных доступен для приемника 940, тогда остаточную совместно закодированную информацию, остаточный составной пакет данных, сохраняют. Примером является передача составного пакета данных, который содержит совместно закодированные пакеты данных A, B и C и в котором только пакет C постоянно находится в приемнике. Тогда остаточный составной пакет данных, комбинация А, закодированного с B, будет сохранена в буфере 965 априорной информации приемника 940.
После того как приемник 940 успешно принял закодированный пакет данных, он обновляет список статусов принятых пакетов, постоянно находящийся в модуле 910 априорной информации передатчика 900, немедленно или с небольшой задержкой. Задержка может быть полезна для того, чтобы не занимать ресурсы и не тратить впустую энергию без необходимости из-за служебных расходов на каждый пакет обратной связи. Обновление достигается посредством средства 952 ARQ приемника 940 и средства 933 ARQ передатчика 900.
Кроме того, следует заметить, что приемник 940 может также действовать как передатчик, если данные затем передаются. То же самое справедливо для передатчика 900, то есть он также может действовать как приемник для других данных.
Используя априорную информацию, например, прослушиваемую информацию, и позволяя как посылающему узлу (с помощью информации обратной связи), так и принимающему узлу использовать эту информацию, возможно уменьшить количество передач, необходимых для передачи некоторого количества данных от одного узла к другому, и в сценарии со множеством переключений – от источника до конечного адресата. Это повышает общую производительность, а также производительность отдельного пользователя. Кроме того, характеристики сквозного времени ожидания должны быть улучшены. Альтернативно, в зависимости от условий меньшее количество передач может использоваться, чтобы повысить эффективность использования мощности и энергии в отправителе и системе связи с множеством приемников.
В частности, эффективность множества параллельных ARQ однонаправленной передачи возможно повысить относительно производительности и задержки, а также потребления энергии.
Кроме того, эффективность алгоритмов планирования передачи в сети с множеством переключений возможно повысить относительно производительности и задержки, а также потребления энергии. Относительно передачи со множеством переключений одна из дополнительных целей изобретения состоит в том, чтобы усовершенствовать так называемую гибкую схему передачи со множеством переключений, то есть схем, которые стремятся адаптировать передачу так, что пиковые возможности, такие как те, что предлагаются каналом и непредсказуемой флуктуирующей помехой, используются при выборе того, с кем осуществлять связь.
Способы кодирования
Способ кодирования, подходящий для способа согласно настоящему изобретению, предпочтительно основан на побитном кодировании “исключающее ИЛИ” из-за его простоты. Другие коды также могут использоваться, например код стирания, подобный коду Рида-Соломона. Относительно кодирования типа Рида-Соломона, та же самая операция, что и операция “исключающее ИЛИ” между двумя словами, возможна, например, если выбрать сокращенный код RS (Рида-Соломона) с K=2 и с ключевыми словами N=3. Не систематическое ключевое слово N-K=1 повторно посылают вместо двух обработанных побитно с помощью “исключающее ИЛИ” слов. Другие коды стирания или ориентированные на код стирания способы кодирования также могут использоваться.
Много различных способов может предполагаться для совместного (объединенного) кодирования с помощью “исключающего ИЛИ” и последующей идентификации, какие пакеты являются совместно кодированными вместе. Пример возможных форматов кадра кода дается со ссылками на иллюстрации на фиг. 10. В этом примере два пакета (A) данных 1005 и (B) 1010 совместно кодируют, чтобы сформировать составной пакет данных 1015. Полезные данные могут быть обработаны посредством “исключающего ИЛИ” непосредственно, но должны предлагаться средства для идентификации того, какие отдельные пакеты, где закодированы вместе. В одном способе кодирования, см. фиг. 10, идентификаторы (например, заголовки или поднаборы уместной информации из заголовков отдельных пакетов) включенных совместно закодированных пакетов (здесь показываются только два пакета, но может быть легко расширено на большее количество пакетов) передаются в заголовке 1020 составного пакета. Идентификатор может, например, содержать идентификатор исходного узла, идентификатор узла адресата и порядковый номер пакета для каждого закодированного пакета. Кроме идентификаторов заголовок составного пакета также сообщает формат составного пакета, то есть где пакеты помещены в составной пакет. Например, если имеются два пакета и один из пакетов содержит меньшее количество битов, чем другой пакет, как на фиг. 10, то количество битов, содержащихся в пакете с меньшим количеством битов, а также позиция первого бита более короткого пакета также указываются. Когда количество битов отличается, используется заполнение 1025, как на фиг. 10 для пакета B 1010. Поле формата заголовка 1020 составного пакета может также сообщать, что два пакета B и C конкатенированы один с другим (не показано) и затем закодированы, например, с третьим пакетом или более пакетами. После корректного FEC декодирования и детектирования корректного CRC 1030 иллюстрируемый заголовок составного пакета разрешает простую идентификацию того, какие пакеты были закодированы вместе. Приемник использует эту информацию, чтобы выбрать априорно известный пакет из памяти декодированных пакетов данных и извлечь другой(ие) пакет(ы). Следует отметить, что заголовок составного пакета может также содержать другую информацию, как в сети с множеством переключений, которая может кроме идентификаторов пакета быть причастна к тому, какая ретрансляционная станция выполняет посылку и какие ретрансляционные станции должны выполнять прием.
Другая версия кодирования, чем та, что иллюстрирована выше (не показана), заключается в передаче заголовка составного пакета в обычном радиовещательном сообщении, то есть типа передачи сигналов вне диапазона. Другой способ кодирования (не показан) может использовать подход слепой идентификации, то есть гипотезу тестирования закодированных сообщений в отношении базы данных априорной информации и использование проверки CRC, чтобы проверить достоверность тестирования гипотезы.
Настоящее изобретение не ограничено использованием операций “исключающее ИЛИ” при кодировании составных пакетов данных. Операции кодирования предпочтительно приспособлены к применяемой технологии передачи, емкости обработки, чувствительности к задержкам и т.д. Другой пример операции кодирования, подходящей для использования в способе согласно изобретению, основан на операторе взятия по модулю. Кодирование в расчете на каждый символ совокупности сигналов рассматривается ниже, и процедура может быть повторена для множества последовательных символов совокупности сигналов. Операция взятия по модулю в этом примере должна выполняться как для вещественной, так и для мнимой частей независимо при обработке комплексных чисел и использовать определение операции модуля и математического замечания о том, что:
((А + B) mod L – B) mod L = (A) mod L
что указывает, что реальный оцененный сигнал B может быть наложен на реальный оцененный сигнал А и разрешать невозмущенное восстановление сигнала А (до тех пор, пока сигнал не превышает уровень L квантования), в то время как амплитуда (и, следовательно, мощность) составного сигнала ограничена (нелинейно кодированного).
На практике это может использоваться следующим образом. Отправитель имеет символы S1 и S2, которые обычно принимают различные значения. Например, в 16 QAM (квадратурной амплитудной модуляции) Si {-3,-1,1,3} +i*{-3,-1,1,3}. Теперь, поскольку приемник знает последовательность D2(n) данных, он также знает соответствующий символ S2 (для каждого S1). Тогда для вещественной части (и, равным образом, для мнимой части) совместно и кодированный сигнал в передатчике равен
(S +S ) mod L
который затем принимается и корректируется, то есть является компенсированным в отношении потерь на трассе (обеспечивая то, что один и тот же масштаб используется для принятого сигнала и сигнала, который вычитается), и комплексно фазовым (обеспечивая то, что соответствующие синфазная и квадратурная фазовая оси совмещены с сигналом, который вычитается), чтобы выдать принятый сигнал
R = (S + S ) mod L + N
где N является членом шума (и помехи). Полезный сигнал тогда восстанавливается с помощью
 = ((R ) mod L – S ) mod L = (S + N ) mod L
Нелинейное кодирование также может быть выполнено квантованием посредством структуры более высокой размерности, чем только одноразмерное квантование, как было описано выше. В этом случае квантование работает с векторами вместо скаляров.
Сообщения обратной связи
Обратная связь от принимающего узла к посылающему узлу может рассматриваться как часть ACK-процедуры и предпочтительно использует заранее определенное сообщение обратной связи, содержащее как ACK, так и априорную информацию. Сообщения обратной связи могут быть составлены различными способами, например, в зависимости от используемых протоколов передачи, ARQ-процедуры и т.д. Сообщения обратной связи предпочтительно выдаются и обрабатываются с помощью средств 933 и 952 ARQ передатчика 900 и приемника 940 соответственно. Не ограничивающие примеры возможных сообщений обратной связи приводятся ниже:
A) В ARQ однонаправленной передаче только один посылающий узел использует принятые сообщения статуса, приходящие от множества приемников, с которыми он обменивается:
a. Учитывая это, отметим, что если закодированному пакету назначен уникальный порядковый номер, это является достаточным, если приемник отвечает с помощью него. Это означает, что передатчик на основании знания того, что именно приемник предварительно принял и порядкового номера закодированного пакета, может определить то, какое знание о данных имеет приемник и в какой закодированной форме оно сохранено. Это иллюстрируется тем, что если составной пакет данных (совместно закодированные пакеты данных A, B и C) был принят и что только пакет C постоянно находился в приемнике. Тогда комбинация А, закодированного с B, будет сохраненной формой в приемнике после удаления влияния пакета C данных.
b. Альтернатива к подходу уникального порядкового номера заключается в использовании временной метки, когда пакет данных был принят, так как передатчик может хранить то, что было передано в различные моменты времени.
c. Другой альтернативный способ состоит в том, что в сообщении обратной связи приемника задаются отдельные (декодированные) порядковые номера пакетов данных.
B) В сетях с множеством переключений множество узлов могут прослушивать сообщения статусов (даже если они не были отправителями соответствующих пакетов), а не только передающая станция. Следовательно, имеется потребность иметь формат кадра, позволяющий всем узлам идентифицировать то, какие пакеты данных закодированы вместе. Явный формат кадра, как показано на фиг. 10, представляет возможное решение. Следует заметить, что в сетях с множеством переключений множество экземпляров ARQ однонаправленной передачи могут также принадлежать единственному передатчику.
Возможный формат кадра для принятого сообщения статуса пакета данных согласно случаю A) и случаю B) выше, то есть соответствующий формату кадра на фиг. 10, схематично иллюстрируется на фиг. 11. Сообщение 1100 обратной связи содержит заголовок 1105 сообщения, иллюстрирующий структуру сообщения обратной связи. Идентификатор 1110 потока указывает, какому потоку принадлежит статус принятого пакета. В сценарии со множеством переключений, например, могут быть встроены идентификаторы источника и адресата, также как и индикация подпотока, уникальная для пары источник-адресат. Поле 1115 принятого пакета указывает, какие пакеты были приняты, то есть пакеты данных, являющиеся частью априорной информации принимающего узла, или обычные подтверждения для пакета, которые были предназначены для узла, посылающего сообщение обратной связи. Список явных порядковых номеров, или битовый массив с начальными порядковыми номерами, может использоваться для этой цели. Приемник также передает обратно статус принятых пакетов, предназначенных для самого себя, на передатчик, как в традиционном ARQ однонаправленной передачи.
Чтобы избежать того, когда приемник посылает информацию обратной связи относительно пакетов данных для других приемников, которая уже была принята назначенным приемником, а также излишнего сохранения этих пакетов, необходим способ сброса. Этот способ описан ниже.
Сообщение прямого и обратного сброса
Когда приемник принял свою предназначенную информацию (то есть пакеты данных), другие приемники не должны больше продолжить сохранять соответствующую информацию, так как она никогда не будет повторно передаваться снова. Кроме того, другие приемники не должны продолжить передавать сообщение, что они приняли эту информацию. Следовательно, требуется механизм, чтобы подавлять (сбрасывать) устаревшую информацию других пользователей, а также гарантировать, что сообщения статуса расширенного или полного принятого пакета больше не посылаются для пакетов, уже принятых назначенным узлом.
Это является задачей так называемого прямого сообщения сброса, которое указывает (посредством радиовещания), какие пакеты были приняты своими предназначенными принимающими узлами. После приема такого сообщения приемник 940 удаляет декодированные пакеты данных из своего буфера 965 априорной информации и больше не сообщает о соответствующем пакете данных в качестве принятого.
Минимальным требованием может быть то, что отправитель должен гарантировать, что более низкая граница окна передачи ARQ посылается в качестве сообщения прямого сброса и что пакеты ниже более низкого окна передачи отбрасываются в приемниках.
Более предпочтительно, передатчик информирует все приемники относительно по меньшей мере более низкой границы окна ARQ, то есть информирует приемники вплоть до того порядкового номера, который был принят предназначенным приемником, своего собственного потока. Это может рассматриваться как многоадресное вещание более низких границ окна ARQ множеству пользователей и представлять альтернативный вариант осуществления настоящего изобретения.
Альтернативой вышеупомянутому, или предпочтительно дополнением, является использование сообщения обратного сброса. В этом альтернативном варианте осуществления первый узел прослушивает принятое сообщение статуса пакета данных от соседнего(их) узла(ов) приема относительно их корректно принятых пакетов, предназначенных для упомянутого узла. Первый узел использует эту информацию, чтобы произвести чистку соответствующих пакетов данных в своем собственном буфере, содержащем пакеты данных, предназначенные для других узлов.
Алгоритмы планировщика
Планирование согласно настоящему изобретению выполняется модулем 905 объединенного (совместного) кодирования и планирования в передатчике 900 на этапе 340. Этот раздел описания иллюстрирует способ того, как идентифицировать подходящие пакеты данных, чтобы выполнять совместное кодирование, и какое кодирование использовать.
Чтобы проиллюстрировать это, используется пример ARQ однонаправленной передачи многим пользователям, но обобщение для сценария со множеством переключений является очевидным. Как описано выше, отправитель поддерживает список статусов принятых пакетов от множества узлов, список статусов принятых пакетов, постоянно находящихся в модуле 910 априорной информации. Пример списка статусов схематично иллюстрируется в таблице. Список статусов, здесь иллюстрируемый в качестве примера, показывает, какие пакеты кем были приняты. Например, узел 1 не принял свои собственные предназначенные пакеты, но принял пакеты с порядковыми номерами SeqNr n+1 и n+3, предназначенные для узла 2, а также пакеты с порядковыми номерами SeqNr n+4, предназначенные для узла 3.
На основании этого списка и, возможно, другой дополнительной информации, которая выдается из модуля 915 дополнительной информации, отправитель идентифицирует, какие пакеты совместно кодировать и передавать. Например, отправитель может идентифицировать и снова посылать кодирование пакета с порядковым номером n к узлу 2 и пакет с порядковым номером n к узлу 3 как побитное кодирование D2(n) D3(n) для полных пакетов, где D указывает последовательность данных некоторой длины, подстрочный символ – принимающий узел, и число в скобках – порядковый номер. Если и узел 2, и узел 3 принимают это сообщение, оба могут декодировать свою информацию. Следует заметить, что нет необходимости использовать одни и те же порядковые номера, примером этого является кодирование D2(n+1) D1(n+2). Также следует заметить, что кодирование не ограничено только двумя пакетами, например, полезность кодирования трех пакетов D1(n+4) D2(n+3) D3 (n+4) может быть понятна из таблицы.
Предпочтительный алгоритм планирования и кодирования описан ниже. Чтобы облегчить понимание алгоритма, рассмотрим декартово произведение количества элементов m:
Пусть CPm (A1,…, Ak) есть декартово произведение количества элементов m по наборам A1, A2,…., Ak, где k m.
Например: пусть А = {а1}, B = {b1, b2} и C = {c1, c2}, тогда CP3(A, B, C) = {(а1, b1, с1), (а1, b1, с2), (а1, b2, с1), (а1, b2, с2)} и
CP2 (A, B, C) = (а1, b1), (а1, b2), (а1, с1), (а1, с2), (b1, с1), (b1, с2), (b2, с1), (b2, c2)}
Впредь, наборы Ai должны интерпретироваться как набор пакетов (aj), предназначенных для узла vi, уже переданных, но не принятых узлом vi (здесь j является индексом для порядкового номера).
Предпочтительный алгоритм планирования и кодирования, который должен быть выполнен в качестве подэтапов этапа 330 способа согласно изобретению, описанного со ссылками на фиг. 3, содержит этапы:
1. Идентифицировать все входные сигналы, где надлежащий приемник принял предназначенный ему пакет. Отбросить эти входные сигналы, поскольку цель передачи назначенного пакета к желательному узлу уже выполнена (то есть очистить уже принятый пакет из буфера для приемника). Остающиеся входные сигналы могут теперь использоваться в объединенном кодировании.
2. Сформировать декартово произведение и начать поиск декартова произведения в порядке по убыванию. Всякий раз, когда жизнеспособный набор входных сигналов найден (то есть все пакеты в наборе были приняты всеми узлами в наборе, за исключением предназначенного приемника), поиск останавливается, и набор пакетов, которые должны быть подвергнуты операции “исключающее ИЛИ”, найден. Альтернативно, набор узлов упорядочивается в желательном приоритетном порядке. (Наиболее важные наборы в пределах декартова произведения первыми, затем в порядке уменьшения.)
3. Кодировать данные для каждого набора, например, в виде побитной операции “исключающее ИЛИ” всех узлов.
4. Передать совместно закодированный пакет (с подходящей комбинацией добавленного в конец заголовка, хвостовых битов, CRC и FEC).
5. Иногда: Принять списки статусов принятого пакета от принимающих узлов и возможно других узлов.
6. Иногда: Сбросить буферы приемника корректно декодированных пакетов другого приемника, то есть послать сообщение прямого сброса.
7. Возврат на этап 2.
Альтернативно, уменьшенная сложность достигается посредством замены второго этапа следующим:
2′. 1) выбрать один пакет (случайным образом или некоторым образом расположенный по приоритетам пакет на основании, например, задержки пакета, требований QoS (качества услуг) и/или справедливости) и включить его в набор P (первоначально пустой),
2) идентифицировать, какие другие узлы приняли (и подтвердили) этот пакет и включить их в набор N,
3) теперь возможны две различные опции:
i) сформировать декартово произведение количества элементов k и ниже (предполагая, что количество узлов, которые приняли пакет, равно k) и следовать алгоритму, описанному выше, или
ii) выполнить итерацию 2′, то есть выбрать второй (и третий, и т.д.) пакет (из набора узлов в N) и обновить наборы P и N (чтобы осуществить то, что в наборе N все предварительно выбранные пакеты должны быть приняты рассматриваемым узлом, и некоторый пакет для рассматриваемого узла должен быть принят всеми предварительно выбранными узлами, то есть предназначенными приемниками выбранных пакетов). Это выполняется до тех пор, пока набор N не станет пустым.
Возможны другие алгоритмы планирования и кодирования. Например, рассмотрим пакеты с различными порядковыми номерами, направленные к одному узлу. Как на этапе один выше, удалить пакет, который уже был принят назначенным узлом. Упорядочить последующие пакеты в зависимости от количества других узлов, которые приняли этот пакет. Повторить этот процесс для заголовка пакетов для каждого другого узла. Теперь, некоторые пакеты были приняты многими узлами, в то время как другой был принят только в немногих или никаких других узлах. Стратегия теперь заключается в том, чтобы искать совместимые наборы узлов среди тех пакетов, которые были приняты многими узлами, и если подходящие совместимые наборы не найдены, переходить к пакетам, принятым все меньшим и меньшим количеством узлов. Эта процедура предварительной сортировки уменьшает сложность поиска, как описано выше в основном алгоритме.
Гибкое планирование
В дополнение к объединенному кодированию и планированию, описанному выше, решение планирования может также включать в себя информацию индикации качества канала (CQI) для дальнейшего совершенствования работы.
Использование CQI известно в планировании согласно предшествующему уровню техники, где оно часто называется гибким планированием. CQI является показателем, подаваемым обратно от принимающего узла к посылающему узлу, указывающим оцененное (и иногда предсказываемое) качество линии связи для предстоящего экземпляра(ов) передачи. На основании показателя CQI и, возможно, других критериев посылающий узел в традиционном гибком планировании выбирает пакет данных и посылает его при (оцененной/предсказанной) пиковой возможности. Такая пиковая возможность обычно происходит, когда мгновенное качество канала превышает свое среднее качество, например, из-за того, что канал испытывает замирание и/или что помеха отсутствует или канал с доминирующей помехой испытывает замирание. Так как канал изменяется со временем из-за мобильности и флуктуирующего трафика, CQI должен регулярно обновляться. Гибкое планирование, как известно, повышает производительность посредством эффекта, который обычно известен как разнесение по многим пользователям.
Согласно этому аспекту изобретения гибкое планирование и объединенное планирование и кодирование совместно выполняются посредством объединения обеих функций. В сетях с множеством переключений можно также захотеть включить рост стоимости маршрутизации каждого пакета к адресату, то есть вне зависимости от того, используется ли гибкое планирование или нет.
Важно, что имеются некоторые выгоды от применения изобретения для гибкого планирования, заключающиеся в том, что множество пиковых возможностей могут быть выбраны и использованы. Это отличается от предшествующего уровня техники, которое является ограниченным из-за недостатка возможности посылать множество сообщений, содержащихся в одном пакете, посылать только один пакет и, следовательно, самое большее использовать только одну пиковую возможность одновременно. Фиг. 12 схематично иллюстрирует вариант осуществления изобретения, использующий множество пиковых возможностей, более подробно. Иллюстрируется случай гибкого со многими переключениями планирования и передачи, в котором множество из узлов 1205, 1210, 1215, 1220 и 1225 с множеством переключений занято в направлении пакета (a) данных и пакета (A) данных к их соответствующим адресатам. Узел 1205 в настоящее время действует как посылающий узел vs. Принимающий узел va 1210 сохраняет априорную информацию, содержащую пакет (A) данных, принимающий узел vA 1215 – пакет (a) данных, принимающий узел vx 1220 – пакет (a) данных и принимающий узел vy 1225 – пакет данных (b). Гибкое со многими переключениями планирование используется посылающим узлом 1205 в том, что используются эти два канала, предлагающие пиковые возможности, каналы к принимающему узлу va 1210 и канал к принимающему узлу vA 1215. Поэтому составной пакет данных, основанный на пакетах (A) и (a) данных, выбирают посредством алгоритма кодирования и планирования, вместо составного пакета данных, который должен быть передан в настоящее время по менее благоприятным каналам. Способ не ограничивается иллюстрируемым использованием двух линий связи или двумя отдельными пакетами данных.
Чтобы иллюстрировать работу изобретения в сети с множеством переключений, использующей идею гибкого планирования, можно рассмотреть два планировщика, основанных на схемах со множеством переключений, обозначенных SDF и MDF, как описано в вышеупомянутых документах. Любой узел, прослушивающий принятые сообщения статуса пакетов, то есть расширение схемы подтверждения, имеющейся в SDF и MDF, чтобы поддержать изобретение, использует эту информацию в процессе планирования и посылает пакет или традиционным способом, или совместно кодирует множество пакетов согласно изобретению. В частности, значения CQI для линий связи к различным пользователям могут быть приняты во внимание в процессе планирования.
В то время как вышеупомянутая схема объединенного гибкого планирования и кодирования были иллюстрированы прежде всего для сети с множеством переключений, ясно, что она также может использоваться в сценарии ARQ однонаправленной передачи с многими пользователями.
Способ и устройство согласно изобретению применимы в любой сети, где пакеты могут быть посланы больше, чем один раз. Это является неотъемлемым в сетях, применяющих ARQ (из-за повторных передач), а также в сетях с множеством переключений (из-за того, что пакеты обычно направляются посредством множества переключений, а также из-за потенциальной реализации ARQ однонаправленной передачи). Изобретение было описано для беспроводного сценария, но одинаково может хорошо использоваться в других сценариях связи.
Способ согласно настоящему изобретению предпочтительно реализуется посредством программных продуктов или продуктов программных модулей, содержащих средство программного кода для выполнения этапов способа. Программные продукты предпочтительно выполняются на множестве объектов в пределах сети. Программные продукты являются распределенными и загружаемыми из используемой компьютером среды, такой как память USB, CD или передаются по эфиру, или загружаются из Интернета, например.
В то время как изобретение было описано со ссылками на то, что, как рассматривается, является наиболее практически реализуемыми и предпочтительными вариантами осуществления, должно быть понятно, что изобретение не должно быть ограничено раскрытыми вариантами осуществления, напротив, предназначено охватить различные модификации и эквивалентные конструкции, включенные в пределы содержания и формы прилагаемой формулы изобретения.
Формула изобретения
1. Способ кодирования и планирования пакетов данных в системе связи, при этом система связи содержит по меньшей мере посылающий узел (405) и по меньшей мере два принимающих узла (410-420), и причем посылающие узлы буферизуют, планируют, кодируют и передают пакеты данных, содержащие информацию, предназначенную конкретному принимающему узлу или к конкретным принимающим узлам, способ отличается тем, что содержит этапы: принимающий узел (410) выборочно сохраняет принятую информацию в качестве априорной информации, причем по меньшей мере часть априорной информации является прослушиваемой информацией, предназначенной для другого принимающего узла, принимающий узел (410) передает обратно информацию о своей априорной информации к посылающему узлу (405), и посылающий узел (405) использует эту информацию относительно априорной информации, чтобы сформировать и передать составной пакет данных к по меньшей мере принимающему узлу (410), при этом упомянутый составной пакет данных содержит информацию, назначенную к по меньшей мере двум принимающим узлам.
2. Способ по п.1, отличающийся тем, что содержит этапы: (310) по меньшей мере один из принимающих узлов (410-420) принимает и сохраняет по меньшей мере один пакет данных, предназначенный для другого принимающего узла, причем сохраненные пакеты данных формируют по меньшей мере часть априорной информации принимающего узла, который принял пакет данных; (320) по меньшей мере один из принимающих узлов (410-420) передает обратно информацию о своей априорной информации к первому посылающему узлу и/или к по меньшей мере ко второму посылающему узлу, (330, 340) по меньшей мере один из посылающего(их) узла(ов) (405), которые приняли информацию обратной связи, формирует и передает составной пакет данных (450), причем составной пакет данных (450) содержит информацию от по меньшей мере двух отдельных пакетов данных, каждый содержащий информацию, назначенную к по меньшей мере двум принимающим узлам, при этом в упомянутом формировании используется априорная информация по меньшей мере одного принимающего узла (410-420); и (350) по меньшей мере один принимающий узел декодирует, по меньшей мере частично, составной пакет данных (450) с использованием своей априорной информации.
3. Способ по п.2, в котором на этапе (330, 340) формирования и передачи посылающий узел формирует составной пакет данных посредством объединенного кодирования и планирования по меньшей мере двух пакетов данных.
4. Способ по п.3, в котором операции “исключающее ИЛИ” используются в объединенном кодировании.
5. Способ по п.3, в котором операции взятия по модулю используются в объединенном кодировании.
6. Способ по п.3, в котором при объединенном кодировании и планировании выполняется оптимизация, рассматривающая различные комбинации пакетов и различные комбинации приемников, и знание их сохраненной априорной информации.
7. Способ по п.6, в котором дополнительная информация оптимизации используется в дополнение к априорной информации.
8. Способ по п.7, в котором дополнительная информация содержит один или комбинацию параметров из: требований качества услуг, индикации качества канала, значений стоимости маршрутизации и характеристики пакета данных.
9. Способ по любому из пп.2-8, в котором на этапе (350) приема и декодирования принимающий узел частично декодирует составной пакет данных, используя свою априорную информацию, причем упомянутый частично декодированный составной пакет данных формирует остаточный составной пакет данных и сохранен принимающим узлом в качестве априорной информации.
10. Способ по любому из пп.2-8, в котором на этапе (350) приема и декодирования принимающий узел сохраняет составной пакет данных.
11. Способ по п.10, в котором на этапе (350) приема и декодирования принимающий пакет узел сохраняет составной пакет данных в качестве априорной информации.
12. Способ по любому из пп.2-8, в котором на этапе приема и сохранения (310) по меньшей мере один составной пакет данных, предназначенный для другого принимающего узла, сохраняют как часть априорной информации принимающего узла.
13. Способ по любому из пп.1-8, в котором количество битов, используемых для составного пакета данных, меньше чем сумма количества битов двух отдельных пакетов данных.
14. Способ по любому из пп.1-8, в котором на этапе приема (310) принимающие узлы (410-420) принимают пакеты данных, переданные от первого посылающего узла (405), на этапе (320) обратной передачи принимающие узлы (410-420) подают информацию обратно к по меньшей мере первому посылающему узлу (405), и на этапе формирования и передачи составного пакета данных (340) первый посылающий узел (405) формирует и передает составной пакет данных.
15. Способ по любому из пп.1-8, в котором на этапе (320) обратной передачи по меньшей мере один принимающий узел (410-420) подает информацию обратно к по меньшей мере второму посылающему узлу (405), и на этапе формирования и передачи составного пакета данных (340) второй посылающий узел (405) формирует и передает составной пакет данных.
16. Способ по любому из пп.1-8, в котором система связи является системой сотовой связи, и первый посылающий узел является базовой станцией (505).
17. Способ по любому из пп.1-8, в котором система связи является системой со множеством переключений.
18. Способ в посылающем узле в системе связи объединенного кодирования и планирования множества пакетов данных, в которой посылающий узел (405) выполнен с возможностью обмена с по меньшей мере двумя принимающими узлами (410-420), и посылающий узел передает информацию в форме отдельных пакетов данных, предназначенных отдельным принимающим узлам, способ отличается тем, что содержит этапы: (805) принимают информацию обратной передачи от по меньшей мере одного из принимающих узлов (410-420), причем упомянутая информация обратной передачи содержит информацию об априорной информации от по меньшей мере одного из принимающих узлов (410), при этом информация об априорной информации содержит информацию об информации, прослушиваемой принимающим узлом (410); (825-840) формирование составного пакета данных из множества пакетов данных, предназначенных для по меньшей мере двух принимающих узлов (410-420), упомянутое формирование по меньшей мере частично основано на информации относительно упомянутой априорной информации.
19. Способ по п.18, дополнительно содержащий этапы: контролируют (805) посылающим узлом – были ли приняты какие-либо сообщения обратной связи; определение (810) посылающим узлом – является ли информация обратной связи и информацией обратной связи относительно априорной информации от принимающего узла или является ли она информацией обратной связи относительно принятых собственных данных, и если относительно собственных данных, то посылающий узел продолжает выполнять обычные операции ARQ, и если относительно априорной информации, то посылающий узел (820) сохраняет информацию из информации обратной связи в буфере априорной информации, и возвращается на этап контроля 805.
20. Способ по п.19, в котором на этапах (330, 340) формирования посылающий узел формирует составной пакет данных посредством объединенного кодирования и планирования по меньшей мере двух пакетов данных.
21. Способ по п.20, в котором операции “исключающее ИЛИ” используются в объединенном кодировании.
22. Способ по п.20, в котором операции взятия по модулю используются в объединенном кодировании.
23. Способ по любому из пп.20-22, в котором в объединенном кодировании и планировании выполняется оптимизация, рассматривающая различные комбинации пакетов и различные комбинации приемников и знания их сохраненной априорной информации.
24. Способ по п.23, в котором в оптимизации используется дополнительная информация в дополнение к априорной информации.
25. Способ по п.24, в котором дополнительная информация содержит один или комбинацию параметров из: требований качества услуг, индикации качества канала, значений стоимости маршрутизации и характеристик пакета данных.
26. Способ по любому из пп.19-22, в котором количество битов, используемых для составного пакета данных, меньше чем сумма количества битов из двух отдельных пакетов данных.
27. Способ декодирования в принимающем узле в системе связи, в которой принимающий узел выполнен с возможностью обмена с по меньшей мере одним посылающим узлом (405), при этом способ отличается тем что содержит этапы: сохраняют (310) в качестве априорной информации по меньшей мере один пакет данных, предназначенный для по меньшей мере одного другого принимающего узла; подают обратно (750) информацию относительно априорной информации к по меньшей мере одному другому узлу; и после приема (340, 720) составного пакета данных декодируют по меньшей мере частично упомянутые составные пакеты данных с помощью сохраненной априорной информации.
28. Способ декодирования в принимающем узле по п.27, дополнительно содержащий этапы: определяют (705) принимающим узлом, является ли принятый пакет данных составным пакетом данных или обычным пакетом данных; определяют (710) принимающим узлом, возможно ли сопоставить составной пакет данных с какой-либо предварительно сохраненной априорной информацией, и если невозможно – составной пакет данных сохраняют в качестве априорной информации.
29. Способ декодирования в принимающем узле по п.27 или 28, дополнительно содержащий этап сохраняют (745) остаточный составной пакет данных, если предварительно сохраненная априорная информация достаточна только для частичного декодирования составного пакета данных, причем упомянутый остаточный составной пакет данных содержит частично декодированный составной пакет данных и сохранен в качестве априорной информации.
30. Способ по любому из пп.27-28, в котором на этапе приема и сохранения (310) принимающие узлы принимают пакеты данных, переданные от первого посылающего узла (405), на этапе (705) обратной передачи принимающие узлы передают назад к по меньшей мере первому посылающему узлу (405).
31. Способ по любому из пп.27-28, в котором на этапе обратной передачи (705) принимающий узел передает обратно к по меньшей мере второму посылающему узлу (405), отличному от посылающего узла, от которого пакет данных был принят на предшествующем этапе приема.
32. Посылающий узел, приспособленный для использования в системе связи, причем посылающий узел (405) выполнен с возможностью обмена с по меньшей мере двумя принимающими узлами (410, 420) посредством передачи информации в форме множества отдельных пакетов данных, предназначенных отдельным принимающим узлам, отличающийся тем, что: приемник (930) обратной связи приспособлен принимать и идентифицировать информацию об априорной информации в информации обратной связи от принимающих узлов (410, 420), причем информация об априорной информации содержит информацию о прослушиваемых сообщениях; модуль (910) хранения априорной информации для сохранения априорной информации от множества принимающих узлов, при этом модуль (910) хранения априорной информации соединен с упомянутым приемником (930) обратной связи; модуль (905) объединенного кодирования и планирования для формирования составного пакета данных из множества отдельных пакетов данных, при этом модуль (910) хранения априорной информации выполнен с возможностью использовать априорную информацию от упомянутого модуля (910) хранения априорной информации и определять, какие множественные отдельные пакеты данных извлекать из буферного модуля (920) для использования в составном пакете данных.
33. Посылающий узел по п.32, дополнительно содержащий модуль (915) дополнительной информации, соединенный с модулем (905) объединенного кодирования и планирования, упомянутый модуль (915) дополнительной информации выполнен с возможностью сохранять дополнительную информацию канала и обеспечивать модуль (905) объединенного кодирования и планирования дополнительной информацией канала.
34. Посылающий узел по п.33, в котором модуль (915) дополнительной информации выполнен с возможностью хранить один или комбинацию параметров из: требований качества услуг, индикации качества канала, значения стоимости маршрутизации, и характеристик пакета данных.
35. Посылающий узел по п.34, в котором модуль (905) объединенного кодирования и планирования выполнен с возможностью выполнять планирование и кодирование на основании информации, обеспеченной как от модуля (910) хранения априорной информации так и модуля (915) дополнительной информации.
36. Принимающий узел, приспособленный для обмена с по меньшей мере одним посылающим узлом (405) в системе связи, отличающийся тем, что буфер (965) априорной информации выполнен с возможностью сохранять по меньшей мере один пакет данных, предназначенный для по меньшей мере одного другого принимающего узла в качестве априорной информации; модуль (960) идентификации и декодирования блоков данных протокола (БДП, PDU), выполненный с возможностью извлекать априорную информацию из упомянутого буфера (965) априорной информации для декодирования принятых составных пакетов данных.
37. Принимающий узел по п.36, дополнительно содержащий отправитель (950) информации обратной связи в соединении с модулем (960) идентификации и декодирования PDU и выполненный с возможностью формировать сообщения обратной связи, содержащие информацию относительно сохраненной априорной информации.
38. Система связи, содержащая по меньшей мере один посылающий узел, приспособленный для обмена с по меньшей мере двумя принимающими узлами посредством передачи информации в форме множества отдельных пакетов данных, предназначенных отдельным принимающим узлам, отличающаяся тем, что система связи содержит по меньшей мере один посылающий узел (405) по п.32.
39. Система связи по п.38, дополнительно содержащая по меньшей мере один принимающий узел по п.36.
РИСУНКИ
|
|