|
|
(21), (22) Заявка: 2007128046/09, 22.12.2005
(24) Дата начала отсчета срока действия патента:
22.12.2005
(30) Конвенционный приоритет:
22.12.2004 US 11/022,347
(43) Дата публикации заявки: 27.01.2009
(46) Опубликовано: 10.01.2010
(56) Список документов, цитированных в отчете о поиске:
RU 2213423 С2, 27.09.2003. US 5870393 А, 09.02.1999. ЕР 0488976 А2, 03.06.1992. FR 2584884 А1, 16.01.1987.
(85) Дата перевода заявки PCT на национальную фазу:
23.07.2007
(86) Заявка PCT:
US 2005/047643 20051222
(87) Публикация PCT:
WO 2006/069397 20060629
Адрес для переписки:
129090, Москва, ул. Б.Спасская, 25, стр.3, ООО “Юридическая фирма Городисский и Партнеры”, пат.пов. Ю.Д.Кузнецову, рег. 595
|
(72) Автор(ы):
САМПАТХ Хемантх (US), КАДОУС Тамер (US)
(73) Патентообладатель(и):
КВЭЛКОММ ИНКОРПОРЕЙТЕД (US)
|
(54) РАНГОВОЕ ПРОГНОЗИРОВАНИЕ НА ОСНОВЕ ПРОПУСКНОЙ СПОСОБНОСТИ В MIMO-СХЕМЕ
(57) Реферат:
Изобретение относится к связи и может использоваться в многоканальной системе связи со многими входами и многими выходами (MIMO). Достигаемый технический результат – согласование межуровневых помех и MIMO-усиления, чтобы максимизировать спектральную эффективность. Способ рангового прогнозирования содержит этапы, на которых вычисляют матрицы MIMO-канала, соответствующие уровневым передачам для каждого тона, вычисляют отношения “сигнал-шум” (SNR) для каждого тона на основе матриц MIMO-канала, преобразуют SNR для каждого тона, чтобы сформировать фактические SNR для каждой уровневой передачи, вычисляют величины аддитивного белого гауссова шума (AWGN), соответствующие фактическим SNR, выбирают наибольшее Cap из вычисленных и прогнозируют ранг канала для следующего интервала передачи. Устройство беспроводной передачи для рангового прогнозирования содержит средства для реализации упомянутых этапов способа. 4 н. и 16 з.п. ф-лы. 5 ил.
Область техники, к которой относится изобретение
Настоящее изобретение, в общем, относится к связи, а более конкретно к методикам определения распределения потока данных, который должен передаваться посредством многоканальной, к примеру, со многими входами и многими выходами (MIMO), системы связи с мультиплексированием с ортогональным частотным разделением каналов (OFDM).
Уровень техники
В системе беспроводной связи радиочастотный модулированный сигнал из передающего устройства может достигать приемного устройства посредством ряда путей распространения. Характеристики путей распространения типично варьируются во времени вследствие ряда факторов, таких как затухание и многолучевое распространение. Чтобы предоставлять разнесение против нежелательных эффектов путей и повышать производительность, может быть использовано несколько передающих и приемных антенн. Если пути распространения между передающими и приемными антеннами являются линейно независимыми (т.е. передача по одному пути не формируется как линейная комбинация передач по другим путям), что, как правило, происходит, по меньшей мере, в какой-то степени, то вероятность корректного приема передачи данных возрастает по мере того, как увеличивается число антенн. В общем, разнесение возрастает и эффективность повышается по мере того, как увеличивается число передающих и приемных антенн.
Система связи со многими входами и многими выходами (MIMO) использует несколько (NT) передающих антенн и несколько (NR) приемных антенн для передачи данных. MIMO-канал, сформированный посредством NT передающих и NR приемных антенн, может быть разложен на NS независимых каналов, где NS min {NT, NR}. Каждый из NS независимых каналов также может упоминаться как пространственный подканал (или канал передачи) MIMO-канала и соответствует измерению. MIMO-система может обеспечивать повышенную производительность (к примеру, увеличенную пропускную способность передачи), если используются дополнительные размерности, созданные посредством множества передающих и приемных антенн.
В полноранговом MIMO-канале, где NS=NT NR, независимый поток данных может передаваться от каждой из NT передающих антенн. Передаваемые потоки данных могут подвергаться влиянию различных характеристик канала (к примеру, различными эффектами затухания и многолучевого распространения) и могут достигать различных соотношений “сигнал-помехи-и-шум” (SNR) для данной величины мощности передачи. Более того, если обработка последовательного подавления помех используется в приемном устройстве для того, чтобы восстанавливать передаваемые потоки данных (описаны ниже), то различные SNR могут достигаться для потоков данных в зависимости от конкретного порядка, в котором восстанавливаются потоки данных. Как следствие, различные скорости передачи данных могут поддерживаться посредством различных потоков данных в зависимости от их достигаемых SNR. Поскольку характеристики канала обычно варьируются во времени, скорость передачи данных, поддерживаемая посредством каждого потока данных, также варьируется во времени.
MIMO-схема имеет два режима работы – с одним кодовым словом (SCW) и с множеством кодовых слов (MCW).
В MCW-режиме передающее устройство может кодировать данные, передаваемые в каждом пространственном уровне, независимо, возможно, с различными скоростями. Приемное устройство использует алгоритм последовательного подавления помех (SIC), который работает следующим образом. Декодируется первый уровень, а затем вычитается его доля из принимаемого сигнала после повторного кодирования и умножения закодированного первого уровня на “оценку канала”, после чего декодируется второй уровень и т.д. Этот подход “разделения на слои” означает, что каждый последовательно декодируемый уровень видит возрастающее отношение “сигнал-шум” (SNR) и, следовательно, может поддерживать более высокие скорости. При отсутствии распространения ошибок MCW-схема с SIC получает пропускную способность. Недостаток этой схемы вытекает из необходимости управления скоростями на каждом пространственном уровне: (a) повышение обратной связи CQI (один CQI для каждого уровня); (b) увеличение объема обмена сообщениями ACK/NACK (один для каждого уровня); (c) усложнение гибридного ARQ (HARQ), поскольку каждый уровень может завершаться при различных передачах; (d) зависимость производительности SIC от ошибок оценки канала при повышенном эффекте Доплера и/или низком SNR; и (e) более жесткие требования к задержке декодирования, поскольку каждый последовательный уровень не может быть декодирован до тех пор, пока не будут декодированы предшествующие уровни.
В традиционной схеме SCW-режима передающее устройство кодирует данные, передаваемые в каждом пространственном уровне, с “идентичными скоростями передачи данных”. Приемное устройство может использовать линейное приемное устройство малой сложности, например приемное устройство с минимальной среднеквадратической ошибкой (MMSE) или с нулевой частотой (ZF), либо нелинейные приемные устройства, такие как QRM, для каждого тона.
SCW-схема преодолевает вышеупомянутые трудности реализации MCW-схемы. Недостаток заключается в том, что SCW-режим не может поддерживать скорости MCW в пространственно коррелированных каналах или каналах прямой видимости (LOS) с высоким K-фактором. Оба этих сценария приводят к потере ранга канала или увеличению числа обусловленности канала и повышению межуровневых помех. Это существенно снижает фактическое SNR для каждого пространственного уровня. Следовательно, скорость передачи данных, поддерживаемая каждым уровнем, понижается, что уменьшает общую скорость передачи данных.
K-фактор – это отношение мощности LOS-канала к мощности не-LOS-канала. Ранг – это число собственных мод в канале с ненулевой энергией. Число обусловленности – это отношение наибольшего собственного значения к наименьшему собственному значению MIMO-канала.
Следовательно, в данной области техники есть потребность в методиках, чтобы динамически распределять поток данных, который должен передаваться посредством многоканальной, к примеру со многими входами и многими выходами (MIMO), системы связи с мультиплексированием с ортогональным частотным разделением каналов (OFDM).
Сущность изобретения
Аспектом изобретения является способ рангового прогнозирования, содержащий вычисление матриц MIMO-канала, соответствующих уровневым передачам для каждого тона, вычисление отношений “сигнал-шум” (SNR) для каждого тона на основе матриц MIMO-канала, преобразование SNR для каждого тона, чтобы сформировать фактические SNR для каждой уровневой передачи, вычисление величин аддитивного белого гауссова шума (AWGN), соответствующих фактическим SNR и обозначенных Cap1, Cap2, Cap3, Cap4, выбор абсолютного наибольшего Cap из наибольших Cap и выбор ранга на основе выбранного абсолютного наибольшего Cap. Аспектом изобретения является устройство беспроводной связи, содержащее средство вычисления матриц MIMO-канала, соответствующих уровневым передачам для каждого тона, средство вычисления отношений “сигнал-шум” (SNR) для каждого тона на основе матриц MIMO-канала, средство преобразования SNR для каждого тона, чтобы сформировать фактические SNR для каждой уровневой передачи, средство вычисления величин аддитивного белого гауссова шума (AWGN), соответствующих фактическим SNR и обозначенных Cap1, Cap2, Cap3, Cap4, средство выбора абсолютного наибольшего Cap из наибольших Cap и средство выбора ранга на основе выбранного абсолютного наибольшего Cap.
Аспектом изобретения является процессор, запрограммированный для того, чтобы приводить в исполнение способ рангового прогнозирования, причем способ содержит вычисление матриц MIMO-канала, соответствующих уровневым передачам для каждого тона, вычисление отношений “сигнал-шум” (SNR) для каждого тона на основе матриц MIMO-канала, преобразование SNR для каждого тона, чтобы сформировать фактические SNR для каждой уровневой передачи, вычисление величин аддитивного белого гауссова шума (AWGN), соответствующих фактическим SNR и обозначенных Cap1, Cap2, Cap3, Cap4, выбор абсолютного наибольшего Cap из наибольших Cap и выбор ранга на основе выбранного абсолютного наибольшего Cap.
Аспектом изобретения является машиночитаемый носитель, осуществляющий способ рангового прогнозирования, причем способ содержит вычисление матриц MIMO-канала, соответствующих уровневым передачам для каждого тона, вычисление отношений “сигнал-шум” (SNR) для каждого тона на основе матриц MIMO-канала, преобразование SNR для каждого тона, чтобы сформировать фактические SNR для каждой уровневой передачи, вычисление величин аддитивного белого гауссова шума (AWGN), соответствующих фактическим SNR и обозначенных Cap1, Cap2, Cap3, Cap4, выбор абсолютного наибольшего Cap из наибольших Cap и выбор ранга на основе выбранного абсолютного наибольшего Cap.
Далее подробно описаны различные аспекты и варианты осуществления изобретения.
Краткое описание чертежей
Признаки и характер настоящего изобретения должны стать более очевидными из изложенного ниже подробного описания, рассматриваемого вместе с чертежами, на которых одинаковые символы ссылок определяются соответствующим образом по всему документу и из которых:
Фиг. 1 иллюстрирует традиционное передающее SCW-устройство;
Фиг. 2 иллюстрирует передающее SCW-устройство с ранговым прогнозированием в соответствии с вариантом осуществления;
Фиг. 3 иллюстрирует круговое мультиплексирование при MT=4, M=2, B=1 в соответствии с вариантом осуществления;
Фиг. 4 иллюстрирует блочно-круговое мультиплексирование при MT=4, M=2, B=4 в соответствии с вариантом осуществления; и
Фиг. 5 иллюстрирует блок-схему рангового прогнозирования на основе пропускной способности в соответствии с вариантом осуществления.
Подробное описание изобретения
Слово “примерный” используется в данном описании, чтобы обозначать “служащий в качестве примера, отдельного случая или иллюстрации”. Любой вариант осуществления или структура, описанные в данном описании как “типичные”, не обязательно должны быть истолкованы как предпочтительные или выгодные по сравнению с другими вариантами осуществления или структурами.
Методики, описанные в данном описании для рангового прогнозирования на основе производительности, могут быть использованы в различных системах связи, таких как система множественного доступа с кодовым разделением каналов (CDMA), система широкополосного CDMA (WCDMA), система CDMA с прямым расширением спектра (DS-CDMA), система множественного доступа с временным разделением каналов (TDMA), система множественного доступа с частотным разделением каналов (FDMA), система высокоскоростного пакетного доступа по нисходящей линии связи (HSDPA), система мультиплексирования с ортогональным частотным разделением каналов (OFDM), система множественного доступа с ортогональным частотным разделением каналов (OFDMA), система с одним входом и одним выходом (SISO), система со многими входами и многими выходами (MIMO) и т.д.
OFDM – это методика модуляции с несколькими несущими, которая эффективно разделяет общую полосу пропускания системы на несколько (NF) ортогональных поддиапазонов. Эти поддиапазоны также называются тонами, поднесущими, элементами сигнала и частотными каналами. В OFDM каждый поддиапазон ассоциативно связан с соответствующей поднесущей, которая может быть модулирована с помощью данных. До NF символов модуляции может передаваться по NF поддиапазонам в каждом периоде OFDM-символа. До передачи эти символы модуляции преобразуются к временной области с помощью NF-точечного обратного быстрого преобразования Фурье (IFFT), чтобы получить “преобразованный” символ, который содержит NF элементарных сигналов.
SCW-схема преодолевает недостатки MCW-схемы. Тем не менее, SCW-режим не может поддерживать скорости MCW в пространственно коррелированных каналах или каналах прямой видимости (LOS) с высоким K-фактором. Оба этих сценария приводят к потере ранга канала или увеличению числа обусловленности канала и повышению межуровневых помех. Это существенно снижает фактическое SNR для каждого пространственного уровня. Следовательно, скорость передачи данных, поддерживаемая каждым уровнем, понижается, что уменьшает общую скорость передачи данных. “Фактическое SNR” (примерно) пропорционально геометрическому среднему SNR, усредненному по всем тонам.
Один способ того, чтобы снижать межуровневые помехи, заключается в том, чтобы уменьшать число пространственных уровней, передаваемых в каналах с низким рангом, и согласовывать межуровневые помехи и MIMO-усиления. Например, снижение числа передаваемых уровней с четырех до трех, т.е. понижение ранга с четырех до трех позволяет существенно увеличить фактические SNR для трех уровней, а, следовательно, скорость передачи данных, поддерживаемую каждым уровнем. Чистый эффект заключается в том, что трехуровневая передача может фактически иметь более высокую спектральную эффективность в сравнении с четырехуровневой передачей.
В варианте осуществления SCW-схема эффективно согласует межуровневые помехи и MIMO-усиления так, чтобы максимизировать общую спектральную эффективность. Это достигается посредством рангового прогнозирования, когда приемное устройство сообщает оптимальное число уровней для передачи помимо отношения “качество несущей-помехи” (CQI), чтобы согласовать ранг канала.
Традиционное передающее SCW-устройство
Фиг. 1 иллюстрирует традиционное передающее SCW-устройство 100. Для битов 102 выполняется турбо-кодирование 104 и QAM-преобразование 106 в зависимости от формата пакета (PF) 108, 110, задаваемого посредством алгоритма 112 рангового прогнозирования. Кодирование идентично схеме с одним входом и одним выходом (SISO). Кодированные символы затем демультиплексируются 114 на MT уровней 116, которые после этого пространственно преобразуются 118 в MT OFDM-модуляторов 120 и антенн 122. OFDM-обработка для каждой передающей антенны далее продолжается таким же образом, что и в SISO, после чего сигналы отправляются в беспроводной MIMO-канал. Алгоритм рангового прогнозирования использует 4-битовый CQI-отклик 124 из приемного устройства 126 каждые 5 мс. CQI – это показатель фактического SNR/пространственного уровня, измеренный в приемном устройстве. Пространственное преобразование выполняется таким образом, чтобы обеспечить то, что SNR для каждого уровня аналогичны. Как описано выше, производительность этой схемы недостаточна в каналах с низким рангом.
Передающее SCW-устройство с ранговым прогнозированием
В соответствии с вариантом осуществления, описывается схема с одним кодовым словом (SCW) для рангового прогнозирования. Алгоритмы надежного рангового прогнозирования представлены ниже. При SNR<15 дБ (90% пользователей) производительность SCW-схемы для приемного MMSE-устройства и рангового прогнозирования низкой сложности аналогична схеме с множеством кодовых слов (MCW) с последовательным подавлением помех (SIC). Без HARQ SCW более оптимальна, чем MCW, поскольку MCW более чувствительна к ошибкам оценки канала. Эти факторы делают SCW привлекательной для MIMO вследствие меньшей сложности реализации и передачи служебных сигналов в сравнении с MCW.
При SNR между 15 и 20 дБ (10% пользователей) зазор производительности между SCW и MCW менее 1,0 дБ для каналов с низким K и 2-5 дБ для каналов с высоким K. Для каналов с высоким K ухудшение производительности при высоких SNR уменьшается до 1-2 дБ за счет использования антенн с двойной поляризацией. По сути, SCW-схема отличается не более чем на два дБ от MCW даже при высоких SNR. При отсутствии HARQ производительность MCW хуже, чем SCW, для SNR<15 дБ вследствие большей чувствительности SIC к ошибкам оценки канала.
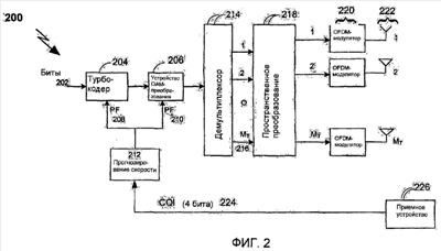
Фиг. 2 иллюстрирует передающее SCW-устройство с ранговым прогнозированием в соответствии с вариантом осуществления. Для битов 202 выполняется турбо-кодирование 204 и QAM-преобразование 206 в зависимости от формата пакета (PF) 208, 210, задаваемого посредством алгоритма 212 рангового прогнозирования.
В варианте осуществления кодированные символы затем демультиплексируются 214 на M потоков 216 или уровней (1 M MT), где M 228 – это 2-битовое целое число 1 M MT, указываемое посредством отклика приемного устройства 226 каждые 5 мс в дополнение к 5-битовому CQI 224. M потоков 216 после этого пространственно преобразуются 218 к MT OFDM-модуляторам 220 и MT антеннам 222.
Пространственное преобразование
Устройство пространственного преобразования (предварительный кодер) 218 – это матрица MT × M P(k), которая преобразует M символов для MT антенн в каждом OFDM тоне k. Может быть несколько вариантов предварительного кодера. Рассмотрим MR × MT MIMO-канал H(k). Матрицы предварительного кодера могут выбираться таким образом, чтобы эквивалентная канальная матрица H(k)P(k) имела улучшенную частотную избирательность в сравнении с H(k). Улучшенная частотная избирательность может быть использована декодером для того, чтобы получить усиления при частотном разнесении.
В варианте осуществления матрица предварительного кодера – это следующая матрица перестановки:

где П(0), П(1),…., П(MT-1) – это подматрицы перестановки MT × M, извлеченные из M столбцов единичной матрицы , а B – это параметр, чтобы контролировать частотную избирательность эквивалентного канала.
В соответствии с вариантом осуществления, если MT=4, M=2, то:

При B=1 это дает стратегию кругового мультиплексирования с двумя уровнями, как показано на фиг. 3, на котором прямоугольники 302 с вертикальными линиями соответствуют символам уровня 1, а прямоугольники 304 с горизонтальными линиями соответствуют символам уровня 2. Фиг. 3 иллюстрирует круговое мультиплексирование при M=4, M=2, B=1. Вертикальная ось 306 представляет антенны. Горизонтальная ось 308 представляет тона.
При B=1 это дает стратегию блочно-кругового мультиплексирования с двумя уровнями, как показано на фиг. 4, на котором прямоугольники 402 с вертикальными линиями соответствуют символам уровня 4, а прямоугольники 404 с горизонтальными линиями соответствуют символам уровня 2. Фиг. 4 иллюстрирует круговое мультиплексирование при M=4, M=2, B=4. Вертикальная ось 406 представляет антенны. Горизонтальная ось 408 представляет тона.
Повышение в B приводит к снижению частотной избирательности эквивалентного канала, что может быть желательным, когда используются слабые коды. Кроме того, параметр B чувствителен к выбору перемежителя каналов, поэтому параметр B может быть оптимизирован позднее.
Круговое мультиплексирование повышает частотное разнесение вне зависимости от разброса задержек в канале. При наличии двух сильных турбо-кодов производительность CM (для M=1) приближается к пространственно-временному разнесению при передаче (STTD). Тем не менее, для очень высоких PF или в каналах управления, которые используют слабые сверточные коды, STTD может значительно превосходить CM.
В варианте осуществления матрица предварительного кодера – это следующая обобщенная матрица разнесения задержки:

где – это DFT-подматрица MT x M, полученная из M столбцов DFT-матрицы
MT × MT, а – это диагональная матрица MT x MT, в которой (j, j)-тая запись задается посредством

Параметр – это параметр задержки, который также контролирует частотную избирательность канала, а N – это число OFDM-тонов. Отметим, что для M=1 вышеописанная матрица предварительного кодирования реализует “чистое” разнесение задержки. Производительность разнесения задержки безусловно хуже, чем кругового мультиплексирования (и STTD), и оно имеет низкую производительность в режимах LOS-каналов с высоким PF. Единственное преимущество использования разнесения задержки заключается в том, что она извлекает выгоду из улучшенных усилений оценки SISO-канала при очень низких SNR (SNR<-5 дБ) и при высокой мобильности (>120 км/час). В этих режимах канала круговое мультиплексирование не может извлекать выгоду из усилений оценок SISO-канала.
Форматы пакетов
Текущая SISO-схема использует 7 PF со спектральной эффективностью [0,5, 1, 1,5, 2,0, 2,5, 3,0, 4,0] бит в секунду/Гц. В SCW-схеме, использующей одноуровневую передачу, такой детализации спектральной эффективности (SE) должно быть достаточно. Тем не менее, когда все четыре уровня используются для передачи, это приводит к спектральной эффективности в [2, 4, 6, 8, 10, 2, 16] бит в секунду/Гц, при детализации SE порядка 2-4 бит в секунду/Гц. Следствием такой грубой детализации является потеря скорости передачи данных, поскольку эти пользователи ограничены так, чтобы передавать на гораздо меньшей скорости передачи данных, чем их достижимая SE. Отметим, что MCW-схема с SIC не имеет этой проблемы детализации, поскольку скорость на каждом уровне может регулироваться независимо, приводя к общей более точной детализации спектральной эффективности.
Таблица 1 Формат пакетов SCW-схемы с ранговым прогнозированием |
| Формат пакетов |
Модуляция |
Кодовая скорость после одного кадра |
Спектральная эффективность на уровень после N кадров передачи |
 |
 |
 |
1 |
2 |
3 |
4 |
5 |
6 |
| 0 |
2 |
1/4 |
0,50 |
0,25 |
0,17 |
0,13 |
0,10 |
0,08 |
| 1 |
2 |
3/8 |
0,75 |
0,38 |
0,25 |
0,19 |
0,15 |
0,13 |
| 2 |
2 |
1/2 |
1,00 |
0,50 |
0,33 |
0,25 |
0,20 |
0,17 |
| 3 |
4 |
5/16 |
1,25 |
0,63 |
0,42 |
0,31 |
0,25 |
0,21 |
| 4 |
4 |
3/8 |
1,50 |
0,75 |
0,50 |
0,38 |
0,30 |
0,25 |
| 5 |
4 |
7/16 |
1,75 |
0,88 |
0,58 |
0,44 |
0,35 |
0,29 |
| 6 |
4 |
1/2 |
2,00 |
1,00 |
0,67 |
0,50 |
0,40 |
0,33 |
| 7 |
4 |
9/16 |
2,25 |
1,13 |
0,75 |
0,56 |
0,45 |
0,38 |
| 8 |
6 |
5/12 |
2,50 |
1,25 |
0,83 |
0,63 |
0,50 |
0,42 |
| 9 |
6 |
11/24 |
2,75 |
1,38 |
0,92 |
0,69 |
0,55 |
0,46 |
| 10 |
6 |
1/2 |
3,00 |
1,50 |
1,00 |
0,75 |
0,60 |
0,50 |
| 11 |
6 |
13/24 |
3,25 |
1,63 |
1,08 |
0,81 |
0,65 |
0,54 |
| 12 |
6 |
7/12 |
3,50 |
1,75 |
1,17 |
0,88 |
0,70 |
0,58 |
| 13 |
6 |
5/8 |
3,75 |
1,88 |
1,25 |
0,94 |
0,75 |
0,63 |
| 14 |
6 |
2/3 |
4,00 |
2,00 |
1,33 |
1,00 |
0,80 |
0,67 |
| 15 |
6 |
17/24 |
4,25 |
2,13 |
1,42 |
1,06 |
0,85 |
0,71 |
Таблица 1 иллюстрирует формат пакетов SCW-схемы с ранговым прогнозированием в соответствии с вариантом осуществления. Табл. 1 показывает PF с SE, предназначенными для передач с первой по шестую. 16 PF предоставляется при SE на уровень, варьирующейся от 0,5 бит в секунду/Гц/уровень до 4,25 бит в секунду/Гц/уровень с шагом 0,25 бит в секунду/Гц/уровень для первой передачи. При рассмотрении третьей передачи максимальная допустимая SE на уровень составляет 1,42 бит в секунду/Гц/уровень. SE между 1,42 бит в секунду/Гц/уровень и 2,13 бит в секунду/Гц/уровень может быть получена посредством рассмотрения второй передачи, а SE больше 2,13 бит в секунду/Гц/уровень может быть получена посредством рассмотрения первой передачи, где преимущества HARQ снижаются.
В другом варианте осуществления больше PF может быть добавлено при SE/уровень >4,25 бит в секунду/Гц, с тем чтобы более высокая SE могла быть получена при рассмотрении третьей передачи, и получена выгода из HARQ-усилений. В этом случае 6-битовый CQI может требоваться, чтобы обеспечить то, что детализация PF зафиксирована.
Алгоритм рангового прогнозирования на основе пропускной способности
Фиг. 5 иллюстрирует блок-схему рангового прогнозирования на основе пропускной способности в соответствии с вариантом осуществления. Для k-того тона H(k)P4(k) 502 – H(k)P1(k) 508 вводятся в MMSE 512 – MMSE 518, соответственно. MMSE 512 – MMSE 518 формируют SNR4(k) 522 – SNR1(k) 528, соответственно. SNR4(k) 522 – SNR1(k) 528 вводятся в Cap-преобразователь 532 – Cap-преобразователь 538, соответственно. Cap-преобразователь 532 – Cap-преобразователь 538 формируют EffSNR4 542 – EffSNR1 548, соответственно, и Cap4 552 – Cap1 558, соответственно. Cap4 552 – Cap1 558 вводятся в блок 570 принятия решений. Блок 570 принятия решений формирует ранг 572.
EffSNR1 542 – EffSNR4 548 и ранг 572 вводятся в блок 574 выбора и квантования. Блок 574 выбора и квантования формирует 5-битовый CQI 576.
В соответствии с вариантом осуществления, алгоритм рангового прогнозирования на основе пропускной способности работает следующим образом.
1. Для каждого тона вычисляются матрицы MIMO-канала 4×4, 4×3, 4×2 и 4×1, H(k)P1(k), H(k)P2(k), H(k)P3(k) и H(k)P4(k), соответствующие передачам уровня {1, 2, 3, 4}. При условии приемного MMSE-устройства SNR постобработки для передач уровня {1, 2, 3, 4}, SNR1(k), SNR2(k), SNR3(k), SNR4(k) вычисляются для каждого тона как:

Если допустить другие приемные устройства, такие как QRM-MLD или IDD, SNR постобработки должны вычисляться другими способами.
2. Далее преобразование без ограничения пропускной способности используется для того, чтобы сформировать фактические SNR, усредненные по всем тонам, для передач уровня {1, 2, 3, 4}. Обозначим их как EffSNR1, EffSNR2, EffSNR3, EffSNR4. Величины аддитивного белого гауссового шума (AWGN), соответствующие фактическим SNR, обозначаются Cap1, Сар2, Сар3, Сар4.
Средняя пропускная способность каждого пространственного канала для пространственной уровневой передачи m определяется как

где К – это общее количество поднесущих (известных также как тоны).
Фактическое SNR (EddSNRm) для средней пропускной способности каждого пространственного канала для пространственной уровневой передачи m определяется как
EffSNRm=10 log10(2Cavg,m-1)
где EddSNRm – выражается в единицах Децибел (дБ)
3. Оптимальный ранг/уровень выбирается таким образом, чтобы максимизировать общую спектральную эффективность, т.е. 
5-битовое CQI затем сообщается обратно, где CQI(M)=Quant[EffSNRM].
Специалистам в данной области техники должно быть очевидным, что могут быть использованы известные методики вычисления величин аддитивного белого гауссового шума (AWGN).
Методики, описанные выше, могут быть использованы для множества OFDM-систем, а также других систем. Описанные в данном описании методики рангового прогнозирования могут быть реализованы различными средствами. Например, эти методики могут быть реализованы в аппаратных средствах, программном обеспечении или их сочетании. При реализации в аппаратных средствах блоки обработки, используемые для того, чтобы выполнять контроль помех, могут быть реализованы в одной или нескольких специализированных интегральных схемах (ASIC), процессорах цифровых сигналов (DSP), устройствах цифровой обработки сигналов (DSPD), программируемых логических устройствах (PLD), программируемых пользователем матричных БИС (FPGA), процессорах, контроллерах, микроконтроллерах, микропроцессорах, других электронных устройствах, предназначенных для того, чтобы выполнять описанные в данном описании функции, или в их сочетаниях.
При реализации в программном обеспечении методики контроля помех могут быть реализованы с помощью модулей (к примеру, процедур, функций и т.п.), которые выполняют описанные в данном описании функции. Программные коды могут быть сохранены в запоминающем устройстве и выполняться процессором. Запоминающее устройство может быть реализовано в процессоре или внешне по отношению к процессору, причем во втором случае оно может быть подсоединено к процессору с помощью различных средств, известных в данной области техники.
Предшествующее описание раскрытых вариантов осуществления предоставлено для того, чтобы дать возможность любому специалисту в данной области техники создавать или использовать настоящее изобретение. Различные модификации в этих вариантах осуществления должны быть очевидными для специалистов в данной области техники, а описанные в данном описании общие принципы могут быть применены к другим вариантам осуществления без отступления от духа и области применения изобретения. Таким образом, настоящее изобретение не предназначено, чтобы быть ограниченным раскрытыми в данном описании вариантами осуществления, а должно удовлетворять самой широкой области применения, согласованной с принципами и новыми признаками, раскрытыми в данном описании.
Формула изобретения
1. Способ рангового прогнозирования, содержащий этапы, на которых вычисляют матрицы MIMO-канала, соответствующие уровневым передачам для каждого тона; вычисляют отношения “сигнал-шум” (SNR) для каждого тона на основе матриц MIMO-канала; преобразуют SNR для каждого тона, чтобы сформировать фактические SNR для каждой уровневой передачи; вычисляют величины аддитивного белого гауссова шума (AWGN), соответствующие фактическим SNR и обозначенные Cap1, Сар2, Сар3, Сар4; выбирают наибольшее Cap из вычисленных Cap; и прогнозируют ранг канала для следующего интервала передачи.
2. Способ по п.1, содержащий также этап, на котором отправляют индикатор качества на основе выбранного ранга.
3. Способ по п.2, в котором индикатором качества является отношение “качество несущей-помехи” (CQI).
4. Способ по п.1, в котором число уровневых передач равно четырем.
5. Способ по п.1, в котором SNR вычисляется как
 где k – это k-й тон, H(k)P1(k), H(k)P2(k), H(k)P3(k) и H(k)P4(k) соответствуют передачам уровня {1, 2, 3, 4}.
6. Способ по п.1, в котором используется преобразование без ограничения пропускной способности.
7. Способ по п.1, в котором выбранный ранг М вычисляется как
.
8. Способ по п.7, в котором индикатор качества CQI вычисляется как CQI(M)=Quant[EffSNRM], где EffSNR – это фактическое SNR выбранного ранга.
9. Устройство беспроводной связи для рангового прогнозирования, чтобы максимизировать общую спектральную эффективность MIMO-системы, содержащее: средство вычисления матриц MIMO-канала, соответствующих уровневым передачам для каждого тона; средство вычисления отношений “сигнал-шум” (SNR) для каждого тона на основе матриц MIMO-канала; средство преобразования SNR для каждого тона, чтобы сформировать фактические SNR для каждой уровневой передачи; средство вычисления величин аддитивного белого гауссова шума (AWGN), соответствующих фактическим SNR и обозначенных Cap1, Сар2, Сар3, Сар4; средство выбора наибольшего Cap из вычисленных Cap; и средство прогнозирования ранга канала для следующего интервала передачи.
10. Устройство беспроводной связи по п.9, содержащее также средство отправки индикатора качества на основе выбранного ранга.
11. Устройство беспроводной связи по п.9, в котором число уровневых передач составляет, по меньшей мере, две.
12. Устройство беспроводной связи по п.10, в котором индикатором качества является отношение “качество несущей-помехи”.
13. Процессор для рангового прогнозирования, чтобы максимизировать общую спектральную эффективность MIMO-системы, при этом процессор запрограммирован для того, чтобы выполнять способ, содержащий этапы, на которых: вычисляют матрицы MIMO-канала, соответствующие уровневым передачам для каждого тона; вычисляют отношения “сигнал-шум” (SNR) для каждого тона на основе матриц MIMO-канала; преобразуют SNR для каждого тона, чтобы сформировать фактические SNR для каждой уровневой передачи; вычисляют величины аддитивного белого гауссова шума (AWGN), соответствующие фактическим SNR и обозначенные Cap1, Сар2, Сар3, Сар4; выбирают наибольшее Cap из вычисленных Cap; и прогнозируют ранг канала для следующего интервала передачи.
14. Процессор по п.13, в котором способ также содержит этап, на котором отправляют индикатор качества на основе выбранного ранга.
15. Процессор по п.13, в котором число уровневых передач составляет, по меньшей мере, две.
16. Процессор по п.14, в котором индикатором качества является отношение “качество несущей-помехи”.
17. Машиночитаемый носитель для хранения программных кодов, который при взаимодействии с процессором участвует в осуществлении способа, содержащего этапы, на которых вычисляют матрицы MIMO-канала, соответствующие уровневым передачам для каждого тона; вычисляют отношения “сигнал-шум” (SNR) для каждого тона на основе матриц MIMO-канала; преобразуют SNR для каждого тона, чтобы сформировать фактические SNR для каждой уровневой передачи; вычисляют величины аддитивного белого гауссова шума (AWGN), соответствующие фактическим SNR и обозначенные Cap1, Сар2, Сар3, Сар4; выбирают наибольшее Cap из вычисленных Cap; и прогнозируют ранг канала для следующего интервала передачи.
18. Машиночитаемый носитель по п.17, в котором способ также содержит этап, на котором отправляют индикатор качества на основе выбранного ранга.
19. Машиночитаемый носитель по п.17, в котором число уровневых передач составляет, по меньшей мере, две.
20. Машиночитаемый носитель по п.18, в котором индикатором качества является отношение “качество несущей-помехи”.
РИСУНКИ
|
|