|
|
(21), (22) Заявка: 2008112225/09, 12.01.2007
(24) Дата начала отсчета срока действия патента:
12.01.2007
(30) Конвенционный приоритет:
19.01.2006 JP 2006-011626 22.03.2006 JP 2006-079099 26.05.2006 JP 2006-146258 30.06.2006 JP 2006-182685 31.08.2006 JP 2006-236777
(46) Опубликовано: 10.01.2010
(56) Список документов, цитированных в отчете о поиске:
JP 10-293828 A, 04.11.1998. JP 2004-336250 A, 25.11.1998. RU 2146843 C1, 20.03.2000.
(85) Дата перевода заявки PCT на национальную фазу:
28.03.2008
(86) Заявка PCT:
JP 2007/050308 20070112
(87) Публикация PCT:
WO 2007/083574 20070726
Адрес для переписки:
129090, Москва, ул. Б.Спасская, 25, стр.3, ООО “Юридическая фирма Городисский и Партнеры”, пат.пов. Ю.Д.Кузнецову, рег. 595
|
(72) Автор(ы):
ДОКАИ Юя (JP), КАТО Нобору (JP), ИСИНО Сатоси (JP)
(73) Патентообладатель(и):
МУРАТА МЭНЬЮФЭКЧУРИНГ КО., ЛТД. (JP)
|
(54) БЕСПРОВОДНОЕ УСТРОЙСТВО НА ИНТЕГРАЛЬНОЙ СХЕМЕ И КОМПОНЕНТ БЕСПРОВОДНОГО УСТРОЙСТВА НА ИНТЕГРАЛЬНОЙ СХЕМЕ
(57) Реферат:
Предусмотрено беспроводное ИС-устройство и компонент для беспроводного ИС-устройства, имеющий стабильную частотную характеристику. Беспроводное ИС-устройство включает в себя беспроводную ИС-микросхему (5), плату (10) схемы подачи энергии, имеющую беспроводную ИС-микросхему (5), закрепленную на ней, и включающую в себя схему (16) подачи энергии, при этом схема (16) подачи энергии включает в себя резонансную схему, имеющую предварительно определенную резонансную частоту, и излучающую пластину (20), прикрепленную к нижней поверхности платы (10) схемы подачи энергии. Излучающая пластина (20) излучает передаваемый сигнал, предоставляемый из схемы (16) подачи энергии. Излучающая пластина (20) дополнительно принимает и распространяет принимаемый сигнал в схему (16) подачи энергии. Резонансная схема состоит из LC-резонансной схемы, включающей в себя индуктивный элемент (L) и емкостные элементы (С1) и (С2). Плата (10) схемы подачи энергии представляет собой жесткую многослойную плату или жесткую однослойную плату. Плата (10) схемы подачи энергии соединена с беспроводной ИС-микросхемой (5) и излучающей пластиной (20) посредством соединения по постоянному току магнитной связи или емкостной связи. 3 н. и 29 з.п. ф-лы, 60 ил.
Область техники, к которой относится изобретение
Настоящее изобретение относится к беспроводному устройству на интегральной схеме (ИС-устройству) и, в частности, к беспроводному ИС-устройству, используемому для системы RFID (радиочастотной идентификации), а также к компоненту, используемому для беспроводного ИС-устройства.
Уровень техники
В последние годы разработаны RFID-системы, выступающие в качестве систем управления распределением изделий. В RFID-системах ИС-ярлык (далее упоминаемый как “беспроводное ИС-устройство”), который сохраняется с предварительно определенной информацией об изделии, крепится к изделию, и устройство считывания/записи, которое формирует электромагнитное поле, обменивается данными с беспроводным ИС-устройством бесконтактным способом, тем самым передавая информацию. Примеры беспроводных ИС-устройств, используемых в RFID-системах, описаны в Патентных документах 1 и 2.
Беспроводное ИС-устройство, показанное на фиг.59, включает в себя шаблон 301 рисунка антенны, сформированный на пластиковой пленке 300, беспроводная ИС-микросхема 310 прикрепляется к одному концу шаблона 301 рисунка антенны. Беспроводное ИС-устройство, показанное на фиг.60, включает в себя шаблон 321 рисунка антенны и электрод 322 излучения, сформированный на пластиковой пленке 320, и беспроводная ИС-микросхема 310 прикрепляется к предварительно определенной части шаблона 321 рисунка антенны.
Тем не менее, в существующих беспроводных ИС-устройствах беспроводная ИС-микросхема 310 подключается по постоянному тону и крепится на шаблон 301 или 320 рисунка антенны посредством использования контактного столбика из золота. Соответственно, размещение небольшой беспроводной ИС-микросхемы 310 в крупной пластиковой пленке 300 или 320 требуется. Тем не менее, чрезвычайно трудно крепить небольшую беспроводную ИС-микросхему 310 на крупной пластиковой пленке 300 или 320 в нужном месте. Если беспроводная ИС-микросхема 310 установлена не на месте, свойства резонансной частоты антенны невыгодно изменяются. Помимо этого, свойства резонансной частоты антенны изменяются, если шаблон 301 или 321 рисунка антенны закруглен или помещен между диэлектрическими материалами, например, если шаблон 301 или 321 рисунка антенны вставлен в книгу.
Патентный документ 1. Не прошедшая экспертизу патентная публикация (Япония) номер 2005-136528
Патентный документ 2. Не прошедшая экспертизу патентная публикация (Япония) номер 2005-244778
Сущность изобретения
Проблемы, разрешаемые изобретением
Следовательно, настоящее изобретение предоставляет беспроводное ИС-устройство, имеющее стабильную частотную характеристику, и компонент, надлежащим образом используемый для беспроводного ИС-устройства.
Средство разрешения проблем
Согласно первому изобретению беспроводное ИС-устройство включает в себя беспроводную ИС-микросхему, плату схемы подачи энергии, соединенную с беспроводной ИС-микросхемой, при этом плата схемы подачи энергии содержит схему подачи энергии, включающую в себя резонансную схему, имеющую предварительно определенную резонансную частоту, и излучающую пластину, имеющую плату схемы подачи энергии, закрепленную на ней, или плату схемы подачи энергии, размещенную рядом с ней. Излучающая пластина излучает передаваемый сигнал, подаваемый из схемы подачи энергии, и/или принимает и распространяет принимаемый сигнал в схему подачи энергии.
В беспроводном ИС-устройстве согласно первому изобретению беспроводная ИС-микросхема и плата схемы подачи энергии могут быть размещены параллельно на монтажной плате или могут быть соединены друг с другом посредством проводника, размещенного на монтажной плате.
Согласно второму изобретению беспроводное ИС-устройство включает в себя беспроводную ИС-микросхему, плату схемы подачи энергии, имеющую беспроводную ИС-микросхему, закрепленную на ней, при этом плата схемы подачи энергии содержит схему подачи энергии, включающую в себя резонансную схему, имеющую предварительно определенную резонансную частоту, и излучающую пластину, имеющую плату схемы подачи энергии, закрепленную на ней, или плату схемы подачи энергии, размещенную рядом с ней. Излучающая пластина излучает передаваемый сигнал, подаваемый из схемы подачи энергии, и/или принимает и распространяет принимаемый сигнал в схему подачи энергии.
В беспроводных ИС-устройствах согласно первому и второму изобретениям частота передаваемого сигнала, излучаемого из излучающей пластины, и частота принимаемого сигнала, подаваемого в беспроводную ИС-микросхему, преимущественно определяется на основе резонансной частоты схемы подачи энергии, включенной в плату схемы подачи энергии. Отметим, что термин “преимущественно” означает, что частота может немного смещаться в соответствии с позиционной взаимосвязью между платой схемы подачи энергии и излучающей пластиной. Поскольку частота передаваемых и принимаемых сигналов определяется на основе платы схемы подачи энергии, частотная характеристика не варьируется вне зависимости от формы, размера и позиции крепления излучающей пластины, например, даже когда беспроводное ИС-устройство закруглено или помещено между диэлектрическими материалами. Таким образом, достигается стабильная частотная характеристика.
В беспроводном ИС-устройстве согласно второму изобретению беспроводная ИС-микросхема устанавливается на плате схемы подачи энергии, и схема подачи энергии размещается на излучающей пластине. Поскольку область платы схемы подачи энергии гораздо меньше площади излучающей пластины, беспроводная ИС-микросхема может быть очень точно размещена и установлена на плате схемы подачи энергии.
В беспроводных ИС-устройствах согласно первому и второму изобретениям излучающая пластина размещается на первой и второй поверхностях платы схемы подачи энергии. Посредством помещения платы схемы подачи энергии между двумя излучающими пластинами энергия, формируемая из схемы подачи энергии, распространяется на излучающие пластины, размещенные на первой и второй поверхностях платы схемы подачи энергии. Соответственно усиление повышается.
Резонансная схема может быть резонансной схемой на элементах с распределенными параметрами или резонансной схемой на элементах с сосредоточенными параметрами, включающей в себя рисунок конденсаторов и рисунок индукционной катушки. Резонансная схема с элементами на распределенных параметрах включает в себя индукционную катушку, сформированную из полосковых линий и т.п. Следовательно, в частности, конструирование резонансной схемы может быть упрощено, когда используются передаваемые/принимаемые сигналы в высокочастотном диапазоне, равном или превышающем 5 ГГц.
Резонансной схемой на элементах с сосредоточенными параметрами может быть LC-параллельная резонансная схема или LC-последовательная резонансная схема. Альтернативно, резонансная схема на элементах с сосредоточенными параметрами может включать в себя множество LC-последовательных резонансных схем или множество LC-параллельных резонансных схем. В частности, посредством конфигурирования резонансной схемы как резонансной схемы на элементах с сосредоточенными параметрами, которая может состоять из рисунка конденсаторов и рисунка индукционных катушек, конструирование резонансной схемы может быть упрощено, когда используются передаваемые/принимаемые сигналы в низкочастотном диапазоне, равном или меньшем 5 ГГц. Помимо этого, на резонансную схему оказывают небольшое влияние другие элементы, такие как излучающая пластина. Более того, посредством конфигурирования резонансной схемы как комбинации множества резонансных схем, множество резонансных схем соединяются друг с другом. Таким образом могут быть использованы передаваемые/принимаемые сигналы в более широкой полосе частот.
Когда рисунок конденсаторов размещается на выходе беспроводной ИС-микросхемы и между беспроводной ИС-микросхемой и рисунком индукционных катушек, сопротивление к выбросу повышается. Поскольку выброс – это низкочастотный электрический ток, равный или меньший 200 МГц, выброс может быть подавлен посредством емкостного элемента. Таким образом беспроводная ИС-микросхема может быть защищена от выброса.
Помимо этого, рисунок конденсаторов и рисунок индукционных катушек может быть размещен параллельно излучающей пластине. Т.е. посредством размещения рисунка конденсаторов и рисунка индукционных катушек так, чтобы они были совмещены в направлении излучающей пластины, и так, чтобы электрическое поле, сформированное посредством рисунка конденсаторов, и магнитное поле, сформированное посредством рисунка индукционных катушек, непосредственно применялись к излучающей пластине, магнитное поле, формируемое посредством рисунка индукционных катушек, не блокировалось из-за рисунка конденсаторов. Соответственно частота излучения рисунка индукционных катушек повышается.
Помимо этого, отражатель и/или блок управления волной может быть размещен в части, где магнитное поле формируется посредством рисунка индукционных катушек. Таким образом, характеристика излучения или направленность магнитного поля из схемы подачи энергии в излучающую пластину может легко контролироваться, а, следовательно, внешние электромагнитные помехи минимизируются. Как результат, может быть получена стабильная резонансная характеристика.
Плата схемы подачи энергии может быть многослойной платой, в которой множество диэлектрических слоев или множество магнитных слоев размещено послойно. В этом случае рисунок конденсаторов и рисунок индукционных катушек сформированы на поверхности и/или внутри многослойной платы. Посредством использования резонансной схемы, состоящей из многослойной платы, элемент (к примеру, рисунок электродов) резонансной схемы может быть сформирован внутри платы, а также на поверхности платы. Соответственно, размер платы может быть уменьшен. Помимо этого, повышается гибкость компоновки элементов резонансной схемы. Таким образом, производительность резонансной схемы повышается. Многослойная плата может быть полимерной многослойной платой, в которой размещаются множество полимерных слоев послойно, или керамической многослойной платой, в которой послойно размещаются множество керамических слоев. Альтернативно, многослойной платой может быть тонкопленочная многослойная плата, сформированная с помощью технологии тонкопленочного формирования. В случае керамической многослойной платы желательно, чтобы керамические слои изготовлялись из низкотемпературного спеченного керамического материала, поскольку серебро или медь, которые имеют низкое значение сопротивления, могут быть использованы в качестве элементов резонансной схемы.
С другой стороны, плата схемы подачи энергии может быть диэлектрической или магнитной однослойной платой. В этом случае рисунок конденсаторов и/или рисунок индукционных катушек сформированы на поверхности однослойной платы. Материалом однослойной платы может быть полимер или керамика. Электрическая емкость рисунка конденсаторов может быть сформирована между плоскими электродами, предусмотренными на одной из сторон однослойной платы, либо может быть сформирована между электродами, размещенными практически параллельно друг другу на одной поверхности однослойной платы.
Желательно, чтобы плата схемы подачи энергии была жесткой платой. Если плата является жесткой, частота передаваемого сигнала может поддерживаться стабильной даже когда беспроводное ИС-устройство скреплено с изделием любой формы. Более того, беспроводная ИС-микросхема может быть надежно установлена на жесткой плате. С другой стороны, желательно, чтобы излучающая пластина была изготовлена из гибкой металлической пленки. Гибкая излучающая пластина дает возможность прикрепления беспроводного ИС-устройства к изделию любой формы.
Более того, когда гибкая металлическая пленка удерживается в гибкой полимерной пленке, беспроводное ИС-устройство может легко управляться. В частности, когда все из беспроводной ИС-микросхемы, платы схемы подачи энергии и излучающей пластины покрыто пленкой, эти компоненты могут быть защищены от окружающей среды.
Желательно, чтобы электрическая длина излучающей пластины была целочисленным кратным половины длины волны резонансной частоты, и в этом случае усиление максимизируется. Тем не менее, поскольку частота преимущественно определяется посредством резонансной схемы, необязательно, чтобы электрическая длина излучающей пластины была целочисленным кратным половины длины волны резонансной частоты. Это существенное преимущество по сравнению с беспроводным ИС-устройством, в котором излучающая пластина – это антенное устройство, имеющее конкретную резонансную частоту.
Помимо этого, может быть использовано множество конфигураций для соединения между беспроводной ИС-микросхемой и платой схемы подачи энергии. Например, беспроводная ИС-микросхема может быть оснащена рисунком электродов на стороне микросхемы, плата схемы подачи энергии может быть оснащена первым рисунком электродов на стороне платы, и рисунок электродов на стороне микросхемы может быть соединен по постоянному току с первым рисунком электродов на стороне платы. В этом случае соединение может выполняться, к примеру, посредством припоя, электропроводного полимера или контактного столбика из золота.
Альтернативно, рисунок электродов на стороне микросхемы может быть соединен с первым рисунком электродов на стороне платы посредством емкостной связи или магнитной связи. Когда соединение осуществлено посредством емкостной связи или магнитной связи, припой или электропроводный полимер необязателен, но связующий агент, такой как полимер, используется для прикрепления рисунка электродов на стороне микросхемы к первому рисунку электродов на стороне платы. В этом случае рисунок электродов на стороне микросхемы и первый рисунок электродов на стороне платы необязательно должен быть сформирован на поверхности беспроводной ИС-микросхемы или поверхности платы схемы подачи энергии. Например, полимерная пленка может быть сформирована на поверхности рисунка электродов на стороне микросхемы, либо первый рисунок электродов на стороне платы может быть сформирован во внутреннем слое многослойной платы.
В случае использования емкостной связи, желательно, чтобы площадь первого рисунка на стороне платы была больше, чем площадь рисунка электродов на стороне микросхемы. Даже если точность размещения во время установки беспроводной ИС-микросхемы на плату схемы подачи энергии немного варьируется, вариации электрической емкости между двумя рисунками электродов могут быть значительно снижены. Более того, трудно сформировать рисунок электродов, имеющий большую площадь, на небольшой беспроводной ИС-микросхеме. Тем не менее, поскольку схема подачи энергии относительно крупная, без проблем может быть сформирован рисунок электродов, имеющий большую площадь.
В случае использования магнитной связи, точность, требуемая, когда беспроводная ИС-микросхема устанавливается на плате схемы подачи энергии, не является критичной по сравнению со случаем использования емкостной связи, что дополнительно упрощает операцию установки. Помимо этого, каждый из рисунков электродов на стороне микросхемы и первый рисунок электродов на стороне платы – это рисунок электродов в форме катушки. В этом случае рисунок электродов в форме катушки, такой как спиралевидный рисунок или винтообразный рисунок, упрощает конструирование. Для высокой частоты преимущественным является меандрический рисунок электродов.
С другой стороны, множество типов конфигураций может быть использовано для соединения между платой схемы подачи энергии и излучающей пластиной. Например, схема подачи энергии может быть оснащена вторым рисунком электродов на стороне платы, и второй рисунок электродов на стороне платы может быть соединен по постоянному току с излучающей пластиной. В этом случае соединение может выполняться посредством припоя, электропроводного полимера или контактного столбика из золота.
Альтернативно, второй рисунок электродов на стороне платы может быть соединен с излучающей пластиной посредством емкостной связи или магнитной связи. В случае использования емкостной связи или магнитной связи, необязательно использовать припой или электропроводный полимер. Второй рисунок на стороне электродов может быть прикреплен к излучающей пластине посредством связующего агента, такого как полимер. В этом случае второй рисунок электродов на стороне платы необязательно должен быть сформирован на поверхности платы схемы подачи энергии. Например, второй рисунок электродов на стороне платы может быть сформирован во внутреннем слое многослойной платы.
В случае использования магнитной связи желательно, чтобы второй рисунок электродов на стороне платы был рисунком электродов в форме катушки. Рисунок электродов в форме катушки, такой как спиралевидный рисунок или винтообразный рисунок, упрощает управление магнитным потоком, тем самым упрощая конструирование. Для высокой частоты может быть использован меандрический рисунок электродов. В случае использования магнитной связи, желательно, чтобы изменение магнитного потока, которое возникает во втором рисунке электродов на стороне платы (рисунке электродов в форме катушки), не прерывалось. Например, желательно, чтобы отверстие было предусмотрено в излучающей пластине. Таким образом, частота переноса энергии сигнала повышается, и сдвиг частоты, обусловленный связыванием между платой схемы подачи энергии и излучающей пластиной, может быть уменьшен.
Когда второй рисунок электродов на стороне платы – это рисунок электродов в форме катушки, его ось обмотки может быть размещена параллельно или перпендикулярно излучающей пластине. В последнем случае желательно, чтобы ширина обмотки рисунка электродов в форме катушки постепенно возрастала в направлении излучающей пластины.
В беспроводных ИС-устройствах согласно первому и второму изобретениям, если излучающая пластина – это излучающая пластина с двумя открытыми сторонами (двумя открытыми концами), включающая в себя излучающую секцию для обмена передаваемыми/принимаемыми сигналами с внешним устройством и секцию передачи энергии для обмена передаваемыми/принимаемыми сигналами со схемой подачи энергии (резонансной схемой), усиление антенны может быть повышено посредством излучающей секции. Таким образом, даже небольшой рисунок схемы подачи энергии позволяет получать достаточное усиление, беспроводное ИС-устройство может работать на достаточном расстоянии от устройства считывания/записи, и даже полоса частот не меньше UHF-полосы может быть достаточной для использования. Кроме того, резонансная частота преимущественно определяется посредством рисунка схемы подачи энергии, любая форма излучающей секции может быть использована, усиление может быть отрегулировано посредством размера излучающей секции и центральная частота может быть точно отрегулирована с помощью формы излучающей секции.
Помимо этого, по меньшей мере, часть секции передачи энергии излучающей пластины размещается в плоскости проекций рисунка схемы подачи энергии, и площадь секции передачи энергии может быть меньше площади плоскости проекции рисунка схемы подачи энергии. При использовании в данном документе термин “плоскость проекций” означает плоскость, окружаемую посредством контура рисунка схемы подачи энергии, а термин “площадь секции передачи энергии” означает площадь металлической секции излучающей пластины. Если секция передачи энергии излучающей пластины связана с рисунком схемы подачи энергии посредством магнитного поля, когда площадь секции передачи энергии меньше площади плоскости проекций рисунка схемы подачи энергии, часть, которая противодействует магнитному потоку, истекающему из рисунка схемы подачи энергии, уменьшается. Следовательно, эффективность переноса сигналов повышается.
Помимо этого, секция передачи энергии может быть сформирована так, чтобы пересекать плоскость проекций рисунка схем в продольном направлении. Например, секция передачи энергии может быть сформирована по прямой линии. Излучающая секция излучающей пластины может быть предусмотрена по обоим концам секции передачи энергии или может быть предусмотрена на одном конце секции передачи энергии. Когда излучающая секция предусмотрена по обоим концам секции передачи энергии, емкостная связь с рисунком схемы подачи энергии повышается. Посредством предоставления излучающей секции только на одном конце секции передачи энергии магнитная связь с рисунком схемы подачи энергии сильная и, следовательно, усиление возрастает.
Дополнительно, на плате схемы подачи энергии может быть сформировано несколько рисунков схем подачи энергии. В этом случае желательно, чтобы секция передачи энергии излучающей пластины размещалась между соседними парами плоскостей проекций нескольких рисунков передачи энергии.
Секция передачи энергии в продольном направлении может быть сформирована так, чтобы пересекать пространство между соседними парами плоскостей проекций нескольких рисунков схем подачи энергии. Например, секция передачи энергии в продольном направлении может быть сформирована по прямой линии. Посредством размещения секции передачи энергии между соседними парами плоскостей проекций нескольких рисунков передачи энергии величина электрической мощности, подаваемой между секцией передачи энергии и рисунком секций передачи энергии, увеличивается.
Излучающая пластина может быть сформирована в плоскости x-y и может включать в себя излучающие секции, идущие в направлении оси x и в направлении оси y. Таким образом, поляризованные по кругу волны могут быть приняты и, следовательно, усиление антенны возрастает. Помимо этого, излучающая пластина может включать в себя излучающие секции, идущие в направлении оси x, направлении оси y и направлении оси z в пространстве x-y-z. Посредством предоставления излучающих секций, идущих в трех направлениях, эффективная передача и прием могут выполняться в любом направлении.
Еще дополнительно, излучающая секция излучающей пластины может идти практически перпендикулярно плоскости рисунка схемы подачи энергии. Таким образом, секция передачи энергии может быть предоставлена в плоскости, которая размещена в верхнем конце излучающей секции в форме иглы и практически перпендикулярно излучающей секции, и секция передачи энергии может быть соединена с рисунком схемы подачи энергии посредством электрического поля или магнитного поля. Таким образом, беспроводное ИС-устройство может быть прикреплено к изделию посредством вставки излучающей секции в форме иглы в изделие.
Дополнительно, секция передачи энергии и рисунок схемы подачи энергии могут быть покрыты магнитным элементом. Таким образом, утечка электромагнитной энергии может быть предотвращена, и связь между секцией передачи энергии и рисунком схемы подачи энергии повышается, тем самым увеличивая антенное усиление.
Согласно третьему изобретению компонент для беспроводного ИС-устройства включает в себя ИС-микросхему и плату схемы подачи энергии, которая соединена с беспроводной ИС-микросхемой и которая содержит схему подачи энергии. Схема подачи энергии включает в себя резонансную схему, имеющую предварительно определенную резонансную частоту.
Согласно третьему изобретению компонент для беспроводного ИС-устройства включает в себя ИС-микросхему и плату схемы подачи энергии, имеющую беспроводную ИС-микросхему, установленную на ней, и содержащую схему подачи энергии. Схема подачи энергии включает в себя резонансную схему, имеющую предварительно определенную резонансную частоту.
Преимущества
Согласно первому и второму изобретениям беспроводная ИС-микросхема может быть с высокой точностью установлена на монтажной плате или плате схемы подачи энергии. Помимо этого, частота передаваемого сигнала и принимаемого сигнала определяется посредством схемы подачи энергии, размещенной на плате схемы подачи энергии. Следовательно, даже когда беспроводное ИС-устройство закруглено или вставлено между диэлектрическими материалами, частотные характеристики не варьируются и, следовательно, стабильная частотная характеристика может быть получена.
Согласно третьему и четвертому изобретениям беспроводные ИС-устройства согласно первому и второму изобретениям могут быть оптимально сконфигурированы.
Краткое описание чертежей
Фиг.1 – вид в перспективе беспроводного ИС-устройства согласно первому варианту осуществления настоящего изобретения.
Фиг.2 – вид в поперечном разрезе беспроводного ИС-устройства согласно первому варианту осуществления.
Фиг.3 – эквивалентная принципиальная схема беспроводного ИС-устройства согласно первому варианту осуществления.
Фиг.4 – вид в перспективе по частям платы схемы подачи энергии согласно первому варианту осуществления.
Фиг.5(A) и 5(B) иллюстрируют конфигурацию соединения между беспроводной ИС-микросхемой и платой схемы подачи энергии.
Фиг.6 – вид в перспективе первой модификации излучающей пластины.
Фиг.7 – вид в перспективе второй модификации излучающей пластины.
Фиг.8 – вид сверху беспроводного ИС-устройства согласно второму варианту осуществления настоящего изобретения.
Фиг.9(A) и 9(B) иллюстрируют беспроводное ИС-устройство согласно третьему варианту осуществления настоящего изобретения, при этом фиг.9(A) – это вид сверху, когда беспроводное ИС-устройство разрабатывается, а фиг.9(B) – вид в перспективе, когда беспроводное ИС-устройство используется.
Фиг.10 – вид в перспективе беспроводного ИС-устройства согласно четвертому варианту осуществления настоящего изобретения.
Фиг.11 – вид в перспективе беспроводного ИС-устройства согласно пятому варианту осуществления настоящего изобретения.
Фиг.12 – вид в поперечном разрезе беспроводного ИС-устройства согласно шестому варианту осуществления настоящего изобретения.
Фиг.13 – эквивалентная принципиальная схема беспроводного ИС-устройства согласно седьмому варианту осуществления настоящего изобретения.
Фиг.14 – эквивалентная принципиальная схема беспроводного ИС-устройства согласно восьмому варианту осуществления настоящего изобретения.
Фиг.15 – эквивалентная принципиальная схема беспроводного ИС-устройства согласно девятому варианту осуществления настоящего изобретения.
Фиг.16 – вид в поперечном разрезе беспроводного ИС-устройства согласно десятому варианту осуществления настоящего изобретения.
Фиг.17 – эквивалентная принципиальная схема беспроводного ИС-устройства согласно десятому варианту осуществления настоящего изобретения.
Фиг.18 – вид в перспективе по частям платы схемы подачи энергии согласно десятому варианту осуществления.
Фиг.19 – эквивалентная принципиальная схема беспроводного ИС-устройства согласно одиннадцатому варианту осуществления настоящего изобретения.
Фиг.20 – эквивалентная принципиальная схема беспроводного ИС-устройства согласно двенадцатому варианту осуществления настоящего изобретения.
Фиг.21 – вид в перспективе по частям платы схемы подачи энергии согласно двенадцатому варианту осуществления.
Фиг.22 – вид в перспективе беспроводного ИС-устройства согласно тринадцатому варианту осуществления настоящего изобретения.
Фиг.23 – вид в поперечном разрезе беспроводного ИС-устройства согласно четырнадцатому варианту осуществления настоящего изобретения.
Фиг.24 – вид в перспективе по частям платы схемы подачи энергии согласно четырнадцатому варианту осуществления.
Фиг.25 – эквивалентная принципиальная схема беспроводного ИС-устройства согласно пятнадцатому варианту осуществления настоящего изобретения.
Фиг.26 – вид в перспективе по частям платы схемы подачи энергии согласно пятнадцатому варианту осуществления.
Фиг.27 – эквивалентная принципиальная схема беспроводного ИС-устройства согласно шестнадцатому варианту осуществления настоящего изобретения.
Фиг.28 – вид в перспективе по частям платы схемы подачи энергии согласно шестнадцатому варианту осуществления.
Фиг.29 – эквивалентная принципиальная схема беспроводного ИС-устройства согласно семнадцатому варианту осуществления настоящего изобретения.
Фиг.30 – вид в перспективе по частям платы схемы подачи энергии согласно семнадцатому варианту осуществления.
Фиг.31 – график, иллюстрирующий характеристику отражения согласно семнадцатому варианту осуществления.
Фиг.32 – эквивалентная принципиальная схема беспроводного ИС-устройства согласно восемнадцатому варианту осуществления настоящего изобретения.
Фиг.33 – вид в перспективе по частям платы схемы подачи энергии согласно восемнадцатому варианту осуществления.
Фиг.34(A) и 34(B) иллюстрируют беспроводную ИС-микросхему восемнадцатого варианта осуществления, при этом фиг.34(A) – это вид снизу, а фиг.34(B) – укрупненный вид в разрезе.
Фиг.35 – эквивалентная принципиальная схема беспроводного ИС-устройства согласно девятнадцатому варианту осуществления настоящего изобретения.
Фиг.36 – вид в перспективе по частям платы схемы подачи энергии согласно девятнадцатому варианту осуществления.
Фиг.37 – вид в перспективе по частям беспроводного ИС-устройства согласно двадцатому варианту осуществления настоящего изобретения.
Фиг.38 – вид снизу платы схемы подачи энергии, имеющей беспроводное ИС-устройство, установленное на ней, согласно двадцатому варианту осуществления.
Фиг.39 – вид сбоку беспроводного ИС-устройства согласно двадцатому варианту осуществления.
Фиг.40 – вид сбоку беспроводного ИС-устройства согласно первой модификации двадцатого варианта осуществления.
Фиг.41 – вид в перспективе модификации, показанной на фиг.40, в первой конфигурации.
Фиг.42 – вид в перспективе модификации, показанной на фиг.40, во второй конфигурации.
Фиг.43 – вид в перспективе по частям беспроводного ИС-устройства согласно двадцать первому варианту осуществления настоящего изобретения.
Фиг.44 – эквивалентная принципиальная схема беспроводного ИС-устройства согласно двадцать первому варианту осуществления настоящего изобретения.
Фиг.45 – вид в перспективе по частям платы схемы подачи энергии согласно двадцать второму варианту осуществления.
Фиг.46 – вид в перспективе по частям платы схемы подачи энергии беспроводного ИС-устройства согласно двадцать третьему варианту осуществления настоящего изобретения.
Фиг.47 – эквивалентная принципиальная схема беспроводного ИС-устройства согласно двадцать четвертому варианту осуществления настоящего изобретения.
Фиг.48 – вид в перспективе по частям платы схемы подачи энергии согласно двадцать четвертому варианту осуществления.
Фиг.49 – эквивалентная принципиальная схема беспроводного ИС-устройства согласно двадцать пятому варианту осуществления настоящего изобретения.
Фиг.50 – вид в перспективе платы схемы подачи энергии согласно двадцать пятому варианту осуществления.
Фиг.51 – эквивалентная принципиальная схема беспроводного ИС-устройства согласно двадцать шестому варианту осуществления настоящего изобретения.
Фиг.52 – вид в перспективе платы схемы подачи энергии согласно двадцать шестому варианту осуществления.
Фиг.53 – эквивалентная принципиальная схема беспроводного ИС-устройства согласно двадцать седьмому варианту осуществления настоящего изобретения.
Фиг.54 – вид в перспективе платы схемы подачи энергии согласно двадцать седьмому варианту осуществления.
Фиг.55 – вид в поперечном разрезе беспроводного ИС-устройства согласно двадцать восьмому варианту осуществления настоящего изобретения.
Фиг.56 – вид в поперечном разрезе беспроводного ИС-устройства согласно двадцать девятому варианту осуществления настоящего изобретения.
Фиг.57 – вид в перспективе беспроводного ИС-устройства согласно тридцатому варианту осуществления настоящего изобретения.
Фиг.58 – вид в перспективе беспроводного ИС-устройства согласно тридцать первому варианту осуществления настоящего изобретения.
Фиг.59 – вид сверху первого примера существующего беспроводного ИС-устройства; и
Фиг.60 – вид сверху второго примера существующего беспроводного ИС-устройства.
Оптимальный режим осуществления изобретения
Варианты осуществления беспроводного ИС-устройства и компонента беспроводного ИС-устройства согласно настоящему изобретению описаны ниже со ссылкой на прилагаемые чертежи. В нижеприведенных вариантах осуществления одинаковые номера ссылок указывают аналогичные компоненты и части, и избыточные описания опускаются.
Первый вариант осуществления (см. фиг.1-7)
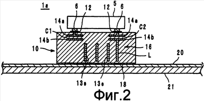
Согласно первому варианту осуществления беспроводное ИС-устройство 1a имеет тип несимметричного вибратора. Как показано на фиг.1 и 2, беспроводное ИС-устройство 1a включает в себя беспроводную ИС-микросхему 5, плату 10 схемы подачи энергии, имеющую беспроводную ИС-микросхему 5, установленную на верхней поверхности, и излучающую пластину 20, имеющую плату 10 схемы подачи энергии, закрепленную на ней. Беспроводная ИС-микросхема 5 включает в себя схему синхронизации, логическую схему и схему запоминающего устройства и сохраняет требуемую информацию. Беспроводная ИС-микросхема 5 электрически соединена по постоянному току со схемой 16 подачи энергии, содержащейся в плате 10 схемы подачи энергии.
Схема 16 подачи энергии подает передаваемый сигнал, имеющий предварительно определенную частоту, в излучающую пластину 20, и/или выбирает принимаемый сигнал, имеющий предварительно определенную частоту, из сигналов, принимаемых посредством излучающей пластины 20 с тем, чтобы подавать выбранный сигнал в беспроводную ИС-микросхему 5. Схема 16 подачи энергии включает в себя резонансную схему, которая резонирует на частоте передаваемых/принимаемых сигналов.
Как показано на фиг.2 и 3, плата 10 схемы подачи энергии включает в себя схему 16 подачи энергии LC-последовательного типа на элементах с сосредоточенными параметрами, имеющую спиралевидный индуктивный элемент L и емкостные элементы C1 и C2. Более конкретно, как показано на фиг.4, керамические листы 11A-11G, изготовленные из диэлектрического материала, склеиваются, прессуются и спекаются так, чтобы сформировать плату 10 схемы подачи энергии. Керамический лист 11A включает в себя соединительные электроды 12 и проходящие через отверстия проводники 13a, сформированные в нем. Керамический лист 11B включает в себя конденсаторные электроды 14a, сформированные в нем. Керамический лист 11C включает в себя конденсаторные электроды 14b и проходящие через отверстия проводники 13b, сформированные в нем. Керамический лист 11D включает в себя проходящие через отверстия проводники 13c, сформированные в нем. Керамический лист 11E включает в себя рисунки 15a проводников и проходящие через отверстия проводники 13d, сформированные в нем. (По меньшей мере, один) керамический лист 11F включает в себя проходящие через отверстия проводники 13e, сформированные в нем. Керамический лист 11G включает в себя рисунки 15b проводников, сформированные в нем. Каждый из керамических листов 11A-11G может быть изготовлен из магнитного керамического материала. Плата 10 схемы подачи энергии может быть просто изготовлена с помощью известного способа производства многослойных плат, такого как способ склеивания листов или способ толстопленочной печати.
Посредством склеивания керамических листов 11A-11G формируются индуктивный элемент L и емкостные элементы C1 и C2. Индуктивный элемент L следует спиралевидному пути над осью обмотки, которая параллельна излучающей пластине 20. В емкостных элементах C1 и C2 конденсаторные электроды 14b соединены с одним из концов индуктивного элемента L. Помимо этого, каждый из конденсаторных электродов 14a соединен с одним из соединительных электродов 12 посредством проходящего через отверстие проводника 13a. Более того, соединительный электрод 12, который формирует рисунок электродов на стороне платы, соединяется по постоянному току с рисунком электродов (не показан) беспроводной ИС-микросхемы 5 на стороне микросхемы посредством припойного контактного столбика 6.
Т.е. передаваемый сигнал подается из индуктивного элемента L, которым является рисунок электродов в форме катушки в схеме 16 подачи энергии, в излучающую пластину 20 посредством магнитного поля. Принимаемый сигнал подается из излучающей пластины 20 в индуктивный элемент L посредством магнитного поля. Следовательно, желательно, чтобы из индуктивного элемента L и емкостных элементов C1 и C2, которые формируют резонансную схему, индуктивный элемент L размещался так, чтобы быть ближе к излучающей пластине 20.
Излучающая пластина 20 – это длинная прямоугольная пластина, изготовленная из немагнитного материала, такого как алюминиевая фольга или медная фольга. Т.е. излучающая пластина 20 – это металлическая пластина с обоими открытыми концами. Излучающая пластина 20 сформирована на гибкой изоляционной полимерной пленке 21, такой как PET. Нижняя поверхность платы 10 схемы подачи энергии прикреплена к излучающей пластине 20 с помощью изоляционного связующего слоя, составленного из промежуточного связующего агента 18.
Например, толщина беспроводной ИС-микросхемы 5 находится в диапазоне 50-100 мкм. Толщина припойных контактных столбиков 6 составляет примерно 20 мкм. Толщина платы 10 схемы подачи энергии находится в диапазоне 200-500 мкм. Толщина связующего агента 18 находится в диапазоне 0,1-10 мкм. Толщина излучающей пластины 20 находится в диапазоне 1-50 мкм. Толщина пленки 21 находится в диапазоне 10-100 мкм. Размер (площадь) беспроводной ИС-микросхемы 5 может варьироваться, к примеру, 0,4 мм (0,4 мм или 0,9 мм (0,8 мм. Размер (площадь) платы 10 схемы подачи энергии может быть того же размера, что и размер беспроводной ИС-микросхемы 5, примерно до 3 мм (3 мм.
Фиг.5 иллюстрирует компоновки соединений между беспроводной ИС-микросхемой 5 и платой 10 схемы подачи энергии. На фиг.5A пара антенных (сбалансированных) контактов 7a и 17a предусмотрена на нижней поверхности беспроводной ИС-микросхемы 5 и внешней поверхности платы 10 схемы подачи энергии соответственно. В отличие от этого, фиг.5B иллюстрирует другую компоновку соединений. На фиг.5B контакты 7b и 17b заземления предусмотрены на нижней поверхности беспроводной ИС-микросхемы 5 и верхней поверхности платы 10 схемы подачи энергии соответственно, помимо пары антенных (сбалансированных) контактов 7a и 17a. Контакт 17b заземления платы 10 схемы подачи энергии завершается и не соединен ни с одним из других элементов платы 10 схемы подачи энергии.
Помимо этого, как показано на фиг.6 и 7, желательно, чтобы излучающая пластина 20 имела тонкую форму, и площадь 20′ излучающей пластины 20, к которой крепится плата 10 схемы подачи энергии, была больше платы 10. Таким образом, точное позиционирование необязательно, когда плата 10 схемы подачи энергии крепится к излучающей пластине 20a и могут быть получены стабильные электрические характеристики.
Фиг.3 иллюстрирует эквивалентную схему беспроводного ИС-устройства 1a. Беспроводное ИС-устройство 1a принимает высокочастотный сигнал (к примеру, сигнал в UHF-полосе), излучаемый из устройства считывания/записи (не показано), в излучающей пластине 20. За счет резонирования схемы 16 подачи энергии (LC-последовательной резонансной схемы, состоящей из индуктивного элемента L и емкостных элементов C1 и C2), которая преимущественно магнитно связана с излучающей пластиной 20, беспроводное ИС-устройство 1a предоставляет в беспроводную ИС-микросхему 5 только принимаемый сигнал в предварительно определенной полосе частот. При этом беспроводное ИС-устройство 1a извлекает предварительно определенную энергию из принимаемого сигнала, и посредством использования этой энергии в качестве источника возбуждения беспроводное ИС-устройство 1a совмещает информацию, сохраненную в беспроводной ИС-микросхеме 5, с предварительно определенной частотой в схеме 16 подачи энергии. Затем беспроводное ИС-устройство 1a распространяет передаваемый сигнал от индуктивного элемента L схемы 16 подачи энергии в излучающую пластину 20 посредством магнитной связи. Излучающая пластина 20 передает передаваемый сигнал в устройство считывания/записи.
Связь схемы 16 подачи энергии с излучающей пластиной 20 преимущественно достигается посредством магнитного поля. Тем не менее, помимо магнитной связи, может присутствовать связь посредством электрического поля (электромагнитная связь).
Согласно первому варианту осуществления в беспроводном ИС-устройстве 1a беспроводная ИС-микросхема 5 соединена по постоянному току с платой 10 схемы подачи энергии, которая содержит схему 16 подачи энергии. Плата 10 схемы подачи энергии имеет практически такую же площадь, что и беспроводная ИС-микросхема 5, и является жесткой. Соответственно, в сравнении с существующим случаем, когда беспроводная ИС-микросхема 5 установлена на гибкой пленке, имеющей большую площадь, беспроводная ИС-микросхема 5 может быть точно размещена и установлена на плате 10 схемы подачи энергии. Помимо этого, плата 10 схемы подачи энергии изготовлена из керамического материала и имеет отличную стойкость к нагреванию, а следовательно, беспроводная ИС-микросхема 5 может быть припаяна к плате 10 схемы подачи энергии. Т.е. беспроводная ИС-микросхема 5 может быть прикреплена к плате 10 схемы подачи энергии без использования дорогого метода ультразвукового крепления, который традиционно применялся. Таким образом, стоимость может быть снижена, и отсутствует опасность того, что беспроводная ИС-микросхема 5 может быть повреждена вследствие давления, применяемого в ходе ультразвукового крепления. Помимо этого, может быть использован эффект самосовмещения, предоставляемый посредством оплавления припоя.
В схеме 16 подачи энергии свойства резонансной частоты определяются посредством резонансной схемы, включающей в себя индуктивный элемент L и емкостные элементы C1 и C2. Резонансная частота сигнала, излучаемого из излучающей пластины 20, практически такая же, что и саморезонансная частота схемы 16 подачи энергии. Максимальное усиление сигнала преимущественно определяется, по меньшей мере, посредством одного из размера и формы схемы 16 подачи энергии и размера и среды между схемой 16 подачи энергии и излучающей пластиной 20. Более конкретно, согласно первому варианту осуществления электрическая длина излучающей пластины 20 задается равной 1/2 резонансной частоты . Тем не менее, электрическая длина излучающей пластины 20 не должна быть целочисленным кратным /2. Т.е. согласно настоящему изобретению частота сигнала, излучаемого из излучающей пластины 20, преимущественно определяется посредством резонансной частоты резонансной схемы (схемы 16 подачи энергии). Следовательно, характеристики частоты не зависят в значительной степени от электрической длины излучающей пластины 20. Желательно, чтобы электрическая длина излучающей пластины 20 была целочисленным кратным /2 с тем, чтобы максимизировать усиление.
Как описано выше, характеристики резонансной частоты схемы 16 подачи энергии определяются посредством резонансной схемы, состоящей из индуктивного элемента L и емкостных элементов C1 и C2, содержащихся в плате 10 схемы подачи энергии.
Соответственно, даже когда беспроводное ИС-устройство вставлено в книгу, характеристики резонансной частоты не изменяются. Помимо этого, даже когда беспроводное ИС-устройство 1a закруглено, чтобы изменить форму или размер излучающей пластины 20, характеристики резонансной частоты не изменяются. Более того, поскольку рисунок электродов в форме катушки, который формирует индуктивный элемент L, размещен так, чтобы его ось обмотки была параллельной излучающей пластине 20, центральная частота преимущественно не изменяется. Дополнительно, поскольку емкостные элементы C1 и C2 размещаются на выходе беспроводной ИС-микросхемы 5, низкочастотный выброс предотвращается посредством емкостных элементов C1 и C2. Таким образом, беспроводная ИС-микросхема 5 может быть защищена от выброса.
Помимо этого, поскольку плата 10 схемы подачи энергии – это жесткая многослойная плата, беспроводная ИС-микросхема 5 может быть легко припаяна. Более того, излучающая пластина 20 сформирована из гибкой металлической пленки, поддерживаемой посредством гибкой пленки 21. Следовательно, излучающая пластина 20 может быть легко прикреплена к цилиндрическому элементу, такому как бутылка PET или мягкая сумка, сделанная из пластиковой пленки.
Согласно настоящему изобретению резонансная схема также может выступать в качестве согласующей схемы для согласования полного сопротивления беспроводной ИС-микросхемы с полным сопротивлением излучающей пластины. Альтернативно, плата схемы подачи энергии дополнительно может включать в себя согласующую схему, которая включает в себя индуктивный элемент и емкостный элемент и которая предусмотрена отдельно от резонансной схемы. В общем, когда резонансная схема включает в себя функцию согласующей схемы, конструирование резонансной схемы усложняется. Тем не менее, если согласующая схема предоставляется отдельно от резонансной схемы, резонансная схема и согласующая схема могут быть сконструированы независимо друг от друга.
Второй вариант осуществления (см. фиг.8)
Согласно второму варианту осуществления, как показано на фиг.8, в беспроводном ИС-устройстве 1b излучающая пластина 20 разветвляется на две части под углом 90°. Т.е. излучающая пластина 20 включает в себя излучающую секцию 20a, которая идет в направлении оси x, и излучающую секцию 20b, которая идет в направлении оси y, на плоскости x-y. Дополнительно, излучающая пластина 20 имеет удлинение излучающей секции 20a, которое выступает в качестве секции 20d передачи энергии. К секции 20d передачи энергии прикрепляется плата 10 схемы подачи энергии, имеющая беспроводную ИС-микросхему 5, установленную на ней.
Внутренняя структура платы 10 схемы подачи энергии аналогична структуре первого варианта осуществления. Работа и преимущества второго варианта осуществления такие же, как и в первом варианте осуществления. Кроме того, поскольку излучающие секции 20a и 20b идут в направлении оси x и направлении оси y, соответственно, излучающая пластина 20 может принимать поляризованные по кругу волны. Соответственно усиление антенны повышается.
Третий вариант осуществления (см. фиг.9)
Согласно третьему варианту осуществления, как показано на фиг.9 (A) и 9 (B), в беспроводном ИС-устройстве 1c излучающая пластина 20 включает в себя излучающие секции 20a, 20b и 20c, которые идут в направлении оси x, направлении оси y и направлении оси z, соответственно в пространстве x-y-z. Плата 10 схемы подачи энергии, имеющая беспроводную ИС-микросхему 5, установленную на ней, крепится на секции 20d передачи энергии, которая является расширением излучающей секции 20a.
Например, беспроводное ИС-устройство 1c может быть установлено в углу изделия в форме коробки. Поскольку излучающие секции 20a, 20b и 20c размещаются трехмерно, направленность антенны может быть исключена. Таким образом, в любом направлении может выполняться эффективная передача и прием. Кроме того, работа и преимущества беспроводного ИС-устройства 1c такие же, как и в первом варианте осуществления.
Четвертый вариант осуществления (см. фиг.10)
Согласно четвертому варианту осуществления, как показано на фиг.10, в беспроводном ИС-устройстве 1d излучающая пластина 20, имеющая большую площадь и изготовленная из алюминиевой фольги, сформирована на изоляционной гибкой пластиковой пленке 21, имеющей большую площадь. Плата 10 схемы подачи энергии, имеющая беспроводную ИС-микросхему 5, установленную на ней, крепится к излучающей пластине 20 в любой позиции.
Другая структура беспроводного ИС-устройства 1d, т.е. внутренняя структура платы 10 схемы подачи энергии, аналогична структуре первого варианта осуществления. Соответственно, работа и преимущества четвертого варианта осуществления такие же, как и в первом варианте осуществления. Помимо этого, четвертый вариант осуществления имеет преимущество в том, что высокоточное позиционирование не требуется, когда плата 10 схемы подачи энергии прикреплена к излучающей пластине 20.
Пятый вариант осуществления (см. фиг.11)
Согласно пятому варианту осуществления, как показано на фиг.11, в беспроводном ИС-устройстве 1e излучающая пластина 20, имеющая большую площадь и изготовленная из алюминиевой фольги, сформирована как сетка. Вся излучающая пластина 20 может быть сеткой, или альтернативно, часть излучающей пластины 20 может быть сеткой.
Другие структуры беспроводного ИС-устройства 1e аналогичны структурам четвертого варианта осуществления. Следовательно, высокоточное позиционирование необязательно, когда плата 10 схемы подачи энергии прикреплена к излучающей пластине 20. Помимо этого, поскольку магнитный поток рисунка электродов в форме катушки проходит через отверстия сетки, изменение (снижение) магнитного потока, истекающего из платы 10 схемы подачи энергии, уменьшается. Таким образом, больше магнитных потоков может проходить через излучающую пластину 20, и эффективность распространения энергии сигнала повышается. Помимо этого, сдвиг частоты, вызываемый посредством прикрепления, может быть уменьшен.
Шестой вариант осуществления (см. фиг.12)
Согласно шестому варианту осуществления, как показано на фиг.12, в беспроводном ИС-устройстве 1f связующий агент 18 применяется ко всей поверхности пленки 21, к которой плата 10 схемы подачи энергии прикреплена посредством излучающей пластины 20. Связующий агент 18 позволяет беспроводному ИС-устройству 1f быть прикрепленным к произвольной части изделия.
Другая структура беспроводного ИС-устройства 1f, т.е. внутренняя структура платы 10 схемы подачи энергии, аналогична структуре первого варианта осуществления. Соответственно работа и преимущества шестого варианта осуществления такие же, как и в первом варианте осуществления.
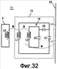
Седьмой вариант осуществления (см. фиг.13)
Согласно седьмому варианту осуществления, как показано посредством эквивалентной схемы на фиг.13, беспроводное ИС-устройство 1g имеет плату 10 схемы подачи энергии, содержащую индуктивный элемент L, который выступает в качестве схемы 16 подачи энергии и который имеет рисунок электродов в форме катушки. Емкостный элемент C, который формирует LC-параллельную резонансную схему, предусмотрен в форме плавающей электрической емкости (электрической емкости типа с распределенными параметрами) между рисунками проводников индуктивного элемента L.
Т.е. когда даже один рисунок электродов в форме катушки имеет авторезонанс, рисунок электродов в форме катушки может выступать в качестве LC-параллельной резонансной схемы посредством использования L-компонента самого рисунка электродов в форме катушки и C-компонента, сформированного как линейная плавающая электрическая емкость, и может быть получена схема 16 подачи энергии. Соответственно, беспроводное ИС-устройство 1g принимает высокочастотный сигнал (к примеру, сигнал в UHF-полосе), излучаемый из устройства считывания/записи (не показано), в излучающей пластине 20. За счет резонирования схемы 16 подачи энергии (LC-последовательной резонансной схемы, состоящей из индуктивного элемента L и емкостного элемента C), которая преимущественно магнитно связана с излучающей пластиной 20, беспроводное ИС-устройство 1g предоставляет в беспроводную ИС-микросхему 5 только принимаемый сигнал в предварительно определенной полосе частот. При этом беспроводное ИС-устройство 1g извлекает предварительно определенную энергию из принимаемого сигнала, и посредством использования этой энергии в качестве источника возбуждения беспроводное ИС-устройство 1g совмещает информацию, сохраненную в беспроводной ИС-микросхеме 5, с предварительно определенной частотой в схеме 16 подачи энергии. Затем беспроводное ИС-устройство 1g распространяет передаваемый сигнал от индуктивного элемента L схемы 16 подачи энергии в излучающую пластину 20 посредством магнитной связи. Излучающая пластина 20 передает передаваемый сигнал в устройство считывания/записи.
Восьмой вариант осуществления (см. фиг.14)
Согласно восьмому варианту осуществления, как показано посредством эквивалентной схемы на фиг.14, беспроводное ИС-устройство 1h включает в себя схему 16 подачи энергии типа симметричного вибратора и излучающие пластины 20. Схема 16 подачи энергии включает в себя две LC-параллельные резонансные схемы, размещенные в плате схемы подачи энергии. Индуктивный элемент L1 и емкостный элемент C1 подключены к стороне первого порта беспроводной ИС-микросхемы 5. Индуктивный элемент L2 и емкостный элемент C2 подключены к стороне второго порта беспроводной ИС-микросхемы 5. Индуктивный элемент L1 и емкостный элемент C1 располагаются напротив одной из излучающих пластин 20. Индуктивный элемент L2 и емкостный элемент C2 располагаются напротив другой излучающей пластины 20. Конец индуктивного элемента L1 и емкостного элемента C1 открыт. Отметим, что первый порт и второй порт составляют порты ввод-вывод дифференциальной схемы.
Работа и преимущества восьмого варианта осуществления, по сути, аналогичны первому варианту осуществления. Т.е. беспроводное ИС-устройство 1h принимает высокочастотный сигнал (к примеру, сигнал в UHF-полосе), излучаемый из устройства считывания/записи (не показано), в излучающих пластинах 20. За счет резонирования схемы 16 подачи энергии (LC-параллельной резонансной схемы, состоящей из индуктивного элемента L1 и емкостного элемента C1, и LC-параллельной резонансной схемы, состоящей из индуктивного элемента L2 и емкостного элемента C2), которая преимущественно магнитно связана с излучающими пластинами 20, беспроводное ИС-устройство 1h предоставляет в беспроводную ИС-микросхему 5 только принимаемый сигнал в предварительно определенной полосе частот. При этом беспроводное ИС-устройство 1h извлекает предварительно определенную энергию из принимаемого сигнала, и посредством использования этой энергии в качестве источника возбуждения беспроводное ИС-устройство 1h совмещает информацию, сохраненную в беспроводной ИС-микросхеме 5, с предварительно определенной частотой в схеме 16 подачи энергии. Затем беспроводное ИС-устройство 1h распространяет передаваемый сигнал от индуктивных элементов L1 и L2 схемы 16 подачи энергии в излучающие пластины 20 посредством магнитной связи. Излучающие пластины 20 передают передаваемый сигнал в устройство считывания/записи.
Девятый вариант осуществления (см. фиг.15)
Согласно девятому варианту осуществления, как показано посредством эквивалентной схемы на фиг.15, беспроводное ИС-устройство 1i включает в себя схему 16 подачи энергии типа симметричного вибратора и излучающие пластины 20. Схема 16 подачи энергии включает в себя две LC-последовательные резонансные схемы, размещенные в плате схемы подачи энергии. Индуктивный элемент L1 размещается напротив одной из излучающих пластин 20, а индуктивный элемент L2 размещается напротив другой излучающей пластины 20. Емкостные элементы C1 и C2 заземлены.
Работа и преимущества девятого варианта осуществления, по сути, аналогичны первому варианту осуществления. Т.е. беспроводное ИС-устройство 1i принимает высокочастотный сигнал (к примеру, сигнал в UHF-полосе), излучаемый из устройства считывания/записи (не показано), в излучающих пластинах 20. За счет резонирования схемы 16 подачи энергии (LC-последовательной резонансной схемы, состоящей из индуктивного элемента L1 и емкостного элемента C1, и LC-последовательной резонансной схемы, состоящей из индуктивного элемента L2 и емкостного элемента C2), которая преимущественно магнитно связана с излучающими пластинами 20, беспроводное ИС-устройство 1i предоставляет в беспроводную ИС-микросхему 5 только принимаемый сигнал в предварительно определенной полосе частот. При этом беспроводное ИС-устройство 1i извлекает предварительно определенную энергию из принимаемого сигнала, и посредством использования этой энергии в качестве источника возбуждения беспроводное ИС-устройство 1i совмещает информацию, сохраненную в беспроводной ИС-микросхеме 5, с предварительно определенной частотой в схеме 16 подачи энергии. Затем беспроводное ИС-устройство 1i распространяет передаваемый сигнал от индуктивных элементов L1 и L2 схемы 16 подачи энергии в излучающие пластины 20 посредством магнитной связи. Излучающие пластины 20 передают передаваемый сигнал в устройство считывания/записи.
Десятый вариант осуществления (см. фиг.16-18)
Согласно десятому варианту осуществления, как показано на фиг.16, беспроводное ИС-устройство 1j имеет тип несимметричного вибратора. Схема 16 подачи энергии включает в себя LC-последовательную резонансную схему, которая состоит из индуктивного элемента L и емкостного элемента C, содержащегося в плате 10 схемы подачи энергии. Как показано на фиг.17, рисунок электродов в форме катушки, который формирует индуктивный элемент L, имеет ось обмотки, которая перпендикулярна излучающей пластине 20. Схема 16 подачи энергии преимущественно магнитно связана с излучающей пластиной 20.
Более конкретно, как показано на фиг.18, керамические листы 31A-31F, изготовленные из диэлектрического материала, склеиваются, прессуются и спекаются так, чтобы сформировать плату 10 схемы подачи энергии. Керамический лист 31A включает в себя соединительные электроды 32 и проходящие через отверстия проводники 33a, сформированные в нем. Керамический лист 31B включает в себя конденсаторный электрод 34a и проходящий через отверстие проводник 33b, сформированный в нем. Керамический лист 31C включает в себя конденсаторный электрод 34b, проходящий через отверстие проводник 33c и проходящий через отверстие проводник 33b, сформированные в нем. (По меньшей мере, один) керамический лист 31D включает в себя рисунок 35a проводников, проходящий через отверстие проводник 33d и проходящий через отверстие проводник 33b, сформированные в нем. (По меньшей мере, один) керамический лист 31E включает в себя рисунок 35b проводников, проходящий через отверстие проводник 33e и проходящий через отверстие проводник 33b, сформированные в нем. Керамический лист 31F включает в себя рисунок 25c проводников, сформированный в нем.
Посредством склеивания керамических листов 31A-31F может быть получена схема 16 подачи энергии, включающая в себя LC-последовательную резонансную схему. В LC-последовательной резонансной схеме емкостный элемент C соединен последовательно с индуктивным элементом L, имеющим спиралевидную ось обмотки, которая параллельна излучающей пластине 20. Конденсаторный электрод 34a соединен с одним из соединительных электродов 32 посредством проходящего через отверстие проводника 33a. Помимо этого, емкостный электрод 34a соединен с беспроводной ИС-микросхемой 5 посредством припойного контактного столбика 6. Один конец индуктивного элемента L соединен с другим соединительным электродом 32 посредством проходящего через отверстие проводника 33b и дополнительно соединен с беспроводной ИС-микросхемой 5 посредством припойного контактного столбика 6.
Работа и преимущества девятого варианта осуществления, по сути, аналогичны первому варианту осуществления. Т.е. беспроводное ИС-устройство 1j принимает высокочастотный сигнал (к примеру, сигнал в UHF-полосе), излучаемый из устройства считывания/записи (не показано), в излучающей пластине 20. За счет резонирования схемы 16 подачи энергии (LC-последовательной резонансной схемы, состоящей из индуктивного элемента L и емкостного элемента C), которая преимущественно магнитно связана с излучающей пластиной 20, беспроводное ИС-устройство 1j предоставляет в беспроводную ИС-микросхему 5 только принимаемый сигнал в предварительно определенной полосе частот. При этом беспроводное ИС-устройство 1j извлекает предварительно определенную энергию из принимаемого сигнала, и посредством использования этой энергии в качестве источника возбуждения беспроводное ИС-устройство 1j совмещает информацию, сохраненную в беспроводной ИС-микросхеме 5, с предварительно определенной частотой в схеме 16 подачи энергии. Затем беспроводное ИС-устройство 1j распространяет передаваемый сигнал от индуктивного элемента L схемы 16 подачи энергии в излучающую пластину 20 посредством магнитной связи. Излучающая пластина 20 передает передаваемый сигнал в устройство считывания/записи.
В частности, согласно десятому варианту осуществления, поскольку рисунок электродов в форме катушки имеет ось обмотки, перпендикулярную излучающей пластине 20, компонент магнитного потока, поступающий в излучающую пластину 20, возрастает. Следовательно, эффективность распространения энергии сигнала повышается, и усиление возрастает.
Одиннадцатый вариант осуществления (см. фиг.19)
Согласно одиннадцатому варианту осуществления, как показано посредством эквивалентной схемы на фиг.19, в беспроводном ИС-устройстве 1k ширина обмотки (диаметр катушки) рисунка электродов в форме катушки индуктивного элемента L, описанного в десятом варианте осуществления, постепенно увеличивается в направлении излучающей пластины 20. Другая структура аналогична структуре десятого варианта осуществления.
Работа и преимущества одиннадцатого варианта осуществления аналогичны десятому варианту осуществления. Помимо этого, поскольку ширина обмотки (диаметр катушки) рисунка электродов в форме катушки индуктивного элемента L постепенно увеличивается в направлении излучающей пластины 20, эффективность распространения энергии сигналов повышается.
Двенадцатый вариант осуществления (см. фиг.20 и 21)
Согласно двенадцатому варианту осуществления, как показано посредством эквивалентной схемы на фиг.20, беспроводное ИС-устройство 1l имеет тип симметричного вибратора. Беспроводное ИС-устройство 1l включает в себя схему 16 подачи энергии, состоящую из двух LC-последовательных резонансных схем, размещенных в плате 10 схемы подачи энергии.
Более конкретно, как показано на фиг.21, керамические листы 41A-41F, изготовленные из диэлектрического материала, склеиваются, прессуются и спекаются так, чтобы сформировать плату 10 схемы подачи энергии. Керамический лист 41A включает в себя соединительные электроды 42 и проходящие через отверстия проводники 43a, сформированные в нем. Керамический лист 41B включает в себя конденсаторные электроды 44a, сформированные в нем. Керамический лист 41C включает в себя конденсаторные электроды 44b и проходящие через отверстия проводники 43b, сформированные в нем. (По меньшей мере, один) керамический лист 41D включает в себя рисунки 45a проводников и проходящие через отверстия проводники 43c, сформированные в нем. (По меньшей мере, один) керамический лист 41E включает в себя рисунки 45b проводников и проходящие через отверстия проводники 43d, сформированные в нем. Керамический лист 41F включает в себя рисунки 45c проводников, сформированные в нем.
Посредством склеивания керамических листов 41A-41F может быть получена схема 16 подачи энергии, включающая в себя LC-последовательную резонансную схему. В LC-последовательной резонансной схеме емкостные элементы C1 и C2 соединены последовательно с индуктивными элементами L1 и L2, имеющими спиралевидные оси обмотки, которые перпендикулярны излучающей пластине 20, соответственно. Конденсаторные электроды 44a соединены с соединительными электродами 42 посредством проходящих через отверстие проводников 43a. Помимо этого, конденсаторные электроды 44a соединены с беспроводной ИС-микросхемой 5 посредством контактных припойных столбиков 6.
Работа и преимущества двенадцатого варианта осуществления, по сути, аналогичны первому варианту осуществления. Т.е. беспроводное ИС-устройство 1l принимает высокочастотный сигнал (к примеру, сигнал в UHF-полосе), излучаемый из устройства считывания/записи (не показано), в излучающих пластинах 20. За счет резонирования схемы 16 подачи энергии (LC-последовательной резонансной схемы, состоящей из индуктивного элемента L1 и емкостного элемента C1, и LC-последовательной резонансной схемы, состоящей из индуктивного элемента L2 и емкостного элемента C2), которая преимущественно магнитно связана с излучающими пластинами 20, беспроводное ИС-устройство 1l предоставляет в беспроводную ИС-микросхему 5 только принимаемый сигнал в предварительно определенной полосе частот. При этом беспроводное ИС-устройство 1l извлекает предварительно определенную энергию из принимаемого сигнала и посредством использования этой энергии в качестве источника возбуждения беспроводное ИС-устройство 1l совмещает информацию, сохраненную в беспроводной ИС-микросхеме 5, с предварительно определенной частотой в схеме 16 подачи энергии. Затем беспроводное ИС-устройство 1l распространяет передаваемый сигнал от индуктивных элементов L1 и L2 схемы 16 подачи энергии в излучающие пластины 20 посредством магнитной связи. Излучающие пластины 20 передают передаваемый сигнал в устройство считывания/записи.
Более того, емкостные элементы C1 и C2 размещаются на выходе беспроводной ИС-микросхемы 5. Емкостный элемент C1 размещается между беспроводной ИС-микросхемой 5 и индуктивным элементом L1, а емкостный элемент C2 размещается между беспроводной ИС-микросхемой 5 и индуктивным элементом L2. Соответственно сопротивление выбросу повышается. Поскольку выброс – это низкочастотный электрический ток до 200 МГц, выброс может быть устранен посредством емкостных элементов C1 и C2. Таким образом, повреждение беспроводной ИС-микросхемы 5 вследствие выброса предотвращается.
Отметим, что согласно двенадцатому варианту осуществления, резонансная схема, состоящая из емкостного элемента C1 и индуктивного элемента L1, не соединена с резонансной схемой, состоящей из емкостного элемента C2 и индуктивного элемента L2.
Тринадцатый вариант осуществления (см. фиг.22)
Согласно тринадцатому варианту осуществления, как показано на фиг.22, в беспроводном ИС-устройстве 1m схема 56 подачи энергии, включающая в себя рисунок электродов в форме катушки, т.е. спиралевидный индуктивный элемент, сформирована на поверхности платы 50 схемы подачи энергии, которая является жесткой однослойной платой, сформированной из керамики или теплостойкого полимера. Любой конец схемы 56 подачи энергии напрямую соединен с беспроводной ИС-микросхемой 5 посредством припойного контактного столбика. Плата 50 схемы подачи энергии прикрепляется к пленке 21, которая содержит излучающую пластину 20, посредством связующего агента. Помимо этого, рисунок 56a проводников отделен от рисунков 56b и 56c проводников, которые пересекают рисунок 56a проводников, посредством изоляционной пленки (не показана).
Согласно тринадцатому варианту осуществления схема 56 подачи энергии формирует LC-параллельную резонансную схему, в которой плавающая электрическая емкость, сформированная между спирально обмотанными рисунками проводников, используется в качестве емкостного компонента. Плата 50 схемы подачи энергии – это однослойная плата, изготовленная из диэлектрического материала или магнитного материала.
Согласно тринадцатому варианту осуществления в беспроводном ИС-устройстве 1m схема 56 подачи энергии преимущественно магнитно связана с излучающей пластиной 20. Соответственно, как и в вышеописанных вариантах осуществления, беспроводное ИС-устройство 1m принимает высокочастотный сигнал (к примеру, сигнал в UHF-полосе), излучаемый из устройства считывания/записи (не показано), в излучающей пластине 20. За счет резонирования схемы 56 подачи энергии беспроводное ИС-устройство 1m предоставляет в беспроводную ИС-микросхему 5 только принимаемый сигнал в предварительно определенной полосе частот. При этом беспроводное ИС-устройство 1m извлекает предварительно определенную энергию из принимаемого сигнала, и посредством использования этой энергии в качестве источника возбуждения беспроводное ИС-устройство 1m совмещает информацию, сохраненную в беспроводной ИС-микросхеме 5, с предварительно определенной частотой в схеме 56 подачи энергии. Затем беспроводное ИС-устройство 1m распространяет передаваемый сигнал от индуктивного элемента схемы 56 подачи энергии в излучающую пластину 20 посредством магнитной связи. Излучающая пластина 20 передает передаваемый сигнал в устройство считывания/записи.
Аналогично первому варианту осуществления, беспроводная ИС-микросхема 5 установлена на жесткой плате 50 схемы подачи энергии, имеющей небольшую площадь. Соответственно, беспроводная ИС-микросхема 5 может быть точно размещена и может быть соединена с платой 50 схемы подачи энергии с помощью припойного контактного столбика.
Четырнадцатый вариант осуществления (см. фиг.23 и 24)
Согласно четырнадцатому варианту осуществления, как показано на фиг.23, в беспроводном ИС-устройстве 1n схема 56 подачи энергии включает в себя рисунок электродов в форме катушки, содержащийся в плате 50 схемы подачи энергии. Как показано на фиг.24, керамические листы 51A-51D, изготовленные из диэлектрического материала, склеиваются, прессуются и спекаются так, чтобы сформировать плату 50 схемы подачи энергии. Керамический лист 51A включает в себя соединительные электроды 52 и проходящие через отверстия проводники 53a, сформированные в нем. Керамический лист 51B включает в себя рисунки 54a проводников и проходящие через отверстия проводники 53b и 53c, сформированные в нем. Керамический лист 51C включает в себя рисунок 54b проводников, сформированный в нем. Каждый из множества керамических листов 51D не несет на себе компонентов.
Посредством склеивания листов 51A-51D может быть получена плата 50 схемы подачи энергии, содержащая схему 56 подачи энергии. Схема 56 подачи энергии включает в себя резонансную схему, состоящую из спирально обмотанного индуктивного элемента и емкостного элемента, заданного посредством плавающей электрической емкости между линиями спирально обмотанного рисунка электродов. Соединительные электроды 52, размещенные на одном из концов схемы 56 подачи энергии, соединены с беспроводной ИС-микросхемой 5 посредством припойных контактных столбиков 6. Работа и преимущества четырнадцатого варианта осуществления такие же, как и в тринадцатом варианте осуществления.
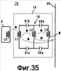
Пятнадцатый вариант осуществления (см. фиг.25 и 26)
Согласно пятнадцатому варианту осуществления, как показано посредством эквивалентной схемы на фиг.25, беспроводное ИС-устройство 1o включает в себя беспроводную ИС-микросхему 5 и плату 10 схемы подачи энергии, которые имеют емкостную связь между собой, и плата 10 схемы подачи энергии напрямую соединена с излучающей пластиной 20. Плата 10 схемы подачи энергии содержит схему 16 подачи энергии, включающую в себя две LC-последовательные резонансные схемы. Оси обмотки индуктивных элементов L1 и L2 перпендикулярны излучающей пластине 20. Один конец индуктивного элемента L1 и один конец индуктивного элемента L2 соединены с конденсаторными электродами 65a и 65b, которые формируют емкостные элементы C1 и C2 (см. фиг.26) соответственно. Другой конец индуктивного элемента L1 и другой конец индуктивного элемента L2 напрямую соединены друг с другом посредством соединительного электрода 62, размещенного на верхней поверхности (на фиг.25 и 26) платы 10. Помимо этого, конденсаторные электроды 66a и 66b, которые формируют емкостные элементы C1 и C2 (см. фиг.26), соответственно размещены на верхней поверхности (на фиг.25 и 26) беспроводной ИС-микросхемы 5.
Более конкретно, как показано на фиг.26, керамические листы 61A-61G, изготовленные из диэлектрического материала, склеиваются, прессуются и спекаются так, чтобы сформировать плату 10 схемы подачи энергии. Керамический лист 61A включает в себя соединительный электрод 62 и проходящие через отверстия проводники 63a, сформированные в нем. Каждый из листов 61B-61F включает в себя рисунки 64a и 64b проводников и проходящие через отверстия проводники 63c и 63d, сформированные в нем. Лист 61G включает в себя конденсаторные электроды 65a и 65b, сформированные в нем.
Посредством склеивания керамических листов 61A-61G может быть получена схема 16 подачи энергии, включающая в себя две LC-последовательные резонансные схемы. В двух LC-последовательных резонансных схемах емкостные элементы C1 и C2 соединены последовательно с индуктивными элементами L1 и L2 соответственно.
Т.е. емкостный элемент C1 сформирован между двумя параллельными плоскими рисунками электродов, т.е. между электродом 66a, выступающим в качестве рисунка электродов на стороне микросхемы, и электродом 65a, выступающим в качестве рисунка электродов на стороне платы. Емкостный элемент C2 сформирован между двумя параллельными плоскими рисунками электродов, т.е. между электродом 66b, выступающим в качестве рисунка электродов на стороне микросхемы, и электродом 65b, выступающим в качестве рисунка электродов на стороне платы. Беспроводная ИС-микросхема 5 прикрепляется и соединяется с платой 10 схемы подачи энергии с помощью изоляционного связующего слоя. Плата 10 схемы подачи энергии также напрямую соединяется с излучающей пластиной 20 посредством соединительного электрода 62, который является вторым рисунком электродов на стороне платы. Соединительный электрод 62 и излучающая пластина 20 могут быть соединены друг с другом посредством припоя, токопроводящего связующего агента и т.п.
Работа и преимущества пятнадцатого варианта осуществления такие же, как и в первом варианте осуществления. Т.е. беспроводное ИС-устройство 1o принимает высокочастотный сигнал (к примеру, сигнал в UHF-полосе), излучаемый из устройства считывания/записи (не показано), в излучающей пластине 20. За счет резонирования схемы 16 подачи энергии (LC-последовательной резонансной схемы, состоящей из индуктивного элемента L1 и емкостного элемента C1, и LC-последовательной резонансной схемы, состоящей из индуктивного элемента L2 и емкостного элемента C2), которая напрямую соединена с излучающей пластиной 20, беспроводное ИС-устройство 1o предоставляет в беспроводную ИС-микросхему 5 только принимаемый сигнал в предварительно определенной полосе частот. При этом беспроводное ИС-устройство 1o извлекает предварительно определенную энергию из принимаемого сигнала, и посредством использования этой энергии в качестве источника возбуждения беспроводное ИС-устройство 1o совмещает информацию, сохраненную в беспроводной ИС-микросхеме 5, с предварительно определенной частотой в схеме 16 подачи энергии. Затем беспроводное ИС-устройство 1o распространяет передаваемый сигнал в излучающую пластину 20, которая напрямую соединена со схемой 16 подачи энергии. Излучающая пластина 20 передает передаваемый сигнал в устройство считывания/записи. Схема 16 подачи энергии имеет емкостную связь с беспроводной ИС-микросхемой 5 посредством емкостных элементов C1 и C2, так что электроэнергия и передаваемые/принимаемые сигналы передаются между ними.
Площади конденсаторных электродов 65a и 65b, сформированных на плате 10 схемы подачи энергии, больше площадей конденсаторных электродов 66a и 66b, сформированных на беспроводной ИС-микросхеме 5, соответственно. Следовательно, даже когда точность размещения беспроводной ИС-микросхемы 5 на плате 10 схемы подачи энергии в некоторой степени варьируется, вариации электрической емкости, сформированной между конденсаторными электродами 65a и 66a и между конденсаторными электродами 65b и 66b, снижаются. Помимо этого, емкостные элементы C1 и C2 размещаются на выходе беспроводной ИС-микросхемы 5, что повышает сопротивление к выбросу.
Шестнадцатый вариант осуществления (см. фиг.27 и 28)
Согласно шестнадцатому варианту осуществления, как показано посредством эквивалентной схемы на фиг.27, в беспроводном ИС-устройстве 1p плата 10 схемы подачи энергии имеет емкостную связь с излучающими пластинами 20. Плата 10 схемы подачи энергии содержит схему 16 подачи энергии, включающую в себя две LC-последовательные резонансные схемы. Один конец индуктивного элемента L1 и один конец индуктивного элемента L2 соединены с беспроводной ИС-микросхемой 5. Другой конец индуктивного элемента L1 и другой конец индуктивного элемента L2 соединены с конденсаторными электродами 72a и 72b, которые размещены на верхней поверхности (на фиг.27 и 28) платы 10 и которые формируют емкостные элементы C1 и C2 (см. фиг.28) соответственно. Концевая часть 20a одной из излучающих пластин 20 выступает в качестве другого конденсаторного электрода для емкостного элемента C1, тогда как концевая часть 20b другой излучающей пластины 20 выступает в качестве другого конденсаторного электрода для емкостного элемента C2.
Более конкретно, как показано на фиг.28, керамические листы 71A-71F, изготовленные из диэлектрического материала, склеиваются, прессуются и спекаются так, чтобы сформировать плату 10 схемы подачи энергии. Керамический лист 71A включает в себя конденсаторные электроды 72a и 72b и проходящие через отверстия проводники 73a и 73b, сформированные в нем. Каждый из листов 71B-71E включает в себя рисунки 74a и 74b проводников и проходящие через отверстия проводники 73c и 63d, сформированные в нем. Лист 71F включает в себя рисунки 74a и 74b проводников, сформированные на одной поверхности, и соединительные электроды 75a и 75b, сформированные на другой поверхности. Рисунки 74a и 74b электродов листа 71F соединены с соединительными электродами 75a и 75b посредством проходящих через отверстие проводников 73e и 73f соответственно.
Посредством склеивания керамических листов 71A-71F может быть получена схема 16 подачи энергии, включающая в себя две LC-последовательные резонансные схемы. В двух LC-последовательных резонансных схемах емкостные элементы C1 и C2 соединены последовательно с индуктивными элементами L1 и L2 соответственно. Посредством скрепления платы 10 схемы подачи энергии с излучающими пластинами 20 посредством связующего агента конденсаторные электроды 72a и 72b, которые являются рисунками плоских электродов, параллельными излучающим пластинам 20, располагаются напротив концевых частей 20a и 20b излучающих пластин 20, соответственно, с изоляционным связующим агентом между ними, и таким образом заданы емкостные элементы C1 и C2. Помимо этого, посредством соединения соединительных электродов 75a и 75b с беспроводной ИС-микросхемой 5 посредством припойных контактных столбиков один конец проводящего элемента L1 и один конец проводящего элемента L2 соединены с беспроводной ИС-микросхемой 5, и, следовательно, плата 10 схемы подачи энергии напрямую соединена с беспроводной ИС-микросхемой 5.
Если связующий агент включает в себя, например, частицы из диэлектрического материала, слой связующего агента имеет диэлектрическое свойство, и электрическая емкость емкостных элементов C1 и C2 повышается. Помимо этого, хотя шестнадцатый вариант осуществления описан со ссылкой на случай, когда конденсаторные электроды 72a и 72b, выступающие в качестве рисунков электродов на стороне платы, размещаются на верхней поверхности (на фиг.27 и 28) платы 10 схемы подачи энергии, конденсаторные электроды 72a и 72b могут быть сформированы внутри платы 10 схемы подачи энергии (но в позиции рядом с излучающими пластинами 20). Альтернативно, конденсаторные электроды 72a и 72b могут быть сформированы во внутреннем слое платы 10.
Работа и преимущества шестнадцатого варианта осуществления, по сути, такие же, как и в первом варианте осуществления. Т.е. беспроводное ИС-устройство 1p принимает высокочастотный сигнал (к примеру, сигнал в UHF-полосе), излучаемый из устройства считывания/записи (не показано), в излучающей пластине 20. За счет резонирования схемы 16 подачи энергии (LC-последовательной резонансной схемы, состоящей из индуктивного элемента L1 и емкостного элемента C1, и LC-последовательной резонансной схемы, состоящей из индуктивного элемента L2 и емкостного элемента C2), которая имеет емкостную связь с излучающими пластинами 20, беспроводное ИС-устройство 1p предоставляет в беспроводную ИС-микросхему 5 только принимаемый сигнал в предварительно определенной полосе частот. При этом беспроводное ИС-устройство 1p извлекает предварительно определенную энергию из принимаемого сигнала, и посредством использования этой энергии в качестве источника возбуждения беспроводное ИС-устройство 1p совмещает информацию, сохраненную в беспроводной ИС-микросхеме 5, с предварительно определенной частотой в схеме 16 подачи энергии. Затем беспроводное ИС-устройство 1p распространяет передаваемый сигнал в излучающие пластины 20 посредством емкостной связи, предоставляемой посредством емкостных элементов C1 и C2. Излучающая пластина 20 передает передаваемый сигнал в устройство считывания/записи.
Семнадцатый вариант осуществления (см. фиг.29-31)
Согласно семнадцатому варианту осуществления, как показано посредством эквивалентной схемы на фиг.29, беспроводное ИС-устройство 1q включает в себя схему 16 подачи энергии, включающую в себя индуктивные элементы L1 и L2, которые магнитно связаны друг с другом. Индуктивный элемент L1 соединен с беспроводной ИС-микросхемой 5 посредством емкостных элементов C1a и C1b. Помимо этого, индуктивный элемент L1 соединен с индуктивным элементом L2 параллельно посредством емкостных элементов C2a и C2b. Т.е. схема 16 подачи энергии включает в себя LC-последовательную резонансную схему, состоящую из индуктивного элемента L1 и емкостных элементов C1a и C1b. Схема 16 подачи энергии включает в себя LC-последовательную резонансную схему, состоящую из индуктивного элемента L2 и емкостных элементов C2a и C2b. Две резонансные схемы соединены друг с другом посредством магнитной связи, указанной посредством M на фиг.29. Помимо этого, два индуктивных элемента L1 и L2 магнитно связаны с излучающей пластиной 20.
Более конкретно, как показано на фиг.30, керамические листы 81A-81H, изготовленные из диэлектрического материала, склеиваются, прессуются и спекаются так, чтобы сформировать плату 10 схемы подачи энергии. Лист 81A не имеет компонентов, сформированных в нем. Лист 81B включает в себя рисунки 82a и 82b проводников и проходящие через отверстия проводники 83a, 83b, 84a и 84b, сформированные в нем. Лист 81C включает в себя рисунки 82a и 82b проводников и проходящие через отверстия проводники 83c, 84c, 83e и 34e, сформированные в нем. Лист 81D включает в себя рисунки 82a и 82b проводников и проходящие через отверстия проводники 83d, 84d, 83e и 34e, сформированные в нем. Лист 81E включает в себя конденсаторные электроды 85a и 85b и проходящий через отверстие проводник 83e, сформированные в нем. Лист 81F включает в себя конденсаторные электроды 86a и 86b, сформированные в нем. Лист 81G не имеет компонентов, сформированных в нем. Лист 81H включает в себя конденсаторные электроды 87a и 87b, сформированные в его нижней поверхности (на фиг.30).
Посредством склеивания листов 81A-81H рисунки 82a проводников соединяются друг с другом посредством проходящих через отверстие проводников 83b и 83c так, чтобы сформировать индуктивный элемент L1. Кроме того, рисунки 82b проводников соединяются друг с другом посредством проходящих через отверстие проводников 84b и 84c так, чтобы сформировать индуктивный элемент L2. Конденсаторные электроды 86a и 87a формируют емкостный элемент C1a. Конденсаторный электрод 86a соединяется с одним концом индуктивного элемента L1 посредством проходящего через отверстие проводника 83e. Конденсаторные электроды 86b и 87b формируют емкостный элемент C1b. Конденсаторный электрод 86b соединяется с другим концом индуктивного элемента L1 посредством проходящего через отверстие проводника 83d. Кроме того, конденсаторные электроды 85a и 86a формируют емкостный элемент C2a. Конденсаторный электрод 85a соединяется с одним концом индуктивного элемента L2 посредством проходящего через отверстие проводника 84e. Конденсаторные электроды 85b и 86b формируют емкостный элемент C2b. Конденсаторный электрод 85b соединяется с другим концом индуктивного элемента L2 посредством проходящего через отверстие проводника 84d.
Работа и преимущества семнадцатого варианта осуществления, по сути, аналогичны первому варианту осуществления. Т.е. беспроводное ИС-устройство 1q принимает высокочастотный сигнал (к примеру, сигнал в UHF-полосе), излучаемый из устройства считывания/записи (не показано), в излучающей пластине 20. За счет резонирования схемы 16 подачи энергии (LC-последовательной резонансной схемы, состоящей из индуктивного элемента L1 и емкостных элементов C1a и C1b, и LC-последовательной резонансной схемы, состоящей из индуктивного элемента L2 и емкостных элементов C2a и C2b), которая преимущественно магнитно связана с излучающей пластиной 20, беспроводное ИС-устройство 1q предоставляет в беспроводную ИС-микросхему 5 только принимаемый сигнал в предварительно определенной полосе частот. При этом беспроводное ИС-устройство 1q извлекает предварительно определенную энергию из принимаемого сигнала и посредством использования этой энергии в качестве источника возбуждения беспроводное ИС-устройство 1q совмещает информацию, сохраненную в беспроводной ИС-микросхеме 5, с предварительно определенной частотой в схеме 16 подачи энергии. Затем беспроводное ИС-устройство 1q распространяет передаваемый сигнал от индуктивных элементов L1 и L2 схемы 16 подачи энергии в излучающую пластину 20 посредством магнитной связи. Излучающая пластина 20 передает передаваемый сигнал в устройство считывания/записи.
В частности, согласно семнадцатому варианту осуществления, как показано на фиг.31, полоса пропускания X, в которой может быть получена характеристика отражения в -5 дБ и менее, – это очень широкая полоса частот, не меньшая примерно 150 МГц. Это обусловлено тем, что схема 16 подачи энергии включает в себя множество LC-резонансных схем, имеющих индуктивные элементы L1 и L2, которые магнитно связаны друг с другом с высокой степенью связи. Помимо этого, емкостные элементы C1a и C1b размещаются на выходе беспроводной ИС-микросхемы 5, что повышает сопротивление к выбросу.
Восемнадцатый вариант осуществления (см. фиг.32-34)
Согласно восемнадцатому варианту осуществления, как показано посредством эквивалентной схемы на фиг.32, беспроводное ИС-устройство 1r включает в себя схему 16 подачи энергии, включающую в себя индуктивные элементы L1 и L2, которые магнитно связаны друг с другом с высокой степенью связи. Индуктивный элемент L1 магнитно связан с индуктивным элементом L5, предусмотренным в беспроводной ИС-микросхеме 5. Индуктивный элемент L2 и емкостный элемент C2 формируют LC-последовательную резонансную схему. Емкостный элемент C1 имеет емкостную связь с излучающей пластиной 20. Емкостный элемент C3 вставлен между емкостными элементами C1 и C2.
Более конкретно, как показано на фиг.33, керамические листы 91A-91E, изготовленные из диэлектрического материала, склеиваются, прессуются и спекаются так, чтобы сформировать плату 10 схемы подачи энергии. Лист 91A включает в себя рисунки 92a и 92b проводников и проходящие через отверстия проводники 93a, 93b, 94a и 94b, сформированные в нем. Лист 91B включает в себя конденсаторный электрод 95 и проходящие через отверстия проводники 93c, 93d и 94c, сформированные в нем. Лист 91C включает в себя конденсаторный электрод 96 и проходящие через отверстия проводники 93c и 93d, сформированные в нем. Лист 91D включает в себя конденсаторный электрод 97 и проходящий через отверстие проводник 93c и 93d, сформированные в нем. Лист 91E включает в себя конденсаторный электрод 98.
Когда листы 91A-91E склеены, рисунок 92a проводников формирует индуктивный элемент L1. Рисунок 92b проводников формирует индуктивный элемент L2. Конденсаторные электроды 97 и 98 формируют емкостный элемент C1. Один конец индуктивного элемента L1 соединяется с конденсаторным электродом 98 посредством проходящих через отверстие проводников 93a и 93c. Другой конец индуктивного элемента L1 соединяется с конденсаторным электродом 97 посредством проходящих через отверстие проводников 93b и 93d. Конденсаторные электроды 95 и 96 формируют емкостный элемент C2. Один конец индуктивного элемента L2 соединяется с конденсаторным электродом 96 посредством проходящих через отверстие проводников 94a и 94c. Другой конец индуктивного элемента L2 соединяется с конденсаторным электродом 95 посредством проходящего через отверстие проводника 94b. Помимо этого, конденсаторные электроды 96 и 97 формируют емкостный элемент C3.
Более того, как показано на фиг.34, рисунок 99 электродов в форме катушки размещен на поверхности беспроводной ИС-микросхемы 5 в качестве рисунка электродов на стороне микросхемы, и рисунок 99 электродов в форме катушки задает индуктивный элемент L5. Защитная пленка, например полимерная пленка, предусмотрена на поверхности рисунка 99 электродов в форме катушки. Таким образом, индуктивные элементы L1, заданные посредством рисунка электродов в форме катушки, выступающего в качестве рисунка электродов на стороне платы, магнитно связаны с рисунком 99 электродов в форме катушки.
Работа и преимущества восемнадцатого варианта осуществления, по сути, аналогичны первому варианту осуществления. Т.е. беспроводное ИС-устройство 1r принимает высокочастотный сигнал (к примеру, сигнал в UHF-полосе), излучаемый из устройства считывания/записи (не показано), в излучающей пластине 20. За счет резонирования схемы 16 подачи энергии (LC-последовательной резонансной схемы, состоящей из индуктивного элемента L2 и емкостного элемента C2), которая емкостным способом и магнитно связана с излучающей пластиной 20, беспроводное ИС-устройство 1r предоставляет в беспроводную ИС-микросхему 5 только принимаемый сигнал в предварительно определенной полосе частот. При этом беспроводное ИС-устройство 1r извлекает предварительно определенную энергию из принимаемого сигнала, и посредством использования этой энергии в качестве источника возбуждения беспроводное ИС-устройство 1r совмещает информацию, сохраненную в беспроводной ИС-микросхеме 5, с предварительно определенной частотой в схеме 16 подачи энергии. Затем беспроводное ИС-устройство 1r распространяет передаваемый сигнал от индуктивных элементов L1 и L2 схемы 16 подачи энергии в излучающую пластину 20 посредством магнитной связи. Излучающая пластина 20 передает передаваемый сигнал в устройство считывания/записи. Схема 16 подачи энергии магнитно связана с беспроводной ИС-микросхемой 5 посредством индуктивных элементов L1 и L5. Таким образом электрическая энергия и передаваемые/принимаемые сигналы передаются.
Девятнадцатый вариант осуществления (см. фиг.35 и 36)
Согласно девятнадцатому варианту осуществления, как показано посредством эквивалентной схемы на фиг.35, беспроводное ИС-устройство 1s включает в себя схему 16 подачи энергии, включающую в себя индуктивные элементы L1, L2 и L3, которые магнитно связаны друг с другом с высокой степенью связи. Индуктивный элемент L1 магнитно связан с индуктивным элементом L5, предусмотренным в беспроводной ИС-микросхеме 5. Индуктивный элемент L2 и емкостные элементы C1a и C1b формируют LC-последовательную резонансную схему. Индуктивный элемент L3 и емкостные элементы C2a и C2b формируют LC-последовательную резонансную схему. Индуктивные элементы L1, L2 и L3 магнитно связаны с излучающей пластиной 20.
Более конкретно, как показано на фиг.36, керамические листы 101A-101E, изготовленные из диэлектрического материала, склеиваются, прессуются и спекаются так, чтобы сформировать плату 10 схемы подачи энергии. Керамический лист 101A включает в себя рисунок 102a проводников и проходящие через отверстия проводники 103a и 103b, сформированные в нем. Лист 101B включает в себя конденсаторные электроды 104a и 104b, сформированные в нем. Лист 101C включает в себя конденсаторные электроды 105a и 105b и проходящие через отверстия проводники 103c и 103d, сформированные в нем. Лист 101D включает в себя конденсаторные электроды 106a и 106b, проходящие через отверстия проводники 103c и 103d и проходящие через отверстия проводники 103e и 103f, сформированные в нем. Лист 101E включает в себя рисунки 102b и 102c проводников, сформированные в нем. Т.е. формируется пространство между электродами 104a, 105a и 106a и электродами 104b, 105b и 106b, которые задают емкостные элементы так, что магнитные потоки, истекающие из индуктивного элемента L1, достигают индуктивных элементов L2, L3 и излучающей пластины 20.
Когда листы 101A-101E склеены, рисунок 102a проводников формирует индуктивный элемент L1. Рисунок 102b проводников формирует индуктивный элемент L2. Рисунок 102c проводников формирует индуктивный элемент L3. Конденсаторные электроды 104a и 105a формируют емкостный элемент C1a. Конденсаторные электроды 104b и 105b формируют емкостный элемент C1b. Конденсаторные электроды 105a и 106a формируют емкостный элемент C2a. Конденсаторные электроды 105b и 106b формируют емкостный элемент C2b.
Один конец индуктивного элемента L1 соединяется с конденсаторным электродом 104a посредством проходящего через отверстие проводника 103a. Другой конец индуктивного элемента L1 соединяется с конденсаторным электродом 104b посредством проходящего через отверстие проводника 103b. Один конец индуктивного элемента L2 соединяется с конденсаторным электродом 105a посредством проходящего через отверстие проводника 103c. Другой конец индуктивного элемента L2 соединяется с конденсаторным электродом 106b посредством проходящего через отверстие проводника 103f. Один конец индуктивного элемента L3 соединяется с конденсаторным электродом 106a посредством проходящего через отверстие проводника 103e. Другой конец индуктивного элемента L3 соединяется с конденсаторным электродом 105b посредством проходящего через отверстие проводника 103d.
Более того, рисунок 99 электродов в форме катушки, как показано на фиг.34, размещен на поверхности беспроводной ИС-микросхемы 5 в качестве рисунка электродов на стороне микросхемы, и рисунок 99 электродов в форме катушки задает индуктивный элемент L5. Защитная пленка, например полимерная пленка, предусмотрена на поверхности рисунка 99 электродов в форме катушки. Таким образом, индуктивный элемент L1, заданный посредством рисунка электродов в форме катушки, выступающего в качестве рисунка электродов на стороне платы, магнитно связан с рисунком 99 электродов в форме катушки.
Работа и преимущества девятнадцатого варианта осуществления, по сути, аналогичны семнадцатому варианту осуществления. Т.е. беспроводное ИС-устройство 1s принимает высокочастотный сигнал (к примеру, сигнал в UHF-полосе), излучаемый из устройства считывания/записи (не показано), в излучающей пластине 20. За счет резонирования схемы 16 подачи энергии (LC-последовательной резонансной схемы, состоящей из индуктивного элемента L2 и емкостных элементов C1a и C1b, и LC-последовательной резонансной схемы, состоящей из индуктивного элемента L3 и емкостных элементов C2a и C2b), которая магнитно связана с излучающей пластиной 20, беспроводное ИС-устройство 1s предоставляет в беспроводную ИС-микросхему 5 только принимаемый сигнал в предварительно определенной полосе частот. При этом беспроводное ИС-устройство 1s извлекает предварительно определенную энергию из принимаемого сигнала, и посредством использования этой энергии в качестве источника возбуждения беспроводное ИС-устройство 1s совмещает информацию, сохраненную в беспроводной ИС-микросхеме 5, с предварительно определенной частотой в схеме 16 подачи энергии. Затем беспроводное ИС-устройство 1s распространяет передаваемый сигнал от индуктивных элементов L1, L2 и L3 схемы 16 подачи энергии в излучающую пластину 20 посредством магнитной связи. Излучающая пластина 20 передает передаваемый сигнал в устройство считывания/записи. Схема 16 подачи энергии магнитно связана с беспроводной ИС-микросхемой 5 посредством индуктивных элементов L1 и L5, и таким образом электроэнергия и передаваемые/принимаемые сигналы передаются.
В частности, согласно девятнадцатому варианту осуществления схема 16 подачи энергии включает в себя множество LC-резонансных схем, имеющих индуктивные элементы L2 и L3, которые магнитно связаны друг с другом. Следовательно, аналогично семнадцатому варианту осуществления, полоса частот увеличивается.
Двадцатый вариант осуществления (см. фиг.37-42)
Согласно двадцатому варианту осуществления беспроводное ИС-устройство 1t включает в себя плату 110 схемы подачи энергии однослойного типа. Эквивалентная схема беспроводного ИС-устройства 1t аналогична показанной на фиг.3. Т.е. схема 16 подачи энергии включает в себя LC-последовательную резонансную схему, в которой емкостные элементы C1 и C2 соединены с одним из концов индуктивного элемента L. Плата 110 схемы подачи энергии – это керамическая плата, изготовленная из диэлектрического материала. Как показано на фиг.37, конденсаторные электроды 111a и 111b сформированы на первой поверхности платы 110 схемы подачи энергии. Конденсаторные электроды 112a и 112b и рисунок 113 проводников сформированы на второй поверхности платы 110 схемы подачи энергии. Конденсаторные электроды 111a и 112a формируют емкостный элемент C1. Конденсаторные электроды 111b и 112b формируют емкостный элемент C2.
Работа и преимущества двадцатого варианта осуществления, по сути, аналогичны семнадцатому варианту осуществления. Т.е. беспроводное ИС-устройство 1t принимает высокочастотный сигнал (к примеру, сигнал в UHF-полосе), излучаемый из устройства считывания/записи (не показано), в излучающей пластине 20. За счет резонирования схемы 16 подачи энергии (LC-последовательной резонансной схемы, состоящей из индуктивного элемента L и емкостных элементов C1 и C2), которая магнитно связана с излучающей пластиной 20, беспроводное ИС-устройство 1t предоставляет в беспроводную ИС-микросхему 5 только принимаемый сигнал в предварительно определенной полосе частот. При этом беспроводное ИС-устройство 1t извлекает предварительно определенную энергию из принимаемого сигнала, и посредством использования этой энергии в качестве источника возбуждения беспроводное ИС-устройство 1t совмещает информацию, сохраненную в беспроводной ИС-микросхеме 5, с предварительно определенной частотой в схеме 16 подачи энергии. Затем беспроводное ИС-устройство 1t распространяет передаваемый сигнал от индуктивного элемента L схемы 16 подачи энергии в излучающую пластину 20 посредством магнитной связи. Излучающая пластина 20 передает передаваемый сигнал в устройство считывания/записи.
В частности, согласно двадцатому варианту осуществления, как показано на фиг.38 и 39, индуктивный элемент L перекрывает беспроводную ИС-микросхему 5 только частично при виде сверху. Соответственно, большинство магнитных потоков, формируемых посредством индуктивного элемента L, не блокируются посредством беспроводной ИС-микросхемы 5. Таким образом, магнитные потоки существенно возрастают.
Помимо этого, согласно двадцатому варианту осуществления, как показано на фиг.40, плата 110 схемы подачи энергии, имеющей беспроводную ИС-микросхему 5, установленную на ней, может быть помещена между излучающими пластинами 20. Таким образом, эффективность магнитной связи между схемой 16 подачи энергии и излучающими пластинами 20 повышается, и усиление также возрастает.
В качестве примеров размещения двух излучающих пластин 20 на верхней поверхности и на нижней поверхности платы 110 схемы подачи энергии, соответственно, излучающие пластины 20 могут быть размещены в линию в направлении оси x, как показано на фиг.41, и альтернативно, могут быть размещены в направлении оси x и в направлении оси y, соответственно, как показано на фиг.42.
Двадцать первый вариант осуществления (см. фиг.43)
Согласно двадцать первому варианту осуществления, беспроводное ИС-устройство 1u включает в себя индуктивный элемент L, сформированный из меандрического рисунка электродов. Эквивалентная схема беспроводного ИС-устройства 1u аналогична показанной на фиг.3. Т.е. схема 16 подачи энергии включает в себя LC-последовательную резонансную схему, в которой емкостные элементы C1 и C2 соединены с одним из концов индуктивного элемента L. Плата 110 схемы подачи энергии – это керамическая однослойная плата, изготовленная из диэлектрического материала. Как показано на фиг.43, конденсаторные электроды 121a и 121b сформированы на первой поверхности платы 110 схемы подачи энергии. Конденсаторные электроды 122a и 122b и меандрический рисунок 123 проводников сформированы на второй поверхности платы 110 схемы подачи энергии. Конденсаторные электроды 121a и 122a формируют емкостный элемент C1. Конденсаторные электроды 121b и 122b формируют емкостный элемент C2.
Работа и преимущества двадцать первого варианта осуществления, по сути, аналогичны первому варианту осуществления. Т.е. беспроводное ИС-устройство 1u принимает высокочастотный сигнал (к примеру, сигнал в UHF-полосе), излучаемый из устройства считывания/записи (не показано), в излучающей пластине 20. За счет резонирования схемы 16 подачи энергии (LC-последовательной резонансной схемы, состоящей из индуктивного элемента L и емкостных элементов C1 и C2), которая магнитно связана с излучающей пластиной 20, беспроводное ИС-устройство 1u предоставляет в беспроводную ИС-микросхему 5 только принимаемый сигнал в предварительно определенной полосе частот. При этом беспроводное ИС-устройство 1u извлекает предварительно определенную энергию из принимаемого сигнала, и посредством использования этой энергии в качестве источника возбуждения беспроводное ИС-устройство 1u совмещает информацию, сохраненную в беспроводной ИС-микросхеме 5, с предварительно определенной частотой в схеме 16 подачи энергии. Затем беспроводное ИС-устройство 1u распространяет передаваемый сигнал от индуктивного элемента L схемы 16 подачи энергии в излучающую пластину 20 посредством магнитной связи. Излучающая пластина 20 передает передаваемый сигнал в устройство считывания/записи.
В частности, согласно двадцать первому варианту осуществления, как показано на фиг.38 и 39, поскольку индуктивный элемент L состоит из меандрического рисунка 123 проводников, беспроводное ИС-устройство 1u может эффективно передавать и принимать высокочастотный сигнал.
В двадцатом и двадцать первом вариантах осуществления плата 110 схемы подачи энергии может быть многослойной платой.
Двадцать второй вариант осуществления (см. фиг.44 и 45)
Согласно двадцать второму варианту осуществления, как показано посредством эквивалентной схемы на фиг.44, беспроводное ИС-устройство 1v включает в себя схему 16 подачи энергии, включающую в себя индуктивные элементы L1 и L2, которые магнитно связаны друг с другом (указано посредством символа ссылки M). Один конец индуктивного элемента L1 соединен с беспроводной ИС-микросхемой 5 посредством емкостного элемента C1 и соединительного электрода 131a и дополнительно соединен с одним концом индуктивного элемента L2 посредством емкостного элемента C2. Другой конец индуктивного элемента L1 и другой конец индуктивного элемента L2 соединены с беспроводной ИС-микросхемой 5 посредством соединительного электрода 131b. Т.е. схема 16 подачи энергии включает в себя LC-последовательную резонансную схему, состоящую из индуктивного элемента L1 и емкостного элемента C1, LC-последовательную резонансную схему, состоящую из индуктивного элемента L2 и емкостного элемента C2. Индуктивные элементы L1 и L2 магнитно связаны с излучающей пластиной 20.
Плата 10 схемы подачи энергии сконфигурирована так, как показано на фиг.45. Соединительный электрод 131a соединен с конденсаторным электродом 133 посредством проходящего через отверстие проводника 132a. Конденсаторный электрод 133 размещается напротив конденсаторного электрода 134 так, чтобы сформировать емкостный элемент C1. Помимо этого, конденсаторный электрод 134 размещается напротив конденсаторного электрода 135 так, чтобы сформировать емкостный элемент C2. Соединительный электрод 131b соединяется с раздвоенными рисунками 136a и 137a проводников посредством проходящего через отверстие проводника 132b. Рисунок 136a проводников соединяется с рисунком 136b проводников посредством проходящего через отверстие проводника 132c. Рисунок 136b проводников соединяется с рисунком 136c проводников посредством проходящего через отверстие проводника 132d. Рисунок 136c проводников соединяется с рисунком 136d проводников посредством проходящего через отверстие проводника 132e. Наконец, рисунок 136d проводников соединяется с конденсаторным электродом 134 посредством проходящего через отверстие проводника 132f.
В отличие от этого, рисунок 137a проводников соединяется с рисунком 137b проводников посредством проходящего через отверстие проводника 132g. Рисунок 137b проводников соединяется с рисунком 137c проводников посредством проходящего через отверстие проводника 132h. Рисунок 137c проводников соединяется с конденсаторным электродом 135 посредством проходящего через отверстие проводника 132i. Рисунки 136a, 136b и 136c проводников формируют индуктивный элемент L1. Рисунки 137a, 137b и 137c проводников формируют индуктивный элемент L2. Отметим, что на фиг.45 керамические листы, изготовленные из диэлектрического материала, не показаны.
Работа и преимущества двадцать второго варианта осуществления такие же, как и в первом варианте осуществления. Т.е. беспроводное ИС-устройство 1v принимает высокочастотный сигнал (к примеру, сигнал в UHF-полосе), излучаемый из устройства считывания/записи (не показано), в излучающей пластине 20. За счет резонирования схемы 16 подачи энергии (LC-последовательной резонансной схемы, состоящей из индуктивного элемента L1 и емкостного элемента C1, и LC-последовательной резонансной схемы, состоящей из индуктивного элемента L2 и емкостного элемента C2), которая магнитно связана с излучающей пластиной 20, беспроводное ИС-устройство 1v предоставляет в беспроводную ИС-микросхему 5 только принимаемый сигнал в предварительно определенной полосе частот. При этом беспроводное ИС-устройство 1v извлекает предварительно определенную энергию из принимаемого сигнала, и посредством использования этой энергии в качестве источника возбуждения беспроводное ИС-устройство 1v совмещает информацию, сохраненную в беспроводной ИС-микросхеме 5, с предварительно определенной частотой в схеме 16 подачи энергии. Затем беспроводное ИС-устройство 1v распространяет передаваемый сигнал в излучающую пластину 20 от индуктивных элементов L1 и L2 схемы 16 подачи энергии в излучающую пластину 20 посредством магнитной связи. Излучающая пластина 20 передает передаваемый сигнал в устройство считывания/записи.
В частности, согласно двадцать второму варианту осуществления, конденсаторный электрод 133, 134 и 135, рисунки 136a-136c проводников с индуктивными катушками и рисунки 137a-137c проводников с индуктивными катушками размещены так, чтобы быть параллельными излучающей пластине 20. Соответственно, магнитные поля, формируемые посредством рисунков 136a-136c проводников с индуктивными катушками и рисунков 137a-137c проводников с индуктивными катушками, не блокируются посредством конденсаторных электродов 133, 134 и 135. Таким образом, свойства излучения рисунков 136a-136c и 137a-137c проводников с индуктивными катушками улучшаются.
Двадцать третий вариант осуществления (см. фиг.46)
Согласно двадцать третьему варианту осуществления плата 10 схемы подачи энергии, включающей в себя схему 16 подачи энергии, содержащую эквивалентную схему, как показано на фиг.44, используется. Как показано на фиг.46, плата 10 схемы подачи энергии имеет структуру, аналогичную структуре платы 10 схемы подачи энергии, показанной на фиг.45. Тем не менее, в дополнение к структуре, показанной на фиг.45, отражатель (отражающий рисунок) 138 и блок управления волной (рисунок блока управления волной) 139 предусмотрены в секции, в которой магнитные поля формируются посредством рисунков 136a-136c проводников с индуктивными катушками и рисунков 137a-137c проводников с индуктивными катушками. Посредством использования отражателя 138 и блока 139 управления волной характеристика излучения и направленная характеристика из схемы 16 подачи энергии в излучающую пластину 20 может легко контролироваться. Таким образом, внешний электромагнитный эффект может быть минимизирован, тем самым стабилизируя характеристики резонанса. Работа и преимущества двадцать третьего варианта осуществления, по сути, аналогичны двадцать второму варианту осуществления.
Двадцать четвертый вариант осуществления (см. фиг.47 и 48)
Согласно двадцать четвертому варианту осуществления беспроводное ИС-устройство 1w включает в себя схему 150 подачи энергии, сформированную как резонансная схема на элементах с распределенными параметрами в инвертированной конфигурации F-антенны. Фиг.47 иллюстрирует эквивалентную схему беспроводного ИС-устройства 1w. Более конкретно, как показано на фиг.48, плата 140 схемы подачи энергии – это многослойная плата, изготовленная из керамических листов. Плата 140 схемы подачи энергии включает в себя электрод 151 верхней стороны, размещенный на ее первой поверхности 140a, конденсаторный электрод 152 внутри и электрод 153 нижней стороны, размещенный на ее второй поверхности 140b. Электрод 151 верхней стороны электрически соединен с излучающей пластиной 20 посредством магнитной связи и емкостной связи. Электрод 151 верхней стороны дополнительно соединен с контактом верхней стороны беспроводной ИС-микросхемы 5 посредством вывода 154 подачи энергии. Электрод 153 нижней стороны соединен с контактом нижней стороны беспроводной ИС-микросхемы 5. Электрод 153 нижней стороны дополнительно соединен с электродом 151 верхней стороны посредством вывода 155 короткого замыкания. Конденсаторный электрод 152 размещается напротив электрода 151 верхней стороны так, чтобы сформировать электрическую емкость. Конденсаторный электрод 152 соединен с электродом низкого 153 напряжения посредством вывода 156 короткого замыкания.
Беспроводное ИС-устройство 1w принимает высокочастотный сигнал, излучаемый из устройства считывания/записи (не показано), в излучающей пластине 20. За счет резонирования схемы 150 подачи энергии, которая емкостным способом и магнитно связана с излучающей пластиной 20, беспроводное ИС-устройство 1w предоставляет в беспроводную ИС-микросхему 5 только принимаемый сигнал в предварительно определенной полосе частот. При этом беспроводное ИС-устройство 1w извлекает предварительно определенную энергию из принимаемого сигнала, и посредством использования этой энергии в качестве источника возбуждения беспроводное ИС-устройство 1w совмещает информацию, сохраненную в беспроводной ИС-микросхеме 5, с предварительно определенной частотой в схеме 150 подачи энергии. Затем излучающая пластина 20 передает информацию в устройство считывания/записи.
Двадцать пятый вариант осуществления (см. фиг.49 и 50)
Согласно двадцать пятому варианту осуществления беспроводное ИС-устройство 1x включает в себя схему 160 подачи энергии, сформированную как резонансная схема на элементах с распределенными параметрами в инвертированной конфигурации F-антенны. Фиг.49 иллюстрирует эквивалентную схему беспроводного ИС-устройства 1x. Более конкретно, как показано на фиг.50, плата 140 схемы подачи энергии – это многослойная плата, изготовленная из керамических листов. Плата 140 схемы подачи энергии включает в себя электрод 161 верхней стороны, размещенный на ее первой поверхности 140a, и электрод 162 нижней стороны, размещенный на ее второй поверхности 140b. Электрод 161 верхней стороны электрически соединен с излучающей пластиной 20 посредством магнитной связи и емкостной связи. Электрод 161 верхней стороны дополнительно соединен с контактом верхней стороны беспроводной ИС-микросхемы 5 посредством вывода 163 передачи энергии. Электрод 162 нижней стороны соединен с контактом нижней стороны беспроводной ИС-микросхемы 5. Электрод 162 нижней стороны дополнительно соединен с электродом 161 верхней стороны посредством вывода 164 короткого замыкания.
Беспроводное ИС-устройство 1x принимает высокочастотный сигнал, излучаемый из устройства считывания/записи (не показано), в излучающей пластине 20. За счет резонирования схемы 160 подачи энергии, которая емкостным способом и магнитно связана с излучающей пластиной 20, беспроводное ИС-устройство 1x предоставляет в беспроводную ИС-микросхему 5 только принимаемый сигнал в предварительно определенной полосе частот. При этом беспроводное ИС-устройство 1x извлекает предварительно определенную энергию из принимаемого сигнала, и посредством использования этой энергии в качестве источника возбуждения беспроводное ИС-устройство 1x совмещает информацию, сохраненную в беспроводной ИС-микросхеме 5, с предварительно определенной частотой в схеме 160 подачи энергии. Затем излучающая пластина 20 передает информацию в устройство считывания/записи.
Двадцать шестой вариант осуществления (см. фиг.51 и 52)
Согласно двадцать шестому варианту осуществления беспроводное ИС-устройство 1y включает в себя схему 170 подачи энергии, сформированную как резонансная схема на элементах с распределенными параметрами в инвертированной конфигурации L-антенны. Фиг.51 иллюстрирует эквивалентную схему беспроводного ИС-устройства 1y. Более конкретно, как показано на фиг.52, плата 140 схемы подачи энергии – это многослойная плата, изготовленная из керамических листов. Плата 140 схемы подачи энергии включает в себя электрод 171 верхней стороны, размещенный на ее первой поверхности 140a, и электрод 172 нижней стороны, размещенный на ее второй поверхности 140b. Электрод 171 верхней стороны электрически соединен с излучающей пластиной 20 посредством магнитной связи и емкостной связи. Электрод 171 верхней стороны дополнительно соединен с контактом верхней стороны беспроводной ИС-микросхемы 5 посредством вывода 173 передачи энергии. Электрод 172 нижней стороны соединен с контактом нижней стороны беспроводной ИС-микросхемы 5.
Беспроводное ИС-устройство 1y принимает высокочастотный сигнал, излучаемый из устройства считывания/записи (не показано), в излучающей пластине 20. За счет резонирования схемы 170 подачи энергии, которая емкостным способом и магнитно связана с излучающей пластиной 20, беспроводное ИС-устройство 1y предоставляет в беспроводную ИС-микросхему 5 только принимаемый сигнал в предварительно определенной полосе частот. При этом беспроводное ИС-устройство 1y извлекает предварительно определенную энергию из принимаемого сигнала, и посредством использования этой энергии в качестве источника возбуждения беспроводное ИС-устройство 1y совмещает информацию, сохраненную в беспроводной ИС-микросхеме 5, с предварительно определенной частотой в схеме 170 подачи энергии. Затем излучающая пластина 20 передает информацию в устройство считывания/записи.
Двадцать седьмой вариант осуществления (см. фиг.53 и 54)
Согласно двадцать седьмому варианту осуществления беспроводное ИС-устройство 1z включает в себя схему 180 подачи энергии, сформированную как резонансная схема на элементах с распределенными параметрами в инвертированной конфигурации L-антенны. Фиг.53 иллюстрирует эквивалентную схему беспроводного ИС-устройства 1z. Более конкретно, как показано на фиг.54, плата 140 схемы подачи энергии – это многослойная плата, изготовленная из керамических листов. Плата 140 схемы подачи энергии включает в себя электрод 181 верхней стороны, размещенный на ее первой поверхности 140a, конденсаторный электрод 182 внутри и электрод 183 нижней стороны, размещенный на ее второй поверхности 140b. Электрод 181 верхней стороны электрически соединен с излучающей пластиной 20 посредством магнитной связи и емкостной связи. Конденсаторный электрод 182 размещается напротив электрода 181 верхней стороны так, чтобы сформировать электрическую емкость. Конденсаторный электрод 182 соединен с контактом верхней стороны беспроводной ИС-микросхемы 5 посредством вывода 184 подачи энергии. Электрод 183 нижней стороны соединен с контактом нижней стороны беспроводной ИС-микросхемы 5. Электрод 183 нижней стороны дополнительно соединен с электродом 181 верхней стороны посредством вывода 185 короткого замыкания.
Беспроводное ИС-устройство 1z принимает высокочастотный сигнал, излучаемый из устройства считывания/записи (не показано), в излучающей пластине 20. За счет резонирования схемы 170 подачи энергии, которая емкостным способом и магнитно связана с излучающей пластиной 20, беспроводное ИС-устройство 1z предоставляет в беспроводную ИС-микросхему 5 только принимаемый сигнал в предварительно определенной полосе частот. При этом беспроводное ИС-устройство 1z извлекает предварительно определенную энергию из принимаемого сигнала, и посредством использования этой энергии в качестве источника возбуждения беспроводное ИС-устройство 1z совмещает информацию, сохраненную в беспроводной ИС-микросхеме 5, с предварительно определенной частотой в схеме 180 подачи энергии. Затем излучающая пластина 20 передает информацию в устройство считывания/записи.
Двадцать восьмой вариант осуществления (см. фиг.55)
Согласно двадцать восьмому варианту осуществления, как показано на фиг.55, беспроводное ИС-устройство 2a сконфигурировано так, чтобы беспроводная ИС-микросхема 5 и плата 10 схемы подачи энергии были установлены на жесткой монтажной плате 8 так, чтобы быть параллельными друг другу, и плата 10 схемы подачи энергии крепилась к излучающей пластине 20 посредством связующего агента 18. Например, плата 10 схемы подачи энергии включает в себя схему 16 подачи энергии, показанную на фиг.2. Плата 10 схемы подачи энергии электрически соединена с беспроводной ИС-микросхемой 5 посредством множества проводников 9, предусмотренных на монтажной плате 8.
В беспроводном ИС-устройстве 2a схема 16 подачи энергии преимущественно магнитно связана с излучающей пластиной 20. Таким образом, работа и преимущества двадцать восьмого варианта осуществления аналогичны первому варианту осуществления. Таким образом, беспроводное ИС-устройство 2a обменивается данными с устройством считывания/записи. Плата 10 схемы подачи энергии может быть не только платой схемы подачи энергии, используемой в первом варианте осуществления, но также любой из плат схемы подачи энергии, используемых в вышеописанных вариантах осуществления. Этот момент также может быть применен к нижеследующему двадцать девятому варианту осуществления.
Двадцать девятый вариант осуществления (см. фиг.56)
Согласно двадцать девятому варианту осуществления, как показано на фиг.56, беспроводное ИС-устройство 2b сконфигурировано так, что одна или более излучающих пластин 20 крепится к монтажной плате 8 согласно двадцать восьмому варианту осуществления, и пара излучающих пластин 20 помещается между беспроводной ИС-микросхемой 5, платой 10 схемы подачи энергии и монтажной платой 8. Работа беспроводного ИС-устройства 2b аналогична двадцать восьмому варианту осуществления. В частности, эффективность магнитной связи между схемой 16 подачи энергии и парой излучающих пластин 20 повышается.
Тридцатый вариант осуществления (см. фиг.57)
Согласно тридцатому варианту осуществления, как показано на фиг.57, беспроводное ИС-устройство 2c сконфигурировано так, что излучающая пластина 22, сформированная в двойном замкнутом контуре, размещается поперечным симметричным способом на поверхности полимерной пленки 21. Плата 10 схемы подачи энергии, имеющая беспроводную ИС-микросхему 5, установленную на ней, размещается в центральной части внутреннего контура излучающей пластины 22.
Согласно настоящему варианту осуществления плата 10 схемы подачи энергии размещается рядом с излучающей пластиной 22 без прикрепления к излучающей пластине 22. Поскольку излучающая пластина 22 имеет форму контура, линейно измеренная длина излучающей пластины 22 является небольшой. Как и в вышеописанных вариантах осуществления, в этой конфигурации электромагнитная индуктивная связь достигается между платой 10 схемы подачи энергии и излучающей пластиной 22. Таким образом сигнал передается между платой 10 схемы подачи сигнала и излучающей пластиной 22. Таким образом беспроводное ИС-устройство 2c может обмениваться данными с устройством считывания/записи. Помимо этого, плата 10 схемы подачи энергии может быть размещена вокруг центральной части излучающей пластины 22. Следовательно, точное позиционирование платы 10 схемы подачи энергии необязательно.
Тридцать первый вариант осуществления (см. фиг.58)
Согласно тридцать первому варианту осуществления, как показано на фиг.58, беспроводное ИС-устройство 2d сконфигурировано так, что излучающая пластина 23, имеющая комбинацию меандрической формы, формы контура и спиральной формы, размещается поперечным симметричным способом на поверхности полимерной пленки 21. Плата 10 схемы подачи энергии, имеющая беспроводную ИС-микросхему 5, установленную на ней, размещается в центральной части внутреннего контура излучающей пластины 23.
Согласно тридцать первому варианту осуществления, как и в тридцатом варианте осуществления, плата 10 схемы подачи энергии размещается рядом с излучающей пластиной 23 без прикрепления к излучающей пластине 23. Поскольку излучающая пластина 23 имеет комбинацию меандрической формы, формы контура и спиральной формы, линейно измеренная длина излучающей пластины 23 является небольшой. Как и в вышеописанных вариантах осуществления, в этой конфигурации электромагнитная индуктивная связь достигается между платой 10 схемы подачи энергии и излучающей пластиной 23. Таким образом, сигнал передается между платой 10 схемы подачи сигнала и излучающей пластиной 23. Таким образом, беспроводное ИС-устройство 2d может обмениваться данными с устройством считывания/записи. Помимо этого, как и в тридцатом варианте осуществления, точное позиционирование платы 10 схемы подачи энергии необязательно.
Другие варианты осуществления
Хотя беспроводное устройство согласно настоящему изобретению показано и описано со ссылкой на вышеозначенные варианты осуществления, множество изменений может быть сделано без отступления от духа и области применения изобретения, заданной прилагаемой формулой изобретения.
Например, подробная внутренняя структура платы схемы подачи энергии и подробные формы излучающей пластины и пленки могут быть свободно определены. Помимо этого, для того чтобы соединить беспроводное ИС-устройство с платой схемы подачи энергии, может быть использован способ, отличный от способа, в котором используется припойный контактный столбик. Более того, плата схемы подачи энергии необязательно является жесткой, но плата схемы подачи энергии может быть гибкой платой, изготовленной из органического полимерного материала (к примеру, полиамида или жидкокристаллического полимера).
Промышленная применимость
Как указано выше, настоящее изобретение может быть эффективно применено к беспроводному ИС-устройству. В частности, настоящее изобретение имеет преимущество в том, что могут быть получены беспроводные ИС-устройства, имеющие стабильные частотные характеристики.
Формула изобретения
1. Беспроводное устройство на интегральной схеме (ИС-устройство), содержащее беспроводную интегральную микросхему (ИС-микросхему); плату схемы подачи энергии, соединенную с беспроводной ИС-микросхемой, при этом плата схемы подачи энергии содержит схему подачи энергии, включающую в себя резонансную схему, имеющую предварительно определенную резонансную частоту; и излучающую пластину, имеющую плату схемы подачи энергии, закрепленную на ней, или плату схемы подачи энергии, размещенную рядом с ней, при этом излучающая пластина излучает передаваемый сигнал, предоставляемый от схемы подачи энергии, и/или принимает и передает принимаемый сигнал в схему подачи энергии.
2. Беспроводное ИС-устройство по п.1, в котором беспроводная ИС-микросхема и плата схемы подачи энергии размещаются параллельно друг другу на монтажной плате и соединены друг с другом посредством проводника, размещенного на монтажной плате.
3. Беспроводное ИС-устройство по п.1, в котором беспроводная ИС-микросхема, установлена на плате схемы подачи энергии.
4. Беспроводное ИС-устройство по п.1, в котором излучающая пластина включает в себя пластины, размещенные, соответственно, на первой поверхности и на второй поверхности платы схемы подачи энергии.
5. Беспроводное ИС-устройство по п.1, в котором резонансная схема представляет собой резонансную схему на элементах с распределенными параметрами.
6. Беспроводное ИС-устройство по п.1, в котором резонансная схема представляет собой резонансную схему на элементах с сосредоточенными параметрами, включающую в себя рисунок конденсаторов и рисунок индукционных катушек.
7. Беспроводное ИС-устройство по п.6, в котором резонансная схема на элементах с сосредоточенными параметрами представляет собой LC-последовательную резонансную схему или LC-параллельную резонансную схему.
8. Беспроводное ИС-устройство по п.7, в котором резонансная схема на элементах с сосредоточенными параметрами включает в себя множество LC-последовательных резонансных схем или множество LC-параллельных резонансных схем.
9. Беспроводное ИС-устройство по п.6, в котором рисунок конденсаторов размещается на выходе беспроводной ИС-микросхемы и между беспроводной ИС-микросхемой и рисунком индуктивных катушек.
10. Беспроводное ИС-устройство по п.6, в котором рисунок конденсаторов и рисунок индукционных катушек размещаются параллельно излучающей пластине.
11. Беспроводное ИС-устройство по п.10, в котором, по меньшей мере, одно из отражателя и/или блока управления волной может быть размещено в части, где магнитное поле формируется посредством рисунка индукционных катушек.
12. Беспроводное ИС-устройство по п.6, в котором плата схемы подачи энергии является многослойной платой, в которой множество диэлектрических слоев или множество магнитных слоев размещено послойно; и в котором рисунок конденсаторов и рисунок индукционных катушек сформированы на поверхности и/или внутри многослойной платы.
13. Беспроводное ИС-устройство по п.6, в котором плата схемы подачи энергии является диэлектрической однослойной платой или магнитной однослойной платой и в котором, по меньшей мере, одно из рисунка конденсаторов и рисунка индуктивных катушек сформировано на поверхности однослойной платы.
14. Беспроводное ИС-устройство по п.1, в котором плата схемы подачи энергии является жесткой платой и в котором излучающая пластина сформирована на гибкой металлической пленке.
15. Беспроводное ИС-устройство по п.14, в котором гибкая металлическая пленка удерживается в гибкой полимерной пленке.
16. Беспроводное ИС-устройство по п.1, в котором электрическая длина излучающей пластины представляет собой целочисленное кратное половины длины волны резонансной частоты.
17. Беспроводное ИС-устройство по п.3, в котором беспроводная ИС-микросхема оснащена рисунком электродов на стороне микросхемы, в котором плата схемы подачи энергии оснащена первым рисунком электродов на стороне платы и в котором беспроводная ИС-микросхема соединена с платой схемы подачи энергии посредством соединения по постоянному току между рисунком электродов на стороне микросхемы и первым рисунком электродов на стороне платы.
18. Беспроводное ИС-устройство по п.3, в котором беспроводная ИС-микросхема оснащена рисунком электродов на стороне микросхемы, в котором плата схемы подачи энергии оснащена первым рисунком электродов на стороне платы и в котором беспроводная ИС-микросхема соединена с платой схемы подачи энергии посредством емкостной связи между рисунком электродов на стороне микросхемы и первым рисунком электродов на стороне платы.
19. Беспроводное ИС-устройство по п.18, в котором рисунок электродов на стороне микросхемы и первый рисунок электродов на стороне платы являются параллельными плоскими рисунками электродов и в котором беспроводная ИС-микросхема крепится к плате схемы подачи энергии с помощью изоляционного связующего слоя между ними.
20. Беспроводное ИС-устройство по п.3, в котором беспроводная ИС-микросхема оснащена рисунком электродов на стороне микросхемы; в котором плата схемы подачи энергии оснащена первым рисунком электродов на стороне платы; и в котором беспроводная ИС-микросхема соединена с платой схемы подачи энергии посредством магнитной связи между рисунком электродов на стороне микросхемы и первым рисунком электродов на стороне платы.
21. Беспроводное ИС-устройство по п.20, в котором каждый из рисунка электродов на стороне микросхемы и первого рисунка электродов на стороне платы представляет собой рисунок электродов в форме катушки; и в котором беспроводная ИС-микросхема крепится к плате схемы подачи энергии с помощью изоляционного связующего слоя между ними.
22. Беспроводное ИС-устройство по п.3, в котором плата схемы подачи энергии оснащена вторым рисунком электродов на стороне платы и в котором плата схемы подачи энергии соединена с излучающей пластиной посредством соединения по постоянному току между вторым рисунком электродов на стороне платы и излучающей пластиной.
23. Беспроводное ИС-устройство по п.3, в котором плата схемы подачи энергии оснащена вторым рисунком электродов на стороне платы и в котором плата схемы подачи энергии соединена с излучающей пластиной посредством емкостной связи между вторым рисунком электродов на стороне платы и излучающей пластиной.
24. Беспроводное ИС-устройство по п.23, в котором второй рисунок электродов на стороне платы представляет собой плоский рисунок электродов, размещенный параллельно излучающей пластине, и в котором плата схемы подачи энергии крепится к излучающей пластине с помощью изоляционного связующего слоя между ними.
25. Беспроводное ИС-устройство по п.3, в котором плата схемы подачи энергии оснащена вторым рисунком электродов на стороне платы и в котором плата схемы подачи энергии соединена с излучающей пластиной посредством магнитной связи между вторым рисунком электродов на стороне платы и излучающей пластиной.
26. Беспроводное ИС-устройство по п.25, в котором второй рисунок электродов на стороне платы представляет собой рисунок электродов в форме катушки и в котором плата схемы подачи энергии крепится к излучающей пластине с помощью изоляционного связующего слоя между ними.
27. Беспроводное ИС-устройство по п.26, в котором ось обмотки рисунка электродов в форме катушки размещается параллельно излучающей пластине.
28. Беспроводное ИС-устройство по п.26, в котором ось обмотки рисунка электродов в форме катушки размещается перпендикулярно излучающей пластине.
29. Беспроводное ИС-устройство по п.28, в котором ширина обмотки рисунка электродов в форме катушки постепенно увеличивается в направлении излучающей пластины.
30. Компонент для беспроводного устройства на интегральной схеме (ИС-устройства), причем упомянутый компонент содержит беспроводную интегральную микросхему (ИС-микросхему) и плату схемы подачи энергии, соединенную с беспроводной ИС-микросхемой, при этом плата схемы подачи энергии содержит схему подачи энергии, включающую в себя резонансную схему, имеющую предварительно определенную резонансную частоту.
31. Компонент по п.30, в котором беспроводная ИС-микросхема размещается параллельно плате схемы подачи энергии на монтажной плате и в котором беспроводная ИС-микросхема соединяется с платой схемы подачи энергии посредством проводника, размещенного на монтажной плате.
32. Компонент для беспроводного устройства на интегральной схеме (ИС-устройства), причем упомянутый компонент содержит беспроводную интегральную микросхему (ИС-микросхему) и плату схемы подачи энергии, имеющую беспроводную ИС-микросхему, установленную на ней, при этом плата схемы подачи энергии содержит схему подачи энергии, включающую в себя резонансную схему, имеющую предварительно определенную резонансную частоту.
РИСУНКИ
|
|