|
|
(21), (22) Заявка: 2008121140/28, 26.05.2008
(24) Дата начала отсчета срока действия патента:
26.05.2008
(46) Опубликовано: 10.01.2010
(56) Список документов, цитированных в отчете о поиске:
RU 2206140 C1, 10.06.2003. GRAY L.G. et al. Heavy-ion source using a laser-generated plasma transported through an axial magnetic field. Appl. Phys., 1982, v.53, p.6628. SU 1045778 A1, 20.11.1999. US 4847841 A, 11.07.1989.
Адрес для переписки:
117218, Москва, ул.Б. Черемушкинская, 25, ФГУП ГНЦ РФ ИТЭФ, патентный отдел, Ю.П. Быкову
|
(72) Автор(ы):
Кондратьев Борис Константинович (RU), Турчин Антон Владимирович (RU), Турчин Владимир Иванович (RU)
(73) Патентообладатель(и):
Российская Федерация, от имени которой выступает государственный заказчик – Государственная корпорация по атомной энергии “РОСАТОМ” (RU), Федеральное государственное унитарное предприятие “Государственный научный центр Российской Федерации Институт теоретической и экспериментальной физики” (RU)
|
(54) ЛАЗЕРНЫЙ ИСТОЧНИК ИОНОВ С МУЛЬТИПОЛЬНЫМ МАГНИТНЫМ ПОЛЕМ
(57) Реферат:
Изобретение относится к источникам ионов, предназначенных для ускорителей заряженных частиц. Лазерный источник ионов с мультипольным магнитным полем состоит из мишени, лазера, пролетного канала, выполненного в виде металлической трубы, центральная продольная ось которого совпадает с первоначальным направлением гидродинамического движения плазменного потока от мишени, системы отбора ионов, установленной на центральной продольной оси пролетного канала, магнитов, установленных на пролетном канале таким образом, что они формируют внутри него по всей длине между мишенью и системой отбора ионов мультипольное магнитное поле, силовые линии которого перпендикулярны к продольной оси пролетного канала, а напряженность этого поля, приближаясь к нулю на его центральной продольной оси, возрастает в области стенок пролетного канала. На пролетном канале дополнительно установлены электромагнитные катушки таким образом, что они создают в пролетном канале, между мишенью и системой отбора ионов продольное, аксиально-симметричное магнитное поле. В результате суперпозиции магнитных полей, создаваемых магнитами, установленными на пролетном канале и размещенными на нем же магнитными катушками в пролетном канале, формируется мультипольное магнитное поле сложной конфигурации, обладающее возможностью эффективного удерживания заряженных частиц лазерной плазмы. 2 ил.
Изобретение относится к источникам ионов, предназначенных для ускорителей заряженных частиц.
Аналогами изобретения являются лазерные источники ионов [1], [2].
Наиболее близким аналогом, который выбран за прототип, является лазерный источник ионов с уменьшенным разбросом скоростей и углов разлета ионов в пучке на его выходе, состоящий из мишени, лазера, пролетного канала, выполненного в виде металлической трубы, центральная продольная ось которого совпадает с первоначальным направлением гидродинамического движения плазменного потока от мишени, на поверхности которого установлены магниты таким образом, что они формируют внутри пролетного канала по всей его длине между мишенью и системой отбора ионов мультипольное магнитное поле, силовые линии которого перпендикулярны продольной оси пролетного канала, а напряженность этого поля, приближаясь к нулю на его центральной продольной оси, резко нарастает в области стенок пролетного канала и системы отбора ионов, установленной на центральной продольной оси пролетного канала [3].
Недостатком является слабое удерживание заряженных частиц лазерной плазмы в пролетном канале.
Известно, что лазерная плазма, разлетающаяся в пролетном канале из первичного плазменного сгустка, характеризуется большим различием импульсов движения между ее носителями зарядов, она термодинамически неравновесна, и неравномерностью распределения их плотности по объему плазмы. В ней имеется большое количество локальных объемов, плотность заряженных частиц в которых отличается от среднестатистической плотности лазерной плазмы. Причем число таких локальных зон возмущения и их местоположение в лазерной плазме изменяются во времени, говорят, что лазерная плазма статистически неравномерна. Пучки ионов, инжектируемые из такой плазмы, характеризуются большим разбросом величин импульсов и направлений движения ионов, что затрудняет их ускорение в ускорителях заряженных частиц [4]. В результате столкновительных процессов в лазерной плазме упомянутые выше различия исчезают. Лазерная плазма успокаивается, стремясь к установлению равновесного состояния своих параметров. Степень этой равновесности зависит от времени жизни лазерной плазмы в зоне дрейфа, определяемой удерживанием ее заряженных частиц от ухода на стенки пролетного канала.
Для уменьшения потерь заряженных частиц на стенках пролетного канала аналога данного изобретения в нем создано аксиально-симметричное магнитное поле, направленное вдоль пролетного канала [2]. Недостатком является то, что магнитное поле данной конфигурации, удерживая электроны и ионы лазерной плазмы на своих силовых линиях от поперечного разлета, обусловленного наличием у этих частиц тепловых скоростей, слабо препятствует разлету, вызванному взаимными столкновениями заряженных частиц, в лазерной плазме. Недостаток наиболее близкого аналога [3] заключается в том, что радиальная составляющая скорости, обусловленная наличием температуры у частиц лазерной плазмы (диффузионной) скорости движения плазменных электронов эффективно уменьшается мультипольным магнитным полем прототипа вблизи стенок пролетного канала, где это поле сосредоточено [3]. Тяжелые ионы, приходящие на периферию пролетного канала из центральной его области со слабым магнитным полем, которое не может воспрепятствовать их радиальному смещению, обладая высокой диффузионной скоростью, в силу своей инерции преодолевают этот пристеночный участок, адсорбируясь на стенках пролетного канала, и увлекают за собой плазменные электроны. Это уменьшает эффективность удерживания зарядов в лазерной плазме прототипа.
Целью изобретения является повышение эффективности удерживания заряженных частиц лазерной плазмы в пролетном канале лазерного источника ионов с мультипольным магнитным полем.
Достижение поставленной цели обеспечивается созданием в пролетном канале предлагаемого изобретения магнитного поля сложной конфигурации, величина и направление которого изменяются в зависимости от радиуса пролетного канала.
Сущность изобретения заключается в том, что в пролетном канале лазерного источника ионов с мультипольным магнитным полем создается магнитное поле, направление которого совпадает с центральной продольной осью пролетного канала на этой оси, а его величина, отличная от нуля, на центральной оси пролетного канала нарастает по мере приближения к его боковым стенкам. При этом изменяется и направление магнитного поля. Результирующая направленности его вектора отклоняется в сторону боковых стенок пролетного канала по мере приближения к ним. В таком магнитном поле электроны и связанные с ними силами кулоновского взаимодействия (электростатическими силами) ионы плазмы эффективно удерживаются от разлета во всем объеме пролетного канала, в том числе и на его центральной продольной оси как аксиальной составляющей данного магнитного поля, так и меняющейся по величине в поперечном сечении пролетного канала радиальной составляющей этого поля, создающей магнитное давление, направленное в сторону центральной продольной оси пролетного канала. Наличие такого магнитного давления на плазменные заряды позволяет уменьшить эффект радиального разлета электронов лазерной плазмы, возникающий при их столкновениях с другими частицами плазмы. Сочетание данных физических эффектов отсутствует в аналогах. Поскольку электроны и ионы в лазерной плазме связаны между собой электростатическими силами, а ее электронная компонента удерживается в пролетном канале лазерного источника ионов с мультипольным магнитным полем как аксиальной составляющей этого поля, так и его радиальным магнитным давлением. Одновременное действие этих факторов в данном изобретении уменьшает радиальную скорость дрейфа электронов и ионов, повышая эффективность их удерживания в лазерной плазме.
Достижение заявленного технического результата обеспечивается тем, что лазерный источник ионов с мультипольным магнитным полем, состоящий: из мишени, лазера, пролетного канала, выполненного в виде металлической трубы, центральная продольная ось которого совпадает с первоначальным направлением гидродинамического движения плазменного потока от мишени, системы отбора ионов, установленной на центральной продольной оси пролетного канала, магнитов, установленных на пролетном канале таким образом, что они формируют внутри него по всей длине между мишенью и системой отбора ионов мультипольное магнитное поле, силовые линии которого перпендикулярны к продольной оси пролетного канала, а напряженность этого поля, приближаясь к нулю на его центральной продольной оси, возрастает в области стенок пролетного канала, отличающейся тем, что на пролетном канале установлены электромагнитные катушки таким образом, что они создают в пролетном канале, между мишенью и системой отбора ионов, продольное, аксиально-симметричное магнитное поле.
Таким образом, в данном изобретении в результате использования предложенных элементов конструкции и оборудования, установленных и соединенных именно указанным образом, возникает новое физическое свойство. А именно, во всем объеме пролетного канала предложенного изобретения создается такое магнитное поле, которое препятствует уходу заряженных частиц из лазерной плазмы вызванному как наличием у них тепловых скоростей движения, так и наличием взаимных столкновений. Это способствует повышению эффективности удерживания электронов и ионов в лазерной плазме источника ионов с мультипольным магнитным полем.
Уменьшение потерь заряженных частиц лазерной плазмы при ее дрейфе в пролетном канале позволяет повышать длину этого канала, увеличивая время жизни лазерной плазмы в нем. Это благоприятствует установлению более полного термодинамического равновесия и статистической равномерности распределения частиц лазерной плазмы в зоне отбора и формирования ионного пучка и способствует улучшению фазовых характеристик извлекаемого из нее пучка ионов, повышая ток ионов в пучках, ускоряемых в ускорителях заряженных частиц с такими источниками ионов.
Известно техническое решение, в котором для улучшения фазовых характеристик ионного пучка на выходе лазерного источника ионов в его пролетном канале формируется мультипольное магнитное поле, силовые линии которого перпендикулярны продольной оси пролетного канала, а величина этого поля близка к нулю в центральной области пролетного канала и резко нарастает вблизи его стенок [3]. Известны лазерные источники ионов, в которых создается коллинеарное с продольной осью пролетного канала однородное магнитное поле [2]. Лазерных источников ионов, в которых для удерживания заряженных частиц лазерной плазмы применялось бы магнитное поле, величина и направление которого изменяются по радиусу пролетного канала именно предложенным образом, на уровне существующей техники не обнаружено.
Анализ существенных отличительных признаков и проявленных благодаря им свойств, связанных с достижением положительного технического результата, а именно, возникновение нового физического свойства, приведшего к повышению эффективности удерживания заряженных частиц, в лазерной плазме и достижения ею в области формирования ионного пучка, термодинамического равновесия и статистической равномерности, способствующих улучшению фазовых характеристик ионного пучка, инжектируемого лазерным источником ионов с мультипольным магнитным полем, и увеличению тока ионного пучка, ускоряемого в ускорителях ионов, позволяет считать, что заявленное техническое решение соответствует критерию изобретения.
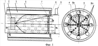
Лазерный источник ионов с мультипольным магнитным полем фиг.1 состоит из пролетного канала 1, мишени 2, магнитов 3, формирующих мультипольное магнитное поле Вm со сложной конфигурацией силовых линий 4, электромагнитных катушек 5 (их может быть несколько, в т.ч. и одна), создающих продольное, аксиально-симметричное магнитное поле Вa 6 в пространстве пролетного канала с установленной в нем системой отбора ионов 7, формирующей пучок ионов из лазерной плазмы 8, образованной испарением и ионизацией материала мишени лучом лазера 9.
Лазерный источник ионов с мультипольным магнитным полем работает следующим образом. В пролетном канале 1 в результате попадания на мишень 2 луча лазера 9 образуется лазерная плазма 8, которая разлетается из первичного лазерного сгустка, его начальный диаметр на мишени ~ 1-2 мм, заполняя пространство пролетного канала между мишенью и системой отбора ионов 7, фиг.1.
Выделим характерные особенности динамики движения лазерной плазмы в пролетном канале лазерных источников ионов. Скорость продольного движения разлетающейся из первичного плазменного сгустка лазерной плазмы определяется как первоначальным импульсом гидродинамического движения самого первичного плазменного сгустка, возникающим в момент его отхода от мишени, так и температурой компоненты тяжелой составляющей лазерной плазмы. В поперечном направлении лазерная плазма разлетается изотропно и в основном со скоростью, определяемой температурой ее ионов [4]. Известно, что лазерная плазма термодинамически неравновесна. Температура ее электронов, следовательно, и их диффузионные скорости на несколько порядков больше соответствующих скоростей ее ионов [5]. В силу кулоновского взаимодействия электронов и ионов амбиполярность лазерной плазмы при ее разлете не нарушается. Поэтому дрейфовая скорость поперечного разлета лазерной плазмы, в основном, определяется скоростью разлета ее тяжелой зарядовой компоненты. Изначально лазерная плазма находится в состоянии сильного возмущения с высокой степенью термодинамической неравновесности и статистической неравномерности [4]. При формировании ионного пучка экстрагировать ионы из такой плазмы приходится с плазменной границы, обладающей высокой неравномерностью распределения плотности ионов по ее площади и искаженностью формы поверхности плазменного мениска, возникающих в результате плазменных неустойчивостей и колебаний в возмущенной лазерной плазме. Кроме того, форма поверхности плазменной границы, экстрагирующей ионы в пучок, и распределение на ней локальных участков с различной плотностью зарядов постоянно изменяются во времени.
Известно, что пучок ионов, экстрагируемый с границы плазмы, имеющей высокую степень нестационарности формы и распределения по ней плотности заряженных частиц, характеризуется большим разбросом направлений и величин импульсов движения составляющих его ионов. Такой пучок обладает плохой конгруэнтностью, что препятствует захвату и ускорению ионов в ускорителях заряженных частиц [6]. Увеличение времени дрейфа лазерной плазмы в пролетном канале способствует наступлению термодинамического равновесия и статистической равномерности распределения ее зарядов в результате релаксации энергии при взаимных столкновениях частиц лазерной плазмы, она «остывает» [5]. Известно, что плотность зарядов в зоне их экстракции из плазмы в пучок влияет на величину ионного тока, инжектируемого источниками ионов [6]. Простое увеличение длины пролетного канала лазерного источника ионов для увеличения времени дрейфа лазерной плазмы через него ограничивается потерями ее заряженных частиц в результате их адсорбции на стенках пролетного канала [6]. Перечисленные факторы подтверждают необходимость удерживания заряженных частиц в лазерной плазме при ее дрейфе в пролетном канале.
Для удерживания от разлета непосредственно ионов лазерной плазмы, характерные значения диффузионной скорости которых составляют ~ 104-105 м/с, при помощи магнитных полей, требуются магнитные поля большой величины, создавать которые в ускорителях заряженных частиц на уровне существующей техники нереально.
Учитывая наличие в лазерной плазме сильного электростатического взаимодействия, связывающего ее ионную и электронную составляющие, высокую диффузионную скорость плазменных электронов, и тот факт, что сила Лоренца, удерживающая заряженную частицу, пересекающую силовую линию магнитного поля, на этой силовой линии прямопропорциональна скорости этой частицы, целесообразно уменьшать результирующую скорость поперечного разлета лазерной плазмы в пролетном канале путем воздействия магнитным полем именно на ее электронную компоненту, «замораживая» на силовых линиях магнитного поля плазменные электроны. Это позволяет повысить эффективность использования магнитного поля для уменьшения скорости поперечного дрейфа ионов в пролетном канале.
Реализация такого метода в [2] показала, что в продольном магнитном поле пролетного канала такого лазерного источника ионов имеет место уменьшение скорости поперечного разлета лазерной плазмы. Но в нем нет механизмов, эффективно препятствующих разлету электронов в результате их столкновений с электронами и тяжелыми частицами лазерной плазмы. Действительно, в этом лазерном источнике ионов после акта столкновения лазерного электрона отсутствует механизм, препятствующий его переходу на силовую линию магнитного поля, находящуюся на расстоянии радиуса Лармора от первоначальной силовой линии. Если учесть, что смещение электрона после столкновения равновероятно в четырех направлениях, как минимум два из которых приводят к сдвигу потока лазерной плазмы в сторону боковых стенок пролетного канала. Понятен механизм уменьшения скорости его поперечного разлета в продольном магнитном поле. Во-первых, надо дождаться самого столкновения, во-вторых, такого, которое привело бы к расплыванию потока лазерной плазмы. Но с учетом большой частоты столкновений электрона в лазерной плазме с характерной для нее высокой плотностью частиц эффект удерживания плазменных электронов от поперечного разлета только таким способом оказывается недостаточным.
В [3] предложено удерживать лазерную плазму от разлета в поперечном направлении при помощи мультипольного магнитного поля, силовые линии которого лежат в плоскости, перпендикулярной продольной оси пролетного канала, а величина этого поля близка к нулю на центральной продольной оси пролетного канала и резко нарастает вблизи его стенок. В таком пролетном канале наличие изменяющегося по величине магнитного поля создает магнитное давление, отражающее плазменные электроны в направлении от стенок пролетного канала в сторону его центральной продольной оси. Отраженные таким способом электроны, электростатически связанные с ионами лазерной плазмы, уменьшают и скорость разлета этих ионов.
Поясним механизм возникновения магнитного давления на электронную компоненту плазмы в магнитном поле такой конфигурации. Плазменный электрон, двигаясь от центра пролетного канала к его периферии, пересекает силовые линии магнитного поля и под действием силы Лоренца начинает изменять траекторию движения, «закручиваясь» вокруг силовой линии тем сильнее, чем больше величина магнитного поля, которая нарастает по мере приближения электрона к боковой стенке пролетного канала. Это препятствует ему приблизиться к стенке пролетного канала. Когда под действием силы Лоренца электрон поменяет направление своего движения на противоположное и начнет дрейфовать в сторону центральной продольной оси, величина действующего на него магнитного поля уменьшаться. Радиус Лармора увеличивается, и электрон выталкивается магнитным давлением к центральной продольной оси пролетного канала.
Недостаток такого удерживания лазерной плазмы в пролетном канале в том, что нет механизма эффективного уменьшения поперечной скорости ионов лазерной плазмы в центральных областях пролетного канала, так как магнитное поле сосредоточено в основном в пристеночной его области. Подходя к этой области, тяжелые ионы с высоким значением радиальной составляющей диффузионной скорости, ничем ранее не погашенной, в силу своей инерции успевают преодолеть пристеночную область прежде, чем затормозятся. Поскольку они связаны с плазменными электронами электрическими силами взаимодействия, ионы увлекают за собой на стенки пролетного канала и плазменные электроны.
Анализ работ [2] и [3] показывает, что для повышения эффективности удерживания заряженных частиц лазерной плазмы в пространстве пролетного канала и уменьшения их ухода на его боковые стенки надо формировать во всем сечении пролетного канала магнитное поле с большой индукцией, причем ее величина должна изменяться в его радиальном направлении так, чтобы создавать магнитное давление, препятствующее поперечному разлету электронов лазерной плазмы.
В пролетном канале 1 предложенного изобретения постоянными магнитами 3 формируется мультипольное магнитное поле Вm, силовые линии 4 которого лежат в плоскости перпендикулярного сечения пролетного канала и показаны на фиг.1. Характер изменения величины индукции этого поля по радиусу пролетного канала описывается кривой Вm на фиг.2. Из этого чертежа видно, что это магнитное поле Вm имеет близкую к нулю индукцию на центральной продольной оси пролетного канала, величина которой быстро нарастает по мере приближения к его боковым стенкам.
Одновременно, в пролетном канале 1 электромагнитными катушками 5 формируется постоянное, аксиально-симметричное магнитное поле Ва, силовые линии 6 которого показаны на фиг.1. Зависимость величины магнитной индукции этого поля от радиуса пролетного канала отражена графиком Ва на фиг.2.
В результате суперпозиции магнитных полей Ва и Вm в пролетном канале создается результирующее мультипольное магнитное поле сложной конфигурации. Направление вектора этого поля на центральной продольной оси пролетного канала совпадает с этой осью, а величина его магнитной индукции на центральной продольной оси равна Ва. По мере смещения в сторону боковых стенок пролетного канала вектор результирующего магнитного поля начинает разворачиваться в плоскостях, перпендикулярных оси смещения, в сторону боковой стенки пролетного канала, а величина магнитной индукции этого поля увеличивается. Сказывается рост магнитной индукции поля Вm, возникающий при таком смещении. На боковой стенке пролетного канала величина угла отклонения вектора результирующего магнитного поля от направления центральной оси пролетного канала и величина магнитной индукции результирующего магнитного поля (длина этого вектора) будут зависеть от соотношения величин магнитной индукции полей Ва и Вm, являясь их векторной суммой.
Таким образом, в предложенном изобретении создано магнитное поле, уменьшающее поперечную скорость разлета электронной составляющей лазерной плазмы, трансформируя поперечное смещение электронов, вызываемое их тепловой скоростью, во вращение вокруг силовых линий магнитного поля по всему пространству пролетного канала. Электроны лазерной плазмы как бы «замораживаются» на силовых линиях этого магнитного поля. Поперечный разлет электронной компоненты лазерной плазмы, вызванный срывом «замороженных» электронов с силовых линий магнитного поля при их столкновений с другими частицами лазерной плазмы, уменьшается магнитным давлением, которое стремится сместить эти электроны в сторону центральной продольной оси пролетного канала. Таким образом, на электронную составляющую лазерной плазмы во всем пространстве пролетного канала с предложенной конфигурацией магнитного поля одновременно действуют два фактора, препятствующих ее поперечному разлету. Это повышает эффективность удерживания электронов в лазерной плазме. Как широко известно, сила Лоренца, удерживающая заряды на силовых линиях магнитного поля, пропорциональна величине этого поля и скорости заряженной частицы – поперек поля, которая для электронов лазерной плазмы на 4-5 порядков выше, чем для других ее частиц. Этим объясняется высокая эффективность удерживания именно электронов на силовых линиях магнитного поля. Поскольку в лазерной плазме расстояние между электронами, окружающими ион, – радиус Дебая-Хюккеля, мало это определяет сильную электростатическую связь между электронами и ионами в лазерной плазме.
Путем высокой эффективности удерживания магнитным полем от поперечного разлета именно электронов лазерной плазмы и сильной их электрической связи с ее ионами достигается уменьшение скорости поперечного разлета ионов лазерной плазмы в пролетном канале. В отличие от прототипа в данном изобретении силы, препятствующие поперечному разлету ионной составляющей лазерной плазмы, воздействуют через электронную компоненту на ионы во всех точках сечения пролетного канала. Очевидно, что на первоначальных участках разлета лазерной плазмы, где ее плотность высока и магнитное поле не может в нее проникнуть, нет удерживания заряженных частиц. Но, как только магнитное поле начинает проникать в лазерную плазму, рассмотренные выше факторы начинают удерживать в ней от разлета заряженные частицы более эффективно, чем это имеет место в аналогах и прототипе.
Удерживание заряженных частиц в лазерной плазме при ее транспортировке в пролетных каналах лазерных источников ионов магнитными полями предложенной конфигурации позволяет уменьшать потери ее зарядовой компоненты при транспортировке и получать в области формирования пучка ионов термодинамически равновесную с высокой степенью статистической равномерности лазерную плазму. Это позволяет улучшать фазовые характеристики пучка заряженных частиц, генерируемого лазерным источником ионов, и способствует увеличению тока ионного пучка, ускоренного в ускорителе ионов с лазерным источником ионов такого типа. Данное изобретение может быть использовано, например, в драйвере тяжелоионного инерционного синтеза [1].
Литература
1. Л.З.Барабаш, Ю.А.Быковский, А.А.Голубев и др. Характеристики лазерной плазмы как источника ионов для драйвера тяжелоионного инерционного синтеза. Препринт 12, М. ИТЭФ, 1983.
2. L.G.Gray, R.H.Hughes, R.J.Anderson. Heavy-ion sourse using a laser-generated plasma transported through an axial magnetic field. Appl. Phys. 53, 6628, 1982.
3. Б.К.Кондратьев, В.И.Турчин. Лазерный источник ионов. Р.Ф. Патент на изобретение 2206140 от 10.06.03 г.
4. Ю.П.Козырев, Б.Ю.Шарков. Введение в физику лазерной плазмы. Учебное пособие, М. МИФИ, ч.1. С.22, 1980.
5. Я.Браун, Р.Келлер, А.Холмс и др. Физика и технология источников ионов. М.: Мир, 1998. С.29, 323-339.
6. С.И.Молоковский, А.Д.Сушков. Интенсивные электронные и ионные пучки. М.: Энергоатом издат, 1991. С.110-139.
Подрисуночные надписи
фиг.1. Лазерный источник ионов с мультипольным магнитным полем.
фиг.2. Изменение магнитных полей, создаваемых магнитами и электромагнитными катушками на радиусе пролетного канала лазерного источника ионов с мультипольным магнитным полем.
Формула изобретения
Лазерный источник ионов с мультипольным магнитным полем состоящий из: мишени, лазера, пролетного канала, выполненного в виде металлической трубы, центральная продольная ось которого совпадает с первоначальным направлением гидродинамического движения плазменного потока от мишени, системы отбора ионов, установленной на центральной продольной оси пролетного канала, магнитов, установленных на пролетном канале таким образом, что они формируют внутри него по всей длине между мишенью и системой отбора ионов мультипольное магнитное поле, силовые линии которого перпендикулярны к продольной оси пролетного канала, а напряженность этого поля, приближаясь к нулю на его центральной продольной оси, возрастает в области стенок пролетного канала, отличающийся тем, что на пролетном канале установлены электромагнитные катушки таким образом, что они создают в пролетном канале между мишенью и системой отбора ионов продольное, аксиально-симметричное магнитное поле.
РИСУНКИ
|
|