|
|
(21), (22) Заявка: 2008119847/28, 19.05.2008
(24) Дата начала отсчета срока действия патента:
19.05.2008
(46) Опубликовано: 10.01.2010
(56) Список документов, цитированных в отчете о поиске:
RU 2209483 С2, 27.07.2003. RU 2163042 С2, 10.02.2001. SU 1364123 A1, 30.06.1993. EP 0264709 A2, 27.04.1988. JP 63007423 В, 13.05.1982.
Адрес для переписки:
634021, г.Томск, пр. Академический, 2/4, ИФПМ СО РАН, патентный отдел
|
(72) Автор(ы):
Дураков Василий Григорьевич (RU), Дампилон Баир Вячеславович (RU)
(73) Патентообладатель(и):
Учреждение Российской академии наук Институт физики прочности и материаловедения Сибирского отделения РАН (ИФПМ СО РАН) (RU)
|
(54) ЭЛЕКТРОННО-ИОННЫЙ ИСТОЧНИК
(57) Реферат:
Изобретение относится к области получения электронных и ионных пучков и может быть использовано в ускорительной технике. Электронно-ионный источник содержит эмиттерный катод с эмиссионным отверстием и расположенный против него второй катод, анод, систему вытягивания и систему электропитания. Отличительной особенностью нового источника является то, что полый катод является биметаллическим и состоит из двух частей: внутренней ферромагнитной части и наружной высокотеплопроводящей части, выполненной по всей окружности катода в форме жестких ребер. Технический результат: интенсивный теплоотвод от биметаллического полого катода. 2 з.п. ф-лы, 1 ил.
Изобретение относится к области получения электронных и ионных пучков и может быть использовано в ускорительной технике.
Известен электронно-ионный источник с продольным извлечением частиц из отражательного разряда с холодными катодами, содержащий эмитерный катод с эмиссионным отверстием и расположенный против него второй катод, анод, систему вытягивания и систему электропитания (SU 456322 А1, 1973).
К причинам, препятствующим достижению указанного ниже технического результата при использовании известного источника, относится то, что в известном источнике при длительном режиме работы и повышенной мощности электронного луча происходит значительный разогрев устья полого катода из-за недостаточного теплоотвода до температуры выше точки Кюри (Т=727°С), что приводит к ферропарамагнитному переходу последнего и изменению конфигурации магнитного поля в разрядной камере. Кроме того, при переходе температуры ферромагнитного материала через точку Кюри коэффициент распыления его резко возрастает. Все перечисленные факторы неблагоприятно сказываются на условиях горения разряда и как следствие эмиссионных характеристиках электронного источника.
Наиболее близким источником того же назначения к заявляемому изобретению по совокупности признаков является электронно-ионный источник, снабженный керамическими элементами с эмиссионными отверстиями в эмиттерном катоде и полом катоде, кроме того источник содержит также анод, систему вытягивания и систему электропитания (RU 2209483 С2 2001).
Данный источник принят за прототип. К причинам, препятствующим достижению указанного ниже технического результата при использовании известного источника, принятого за прототип, относится то, что в известном источнике при длительном режиме работы и повышенной мощности электронного луча увеличивается температура керамического элемента, расположенного в устье полого катода, приводящая к нагреву ферромагнитной части полого катода выше точки Кюри (Т=727°С). В результате ферропарамагнитного перехода материала полого катода происходит изменение конфигурации магнитного поля в разрядной камере, приводящее к ухудшению условий горения разряда и как следствие эмисионных характеристиках электронного источника.
Задачей изобретения является повышение стабильности работы источника во времени при сохранении постоянства эмиссионных характеристик электронно-ионного источника и геометрических характеристик пучка.
Технический результат при осуществлении заявляемого изобретения достигается за счет интенсивного теплоотвода от биметаллического полого катода, состоящего из внутренней ферромагнитной и наружной высокотеплопроводящей части.
Указанный технический результат при осуществлении изобретения достигается следующим образом: как и известный источник, заявляемый электронно-ионный источник содержит эмиттерный катод с эмиссионным отверстием и расположенный против него второй катод, анод, систему вытягивания и систему электропитания.
Отличительной особенностью нового источника является то, что полый катод является биметаллическим и состоит из двух частей: внутренней ферромагнитной и наружной высокотеплопроводящей части.
Кроме того, наружная высокотеплопроводящая часть полого катода выполнена из материала с высокой теплопроводностью, например меди, серебра, алюминия.
Кроме того, наружная высокотеплопроводящая часть полого катода выполнена в форме, например, радиатора охлаждения.
Указанная конструкция полого катода не позволяет увеличиваться температуре его устья выше точки Кюри, что сохраняет постоянство эмиссионных характеристик электронно-ионного источника.
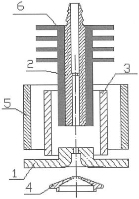
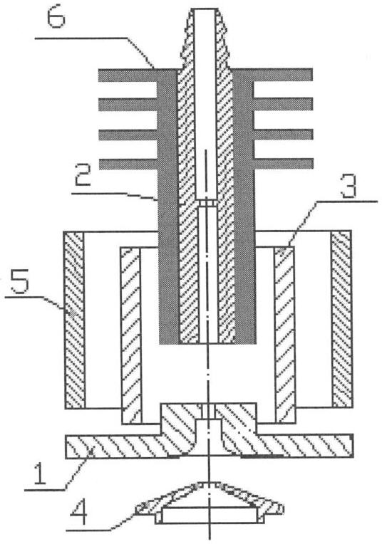
На чертеже изображен заявляемый электронно-ионный источник.
Источник содержит холодный эмиттерный катод 1, полый катод с внутренней ферромагнитной частью 2, цилиндрический анод 3 и извлекающий электрод 4. Магнитное поле между катодами обеспечивается постоянным магнитом 5. К внутренней ферромагнитной части 2 полого катода присоединена наружная часть 6, выполненная из материала с высокой теплопроводностью, например меди, серебра, алюминия. При этом наружная высокотеплопроводящая часть полого катода выполнена по всей окружности катода в форме жестких ребер подобно радиатору охлаждения.
Источник работает следующим образом.
При подаче напряжения между катодами 1, 2 и анодом 3 зажигается отражательный разряд. С увеличением тока разряда, когда протяженность области катодного падения потенциала становится меньше радиуса апертуры полости в катоде 2, плазма проникает в полость и зажигается разряд с полым катодом. Интенсивное охлаждение полого катода за счет медной части повышает стабильность параметров электронно-ионного источника во времени.
Формула изобретения
1. Электронно-ионный источник с продольным извлечением частиц из отражательного разряда с холодными катодами, содержащий эмитерный катод с эмиссионным отверстием и расположенный против него второй полый катод, анод, систему вытягивания и систему электропитания, отличающийся тем, что полый катод выполнен биметаллическим и состоит из наружной высокотеплопроводящей части и внутренней ферромагнитной части.
2. Электронно-ионный источник по п.1, отличающийся тем, что наружная высокотеплопроводящая часть полого катода выполнена из материала с высокой теплопроводностью, например, меди, серебра, алюминия.
3. Электронно-ионный источник по п.1 или 2, отличающийся тем, что наружная высокотеплопроводящая часть полого катода выполнена в форме, например, радиатора охлаждения.
РИСУНКИ
|
|