|
|
(21), (22) Заявка: 2008128356/09, 11.07.2008
(24) Дата начала отсчета срока действия патента:
11.07.2008
(30) Конвенционный приоритет:
12.07.2007 KR 10-2007-0070276 12.07.2007 KR 10-2007-0070279 12.07.2007 KR 10-2007-0070280 12.07.2007 KR 10-2007-0070282
(46) Опубликовано: 10.01.2010
(56) Список документов, цитированных в отчете о поиске:
ЕР 0807949 А, 19.11.1997. RU 24598 U1, 10.08.2002. US 4958135 А, 18.09.1990.
Адрес для переписки:
129090, Москва, ул.Б.Спасская, 25, стр.3, ООО “Юридическая фирма Городисский и Партнеры”, пат.пов. А.В.Мицу, рег. 364
|
(72) Автор(ы):
СОН Дзонг-Ман (KR)
(73) Патентообладатель(и):
ЭлЭс ИНДАСТРИАЛ СИСТЕМЗ КО., ЛТД. (KR)
|
(54) РАЗМЫКАЮЩИЙ МОДУЛЬ И АВТОМАТИЧЕСКИЙ ВЫКЛЮЧАТЕЛЬ С ТАКИМ МОДУЛЕМ
(57) Реферат:
Размыкающий модуль содержит корпус, имеющий первую и вторую рычажные выемки, чтобы в них входили приводные рычаги, расположенные на главном валу, с различными межфазными расстояниями на главном валу; исполнительный механизм, размещаемый в корпусе и имеющий выходной участок, вытягиваемый наружу или втягиваемый внутрь, когда реле максимального тока подает сигнал размыкания; пластину возврата в исходное положение, установленную в корпусе для осуществления взаимодействия с главным валом, чтобы оказывать начальное воздействие на выходной участок исполнительного механизма; а также размыкающий ползун, имеющий такую конфигурацию, чтобы позволить механизму переключения выполнить операцию размыкания, когда исполнительный механизм выполняет операцию размыкания. Автоматический выключатель с таким размыкающим модулем предусматривает расположение модуля между реле максимального тока и механизмом переключения. Технический результат – повышение компактности конфигурации и эксплуатационной надежности размыкающего модуля, а также возможность его широкого использования для устройств с различными межфазными расстояниями. 2 н. и 27 з.п. ф-лы, 16 ил.
Предшествующий уровень техники настоящего изобретения
1. Область техники
Настоящее изобретение относится к размыкающему модулю и автоматическому выключателю с таким модулем, а именно к размыкающему модулю, который используется в устройствах, имеющих различные межфазные интервалы. При этом настоящее изобретение относится и к автоматическому выключателю, где используется такой размыкающий модуль.
2. Предшествующий уровень техники
Так называемый автоматический выключатель относится к устройству электрической защиты, которое устанавливается между источником электрической энергии и нагрузочным оборудованием для обеспечения защиты этого нагрузочного оборудования и линии питающей электросети от тока повреждения (короткого замыкания, избыточного тока вследствие корпусного замыкания на землю и т.д.), который может иметь место в электрической цепи.
Автоматический выключатель содержит механизм переключения для задействования неподвижного контактора и подвижного контактора, реле максимального тока для обнаружения тока повреждения и подачи команды на размыкание, чтобы блокировать подачу избыточного тока, а также размыкающий модуль, расположенный между механизмом переключения и реле максимального тока для создания механической силы управления, когда это реле максимального тока подает команду на размыкание, и передачи этой механической силы управления на механизм переключения.
Данный автоматический выключатель содержит также и другие устройства для выполнения дополнительных функций, таких как функция тревожной сигнализации размыкания, служащая для внешнего информирования о срабатывании размыкающего модуля, и функция выдержки времени сигнала, позволяющая реле избыточного тока выполнить операцию MCR (размыкания потоков включения).
Однако в автоматическом выключателе, относящемся к предшествующему уровню техники, разное расстояние между каждой фазой (например, фазой R, S, T или N) согласно отключающей способности каждого устройства приводит к невозможности широкого использования размыкающего модуля.
Кроме того, поскольку другие устройства для выполнения дополнительных функций, например, таких как функция тревожной сигнализации и функция выдержки времени сигнала, должны быть установлены в главном корпусе автоматического выключателя, то этот главный корпус автоматического выключателя может иметь увеличенный размер и сборка таких устройств требует больше усилий и времени. И, кроме того, поскольку в данном случае требуется обеспечить синхронизацию и взаимодействие каждого такого устройства, то эксплуатационная надежность такого автоматического выключателя является труднодостижимой.
Сущность изобретения
Таким образом, исходя из вышеупомянутых проблем предшествующего уровня техники цель настоящего изобретения состоит в том, чтобы предоставить такой размыкающий модуль, который можно было бы использовать в других устройствах, имеющих различные межфазные расстояния, а также и предоставить автоматический выключатель с таким модулем.
Другая цель настоящего изобретения состоит в том, чтобы предоставить размыкающий модуль, который бы имел компактную конфигурацию и обеспечивал лучшую эксплуатационную надежность, равно как и предоставить автоматический выключатель с таким же модулем.
Для достижения этих и других преимуществ и в соответствии с целью настоящего изобретения, что подробно описано в данном тексте, предлагается размыкающий модуль, размещаемый между реле максимального тока и механизмом переключения, который служит для включения и выключения присоединяемых к этому механизму переключения контакторов и который создает механическую силу управления, когда реле максимального тока подает сигнал размыкания, чтобы позволить данному механизму переключения выполнить операцию размыкания, при этом данный размыкающий модуль содержит: корпус, имеющий первую и вторую выемки для рычагов, чтобы в них входили приводные рычаги, расположенные с различными межфазными расстояниями на главном валу, исполнительный механизм, размещенный в данном корпусе и имеющий выходной участок, вытягиваемый наружу или втягиваемый внутрь, когда реле максимального тока подает сигнал размыкания, пластину возврата в исходное положение, установленную в данном корпусе для осуществления взаимодействия с главным валом, чтобы оказывать начальное воздействие на выходной участок исполнительного механизма, а также размыкающий ползун, имеющий такую конфигурацию, чтобы позволить механизму переключения выполнить операцию размыкания, когда исполнительный механизм выполняет эту операцию размыкания.
Данные приводные рычаги могут содержать приводной рычаг пластины возврата в исходное положение, расположенный так, чтобы контактировать с этой пластиной возврата в исходное положение, и приводные рычаги подвижного контактора, присоединенные к этому подвижному контактору. При этом приводной рычаг пластины возврата в исходное положение может входить в первую рычажную выемку, а приводные рычаги подвижного контактора могут входить во вторую рычажную выемку.
Приводные рычаги могут быть присоединены к подвижному контактору, равно как и входить в контакт с пластиной возврата и располагаться в первой рычажной выемке.
Размыкающий модуль может дополнительно содержать блок обеспечения возврата исполнительного механизма в исходное положение для осуществления взаимодействия с пластиной возврата в исходное положение с целью возвращения исполнительного механизма в исходное положение.
Блок обеспечения возврата исполнительного механизма в исходное положение может содержать ползун, расположенный с одной стороны пластины возврата в исходное положение, чтобы при нажимном воздействии перемещаться при вращательном повороте пластины возврата в исходное положение, при этом одна сторона рычага возврата в исходное положение контактирует с ползуном, чтобы вращательно повернуться, а вторая сторона нажимает на толкатель исполнительного механизма, чтобы вернуть этот исполнительный механизм в исходное положение.
Данный ползун может содержать кожух и возвратный штырь, выступающий из этого кожуха, чтобы контактировать с рычагом возврата в исходное положение.
Блок обеспечения возврата исполнительного механизма в исходное положение может дополнительно содержать амортизационный элемент, расположенный между пластиной возврата в исходное положение и толкателем исполнительного механизма и подвергаемый сжатию после того, как толкатель исполнительного механизма возвращен в исходное положение.
Размыкающий модуль может дополнительно содержать устройство подачи сигнала выдержки времени, взаимодействующее с главным валом и служащее для подачи сигнала с заранее установленной выдержкой времени после того, как неподвижный контактор и подвижный контактор входят в контакт друг с другом.
Это устройство подачи сигнала выдержки времени может содержать выключатель, расположенный с одной стороны главного вала, механизм устройства выдержки, расположенный между этим главным валом и выключателем, чтобы поворачиваться во взаимодействии с поворачивающимся главным валом и служить для управления выключателем с заранее установленной выдержкой времени после того, как неподвижный контактор и подвижный контактор контактируют друг с другом, а также пружину механизма выдержки времени, один конец которой присоединен к данному механизму выдержки, чтобы иметь возможность приложить свою упругую силу в таком направлении, чтобы этот механизм выдержки вынужденно вошел в контакт с данным выключателем, когда главный вал поворачивается в замыкающем направлении, а также и приложить эту упругую силу в том направлении, чтобы можно было удерживать механизм выдержки на некотором расстоянии от выключателя, когда главный вал поворачивается в размыкающем направлении.
Размыкающий модуль может дополнительно содержать размыкающее устройство взаимодействия с реле максимального тока, осуществляющее это взаимодействие при отсоединении данного реле максимального тока, чтобы обеспечить размыкание механизма переключения.
Это размыкающее устройство взаимодействия с реле максимального тока может содержать участок поворотного вала, вращательно установленного в данный размыкающий модуль, рабочий рычаг, простирающийся в радиальном направлении от одной области этого участка поворотного вала, чтобы входить в контакт с реле максимального тока, а также приводной рычаг, простирающийся от другой области этого поворотного вала, чтобы поворачиваться одновременно с данным участком поворотного вала и таким образом осуществлять нажим на размыкающий модуль для выполнения операции размыкания, а также упругий элемент, предназначенный для применения упругой силы в таком направлении, чтобы в результате заставить этот рабочий рычаг войти в контакт с реле максимального тока.
Размыкающий ползун может быть оснащен приводным выступом, выступающим для контактирования с приводным рычагом.
Для направления перемещения реле максимального тока в данном корпусе может быть выполнен направляющий участок.
Размыкающий модуль может дополнительно содержать устройство подачи сигнала размыкания, взаимодействующее с исполнительным механизмом для обеспечения подачи сигнала размыкания наружу, когда этот исполнительный механизм выполняет операцию размыкания.
Устройство подачи сигнала размыкания может содержать выключатель, предназначенный для подачи сигнала при контакте с ним, и промежуточный элемент взаимодействия, взаимодействующий с размыкающим ползуном, чтобы войти в контакт с данным выключателем, когда этот размыкающий ползун находится в размыкающем положении.
Устройство подачи сигнала размыкания может дополнительно содержать контактный элемент, размещенный между промежуточным элементом взаимодействия и данным выключателем.
Размыкающий модуль может дополнительно содержать блок обеспечения возврата в исходное положение, предназначенный для возврата устройства подачи сигнала размыкания в его исходное положение.
Размыкающий модуль может дополнительно содержать нажимной ползун, расположенный с одной стороны размыкающего ползуна, чтобы при скольжении нажимом направлять размыкающий ползун к размыкающему положению, а также пружину размыкающего ползуна, предназначенную для создания и применения упругой силы с целью продвижения этого нажимного ползуна к размыкающему положению, тогда как блок обеспечения возврата в исходное положение может содержать рычаг возврата в исходное положение, расположенный с одной стороны нажимного ползуна, чтобы иметь возможность поворачиваться между размыкающим положением и замыкающим положением, а также перемещать нажимной ползун к замыкающему положению.
Размыкающий модуль может дополнительно содержать защелку, поворачивающуюся между фиксирующим положением, при котором она фиксирует нажимной ползун в замыкающем положении, и высвобожденным положением, при котором зафиксированный нажимной ползун высвобождается, а также пружину защелки, предназначенную для приложения упругой силы с целью поворота данной защелки к фиксирующему положению, где размыкающий ползун может быть возвращен к замыкающему положению с помощью этой защелки, когда нажимной ползун находится в размыкающем положении.
Блок обеспечения возврата в исходное положение может дополнительно содержать штырь возврата в исходное положение, выступающий, взаимодействуя с рычагом возврата в исходное положение, от одной стороны реле максимального тока наружу и при нажатии возвращающий этот рычаг возврата к замыкающему положению.
Блок обеспечения возврата в исходное положение может дополнительно содержать пружину штыря возврата в исходное положение, предназначенную для создания упругой силы, с помощью которой этот штырь возврата перемещается к рычагу возврата.
Блок обеспечения возврата в исходное положение может дополнительно содержать кнопку возврата в исходное положение, установленную таким образом, что один ее участок находится снаружи, а другой участок прикреплен к штырю возврата в исходное положение.
Размыкающий модуль может дополнительно содержать устройство подачи сигнала выдержки времени, взаимодействующее с главным валом с целью подачи сигнала с заранее установленной выдержкой времени после того, как неподвижный контактор вступает в контакт с подвижным контактором, а также размыкающее устройство взаимодействия с реле максимального тока, которое осуществляет это взаимодействие при отсоединении этого реле максимального тока, чтобы осуществить размыкание механизма переключения, и устройство подачи сигнала размыкания, взаимодействующее с исполнительным механизмом, для подачи наружу сигнала размыкания, когда этот исполнительный механизм выполняет операцию размыкания.
Автоматический выключатель, где используется такой размыкающий модуль, имеет главный корпус, содержащий неподвижный контактор и подвижный контактор, главный вал, механизм переключения, взаимодействующий с этим главным валом и подвижным контактором, чтобы включать или выключать эти неподвижный и подвижный контакторы, реле максимального тока, присоединенное к главному корпусу этого автоматического выключателя для обнаружения тока повреждения, и при этом вышеупомянутый размыкающий модуль располагается между реле максимального тока и механизмом переключения.
Автоматический выключатель может дополнительно содержать блок обеспечения возврата исполнительного механизма в исходное положение, который взаимодействует с пластиной возврата, чтобы возвратить этот исполнительный механизм в исходное положение.
Автоматический выключатель может дополнительно содержать устройство подачи сигнала выдержки времени, взаимодействующее с главным валом, для подачи сигнала с заранее установленной выдержкой времени после того, как неподвижный контактор войдет в контакт с подвижным контактором.
Автоматический выключатель может дополнительно содержать размыкающее устройство взаимодействия с реле максимального тока, которое осуществляет это взаимодействие при отсоединении этого реле максимального тока, чтобы осуществить размыкание механизма переключения.
Автоматический выключатель может дополнительно содержать устройство подачи сигнала размыкания, взаимодействующее с исполнительным механизмом, для подачи сигнала размыкания наружу, когда этот исполнительный механизм выполняет операцию размыкания.
Автоматический выключатель может дополнительно содержать устройство подачи сигнала выдержки времени, взаимодействующее с главным валом, для подачи сигнала с заранее установленной выдержкой времени после того, как неподвижный контактор войдет в контакт с подвижным контактором, а также размыкающее устройство взаимодействия с реле максимального тока, которое осуществляет это взаимодействие при отсоединении этого реле максимального тока, чтобы осуществить размыкание механизма переключения, и устройство подачи сигнала размыкания, взаимодействующее с исполнительным механизмом, для подачи сигнала размыкания наружу, когда этот исполнительный механизм выполняет операцию размыкания.
Изложенные выше и другие цели, особенности и преимущества настоящего изобретения станут более очевидными из следующего ниже подробного описания, сопровождаемого соответствующими чертежами.
Краткое описание чертежей
Сопровождающие чертежи, которые включены в данный текст для лучшего понимания данного изобретения и составляют часть настоящего описания, иллюстрируют варианты воплощения настоящего изобретения и вместе с описанием служат для объяснения принципов настоящего изобретения.
В частности, на данных чертежах показано:
Фиг.1 – внешний вид в перспективе автоматического выключателя, имеющего размыкающий модуль в соответствии с одним вариантом воплощения настоящего изобретения;
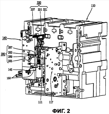
Фиг.2 – вид изнутри в перспективе автоматического выключателя с Фиг.1;
Фиг.3 – вид сбоку автоматического выключателя с Фиг.1 с установленным размыкающим модулем;
Фиг.4 – вид в перспективе размыкающего модуля с Фиг.1;
Фиг.5 – подетальный вид в перспективе размыкающего модуля с Фиг.1;
Фиг.6 и 7 – виды в перспективе, соответственно показывающие определенный этап работы размыкающего модуля с Фиг.3;
Фиг.8 – вид в перспективе, демонстрирующий участок исполнительного механизма с Фиг.3;
Фиг.9 – вид сбоку исполнительного механизма с Фиг.8;
Фиг.10 – схематичный вид, служащий для описания операции исполнительного механизма с Фиг.8;
Фиг.11 – вид сбоку, показывающий устройство подачи сигнала выдержки времени, относящееся к размыкающему модулю с Фиг.5;
Фиг.12 – вид в перспективе, показывающий устройство подачи сигнала выдержки времени с Фиг.11, находящееся в присоединенном состоянии;
Фиг.13 – вид спереди, показывающий размыкающее устройство взаимодействия с реле максимального тока, относящееся к размыкающему модулю с Фиг.3;
Фиг.14 – вид сбоку, показывающий размыкающее положение, в котором находится устройство подачи сигнала размыкания с Фиг.3;
Фиг.15 – вид сбоку, служащий для демонстрации операции размыкающего устройства взаимодействия с реле максимального тока с Фиг.13;
Фиг.16 – вид спереди, демонстрирующий находящееся в установленном состоянии устройство подачи сигнала размыкания, относящееся к размыкающему модулю с Фиг.2.
Подробное описание изобретения
Далее в настоящем тексте будет дано подробное описание размыкающего модуля и автоматического выключателя, содержащего этот модуль, согласно настоящему изобретению и со ссылкой на сопровождающие чертежи.
Как показано на Фиг.1-3, автоматический выключатель, имеющий данный размыкающий модуль, может содержать главный корпус 110 с расположенными внутри него неподвижным и подвижным контакторами, главный вал 111 и механизм переключения 117, расположенный между подвижным контактором и главным валом 111, чтобы включать или выключать эти неподвижный и подвижный контакторы, а также панель 120 передней поверхности, присоединенную к передней поверхности главного корпуса 110, реле максимального тока 131, присоединенное к панели 120 передней поверхности таким образом, что его передняя поверхность является видимой снаружи, и служащее при этом для обнаружения тока повреждения и подачи сигнала (команды) размыкания, а также размыкающий модуль 140, имеющий исполнительный механизм 161, который создает механическую силу управления, когда реле максимального тока 131 подает сигнал размыкания, чтобы иметь возможность присоединиться к главному валу 111 с различными межфазными расстояниями.
На панели 120 передней поверхности выполнено отверстие 122, служащее для наружного размещения реле максимального тока 131. На этой же панели 120 передней поверхности также расположены соответственно кнопка размыкания 125 и кнопка замыкания 126, чтобы вручную включать или выключать механизм переключения 117.
Размыкающий модуль 140 установлен у задней стороны реле максимального тока 131. Механизм переключения 117 расположен с одной стороны размыкающего модуля 140, чтобы, таким образом, выполнять операцию размыкания неподвижного контактора и подвижного контактора в соответствии с поданной командой размыкания при обнаружении тока повреждения реле максимального тока 131.
Как показано на Фиг.4 и 5, размыкающий модуль 140 может содержать корпус 141, имеющий первую и вторую выемки 148 и 149 (см. Фиг.6 и 7), при этом данные выемки имеют такой размер, чтобы принимать входящие в них приводные рычаги, расположенные на главном валу 111 с различными межфазными расстояниями, а также исполнительный механизм 161, размещенный в корпусе 141 для создания силы управления, когда реле максимального тока 131 подает сигнал размыкания, и установленную в корпусе 141 пластину 171 возврата в исходное положение для взаимодействия с главным валом 111 с целью инициирующего воздействия на выходной участок исполнительного механизма 161, и размыкающий ползун 181, который, будучи присоединенным к механизму переключения 117, скользит вдоль корпуса 141 и служит для обеспечения осуществления операции размыкания этого механизма переключения 117, когда исполнительный механизм 161 выполняет операцию размыкания.
Размыкающий модуль 140 может дополнительно содержать устройство 250 подачи сигнала выдержки времени, взаимодействующее с главным валом 111 для подачи сигнала с заранее установленной выдержкой времени после того, как неподвижный контактор вступит в контакт с подвижным контактором, а также размыкающее устройство 280 взаимодействия с реле максимального тока, которое осуществляет это взаимодействие при отсоединении реле максимального тока 131, чтобы обеспечить размыкание механизма переключения 117, и устройство 290 подачи сигнала размыкания, взаимодействующее с исполнительным механизмом 161 для подачи наружу сигнала размыкания, когда исполнительный механизм 161 выполняет операцию размыкания.
Корпус 141 может содержать главную корпусную деталь 142a, имеющую внутри открытую полость и отверстия на своей передней стороне, а также крышку корпуса 142b, прикрепленную к главной корпусной детали 142a множеством винтов 143, чтобы закрыть отверстие на передней стороне этой главной корпусной детали 142a.
Эта главная корпусная деталь 142a может быть оснащена направляющими участками 150, чтобы скольжением направлять реле максимального тока 131, когда это реле максимального тока 131 отсоединяется. На обеих боковых поверхностях реле максимального тока 131 расположены соответственно направляющие рейки 133 (см. Фиг.14), чтобы скольжением входить в направляющие участки 150.
Главный вал 111 может содержать множество приводных рычагов подвижного контактора для перемещения подвижного контактора каждой фазы, отделенного расстоянием от другой фазы, чтобы иметь разные межфазные расстояния, а также приводной рычаг механизма переключения, присоединенный к механизму переключения 117. Как показано на Фиг.6, вдоль первого главного вала 112a, имеющего относительно небольшую допустимую нагрузку по току (например, 2000 A), расположено с интервалами множество приводных рычагов 113 подвижного контактора с относительно коротким межфазным расстоянием L1. Как показано на Фиг.7, вдоль второго главного вала 112a, имеющего относительно большую допустимую нагрузку по току (например, 4000 A), расположено с интервалами множество приводных рычагов 113 подвижного контактора с относительно длинным межфазным расстоянием L2.
К тому же, второй главный вал 112b имеет такую конфигурацию, что приводной рычаг 114 пластины возврата в исходное положение отнесен на некоторое расстояние от приводных рычагов 113 подвижного контактора вследствие его относительно длинного межфазного интервала. Первый главный вал 112a может не иметь никакого отдельного приводного рычага пластины возврата в исходное положение, поскольку приводные рычаги 113 имеющегося подвижного контактора управляют этим подвижным контактором и пластиной 171 возврата в исходное положение. Таким образом, вторая выемка 149 для приема рычага являет собой незанятое пространство. Ниже в качестве примера будет дано описание первого главного вала 112a (называемого в дальнейшем главным валом 111), у которого приводной рычаг пластины возврата в исходное положение и приводные рычаги подвижного контактора объединены друг с другом.
В корпусе 141 установлены: исполнительный механизм 161, который создает механическую силу управления, когда реле максимального тока 131 подает команду размыкания, а также пластина 171 возврата в исходное положение, поворачиваемая вращением при взаимодействии с главным валом 111, чтобы возвратить в исходное положение операционный участок исполнительного механизма 161.
Как показано на Фиг.8-10, исполнительный механизм 161 может содержать статор 162, который производит магнитную силу, когда находится под энергетической нагрузкой, толкатель 165, выталкиваемый магнитной силой статора 162, и пружину 169, которая создает упругую силу, действующую в таком направлении, чтобы толкатель 165 неизбежно выдвигался. Статор 162 может содержать оболочку 163 и катушку 164, расположенную внутри этой оболочки 163. На одном конце исполнительного механизма 161 установлен операционный участок 167, взаимодействующий с толкателем 165. Этот операционный участок 167 состоит из двух частей, причем обе они выступают в сторону пластины 171 возврата в исходное положение, когда толкатель 165 находится в выдвинутом положении.
Один концевой участок пластины 171 возврата в исходное положение поворотно установлен на поворотном вале 173, а на другом концевом участке пластины 171 возврата в исходное положение образован изогнутый концевой участок 174, который приводит в действие устройство 250 подачи сигнала выдержки времени. К обоим концам поворотного вала 173 присоединены стопорные кольца 176. На боковом участке пластины 171 возврата в исходное положение у конца поворотного вала 173 выполнен изогнутый участок 175 рычага возврата в исходное положение, который может осуществлять нажим на один из рабочих участков 167 исполнительного механизма 161 с целью возвращения этого исполнительного механизма 161 в исходное положение.
Между главным валом 111 и исполнительным механизмом 161 установлен блок 230 обеспечения возврата исполнительного механизма 161 в исходное положение. Блок 230 обеспечения возврата исполнительного механизма в исходное положение может содержать пластину 171 возврата в исходное положение, взаимодействующую с главным валом 111, ползун 231, расположенный с одной стороны пластины 171, который нажимается для перемещения, когда данная пластина 171 возврата в исходное положение поворачивается вращением, а также рычаг 238 возврата в исходное положение, контактирующий для поворотного вращения одним своим концом с ползуном 231, при этом другая его сторона осуществляет нажим на толкатель 165 исполнительного механизма 161 для того, чтобы привести этот исполнительный механизм 161 в исходное положение. Рычаг 238 возврата в исходное положение может быть обеспечен возвратной пружиной 239, которая воздействует своей упругой силой на рычаг 238 возврата в исходное положение, чтобы вернуть его в исходное положение.
Как показано на Фиг.9, ползун 231 может включать кожух 233, присоединенный к нему возвратный штырь 235, чтобы выдвигаться из этого кожуха 233 или вдвигаться в него, и расположенный в этом кожухе 233 расширяющийся или сжимающийся амортизационный элемент 237, выполненный в виде сжимаемой скрученной пружины для осуществления нажима на возвратный штырь 235 с целью его выталкивания из кожуха 233. Кожух 233 подвергается нажатию, когда пластина 171 возврата в исходное положение поворачивается вращением и направляется выполненным в корпусе 141 направляющим участком (не показано) так, чтобы линейно переместиться к рычагу 238 возврата в исходное положение.
Как показано на Фиг.4 и 5, на боковом участке корпуса 141 в продольном направлении расположен размыкающий ползун 181, чтобы скольжением перемещаться между замыкающим положением и размыкающим положением. На одном участке этого размыкающего ползуна 181 выполнен приемный участок 183, служащий для входа в него некоторой части механизма переключения 117. Таким образом, находясь в резервном положении, механизм переключения 117 предохраняется от выполнения операции размыкания. Когда размыкающий ползун 181 перемещен в размыкающее положение, та часть механизма переключения 117, которая находится в контакте с приемным участком 183, подвергается нажатию с целью ее перемещения и таким образом осуществляется ее высвобождение от ограничивающего препятствия. И соответственно, механизм переключения 117 может сразу же выполнить операцию размыкания. В размыкающем ползуне 181 выполнена продолговатая по форме направляющая щель 185, в которую входят направляющие штыри 146, выступающие с бокового участка корпуса 141. Один концевой участок этого размыкающего ползуна 181 контактирует с рабочим участком 167. Рядом с одним концом этого размыкающего ползуна 181 расположен нажимной ползун 191, служащий для нажимного перемещения этого размыкающего ползуна 181 к размыкающему положению.
В нажимном ползуне 191 выполнена продолговатая по форме направляющая щель 195, в которую входят направляющие штыри 146, выступающие из корпуса 141. К одному концу этого нажимного ползуна 191 прикреплена нажимная скользящая пружина 197, которая создает упругую силу, заставляющую этот нажимной ползун 191 перемещаться к размыкающему положению. На этом нажимном ползуне 191 находится контактный участок 196, который контактирует с размыкающим ползуном 181 при нажатии на него.
С одной стороны нажимного ползуна 191 расположена защелка 211, служащая для фиксирования этого нажимного ползуна 191 в замыкающем положении. Эта защелка 211 установлена так, чтобы она могла поворачиваться между положением, когда она фиксирует данный нажимной ползун 191, и положением, когда она высвобождает зафиксированный нажимной ползун 191. Защелка 211 поворачивается вращением вокруг поворотного вала 213, проходящего через ее центральный участок. На этом поворотном валу 213 имеются шайба 217 и стопорные кольца 218, которые служат для фиксирования защелки 211. На одном конце этой защелки 211 выполнен стопорный выступ 215, он входит в фиксирующий желобок 193, выполненный в нажимном ползуне 191, и сцепляется с ним. Другой конец защелки 211 контактирует с рабочим участком 167 исполнительного механизма 161. Защелка 211 оснащена пружиной 219, служащей для возвращения этой защелки 211 в исходное положение. Защелка 211 нажимается рабочей частью 167, чтобы, поворотно вращаясь, занять высвобожденное положение, когда исполнительный механизм 161 выполняет операцию размыкания. Соответственно нажимной ползун 191 может быть перемещен в размыкающее положение. А также, когда исполнительный механизм 161 возвращается с помощью соответствующего блока управления 230 в свое исходное положение, защелка 211 перемещает размыкающий ползун 181 к размыкающему положению с помощью силы, создаваемой пружиной 219 данной защелки.
Как показано на Фиг.11 и 12, устройство 250 подачи сигнала выдержки времени используется для выполнения так называемой функции MCR (размыкания потоков включения) таким образом, что реле максимального тока 131 устанавливает некое значение величины тока, чтобы предотвратить вхождение сильного тока в нагрузочную сторону, и определяет входящий ток, чтобы в связи с этим при появлении сильного тока, имеющего большую величину, чем заранее установленная, мгновенно разомкнуть автоматический выключатель. То есть чтобы реле максимального тока 131 выполнило функцию MCR, это реле должно распознавать две ситуации, а именно ситуацию, когда блокируется ток повреждения (то есть неподвижный контактор и подвижный контактор отделены друг от друга), когда автоматический выключатель замкнут, и ситуацию, когда ток повреждения разомкнут, когда автоматический выключатель замкнут (то есть неподвижный контактор и подвижный контактор находятся в контакте) на той линии (или контуре), где данный автоматический выключатель был разомкнут вследствие предыдущего токоповреждения. Чтобы распознавать эти две ситуации, устройство 250 подачи сигнала выдержки времени подает контактный сигнал с постоянной выдержкой времени после того, как неподвижный контактор и подвижный контактор входят в контакт друг с другом.
Как показано на Фиг.11, устройство 250 подачи сигнала выдержки времени может содержать выключатель 251, расположенный с одной стороны главного вала 111, чтобы включать или выключать неподвижный контактор и подвижный контактор, а также механизм 261 выдержки времени, расположенный между главным валом 111 и выключателем 251, чтобы поворачиваться во взаимодействии с вращением главного вала 111 и управлять выключателем 251 с заранее заданной выдержкой времени после того, как неподвижный контактор и подвижный контактор входят в контакт друг с другом, а также пружину 270 механизма выдержки времени, один конец которой присоединен к механизму 261 выдержки времени таким образом, что она может направлять свою упругую силу в таком направлении, что в результате ее воздействия механизм 261 выдержки вынужденно входит в контакт с выключателем 251, когда главный вал 111 поворачивается в замыкающем направлении, а также задействовать эту упругую силу для удерживания механизма 261 выдержки на некотором расстоянии от выключателя 251, когда главный вал 111 поворачивается в размыкающем направлении.
На Фиг.5 показан выключатель 251, который установлен в корпусе 141, и механизм 261 выдержки времени, поворотно установленный на одной стороне этого автоматического выключателя 251. С одной стороны этого выключателя 251 расположен контактор 253 (см. Фиг.11). На верхнем участке выключателя 251 выполнено стопорное устройство 255, которое ограничивает вращение механизма 261 выдержки. Пружина 270 механизма выдержки времени присоединена к одной стороне этого механизма 261 выдержки.
Механизм 261 выдержки времени может содержать поворотный вал 263, расположенный вблизи главного вала 111, первый контактный участок 265, простирающийся к одному концу от вращательного вала 263, чтобы войти в контакт с выключателем 251, и второй контактный участок 268, простирающийся к другому концу от этого поворотного вала 263 и поворачивающийся вместе с первым контактным участком 265. Этот второй контактный участок 268 может содержать закругленный участок 266 для плавного вхождения в контакт с изогнутым концевым участком 174 пластины 171 возврата в исходное положение, когда главный вал 111 поворачивается вращением в размыкающем направлении. В данном примере, когда механизм 261 выдержки, проходя через мертвую точку пружины с помощью внешней или другой подобной силы, поворачивается вращением в направлении, приближающем его к выключателю 251, изогнутый концевой участок 174 входит в контакт с закругленным участком 266, чтобы таким образом ограничить поворотное вращение этого механизма 261 выдержки. Кроме того, этот изогнутый концевой участок 174 выполнен относительно данного механизма 261 выдержки времени с наклоном. Он имеет такую конфигурацию, чтобы всегда обеспечивать постоянную выдержку времени. С этой целью, когда главный вал 111 поворачивается вращением от размыкающего положения к замыкающему положению, пластина 171 возврата в исходное положение поворачивается с помощью упругой силы, исходящей от пружины 178 этой возвратной пластины, которая тогда своим изогнутым концевым участком 174 контактирует с закругленным участком 266, что приводит к повороту механизма 261 выдержки в таком направлении, чтобы находиться на некотором расстоянии от выключателя 251.
Пружина 270 механизма выдержки времени, которая задействует упругую силу для поворота механизма 261 выдержки, присоединена к одному участку этого механизма 261 выдержки, а именно к первому контактному участку 265. Пружина 270 механизма выдержки времени прикладывает свою упругую силу в таком направлении, что этот механизм 261 выдержки входит в вынужденный контакт с выключателем 251, когда главный вал 111 находится в замыкающем положении, в то время как при приложении этой упругой силы в направлении, когда в результате этот механизм 261 выдержки удерживается на некотором расстоянии от выключателя 251, потому что механизм 261 выдержки поворачивается вращением, проходя через мертвую точку пружины 270 механизма выдержки, главный вал 111 находится в размыкающем положении.
На Фиг.3 показано размыкающее устройство 280 взаимодействия с реле максимального тока, которое установлено на задней стороне реле максимального тока 131, чтобы обеспечить выполнение операции размыкания, при которой неподвижный контактор и подвижный контактор отделяются друг от друга при взаимодействии с отсоединением реле максимального тока 131.
Как показано на Фиг.13-15, размыкающее устройство 280 взаимодействия с реле максимального тока может содержать поворотный участок вала 283, поворотно установленный в размыкающем модуле 140, рабочий рычаг 285, простирающийся вдоль радиального направления от одной области участка 283 поворотного вала, чтобы контактировать с реле максимального тока 131, приводной рычаг 287, простирающийся от другой области участка 283 этого поворотного вала, чтобы одновременно поворачиваться, когда поворачивается участок 283 этого поворотного вала, чтобы в соответствии с этим действием нажимать на приводной выступ 188 размыкающего ползуна 181, с помощью которого производится нажатие на размыкающий модуль 140 для выполнения операции размыкания, а также упругий элемент 289 для обеспечения действия упругой силы в таком направлении, чтобы рабочий рычаг 285 вынужденно входил в контакт с реле максимального тока 131.
Участок 283 поворотного вала поворотно установлен на передней поверхности корпуса 141 размыкающего модуля 140 и в поперечном направлении относительно этого корпуса 141. Рабочий рычаг 285, выступающий в радиальном направлении от участка 283 поворотного вала и предназначенный для обеспечения контакта с реле максимального тока 131, поворотно установлен в одной области участка 283 этого поворотного вала. В другой области участка 283 поворотного вала выполнен приводной рычаг 287. Этот приводной рычаг 287 контактирует с размыкающим ползуном 181, чтобы предоставить возможность этому размыкающему ползуну 181 переместиться в размыкающее положение.
Для обеспечения контакта с приводным выступом 188 размыкающего ползуна 181 предусмотрен приводной рычаг 287, чтобы таким образом нажимать на размыкающий ползун 181. На участке 283 поворотного вала размещен упругий элемент 289, чтобы осуществлять приложение упругой силы в таком направлении, при котором данный участок 283 поворотного вала входит в контакт с реле 131 максимального тока. Этот упругий элемент 289 аккумулирует упругую силу, когда к нему присоединено реле максимального тока 131, и с помощью этой аккумулированной упругой силы он поворачивает этот приводной рычаг 287, когда реле 131 максимального тока отсоединено. Соответственно размыкающий ползун 181 перемещается в размыкающее положение, при котором для выполнения операции размыкания задействуется перемещение механизма переключения 117.
С другой стороны, к нижней области корпуса 141 винтами 147 прикручена PCB (печатная плата) 144, присоединенная к реле 131 максимального тока.
Эта печатная плата 144 оснащена коннектором 145 (см. Фиг.5) для присоединения к реле 131 максимального тока. Как показано на Фиг.12 и 16, устройство 290 подачи сигнала размыкания взаимодействует с исполнительным механизмом 161, используемым тогда, когда реле 131 максимального тока подает сигнал о размыкании на внешний дисплей, чтобы сообщить, что исполнительный механизм 161 выполнил операцию размыкания.
Устройство 290 подачи сигнала размыкания размыкающего модуля 140 может содержать выключатель 293 для подачи сигнала по достижении контакта, при этом элемент взаимодействия 313 контактирует с выключателем 293, когда размыкающий ползун 181 находится в размыкающем положении.
Выключатель 293 установлен так, что он входит одной стороной в исполнительный механизм 161 в корпусе 141, а контактирующие при нажатии контакторы 295 расположены с одной стороны выключателя 293. Элемент взаимодействия 313 может содержать в своем центре поворотный вал 315 и два рычажных участка 317, простирающиеся в разных направлениях от поворотного вала 315. Эти два рычажных участка 317 простираются соответственно к выключателю 293 и к размыкающему ползуну 181. Между контакторами 295 и элементом взаимодействия 313 находится контактный элемент 319, который служит для осуществления одинакового нажима на контакторы 295. От размыкающего ползуна 181 отходит нажимной палец 187, который служит для обеспечения нажатия на рычажный участок 317 элемента взаимодействия 313 с целью обеспечения вращения, когда размыкающий ползун 181 перемещен в размыкающее положение.
С другой стороны, как показано на Фиг.14-15, с одной стороны корпуса 141 установлен блок 320 обеспечения возврата в исходное положение, который служит для возврата в исходное положение устройства 290 подачи сигнала размыкания. Блок 320 обеспечения возврата в исходное положение, относящийся к устройству 290 подачи сигнала размыкания, может содержать рычаг 321 возврата в исходное положение, который расположен с одной стороны нажимного ползуна 191 и который поворачивается вращением между положением размыкания и положением замыкания, чтобы иметь возможность перемещать этот нажимной ползун 191 к замыкающему положению, а также штырь 331 возврата в исходное положение, выступающий при взаимодействии с рычагом 321 возврата в исходное положение, отходя при этом наружу от одной стороны реле 131 максимального тока и при нажатии возвращая рычаг возврата 321 к замыкающему положению.
Рычаг 321 возврата в исходное положение может содержать на своем центральном участке поворотный вал 323 и два рычажных участка 325, простирающихся соответственно в разных друг от друга направлениях. Для присоединения этого рычага 321 возврата к поворотному валу 323 используются стопорные кольца 327 и шайба 328. При этом передний концевой участок возвратного штыря 331 простирается вперед от главного корпуса 110 автоматического выключателя. Возвратный штырь 331 оснащен пружиной 337, обеспечивающей воздействие на этот возвратный штырь 331 упругой силой, чтобы переместить его к рычагу 321 возврата в исходное положение. Как показано на Фиг.1, на переднем концевом участке возвратного штыря 331 имеется кнопка 335 возврата в исходное положение, которая воздействует на этот возвратный штырь 331 при нажиме. Рычаг 321 возврата в исходное положение может иметь такую конструкцию, чтобы управляться двигателем. А также передний концевой участок рычага 331 возврата в исходное положение может быть сконструирован так, чтобы иметь непосредственный выход наружу.
При такой конфигурации, когда реле 131 максимального тока подает команду размыкания, исполнительный механизм 161 производит магнитную силу, когда к статору 162 подается энергия, и под воздействием этой магнитной силы толкатель 165 выдвигается. Когда толкатель 165 находится в выдвинутом положении, рабочий участок 167 взаимодействует с ним, чтобы переместиться к размыкающему положению. В этот момент защелка 211 под воздействием рабочего участка 167 нажимается, чтобы повернуться к высвобожденному положению.
Когда защелка 211 поворачивается, нажимной ползун 191 перемещается к размыкающему положению с помощью упругой силы пружины 197 нажимного ползуна. Соответственно нажимается размыкающий ползун 181, чтобы переместиться к размыкающему положению. Это перемещение размыкающего ползуна 181 к размыкающему положению высвобождает механизм переключения 117 от его запертого положения, контактируя с размыкающим ползуном 181. Затем механизм переключения 117 выполняет операцию размыкания, в результате которой главный вал 111 поворачивается к размыкающему положению. Соответственно неподвижный контактор и подвижный контактор отделяются друг от друга. В это же время, когда размыкающий ползун 181 перемещен в размыкающее положение, элемент взаимодействия 313, контактирующий с нажимным штырем 187, нажимается, чтобы повернуться вокруг поворотного вала 315. Повернутый элемент взаимодействия 313 нажимает на контактный элемент 319. Этот нажатый контактный элемент 319 входит в контакт с контакторами 295 выключателя 293. И затем выключатель 293 подает сигнал размыкания.
Когда главный вал 111 поворачивается к размыкающему положению, пластина 171 возврата в исходное положение поворачивается к размыкающему положению с помощью приводного рычага 114 пластины возврата в исходное положение. Согласно повороту пластины 171 возврата в исходное положение ползун 231 скользит под нажатием этой пластины 171. Затем рычаг 238 возврата в исходное положение поворачивается под нажимом возвратного штыря 235 ползуна 231. Этот повернутый рычаг 238 возврата в исходное положение нажимает на толкатель 165, чтобы вернуть исполнительный механизм 161 к его исходному положению. И когда этот толкатель 165 возвращен к своему исходному положению, рычаг 238 возврата в исходное положение прекращает поворот, вследствие чего останавливается и возвратный штырь 235 ползуна 231. В этом состоянии, если кожух 233 испытывает нажатие, чтобы переместиться вперед, амортизационный элемент 237 сжимается, чтобы выполнить свою амортизационную функцию.
Когда пластина 171 возврата в исходное положение повернута к размыкающему положению, эта пластина 171 контактирует с операционным участком 167 исполнительного механизма 161 и соответственно операционный участок 167 возвращается к своему исходному положению.
В этом случае, поскольку размыкающий ползун 181 заперт нажимным ползуном 191, то этот размыкающий ползун 181 находится в размыкающем положении, чтобы иметь возможность предотвратить повторное замыкание размыкающего ползуна. После того как пользователь проверил причину размыкания, он нажимает кнопку 335 возврата в исходное положение, чтобы повернуть рычаг 321 возврата в замыкающее положение с помощью возвратного штыря 331. Когда рычаг 321 возврата в исходное положение повернут вращением к замыкающему положению, нажимной ползун 191, контактирующий с рычагом 321 возврата, вытягивается вверх, чтобы переместиться в замыкающее положение. В соответствии с перемещением нажимного ползуна 191 к замыкающему положению защелка 211 поворачивается вращением к замыкающему положению с помощью упругой силы пружины 219 этой защелки. Когда защелка 211 повернута вращением к замыкающему положению, нажимной ползун 191 фиксируется в замыкающем положении и размыкающий ползун 181, входящий в контакт с защелкой 211, нажимается этой защелкой 211, чтобы переместиться в замыкающее положение, находясь тем самым в таком состоянии, когда он может быть разомкнут.
В то время как пластина 171 возврата в исходное положение поворачивается вращением к размыкающему положению, изогнутый концевой участок 174 нажимает на механизм 261, относящийся к устройству 250 подачи сигнала выдержки времени. Затем этот механизм 261 выдержки поворачивается вращением в таком направлении, чтобы отойти на некоторое расстояние от выключателя 293. В этом случае пружина 270 этого механизма выдержки проходит через мертвую точку. Соответственно механизм 261 выдержки применяет свою упругую силу в таком направлении, чтобы отойти на некоторое расстояние от выключателя 251. С другой стороны, когда пластина 171 возврата в исходное положение поворачивается вращением к замыкающему положению вследствие поворота к замыкающему положению главного вала 111, эта пластина 171 поворачивается вращением к замыкающему положению с помощью упругой силы пружины 178 пластины возврата в исходное положение.
Изогнутый концевой участок 174 пластины 171 возврата в исходное положение нажимает на первый контактор 265 так, что механизм 261 выдержки контактирует с контактором 253 выключателя 251 с заранее заданной выдержкой времени после того, как неподвижный контактор входит в контакт с подвижным контактором, чтобы позволить выключателю 251 подать наружу сигнал считывания. Когда первый контактор 265 входит в контакт с выключателем 251, этот выключатель 251 подает сигнал. Тем временем, когда механизм 261 выдержки поворачивается вращением с помощью внешней или другой подобной силы в таком направлении, чтобы переместиться ближе к выключателю 251, механизм 261 выдержки блокируется от поворотного вращения вследствие наличия контакта между закругленным участком 266 и изогнутым концевым участком 174.
Когда главный вал 111 поворачивается вращением к замыкающему положению, пластина 171 возврата в исходное положение поворачивается по часовой стрелке (на чертеже) под воздействием упругой силы пружины 178 пластины возврата в исходное положение. Затем изогнутый концевой участок 174 этой пластины 171 нажимом вверх поднимает закругленный участок 266 второго контактного участка 268 (на чертеже), чтобы обеспечить поворот механизма 261 выдержки в направлении, удаляющем его еще дальше от выключателя 251. Тогда вследствие взаимодействия между изогнутым концевым участком 174 и закругленным участком 266 механизм 261 выдержки поворачивается таким образом, что пружина 270 этого механизма выдержки проходит через мертвую точку, и, таким образом, упругая сила пружины 270 механизма выдержки прилагается в таком направлении, что механизм 261 выдержки отходит на некоторое расстояние от выключателя 251.
Изогнутый концевой участок 174 пластины 171 возврата в исходное положение, повернутый за закругленный участок 266, непрерывно поворачивается для осуществления нажима на первый контактный участок 265, поворачивая, таким образом, механизм 261 выдержки, чтобы пройти мертвую точку. Соответственно выключатель 251 всегда имеет возможность подать сигнал с постоянной выдержкой времени после того, как неподвижный контактор входит в контакт с подвижным контактором. Механизм 261 выдержки продолжает поворачиваться под воздействием упругой силы пружины 270 механизма выдержки, и соответственно первый контактный участок 265 входит в контакт с контактором 253 выключателя 251. И когда этот первый контактный участок 265 входит в контакт с контактором 253, выключатель 251 подает сигнал наружу.
Тем временем, после проверки или замены реле 131 максимального тока, когда это реле 131 максимального тока отсоединено от размыкающего модуля 140, рабочий рычаг 285, поворотный вал 283 и приводной рычаг 287 одновременно поворачиваются под воздействием аккумулированной упругой силы упругого элемента 289. Когда приводной рычаг 287 поворачивается, на приводной выступ 188 осуществляется нажатие, так что размыкающий ползун 181 перемещается вниз вдоль корпуса 141. Та часть механизма переключения 117, которая контактирует с размыкающим ползуном 181, также подвергается нажатию, чтобы высвободить заблокированный механизм переключения 117. Соответственно механизм переключения 117 выполняет операцию размыкания.
Как описано выше, в настоящем изобретении предлагается размыкающий модуль, который может широко использоваться для устройств с разными межфазными расстояниями, а также автоматический выключатель с таким модулем.
А также согласно настоящему изобретению те узлы, которые осуществляют взаимодействие с работой исполнительного механизма и главного вала после подачи команды размыкания, расположены в одном корпусе, чтобы таким образом работать во взаимодействии друг с другом. Таким образом достигается более компактная конфигурация и обеспечивается большая надежность в работе размыкающего модуля и имеющего те же узлы автоматического выключателя, если сравнивать их с аналогичным оборудованием предыдущего уровня техники, где отдельное изготовление каждого узла приводит к увеличению числа и размера этих компонентов, а также к необходимости специального устройства для обеспечения взаимодействия в работе этих отдельных узлов, что снижает эксплуатационную надежность и увеличивает общий размер данного устройства, для установки которого требуется большее пространство.
Кроме того, в настоящем изобретении предлагается размыкающий модуль, который способен предотвратить электрический удар и порчу узлов, возникающую вследствие невыполнения операции размыкания, и который позволяет выполнять операцию размыкания унифицированно, вне зависимости от намерений оператора при отсоединении реле максимального тока, что относится и к автоматическому выключателю, имеющему такие же узлы.
В настоящем изобретении предлагается размыкающий модуль, который способен предотвратить сбой в работе оборудования, возникающий из-за вибрации массы вследствие электрической силы отталкивания или другой подобной силы, и повысить надежность оборудования, противопоставив массе пружину; то же самое относится и к автоматическому выключателю, имеющему аналогичные узлы.
В настоящем изобретении также предлагается размыкающий модуль, который способен предотвратить поломку узлов, обеспечивая исполнительному механизму возврат в исходное положение таким образом, что та большая сила, которой обладает главный вал, не может быть непосредственно направлена на исполнительный механизм; то же относится и к автоматическому выключателю, имеющему такие же узлы.
В настоящем изобретении также предлагается размыкающий модуль, который способен функционировать без задействования отдельной цепи для поддержки сигнала размыкания, поскольку он может подавать постоянный сигнал размыкания при взаимодействии узлов этого модуля, то же относится и к автоматическому выключателю, имеющему такие же узлы.
Кроме того, в настоящем изобретении также предлагается размыкающий модуль, обеспечивающий быстрое реагирование при неисправности, предоставляя возможность пользователю мгновенно обнаружить разомкнутое состояние прибора, в котором исполнительный механизм уже выполнил операцию размыкания, если кнопка или штырь возврата в исходное положение выдается вперед.
Приведенные выше варианты воплощения и преимущества настоящего изобретения выступают в данном тексте в качестве примера и не предназначены ограничивать настоящее описание. Положения настоящего описания могут быть с легкостью применены к другим типам устройств и оборудования. Данное описание предназначено для иллюстрации, а не для ограничения объема формулы изобретения. Специалисту в данной области будет понятно, что данное изобретение может иметь множество модификаций и вариантов. Особенности, конструктивные элементы, способы и другие характеристики проиллюстрированных здесь вариантов воплощения могут комбинироваться различными способами для достижения дополнительных и/или альтернативных иллюстративных вариантов воплощения.
Поскольку особенности данного изобретения могут быть воплощены в различных формах, не отступая при этом от приведенных характеристик, следует также понимать, что упомянутые выше варианты воплощения не ограничены никакими частностями приведенного выше описания, если на то не дано специального указания, а скорее должны восприниматься во всей полноте его рамок, ограничиваемых данной формулой изобретения, поэтому все изменения и модификации, подпадающие под ограничения этой формулы, или эквиваленты таких ограничений считаются охваченными данной формулой изобретения.
Формула изобретения
1. Размыкающий модуль, размещаемый между реле максимального тока и механизмом переключения, служащий для включения или отключения контакторов с помощью данного механизма переключения и для создания механической силы управления, когда реле максимального тока подает сигнал размыкания, чтобы позволить механизму переключения выполнить операцию размыкания, при этом размыкающий модуль содержит: корпус, имеющий первую и вторую рычажные выемки, выполненные в нем, чтобы туда входили приводные рычаги, расположенные на главном валу, с различными межфазными расстояниями; исполнительный механизм, размещаемый в данном корпусе и имеющий выходной участок, вытягиваемый наружу или втягиваемый обратно, когда реле максимального тока подает сигнал размыкания; пластину возврата, установленную в данном корпусе для осуществления взаимодействия с главным валом, чтобы оказывать начальное воздействие на выходной участок исполнительного механизма; и размыкающий ползун, имеющий такую конфигурацию, чтобы позволить механизму переключения выполнить операцию размыкания, когда исполнительный механизм выполняет операцию размыкания.
2. Модуль по п.1, в котором приводные рычаги содержат приводной рычаг пластины возврата в исходное положение, контактирующий с этой пластиной возврата, и приводные рычаги подвижного контактора, присоединенные к этому подвижному контактору, при этом приводной рычаг пластины возврата в исходное положение входит в первую рычажную выемку, а приводные рычаги подвижного контактора входят во вторую рычажную выемку.
3. Модуль по п.1, в котором приводные рычаги присоединены к подвижному контактору, равно как и контактируют с пластиной возврата в исходное положение, и входят в первую рычажную выемку.
4. Модуль по п.1, дополнительно содержащий блок возврата в исходное положение исполнительного механизма, взаимодействующий с пластиной возврата, чтобы вернуть этот исполнительный механизм в исходное положение.
5. Модуль по п.4, в котором блок возврата в исходное положение исполнительного механизма содержит: ползун, расположенный с одной стороны пластины возврата, и перемещаемый при нажиме, когда пластина возврата поворачивается; и рычаг возврата, контактирующий одним своим концом с данным ползуном для совершения поворота, при этом другая его сторона нажимает на толкатель исполнительного механизма, чтобы вернуть исполнительный механизм в исходное положение.
6. Модуль по п.5, в котором ползун включает кожух и штырь возврата в исходное положение, выступающий из этого кожуха, чтобы контактировать с рычагом возврата в исходное положение.
7. Модуль по п.5, в котором блок возврата в исходное положение исполнительного механизма содержит амортизационный элемент, который располагается между пластиной возврата и толкателем исполнительного механизма и подвергается сжатию после того, как толкатель исполнительного механизма возвращен в исходное положение.
8. Модуль по п.4, дополнительно содержащий устройство подачи сигнала выдержки времени, взаимодействующее с главным валом, для подачи сигнала с заранее установленной выдержкой времени после того, как неподвижный контактор и подвижный контактор входят в контакт друг с другом.
9. Модуль по п.8, в котором устройство подачи сигнала выдержки времени содержит: выключатель, расположенный с одной стороны главного вала; механизм выдержки времени, расположенный между главным валом и выключателем, чтобы поворачиваться во взаимодействии с поворачивающимся главным валом и служить для управления выключателем с заранее установленной выдержкой времени после того, как неподвижный контактор и подвижный контактор входят в контакт друг с другом; и пружину механизма выдержки времени, один конец которой присоединен к данному механизму выдержки, чтобы иметь возможность применять свою упругую силу в таком направлении, чтобы этот механизм выдержки времени контактировал с выключателем, когда главный вал поворачивается в замыкающем направлении, а также применять эту упругую силу в том направлении, чтобы можно было удерживать механизм выдержки на некотором расстоянии от выключателя, когда главный вал поворачивается в размыкающем направлении.
10. Модуль по п.1, дополнительно содержащий размыкающее устройство взаимодействия с реле максимального тока, осуществляющее это взаимодействие при отсоединении данного реле максимального тока, чтобы обеспечить размыкание механизма переключения.
11. Модуль по п.10, в котором размыкающее устройство взаимодействия с реле максимального тока содержит: участок поворотного вала, вращательно установленный в данный размыкающий модуль; рабочий рычаг, простирающийся в радиальном направлении от одной области этого участка поворотного вала, чтобы входить в контакт с реле максимального тока; приводной рычаг, простирающийся от другой области этого участка поворотного вала, чтобы поворачиваться одновременно с этим участком поворотного вала, нажимая таким образом на размыкающий модуль, чтобы выполнить операцию размыкания; и упругий элемент, предназначенный для воздействия упругой силы в таком направлении, чтобы в результате заставить рабочий рычаг войти в контакт с реле максимального тока.
12. Модуль по п.11, в котором размыкающий ползун обеспечен приводным выступом, который выступает для контактирования с приводным рычагом.
13. Модуль по п.10, согласно которому в главном корпусе выполнен направляющий участок, служащий для направления реле максимального тока.
14. Модуль по п.1, дополнительно содержащий устройство подачи сигнала размыкания, взаимодействующее с исполнительным механизмом, для обеспечения подачи сигнала размыкания наружу, когда этот исполнительный механизм выполняет операцию размыкания.
15. Модуль по п.14, в котором устройство подачи сигнала размыкания содержит: выключатель, предназначенный для подачи сигнала при контакте с ним; и элемент взаимодействия, взаимодействующий с размыкающим ползуном, чтобы войти в контакт с выключателем, когда этот размыкающий ползун находится в размыкающем положении.
16. Модуль по п.15, в котором устройство подачи сигнала размыкания дополнительно содержит контактный элемент, расположенный между элементом взаимодействия и выключателем.
17. Модуль по п.15, дополнительно содержащий блок обеспечения возврата в исходное положение, предназначенный для возврата устройства подачи сигнала размыкания в его исходное положение.
18. Модуль по п.17, дополнительно содержащий: нажимной ползун, расположенный с одной стороны размыкающего ползуна, чтобы при скольжении нажимом направлять этот размыкающий ползун к размыкающему положению; пружину размыкающего ползуна, предназначенную для применения упругой силы с целью перемещения этого нажимного ползуна к размыкающему положению; при этом блок обеспечения возврата в исходное положение содержит рычаг возврата в исходное положение, расположенный с одной стороны нажимного ползуна, чтобы иметь возможность поворачиваться между размыкающим положением и замыкающим положением, а также иметь возможность перемещать нажимной ползун к замыкающему положению.
19. Модуль по п.18, дополнительно содержащий: защелку, поворачивающуюся между фиксирующим положением, при котором она фиксирует нажимной ползун в замыкающем положении, и высвобожденным положением, при котором зафиксированный нажимной ползун высвобождается; и пружину защелки, предназначенную для применения упругой силы с целью поворота данной защелки к фиксирующему положению; при этом размыкающий ползун возвращается к замыкающему положению с помощью этой защелки, когда нажимной ползун находится в размыкающем положении.
20. Модуль по п.18, в котором блок обеспечения возврата в исходное положение дополнительно содержит штырь возврата в исходное положение, выступающий при взаимодействии с рычагом возврата в исходное положение от одной стороны реле максимального тока наружу и при нажатии возвращающий этот рычаг возврата к замыкающему положению.
21. Модуль по п.20, в котором блок обеспечения возврата в исходное положение дополнительно содержит пружину штыря возврата в исходное положение, предназначенную для приложения упругой силы, с помощью которой этот штырь возврата перемещается к рычагу возврата.
22. Модуль по п.20, в котором блок обеспечения возврата в исходное положение дополнительно содержит кнопку возврата в исходное положение, установленную таким образом, что один ее участок находится снаружи, а другой участок прикреплен к штырю возврата в исходное положение.
23. Модуль по п.1, дополнительно содержащий: устройство подачи сигнала выдержки времени, взаимодействующее с главным валом с целью подачи сигнала с заранее установленной выдержкой времени после того, как неподвижный контактор вступает в контакт с подвижным контактором; размыкающее устройство взаимодействия с реле максимального тока, которое взаимодействует при отсоединении этого реле максимального тока, чтобы осуществить размыкание механизма переключения; устройство подачи сигнала размыкания, взаимодействующее с исполнительным механизмом, для подачи наружу сигнала размыкания, когда этот исполнительный механизм выполняет операцию размыкания.
24. Автоматический выключатель, имеющий размыкающий модуль, содержащий: главный корпус автоматического выключателя, содержащий неподвижный контактор и подвижный контактор, главный вал, механизм переключения, взаимодействующий с этим главным валом и подвижным контактором, чтобы включать или выключать эти неподвижный и подвижный контакторы; реле максимального тока, присоединенное к главному корпусу автоматического выключателя для обнаружения тока повреждения; при этом размыкающий модуль по любому из пп.1-3 располагается между реле максимального тока и механизмом переключения.
25. Автоматический выключатель по п.24, дополнительно содержащий блок обеспечения возврата исполнительного механизма в исходное положение, который взаимодействует с пластиной возврата, чтобы возвратить этот исполнительный механизм размыкающего модуля в исходное положение.
26. Автоматический выключатель по п.25, дополнительно содержащий устройство подачи сигнала выдержки времени, взаимодействующее с главным валом для подачи сигнала с заранее установленной выдержкой времени после того, как неподвижный контактор входит в контакт с подвижным контактором.
27. Автоматический выключатель по п.25, дополнительно содержащий размыкающее устройство взаимодействия с реле максимального тока, которое осуществляет это взаимодействие при отсоединении этого реле максимального тока, чтобы осуществить размыкание механизма переключения.
28. Автоматический выключатель по п.25, дополнительно содержащий устройство подачи сигнала размыкания, взаимодействующее с исполнительным механизмом для подачи сигнала размыкания наружу, когда этот исполнительный механизм выполняет операцию размыкания.
29. Автоматический выключатель по п.25, дополнительно содержащий: устройство подачи сигнала выдержки времени, взаимодействующее с главным валом для подачи сигнала с заранее установленной выдержкой времени после того, как неподвижный контактор входит в контакт с подвижным контактором; размыкающее устройство взаимодействия с реле максимального тока, которое осуществляет это взаимодействие при отсоединении этого реле максимального тока, чтобы осуществить размыкание механизма переключения; и устройство подачи сигнала размыкания, взаимодействующее с исполнительным механизмом для подачи сигнала размыкания, когда этот исполнительный механизм выполняет операцию размыкания.
РИСУНКИ
|
|