|
|
(21), (22) Заявка: 2007127257/09, 09.12.2005
(24) Дата начала отсчета срока действия патента:
09.12.2005
(30) Конвенционный приоритет:
17.12.2004 IT TV2004A000153
(43) Дата публикации заявки: 27.01.2009
(46) Опубликовано: 10.01.2010
(56) Список документов, цитированных в отчете о поиске:
US 4824059 А, 09.09.2003. RU 42377 U1, 27.11.2004. RU 40144 U1, 10.09.2004. RU 26176 U1, 10.11.2002. RU 2185650 C1, 20.07.2002. US 4733776 A, 29.03.1988.
(85) Дата перевода заявки PCT на национальную фазу:
17.07.2007
(86) Заявка PCT:
EP 2005/056642 20051209
(87) Публикация PCT:
WO 2006/063966 20060622
Адрес для переписки:
103735, Москва, ул.Ильинка, 5/2, ООО “Союзпатент”, пат.пов. С.В.Истомину
|
(72) Автор(ы):
МАРКЕТТО Оскар (IT)
(73) Патентообладатель(и):
НИЧЕ СПА (IT)
|
(54) МОДУЛЬНЫЙ ПРИБОР ДИСТАНЦИОННОГО УПРАВЛЕНИЯ
(57) Реферат:
Изобретение относится к области электротехники. Техническим результатом является расширение области использования. Модульный прибор дистанционного управления содержит, по меньшей мере, один автономный блок (20а; 20b; 20с; 20d; 20e; 20f) передачи, снабженный, по меньшей мере, одной клавишей (30) и, по меньшей мере, одной подставкой (40а, 40b, 40с, 40d) для упомянутого, по меньшей мере, одного блока (20а; 20b; 20с; 20d; 20e; 20f), причем упомянутый, по меньшей мере, один блок (20а; 20b; 20с; 20d; 20e; 20f) съемно устанавливается с натягом в посадочном месте (44а; 44b; 44с) с соответствующими размерами, сформированном на поверхности (42а, 42b, 42с) упомянутой подставки, чтобы обеспечить возможность комбинирования, по меньшей мере, одного блока с упомянутой, по меньшей мере, одной подставкой, формируя тем самым прибор дистанционного управления. 2 н. и 10 з.п. ф-лы, 10 ил.
Настоящее изобретение относится к модульному прибору дистанционного управления. Ниже, ради простоты, будет сделана ссылка на конкретный случай автоматизированной системы для ворот, задвижек и тому подобного, но очевидно, что изобретение охватывает и другие области.
В последние несколько лет стали широко распространенными автоматизированные системы для дома, такие как ворота, задвижки, поднимающиеся навесы, входные двери и гаражные двери. Все эти автоматизированные системы снабжаются сейчас приборами дистанционного управления, которые работают посредством инфракрасных лучей или радиоволн, через которые пользователь может управлять работой по желанию.
Существуют различные типы приборов дистанционного управления, но принципиально они подразделяются на портативные и установленные в стене приборы дистанционного управления. Приборы первого типа имеют малые размеры, так что их можно легко удерживать одной рукой, тогда как приборы второго типа фиксируются на стене. Приборы первого типа имеют ограниченное число клавиш для ограниченного числа функций (обычно от 1 до 4 клавиш, так что их размер может сохраняться малым), тогда как приборы второго типа могут иметь большее число клавиш (клавишную панель), чтобы иметь большее число функций.
Зачастую второй тип прибора дистанционного управления может быть встроен в другие приборы, такие как выключатель освещения или блок управления, либо может содержать органы управления для обращения с автоматизированной системой. Очевидно, что эти приборы дистанционного управления после фиксации на стене или встраивания в другой прибор нельзя легко и быстро заменить при необходимости либо поддерживать во вкусе пользователя, поскольку это требует содействия специализированного персонала при значительной стоимости.
Кроме того, вследствие разнообразной природы применений для автоматизированных систем (ворота, служебные двери, задвижки, ставни, гаражные двери, навесы и т.п.) требуется использовать многочисленные портативные или укрепленные на стене приборы дистанционного управления, что приводит к высоким затратам на покупку и к трудности в отношении обращения с ними пользователя.
Приборы дистанционного управления для автоматизированных систем стали теперь «поставляемыми комплектами». Действительно, особое внимание фокусируется на эргономике и дизайне, как и у всех изделий, которые попадают под власть моды, они подвергаются частому пересмотру или модернизации. Пользователи, которые хотят заменить свои приборы дистанционного управления заново сконструированными приборами дистанционного управления, должны заменять, если это возможно, весь блок дистанционного управления (это зависит также от того, совместим ли новый прибор дистанционного управления со старой принимающей секцией).
Это порождает необходимость получить автоматизированную систему со связанным «универсальным» прибором дистанционного управления, который можно легко приспособить к вышеупомянутым требованиям, в частности, который можно легко приспособить пользователем к стилю его собственного дома, магазина или офисного помещения, чтобы, если возможно, пользователь не должен был приобретать полные блоки дистанционного управления, которые отличаются друг от друга.
Основная цель настоящего изобретения состоит в получении группы приборов дистанционного управления для автоматизированных систем, которая не имеет недостатков уровня техники.
Эта и другие цели достигаются модулярным прибором дистанционного управления, содержащим по меньшей мере один блок передачи, снабженный по меньшей мере одной клавишей, и подставку для упомянутого по меньшей мере одного блока, причем упомянутый по меньшей мере один блок съемно устанавливается с натягом в посадочном месте с соответствующими размерами, сформированном на поверхности упомянутой подставки, чтобы дать возможность взаимной замены упомянутого по меньшей мере одного блока с упомянутой подставкой.
Основной отличительный признак изобретения состоит поэтому в обеспечении блока передачи, независимого от подставки, на которой он может фиксироваться с помощью временного крепежного средства и с которой его можно легко удалить для введения в другую подставку. Следовательно, достаточно выпустить единственный электронный передающий модуль (работающий на радиоволнах, инфракрасных лучах и т.п.), который связан, если необходимо, с подставками, пригодными для образования конечного применения этого прибора дистанционного управления. Для этой цели блок передачи образует автономный модуль, который включает все функции и компоненты, необходимые для корректировки его работы, в том числе независимый источник питания, цепи (кодированной или некодированной) передачи и (или) приема, пользовательские интерфейсы (дисплеи, приборы акустической сигнализации и т.п.).
В преимущественном варианте прибора дистанционного управления упомянутый блок и упомянутое посадочное место имеют вид параллелепипеда с квадратным основанием, чтобы позволить вводить этот блок в посадочное место с четырьмя относительными положениями. Это обеспечивает приспособление передатчика к конкретным требованиям.
Другие преимущественные варианты перечислены в зависимых пунктах формулы изобретения.
Преимущества изобретения станут яснее из нижеследующего описания варианта осуществления изобретения, представленного посредством неограничивающего примера. Это описание будет ссылаться на сопровождающие чертежи, на которых:
фиг.1 показывает блок передачи согласно изобретению;
фиг.2 показывает первый вариант блока передачи согласно изобретению;
фиг.3 показывает второй вариант блока передачи согласно изобретению;
фиг.4 показывает подставку для блока передачи по фиг.1-3 согласно изобретению;
фиг.5 показывает первый вариант подставки для блока передачи по фиг.1-3 согласно изобретению;
фиг.6 показывает второй вариант подставки для блока передачи по фиг.1-3 согласно изобретению;
фиг.7 показывает в сочетании подставку согласно фиг.6 и блок передачи согласно изобретению;
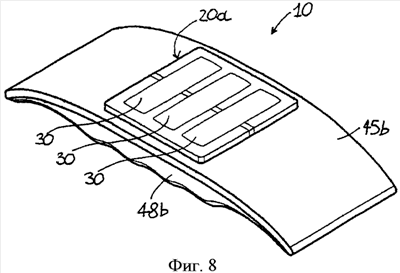
фиг.8 показывает в сочетании подставку согласно фиг.5 и блок передачи согласно изобретению;
фиг.9 и 10 показывают в сочетании варианты подставки и блока передачи согласно изобретению.
На чертежах прибор дистанционного управления согласно изобретению отмечен в общем позицией 10. Он содержит – см. фиг.1, 2 и 3 – один или несколько блоков 20а, 20b, 20с передачи, которые запитываются посредством аккумулятора (не показано) и снабжены клавишами 30, и подставку, отмеченную общей ссылочной позицией 40, для упомянутых блоков 20а, 20b, 20с. Ниже индексы «а», «b», «с» и т.п. будут использоваться для ссылки на варианты того же самого элемента, а клавиши известного типа будут отмечаться в общем позицией 30.
На фиг.1 блок 20а имеет форму параллелепипеда с квадратным основанием и содержит три клавиши 30, которые предназначены для управления функциями операционной системы (не показана).
На фиг.2 блок 20b опять-таки имеет форму параллелепипеда с квадратным основанием и содержит шесть клавиш 30, которые также предназначены для управления функциями операционной системы.
На фиг.3 блок 20с, который имеет форму параллелепипеда с квадратной базой, содержит шесть клавиш 30, которые предназначены для управления функциями операционной системы, и дисплей 32. Дисплей 32 может быть жидкокристаллическим, из светодиодных сегментов или типа точечной матрицы.
Фиг.5 показывает пластину 40а подставки, которая имеет на своей поверхности 42а посадочное место 44а с размерами, соответствующими размерам блоков 20а, 20b, 20с. Пластина 40а может крепиться на стене и имеет, поэтому специальные крепежные средства (не показано – к примеру, отверстия для стенных винтов) или может устанавливаться на известных подставках, таких как установочные пластины и (или) традиционные осветительные штепсельные розетки.
Фиг.5 показывает рукоятку 40b, которая имеет на своей поверхности 42b посадочное место 44b с размерами, соответствующими размерам блоков 20а, 20b, 20с. Рукоятка 40b состоит из двух частей, соединенных вместе и размещенных одна поверх другой: удлиненная жесткая верхняя пластина 45b, внутри которой образовано упомянутое посадочное место 42b и которая связана с нескользким гофрированным мягким элементом 48b, который предпочтительно сделан из резины.
Фиг.6 показывает подставку 40с для блока 20а, 20b или 20с передачи, которая состоит из сплюснутого блока с закругленными концами, пригодными для формирования, когда он сцеплен с упомянутыми блоками 20а, b, с, устанавливаемыми в посадочном месте 44с с соответствующими размерами в ее поверхности 42с, блок 10 дистанционного управления, который можно расположить где угодно в доме (на столе, ночном столике и т.п.) (см. фиг.7).
Упомянутые блоки 20а, b, с могут сцепляться посредством ручной операции в посадочном месте 44а пластины 40а, в посадочном месте 44b рукоятки 40b или в посадочном месте 44с подставки 40с. Прибор 10 дистанционного управления, который получается из зацепления блока 20а в случае пластины 40а и рукоятки 40b, можно видеть на фиг.6 и фиг.7.
Узел, состоящий из блока 20а, 20b или 20с и рукоятки 40b, образует портативный прибор 10 дистанционного управления. Мягкий элемент 48 имеет функцию сделать прибор 10 дистанционного управления удобным для захвата, а также обеспечить защитную прокладку подставки и защитить ее в случае нечаянного падения.
Квадратная форма блоков 20а, b, с на виде сверху и соответствующих посадочных мест 44а, 44b или 44с позволяет вводить любой из блоков 20а, b, с в посадочное место 42а, 44а или 44с в четырех различных положениях с поворотом на 90° по отношению друг к другу, а следовательно, с ориентацией блоков 20а, b, с, какая необходима. Из этого можно понять, как возможно соединить по желанию прибор 10 дистанционного управления путем выбора одного из трех блоков 20а, b, с для пластины 40а или для рукоятки 40b.
Фиг.9 показывает подставку 40с для блока 20d передачи. В этом случае блок 20d содержит единственную клавишу 30. Блок 20d имеет форму полукруга и вводится в соответствующее полукруглое посадочное место (не показано) подставки 40с. Вторая полукруглая часть 50 также присутствует в подставке 40с, будучи введенной в соответствующе посадочное место, причем эта часть имеет эстетическую функцию (она может отображать, к примеру, логотип) и ее можно удалить в любое время для введения другого блока передачи, если нужно оперировать отличными системами.
На фиг.10 подставка 40d для блоков передачи снова представляет собой сплюснутый блок со скругленными краями наподобие подставки 40с. В нее можно вставить два блока 20е, f передачи, чтобы образовать блок 10е управления, который можно располагать где угодно внутри дома (на столе, ночном столике и т.п.). В этом случае блок 20е содержит три клавиши 30, а блок 20f содержит две клавиши 30. Блоки 20е и 20f имеют прямоугольную форму на виде сверху и вставляются в соответствующие посадочные места прямоугольной формы в подставке 40d. Аналогично фиг.9 часть 51 присутствует в подставке 40d, будучи вставлена в соответствующее прямоугольное посадочное место подставки 40d (не показано), не имея никакой функции, и может быть позднее заменена, если необходимо, другим блоком передачи.
Очевидно поэтому, что можно сочетать с подставкой 40d один или несколько блоков передачи, таких как отмеченные позициями 20е или 20f, достаточно лишь сформировать на упомянутой подставке 40d соответствующие посадочные места, в которые они вставляются. В этом случае формируются различные приборы дистанционного управления, как и ранее, способные приспосабливаться к любой среде при очень низкой стоимости, поскольку заменяется только подставка 40, а не интеллектуальная электроника блока передачи. Поэтому достаточно обеспечить отдельно единственный блок 20 и комбинировать его со многими подставками 40, чтобы получить конечные использования. Существует, кроме того, экономическое преимущество с точки зрения производства, поскольку производится стандартная часть (блок 20), и она «украшается», как требуется, тогда как согласно уровню техники для модифицирования эстетического вида прибора дистанционного управления необходимо модифицировать также и форму, размеры и внутреннее размещение управляющих компонентов. Поэтому изобретение достигает ранее указанной цели.
Подставка 40а, b, с, d может, например, быть сделана из пластмасс, дерева или металла. Из чертежей очевидно, что прибор 10 дистанционного управления может иметь блок передачи с различными формами (например, круглый или два полумесяца, см. чертежи) или с несколькими передатчиками (один, два, три или больше). Кроме того, подставки 40 и блоки 20 могут быть сделаны с формами, цветами и функциями, отличными от описанных, и размещение блоков 20 на подставке 40 также может иметь разную компоновку. Источник питания блока 20 может быть встроен в подставку 40, и питание можно передавать в блок 20 по известным соединениям.
Возможно также использовать (известные) методы для временной фиксации блока 20 к подставке 40 (винты, штифты, петли, язычки и т.п.).
Формула изобретения
1. Модульный прибор (10) дистанционного управления, состоящий из, по меньшей мере, одного автономного блока (20а; 20b; 20с; 20d; 20e; 20f) передачи, снабженного, по меньшей мере, одной клавишей (30), и, по меньшей мере, одной подставки (40а, 40b, 40с, 40d) для упомянутого, по меньшей мере, одного блока (20а; 20b; 20с; 20d; 20e; 20f), причем упомянутый, по меньшей мере, один блок (20а; 20b; 20с; 20d; 20e; 20f) съемно устанавливается с натягом в посадочном месте (44а; 44b; 44с) с соответствующими размерами, сформированном на поверхности (42а, 42b, 42с) упомянутой, по меньшей мере, одной подставки, чтобы обеспечить возможность комбинирования, по меньшей мере, одного блока с упомянутой, по меньшей мере, одной подставкой, формируя тем самым прибор дистанционного управления.
2. Модульный прибор (10) дистанционного управления по п.1, в котором указанное посадочное место (44а; 44b; 44с) представляет собой углубление в указанной поверхности (42а, 42b, 42с).
3. Модульный прибор (10) дистанционного управления по п.2, в котором каждое посадочное место (44а; 44b; 44с) выполнено того же размера, что и каждая поставка.
4. Модульный прибор (10) дистанционного управления по п.1, в котором упомянутый, по меньшей мере, один блок (20а; 20b; 20с) и упомянутое посадочное место (44а; 44b; 44с) имеют форму параллелепипеда с квадратным основанием.
5. Модульный прибор (10) дистанционного управления по п.1, в котором упомянутый, по меньшей мере, один блок (20а; 20b; 20с) и упомянутое посадочное место (44а; 44b; 44с) имеют круглую форму.
6. Модульный прибор (10) дистанционного управления по п.1, в котором, по меньшей мере, одна из упомянутых подставок (40а) представляет собой пластину, сконструированную для крепления к стене.
7. Модульный прибор (10) дистанционного управления по п.1, в котором, по меньшей мере, одна из упомянутых подставок (40а) представляет собой удлиненную жесткую пластину (42b), внутри которой образовано посадочное место (44b), и связана с нескользким гофрированным мягким элементом (48).
8. Модульный прибор (10) дистанционного управления по п.1, в котором, по меньшей мере, одна из упомянутых подставок (40с) представляет собой сплюснутый блок со скругленными краями.
9. Модульный прибор (10) дистанционного управления по п.1, в котором упомянутый блок (20с) содержит дисплей (32).
10. Модульный прибор (10) дистанционного управления по п.1, в котором упомянутый, по меньшей мере, один блок (20а; 20b; 20с; 20d; 20e; 20f) передачи устанавливается в упомянутом посадочном месте упомянутого набора подставок (40а; 40b; 40с; 40d) посредством временных крепежных элементов.
11. Модульный прибор (10) дистанционного управления по п.1, в котором упомянутый блок (20а; 20b; 20с; 20d; 20e; 20f) относится к типу, содержащему независимый источник питания.
12. Автоматизированная система для ворот, задвижек или поднимающихся навесов, содержащая набор приборов дистанционного управления по предшествующим пунктам.
РИСУНКИ
|
|