|
|
(21), (22) Заявка: 2006124545/28, 22.11.2004
(24) Дата начала отсчета срока действия патента:
22.11.2004
(30) Конвенционный приоритет:
09.12.2003 US 10/731,989
(43) Дата публикации заявки: 20.01.2008
(46) Опубликовано: 10.01.2010
(56) Список документов, цитированных в отчете о поиске:
US 2002/126364 A1, 12.09.2002. US 6429601 B1, 06.08.2002. JP 2002-062490 A, 28.02.2002.
(85) Дата перевода заявки PCT на национальную фазу:
10.07.2006
(86) Заявка PCT:
US 2004/039312 20041122
(87) Публикация PCT:
WO 2005/062284 20050707
Адрес для переписки:
129090, Москва, ул. Б.Спасская, 25, стр.3, ООО “Юридическая фирма Городисский и Партнеры”, пат.пов. Ю.Д.Кузнецову, рег. 595
|
(72) Автор(ы):
СЕМПСЕЛЛ Джеффри Брайан (US), ЧУЙ Клэренс (US), КОТХАРИ Маниш (US)
(73) Патентообладатель(и):
АйДиСи, ЭлЭлСи (US)
|
(54) МОДУЛЯЦИЯ МАССИВА ПО ПЛОЩАДИ И УМЕНЬШЕНИЕ ВЫВОДОВ В ИНТЕРФЕРЕНЦИОННЫХ МОДУЛЯТОРАХ
(57) Реферат:
Изобретение относится к интерференционным модуляторам света. Модулятор света содержит массив, содержащий строки и столбцы интерференционных элементов отображения, множество линий соединения массива, сконфигурированных для передачи рабочих сигналов в элементы отображения, и множество переключателей. Каждый интерференционный элемент отображения является разделенным на подстроки одного или большего количества подэлементов. Каждая линия соединения соответствует строке элементов отображения. Переключатели сконфигурированы для передачи рабочих сигналов из каждой линии соединения массива в выбранную одну из указанных подстрок. Технический результат – обеспечение модуляции со шкалой полутонов, понижение числа выводов в модуляторе. 9 н. и 31 з.п. ф-лы, 12 ил., 1 табл.
Уровень техники
Интерференционные модуляторы, такие как iMoDTM, модулируют свет посредством управления собственными помехами света, который попадает на переднюю поверхность модулятора. Эти типы модуляторов обычно используют полость, имеющую по меньшей мере одну подвижную или отклоняемую стенку. Эти отклоняемые стенки движутся по плоскостям, параллельным передней стенке полости стенки, которая встречается при попадании света на переднюю поверхность модулятора. Когда подвижная стенка, обычно состоящая по меньшей мере частично из металла и высоко отражающая, движется по направлению к передней поверхности полости, внутри полости возникают собственные помехи света и изменяющееся расстояние между передней и подвижной стенкой воздействует на цвет света, который выходит из полости через переднюю поверхность. Поскольку интерференционные модуляторы обычно являются устройствами прямого наблюдения, передняя поверхность обычно является поверхностью, где появляется изображение, наблюдаемое наблюдающим.
Как правило, интерференционные модуляторы сконструированы из мембран, сформированных над опорами, опоры определяют индивидуальные механические элементы, соответствующие элементам изображения (пикселям). В монохромном дисплее, таком как дисплей, который переключает между черным и белым, один элемент может соответствовать одному пикселю. В цветном дисплее каждый пиксель могут составлять три элемента, один для красного, один для зеленого и один для синего. Для создания требуемой отражательной способности пикселя отдельно управляют индивидуальными элементами.
В одном примере работы на подвижную стенку полости подают напряжение, вызывая ее электростатическое притяжение к передней поверхности, что в свою очередь воздействует на цвет пикселя, наблюдаемого наблюдателем. Существует трудность в создании модуляторов с точными и стабильными прочностными свойствами, так чтобы определенные аналогичные подаваемые напряжения создавали определенные аналогичные смещения подвижной стенки, которая действует, как зеркало в задней части интерференционной полости.
Для создания точных и стабильных комбинаций цвета обычные модуляторы используют только двойное смещение подвижного зеркала. В этом режиме работы любая заданная подвижная стенка-зеркало будет обнаружена неподвижной или в своем состоянии покоя, где она создает одно из цветных состояний, упомянутых выше, или в своем полностью отклоненном состоянии, где она создает черное оптическое состояние.
Соответственно, эти модуляторы с двоичным режимом работы обеспечивают возможность отображения только двух серых уровней на пиксель, таких как черный и белый в случае монохромного модулятора, или восьми цветов на пиксель, таких как, например, красный, зеленый, синий, голубой, желтый, сиреневые, черный и белый в случае цветного модулятора. Желательно отображать дополнительные оттенки серого в монохромном дисплее и дополнительные цвета в случае цветного дисплея. Так как управление аналогичным отклонением единственного монохромного зеркала на пиксель или трех цветных зеркал на пиксель может быть необоснованно затруднительным, становится необходимой разработка архитектуры модулятора с более сложной структурой пикселя.
Сущность изобретения
В одном варианте осуществления изобретения предусмотрен модулятор света, содержащий множество интерференционных модуляторов, в котором интерференционные модуляторы размещены в строках и столбцах, определяющих массив, множество линий соединения, сконфигурированных для передачи рабочего сигнала в интерференционные модуляторы, и множество переключателей, сконфигурированных для переключения рабочего сигнала на выбранную одну строку из строк интерференционных модуляторов.
В другом варианте осуществления изобретения предусмотрен способ управления модулятором света, включающий в себя формирование рабочего сигнала для установки состояния множества интерференционных модуляторов света, размещенных в массиве из строк и столбцов, и переключение рабочего сигнала на выбранную одну строку из строк интерференционного модулятора света.
В другом варианте осуществления изобретения предусмотрен способ изготовления интерференционного модулятора света, включающий в себя обеспечение массива интерференционных элементов отображения, размещенных в строках и столбцах, каждый элемент отображения содержит предварительно определенное количество подстрок подэлементов, причем предварительно определенное количество подстрок зависит от требуемой битовой глубины для отображения, и предварительно определенное количество подстолбцов внутри каждой подстроки, размещающих линии соединения массива для каждой строки так, чтобы каждая линия соединения соответствовала одной строке массива, и обеспечение электрического соединения между линией соединения массива для каждой строки с одной из подстрок соответствующей строки массива.
В другом варианте осуществления изобретения предусмотрен модулятор света, содержащий множество интерференционных модуляторов и по меньшей мере одну линию соединения массива, сконфигурированную для передачи рабочего сигнала по меньшей мере в один из интерференционных модуляторов, причем по меньшей мере один из интерференционных модуляторов сконфигурирован для избирательного соединения линии соединения массива по меньшей мере с одним другим интерференционным модулятором.
В другом варианте осуществления изобретения предусмотрен способ изготовления модулятора света, включающий в себя обеспечение массива интерференционных элементов отображения, размещенных в строках и столбцах, каждый элемент содержит по меньшей мере один каскад подэлементов предварительно определенного количества подэлементов, так чтобы по меньшей мере один подэлемент был сконфигурирован для избирательного формирования электрического соединения, соединяющего линию соединения массива по меньшей мере с одним другим подэлементом, и электрическое соединение первого элемента в каждом каскаде подэлементов в строке с соответствующей линией соединения для этой строки.
В другом варианте осуществления изобретения предусмотрен способ управления модулятором света, включающий в себя формирование рабочего сигнала, содержащего импульс напряжения для установки состояния множества интерференционных модуляторов света, к которым относится рабочий сигнал, и установку состояния части из множества интерференционных модуляторов в ответ на рабочий сигнал, причем эту часть выбирают на основе длительности импульса напряжения.
В другом варианте осуществления изобретения предусмотрен модулятор света, содержащий множество средств интерференционной модуляции света, причем средства интерференционной модуляции света размещены в массиве, состоящем из строк и столбцов, средство передачи рабочего сигнала и средство переключения средства передачи на выбранную одну из строк средств модуляции света.
В другом варианте осуществления изобретения предусмотрен модулятор света, содержащий множество средств интерференционной модуляции света и средство передачи рабочего сигнала по меньшей мере в одно из средств модуляции света, причем по меньшей мере одно из средств модуляции света сконфигурировано для избирательного соединения средства передачи по меньшей мере с одним другим средством модуляции света. В дополнительном варианте осуществления изобретения модулятор света дополнительно содержит средство электрического соединения одного из одного или нескольких средств интерференционной модуляции света по меньшей мере с одним другим из одного или нескольких средств интерференционной модуляции света.
Краткое описание чертежей
Варианты осуществления изобретения могут стать более понятными при изучении описания со ссылками на чертежи.
Фиг.1 изображает пример интерференционного модулятора.
Фиг.2 на основе правила площадей ЖК (LCD) модулятора изображает известное из уровня техники осуществление пикселей, включая соответствующие ему соединительные выводы.
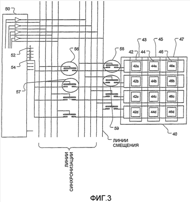
Фиг.3 изображает вариант осуществления интерференционного модулятора, использующего модуляцию массива на основе площади, имеющего сокращенные выводы.
Фиг.4 изображает временную диаграмму для интерференционного модулятора с мультиплексированием.
Фиг.5 изображает другой вариант осуществления интерференционного модулятора, использующего модуляцию массива на основе площади, имеющего сокращенные выводы.
Фиг.6 изображает временную диаграмму для интерференционного модулятора, использующего одинаково взвешенные площади.
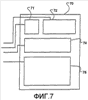
Фиг.7 изображает другой вариант осуществления интерференционного модулятора, использующего модуляцию массива на основе площади.
Фиг.8a-8c изображают вариант осуществления элементов электрически каскадированного интерференционного модулятора.
Фиг.9 изображает вариант осуществления отклоняемых элементов, подобных элементам интерференционного модулятора, используемых как переключатели.
Фиг.10 изображает график, иллюстрирующий, как могут быть избирательно адресованы отклоняемые элементы посредством изменения амплитуды и продолжительности импульса напряжения.
Предпочтительный вариант осуществления изобретения
Фиг.1 изображает пример интерференционного модулятора света. Этим определенным примером является iMoDTM, но варианты осуществления изобретения могут использовать любой интерференционный модулятор. Не подразумеваются или не предусматривается никакое ограничение до модуляторов iMoDTM.
Модулятор обычно состоит из массива индивидуальных элементов, размещенных в строках и столбце(ах). Один элемент, изображенный на фиг.1, имеет слой 12 электрода на прозрачной подложке, обычно стекле. Одна поверхность 14 модулятора является оптически резонирующей, интерференционная полость изготовлена на слое электрода, и эту поверхность покрывает оксидный слой 16. Поверхность, параллельная полости, зеркала 20 подвешена над полостью посредством опоры 18. При работе, когда активизируют слой электрода на стеклянной подложке, зеркало 20 электростатически притягивается к стеклянной подложке. Отклонение зеркала 20 изменяет размеры полости и вызывает модуляцию света внутри полости посредством интерференции.
Результирующий элемент изображения (пиксель) из дисплея прямого наблюдения будет составлен из элементов, таких как изображен на фиг.1. Каждый из этих элементов модулятора с зеркалом 20 в неотклоненном состоянии будет ярким или включенным. Когда зеркало 20 передвигается до своей полной разработанной глубины в полости в направлении передней поверхности полости, изменение в полости приводит к тому, что результирующий пиксель становится темным или выключенным. Для цветных пикселей во включенном состоянии индивидуальный элемент модуляции может быть белым, красным, зеленым, синим или другого цвета в зависимости от конфигурации модулятора и комбинации взаимодополняющих цветов для элементов экрана (дисплея). Обычно один цветной пиксель будет состоять из некоторого количества элементов модулятора, которые создают интерференционный синий свет, идентичного количества элементов, которые создают интерференционный красный свет, и идентичного количества (элементов), которые создают интерференционный зеленый свет. Посредством передвижения зеркал согласно информации дисплея модулятор может создавать многоцветные изображения.
Основной дисплей одновременно активизирует все элементы модулятора заданного цвета в пределах пикселя, в результате возможны восемь цветов на пиксель. Настоящее изобретение обеспечивает активацию некоторых элементов заданного цвета в пределах пикселя, отдельно от других элементов того же самого цвета. Это обеспечивает возможность смешения в пределах заданного пикселя многих интенсивностей красного света, многих интенсивностей синего света и многих интенсивностей зеленого света. Результатом будет то, что интерференционный дисплей скорее будет обеспечивать возможность тысяч цветов на пиксель, чем будет ограничен 8 цветами на пиксель.
Подобные типы модуляции с взвешиванием по площади были осуществлены на практике в других типах дисплеев. Например, фиг.2, которая соответствует фиг.9 в патенте США 5499037, изображает способ с взвешиванием по площади. В этом примере обеспечиваются 16 уровней интенсивности посредством создания подпикселя, содержащего 9 отдельных элементов пикселя, адресованных шестью электродами, из которых три сформированы как горизонтальные соединительные выводы и три сформированы как вертикальные соединительные выводы. Многоцветный пиксель, сформированный таким образом, может иметь 9 вертикальных выводов, три для красного, три для зеленого и три для синего, и на фиг.2 изображено три идентичных горизонтальных вывода. Этот пиксель обеспечивает 4096 цветов (16×16×16), но при использовании 12 выводов это приведет к гораздо более сложной системе дисплея, чем пиксель с четырьмя выводами, обеспечивающий восемь цветов.
Поскольку индивидуальные элементы интерференционных модуляторов имеют тенденцию работать в двоичном режиме, ярком в состоянии покоя и темном в полностью отклоненном состоянии, аналогичная операция не является
легкодоступной. Следовательно, интерференционные модуляторы, вероятно, должны получить преимущество от способа работы на основе правила площадей. Одной задачей варианта осуществления данного изобретения является обеспечение способа работы на основе правила площадей, который однозначно соответствует для применения для интерференционных модуляторов и который уменьшает сложность, требуемую предыдущими осуществлениями.
На фиг.3 изображен один вариант осуществления архитектуры интерференционного модулятора на основе правила площадей, требующий меньшего количества выходных контактов и продолжающий обеспечивать более высокую битовую глубину. Задающее устройство 50 имеет один выходной контакт на строку дисплея, и между каждым выходным контактом задающего устройства и соответствующей строкой массива модуляторов обеспечивается линия соединения. Соединение одной строки мультиплексировано между подэлементами, которые содержат подстроки элемента отображения. Термин “элемент отображения” был введен здесь для определения некоторой площади полной поверхности дисплея. Элемент отображения является совокупностью подэлементов, которая обычно решается, как часть дисплея, представляющая последовательный набор информации изображения. Наиболее обычный элемент отображения должен соответствовать единственному пикселю в результирующем изображение. На фиг.3, в случае, где 40 представляет пиксель, элемент 40 отображения был разделен не более, чем на три столбца 42, 44 и 46, обычно один для каждого цвета, такого как красный, зеленый и синий. Дополнительно, каждый столбец был разделен не более, чем на 4 подэлемента, размещенных в подстроках.
Для понимания того, как функционирует система на фиг.3, полагается, что выходы выбора строки задающего устройства 50, обычно, становятся активны в последовательной схеме, начиная с выхода 1, затем переходя к выходу 2 и так далее. Когда сигналы синхронизации приводят к тому, что становится активнее строка 5, переключатель 56 замыкается и переключать 58 становится разомкнутым, вызывая подачу активного напряжения контактов задающего устройства на подстроку подэлементов 42a, 44a и 46a. Чтобы вызвать переключение подэлементов 42a, 44a, и 46a в состояния, соответствующие текущему содержимому изображения, ассоциированному с элементом 40 отображения, одновременно возбуждаются соответствующими напряжениями линии 43, 45 и 47 передачи данных, которые могут быть соединены с замыкающим устройством, не изображенным на фиг.3.
Как только подэлементы 42a, 42b и 42c достигают своих вновь адресованных позиций, переключатель 56 становится разомкнутым, и переключатель 58 замыкается. Сразу после этого переключатель 57 замыкается и переключатель 59 размыкается, и линии 43, 45 и 47 передачи данных возбуждаются для соответствующих значений для подпикселей 42b, 44b и 46b. Эта последовательность продолжается, пока эти три линии передачи данных не были возбуждены четырьмя различными наборами данных, для обновления двенадцати подпикселей в элементе 40 отображения. Затем эта последовательность повторяется для строк 6, 7 и так далее.
Как изображено на фиг.3, сигналы синхронизации/активацизации – переключения совместно используются всеми другими строками по всему дисплею так, чтобы переключатели для первой подстроки каждой строки переключались, когда является активной первая подстрока любой строки, и так далее для вторых, третьих и четвертых подстрок. Однако под напряжением уровня активного адресного напряжения находятся только выходной контакт задающего устройства для активной строки. Все неактивные строки поддерживаются при напряжении смещения отсутствия выбора в то время, как активная строка поднимается до напряжения выбранных данных. Таким образом, элементы во всех подстроках кроме активной подстроки принимают одинаковое напряжение отсутствия выбора независимо от состояния сигналов синхронизации и, следовательно, независимо от позиций переключателей в пределах подстроки. Следует отметить, что в случаях, где требуется максимально малый расход энергии, посредством схем маскировки можно избежать переключения неактивных переключателей выбора строки.
Как может быть отмечено согласно фиг.3, переключатели 56 и 58, также как другие переключатели, соединенные с линиями передачи сигнала синхронизации, изготовлены так, чтобы быть микроэлектромеханическими устройствами, подобными интерференционным элементам, таким как изображен на фиг.1. Поскольку массив подвергается микроэлектромеханической обработке для создания интерференционных элементов дисплея, изготовление этих “дополнительных” элементов на площади, окружающей массив, не должно создавать дополнительной сложности или обязательного повышения стоимости устройства. Возможно, что мультиплексирование подстрок может быть осуществлено с использованием других типов переключателей, включая микроэлектромеханические переключатели, изготовленные способом, не подобным изготовлению интерференционных элементов, и более обычные электронные переключатели, изготовленные с использованием тонких кремниевых пленок, осажденных на стеклянной подложке модулятора, и т.д.
Используемый здесь термин “подобный” означает, что устройства имеют идентичную основную структуру электрода, полости и зеркала, подвешенного над полостью. При конструировании электрического переключателя не требуется изготовление в элементе интерференционной модуляции оптической функциональности около стеклянной подложки и может быть предпочтительным устранить эту оптическую функциональность. Для этого требуется только, чтобы при полном отклонении зеркало входило в контакт (и, следовательно, электрически соединялось) с двумя проводящими площадями, более вероятно, изготовленными из тонких слоев пленки, используемых для изготовления электродов адресации и/или проводящего слоя, используемого для формирования передней стенки оптически резонансной полости. Это отлично от того, как может работать интерференционный элемент, поэтому структура переключателя является скорее “подобной”, чем идентичной элементу дисплея.
На фиг.4 изображена временная диаграмма для одной возможной операции строки 5. В t0 сигналы для строки 4 являются высокими, как видно из модулятора. В t1 сигнал для строки 4 снижается и становится активной строка 5. Подобным образом линия для строки 5A становится активной. В t2 строка 5A снижается и становится активной строка 5B. Это продолжается последовательно для строк 5C и 5D.
Этот вариант осуществления изобретения приводит к уменьшенному количеству соединений между массивом и задающим устройством. Соединения, необходимые для возбуждения индивидуальных подэлементов в подстроках сделаны на площади, окружающей массив модуляторов, что приводит скорее к их встраиванию в одну микросхему вместе с массивом, чем требует обеспечения задающим устройством отдельных выходных контактов для каждого подэлемента.
Подэлементы, изображенные на фиг.3, были нарисованы приблизительно равными по площади. Другая полезная геометрия использует подэлементы с двоичным “физическим” взвешиванием относительно друг друга. Как можно заметить в элементе 70 отображения фиг.7, битовая глубина 4 обеспечивается при использовании только 4 таких подэлементов. Например, площадь 78 имеет размер, приблизительно равный половине полного размера элемента 70 отображения. Подэлемент 74 имеет размер, приблизительно равный половине размера следующего наиболее большого подэлемента, в данном случае подэлемента 78, что задает для подэлемента 74 размер в одну четверть от полноразмерного элемента дисплея. Каждый последующий подэлемент имеет размер, приблизительно равный половине размера следующего наиболее большого подэлемента. Подэлемент 72 составляет половину от 74, или одну восьмую от 70. Подэлемент 71 составляет половину от 72 или одну шестнадцатую от 70.
Элементы, имеющие различные физические размеры, активизируют, как это требуется для получения полного пикселя отображения с заданной интенсивностью цвета. Таблица, приведенная ниже, изображает включенные подэлементы согласно номеру для каждого уровня интенсивности цвета.
| Интенсивность цвета |
Включенные подэлементы |
| 0 |
Нет |
| 1 |
71 |
| 2 |
72 |
| 3 |
71, 72 |
| 4 |
74 |
| 5 |
71, 74 |
| 6 |
72, 74 |
| 7 |
71, 72, 74 |
| 8 |
78 |
| 9 |
71, 78 |
| 10 |
72, 78 |
| 11 |
71, 72, 78 |
| 12 |
74, 78 |
| 13 |
71, 74, 78 |
| 14 |
72, 74, 78 |
| 15 |
71, 72, 74, 78 |
Это осуществление взвешивания площадей, хотя оно описано здесь в отношении способа мультиплексирования фиг.3, может использоваться отдельно от способа мультиплексирования, описанного выше. В результате увеличится сложность взаимосвязи, но этот относительно низкий уровень сложности будет приемлемым для многих систем.
В альтернативном варианте осуществления битовая глубина 4 получается посредством разделения каждого подстолбца для элемента дисплея на 16 (24) подэлементов. Каждый набор из 16 подэлементов в каждом подстолбце соединен совместно каскадным образом и поэтому определен как “каскады подэлементов”. Индивидуальные каскадированные подэлементы могут быть изготовлены, чтобы служить в качестве элементов интерференционной модуляции и электрических переключателей, таких как изображены на фиг.3. Альтернативно, для каждого индивидуального интерференционного подэлемента может существовать электрический переключатель, изготовленный непосредственно смежно.
На фиг.5 изображен пример элемента 60 отображения, имеющего каскады подэлементов для глубины 4 бита. Три линии столбцов соединены с первым элементом в каскаде подэлементов; подэлемент 61r является первым элементом в красном каскаде, 61g в зеленом каскаде и 61b в синем каскаде, последними элементами для красного каскада являются 615r и 616r. Управление интенсивностью цвета обеспечивается посредством длительности адресующего импульса, подаваемого на линию столбца. Это может быть понято при просмотре двух возможных конфигураций подэлементов, изображенных на фиг.8 и 9.
На фиг.8a члены подэлементов подстолбца, таких как подэлементов 61r, 62r и 63r, изображенных на фиг.5, изображены в поперечном сечении. Интерференционная полость определена подвешенными подвижными элементами зеркала, такими как 82, и стеками оптической пленки передней поверхности, такими как 84. В этом случае подвешенный подвижный элемент функционирует также, как замыкатель переключателя, также, как и переключатели, изображенные на фиг.3. Проводящие элементы 86a-86e упорядочены в массив внутри каждого подэлемента, смежно со стеком оптических пленок. Когда подвижное зеркало 82 входит в контакт со стэком 84 оптических пленок, подэлемент переключается из одного оптического состояния во второе оптическое состояние. Дополнительно цепь является замкнутой, так как подвижное зеркало теперь соединяет проводник 86a с проводником 86b.
Каскад подэлементов адресуется посредством подачи адресного напряжения одной полярности на перемещающееся зеркало 84 и неподвижный контакт 86a. Адресное напряжение второй полярности подают на электрод в пределах или ниже стека 84 оптических пленок. Результирующая разность потенциалов вызывает отклонение зеркала 82, замыкающее соединение между проводниками 86a и 86b, как изображено на фиг.8b. Теперь при подаче на проводник 86b напряжения с первой полярностью (через зеркало 82) зеркало 92 должно в итоге отклониться, как изображено на фиг.8c. Этот процесс будет продолжаться до тех пор, пока все каскадированные зеркала не разрушатся или пока не исчезнет адресующий импульс. Соответственно, отражательная интенсивность элемента дисплея управляется посредством управления продолжительностью времени (или длительностью импульса) адресующего импульса.
Фиг.6 изображает временную диаграмму для трех последовательных последовательностей адресации каскада подэлементов со значениями цвета 12, 13 и 3, соответственно. Значение цвета 0 означает “черный” или выключено, и значение цвета 16 может представлять включение всех подэлементов каскада. Адресующий импульс изображен на верхней линии. Как может быть отмечено, с увеличением продолжительности времени адресующего импульса активизируется большее количество элементов зеркала, передвигаясь в “черное” или “выключенное” состояние. В течение первого адресующего импульса четыре элемента перемещаются в “черное” состояние и достигается значение цвета 12, 12 элементов остаются в ярком состоянии. В соответствии с фиг.5 это может соответствовать подэлементам 61r, 62r, 63r и 64r, переключенным последовательно в “черное” состояние.
Во время второй адресации адресующий импульс короче, и только три элемента переключаются в “черное” состояние. При конечной адресации 13 элементов переключаются в “черное” состояние, оставляя очень темное значение отражательного цвета, равное трем. Разрывность в временной диаграмме представляет относительно длительный период (обычно “время кадра” в видеотерминах), при котором зеркала остаются в своих адресованных состояниях. Именно в течение этого времени интеграции глаз наблюдателя замечает значение интенсивности, взвешенной по площади.
В конце времени каждого кадра согласно фиг.6 все зеркала вновь восстанавливаются в свои позиции покоя перед их адресацией заново. Интерференционное устройство можно адресовать так, чтобы это восстановление не требовалось. Здесь оно включено, чтобы подчеркнуть операции переключения, которые имеют место в течение каждого “времени линии” адресации. Следует отметить, что адресующий импульс должен превышать некоторую минимальную продолжительность времени, чтобы вызвать “включение” первого элемента в каскаде подэлементов. Очень короткий адресующий импульс, такой как переходной сигнал, который короче, чем время ответа подэлементов, не вызовет переключения первого подэлемента.
Когда адресующий импульс был активен достаточно долго для переключения первого подэлемента, сигнал адресации переходит к следующему элементу в массиве. Вновь чтобы вызвать переключение второго элемента, адресующий импульс должен быть активен достаточно долго после переключения первого элемента. Поскольку времена ответов подэлементов предполагаются приблизительно идентичными, каскад подэлементов должен быть управляемым для обеспечения “включения” требуемого количества подэлементов при обеспечении относительно высокой устойчивости к паразитным сигналам. Совокупным результатом должен быть вызов формирования элементом отображения надлежащей интенсивности цвета в результирующем пикселе. Таким образом, элемент отображения с плотностью битов 4 был сделан, возможно, без каких-либо дополнительных линий соединения или дополнительных соединений из задающего устройства.
Каскадный эффект, описанный выше, основан на подвижных элементах зеркала, которые обеспечивают оптическую функцию дисплея, а также непосредственно каскад электрического переключения. Альтернативный вариант, изображенный на фиг.9, обеспечивает смежно с каждым интерференционным подэлементом, таким как 100, отдельный электрический выключатель, такой как 102, который переключается одновременно с оптическим элементом. Вариант осуществления фиг.9 изображает микромеханический переключатель, но также могут использоваться другие типы переключателей, такие как кремний(евый) или другие транзисторные полупроводниковые переключатели. Соответственно, могут быть отдельно оптимизированы параметры оптического элемента и параметры электрического элемента. Формы сигнала адресации и значение цвета, возникающие в результате системы согласно фиг.9, идентичны обеспечиваемым системой по фиг.8. Системы согласно фиг.8 и 9 обе являются примерами получения различных уровней битовой глубины посредством управления поведением модулятора по прошествии времени.
На фиг.10 обеспечивается график для иллюстрации того, что посредством изменения продолжительности времени адресующих импульсов, а также уровней напряжения этих импульсов может быть осуществлено более совершенное управление адресацией подвижного зеркала для переключения битовой глубины. Фиг.10 применяется к элементу дисплея, состоящему из нескольких индивидуальных перемещающихся зеркал. Зеркала обозначены как b1, b2, b3 и т.д. Структура механической опоры зеркал, а также непосредственно элемент зеркала могут быть изготовлены с использованием ряда различных способов, таких как изменение толщины пленки и остаточного напряжения внутри пленки, для обеспечения возможности отклонения индивидуальных зеркал при различных смещениях относительно времени и при различных смещениях относительно приложенного напряжения.
Как изображено на фиг.10, подвижный элемент b1 отклоняется после короткой подачи напряжения V1. Зеркало b2 реагирует медленнее и становится активизированным после более длительной подачи V1. Оба зеркала b1 и b3 будут реагировать на краткую подачу V2, и зеркало b4 способно реагировать на очень быструю подачу V2, на которую ни одно из других зеркал не может среагировать. Соответственно, различные комбинации зеркал могут отклоняться при формировании адресующего импульса в пространстве времени/напряжения, где термин “комбинация” заключает в себе переключение отдельного элемента. Если эти зеркала имеют различные площади, такие как площади, изображенные на фиг.7, то посредством адресации многосегментного элемента дисплея с одной парой электрических соединений могут быть достигнуты многочисленные уровни яркости.
Во всех этих вариантах альтернативные способы обеспечения битовой глубины интенсивности намного более одного бита могут быть выполнены для интерференционных элементов. Хотя вышеупомянутые осуществления были описаны в отношении битовой глубины 4, при наличии 16 уровней интенсивности цвета эти осуществления могут использоваться для любой битовой глубины, большей 1.
Соответственно, хотя для этой задачи были описаны определенные варианты осуществления способа и устройства для модуляции массива и пониженного количества выводов в интерференционных модуляторах не предусмотрено, что такие определенные ссылки должны рассматриваться как ограничения на контекст этого изобретения, за исключением изложенного в последующей формуле изобретения.
Формула изобретения
1. Модулятор света, содержащий: массив, содержащий строки и столбцы интерференционных элементов отображения, при этом каждый элемент является разделенным на подстроки одного или большего количества подэлементов, множество линий соединения массива, сконфигурированных для передачи рабочих сигналов в элементы отображения, причем одна линия соединения соответствует одной строке элементов отображения, и множество переключателей, сконфигурированных для передачи рабочих сигналов из каждой линии соединения массива в выбранную одну из указанных подстрок.
2. Модулятор света по п.1, в котором линии соединения массива дополнительно содержат три линии соединения столбцов, каждую одну для красного, для зеленого и для синего подэлементов в каждом элементе.
3. Модулятор света по п.1, в котором один или более количество подэлементов содержит подэлемент в каждой строке для красного, зеленого и синего.
4. Модулятор света по п.1, в котором упомянутое множество переключателей содержит микроэлектромеханические переключатели.
5. Модулятор света по п.1, в котором упомянутое множество переключателей содержит переключатели конфигурации, подобной подэлементам.
6. Модулятор света по п.1, в котором множество переключателей содержит подэлементы такие, что при отклонении выбранного подэлемента выбранный подэлемент вызывает соединение рабочего сигнала от выбранного подэлемента к смежному подэлементу.
7. Модулятор света по п.1, в котором множество переключателей дополнительно содержит полупроводниковые транзисторные переключатели.
8. Способ управления модулятором света, включающий в себя: формирование рабочего сигнала для установки состояния множества интерференционных элементов отображения, размещенных в строках и столбцах, определяющих массив, при этом каждый элемент является разделенным на подстроки одного или большего количества подэлементов, и переключение упомянутого рабочего сигнала на выбранную одну из подстрок.
9. Способ по п.8, в котором упомянутое переключение включает в себя управление состоянием по меньшей мере одного микроэлектромеханического переключателя.
10. Способ по п.8, в котором упомянутое переключение включает в себя обеспечение сигнала управления для управления состоянием по меньшей мере одного переключателя.
11. Способ изготовления интерференционного модулятора света, содержащий: обеспечение массива интерференционных элементов отображения, размещенных в строках и столбцах, каждый элемент отображения содержит: предварительно определенное количество подстрок подэлементов, причем предварительно определенное количество подстрок зависит от требуемой битовой глубины для отображения, и предварительно определенное количество подстолбцов подэлементов, размещенных внутри каждой подстроки, размещение линий соединения массива для каждой строки, так чтобы каждая линия соединения соответствовала одной строке массива, и обеспечение электрического соединения между линией соединения массива для каждой строки с одной из подстрок соответствующей строки массива.
12. Способ по п.11, в котором предварительно определенное количество подстолбцов соответствует требуемому количеству цветов для отображения.
13. Способ по п.11, в котором упомянутое размещение линий соединения массива для каждой строки дополнительно включает в себя размещение линий соединения массива между массивом и задающим устройством.
14. Способ по п.11, в котором упомянутое обеспечение электрического соединения между линией соединения массива дополнительно включает в себя обеспечение соединения с набором микроэлектромеханических переключателей.
15. Способ по п.14, в котором микроэлектромеханические переключатели дополнительно содержат переключатели конфигурации, подобной интерференционным элементам отображения.
16. Способ по п.11, в котором упомянутое обеспечение электрического соединения между линией соединения массива дополнительно включает в себя обеспечение соединения с набором полупроводниковых переключателей.
17. Способ по п.11, в котором упомянутое обеспечение электрического соединения дополнительно включает в себя отклонение подэлемента подстроки, вследствие этого формирующее соединение между подэлементом и смежным подэлементом.
18. Модулятор света, выполненный согласно способу по п.11.
19. Модулятор света, содержащий: массив элементов отображения, при этом каждый элемент содержит множество интерференционных модуляторов, и по меньшей мере одну линию соединения массива, сконфигурированную для передачи рабочего сигнала по меньшей мере в один из интерференционных модуляторов, причем по меньшей мере один из упомянутых интерференционных модуляторов сконфигурирован для избирательного соединения упомянутой линии соединения массива по меньшей мере с одним другим интерференционным модулятором.
20. Модулятор света по п.19, дополнительно содержащий электрические соединения между интерференционными модуляторами, таким образом, что электрические соединения формируют каскад подэлементов.
21. Модулятор света по п.19, в котором каждый элемент содержит предварительно определенное количество каскадов подэлементов, и предварительно определенное количество каскадов соответствует количеству цветов в элементе.
22. Модулятор света по п.21, дополнительно содержащий схему адресации для обеспечения адресующего импульса в каждый каскад подэлементов, причем количество подэлементов в каскаде, которые становятся активными, зависит от длительности адресующего импульса.
23. Модулятор света по п.19, дополнительно содержащий: набор переключателей, электрически подсоединенных между элементом отображения и интерференционными модуляторами, при этом один или большее количество интерференционных модуляторов разного размера, соответствующего разному двоичному весу информации отображения, причем количество интерференционных модуляторов зависит от требуемой битовой глубины, и при этом упомянутая линия соединения массива содержит одну линию соединения для каждого элемента отображения, и при этом модулятор света сконфигурирован так, чтобы интерференционные модуляторы, требуемые для создания взвешивания пикселя, активизировались в соответствии с информацией отображения.
24. Способ изготовления модулятора света, включающий в себя: обеспечение массива интерференционных элементов отображения, размещенных в строках и столбцах, каждый элемент содержит по меньшей один каскад подэлементов предварительно определенного количества подэлементов так, чтобы по меньшей мере один подэлемент был сконфигурирован для избирательного формирования электрического соединения, соединяющего упомянутую линию соединения массива по меньшей мере с одним другим подэлементом, и электрическое соединение первого элемента в каждом каскаде подэлементов в строке с соответствующей линией соединения для этой строки.
25. Способ по п.24, в котором упомянутый по меньшей мере один каскад подэлементов содержит по меньшей мере один каскад подэлементов для каждого требуемого цвета.
26. Способ по п.24, дополнительно включающий в себя электрическое соединение линий соединения для каждой строки с задающим устройством.
27. Способ по п.24, в котором каждый подэлемент содержит один подвижный слой, имеющий площадь поверхности, причем площадь поверхности соответствует разному двоичному весу информации отображения, и при этом количество подэлементов зависит от требуемой битовой глубины.
28. Способ по п.27, в котором по меньшей мере один интерференционный элемент содержит четыре подэлемента, первый подэлемент размера приблизительно в половину размера упомянутого по меньшей мере одного элемента, второй подэлемент размера приблизительно в одну четвертую размера упомянутого по меньшей мере одного элемента, третий подэлемент размера приблизительно в одну восьмую размера упомянутого по меньшей мере одного элемента, и четвертый подэлемент размера приблизительно в одну шестнадцатую размера упомянутого по меньшей мере одного элемента.
29. Способ по п.24, дополнительно включающий: формирование внутри каждого элемента подэлементов размера, приблизительно равного половине элемента, и формирование дополнительных подэлементов, на основании требуемой битовой глубины, при этом каждый дополнительный подэлемент имеет подвижный слой, имеющий площадь поверхности, приблизительно равную половине площади поверхности следующего наиболее большого подвижного слоя другого подэлемента.
30. Способ по п.29, дополнительно включающий в себя формирование линии соединения для каждого элемента отображения и обеспечение мультиплексных переключателей в электрическом соединении между линией соединения и подэлементами.
31. Способ по п.29, в котором подвижный слой содержит зеркало.
32. Модулятор света, выполненный согласно способу по п.24.
33. Способ управления модулятором света, содержащий формирование рабочего сигнала, содержащего импульс напряжения для установки состояния множества интерференционных модуляторов света, установку состояния части из множества интерференционных модуляторов в ответ на рабочий сигнал, причем упомянутую часть выбирают на основе длительности импульса напряжения.
34. Способ по п.33, в котором установка состояния упомянутой части упомянутых интерференционных модуляторов включает в себя переключение рабочего сигнала на первую часть упомянутой части упомянутых интерференционных модуляторов с использованием второй части упомянутой части упомянутых интерференционных модуляторов.
35. Способ по п.33, в котором упомянутое переключение включает в себя обеспечение сигнала управления для управления состоянием по меньшей мере одного переключения.
36. Модулятор света, содержащий множество средств интерференционной модуляции света, и средство передачи рабочего сигнала по меньшей мере в одно из средств модуляции света, причем упомянутое по меньшей мере одно из средств модуляции света сконфигурировано для избирательного соединения упомянутого средства передачи по меньшей мере с одним другим средством модуляции света.
37. Модулятор света по п.36, в котором упомянутое множество средств интерференционной модуляции света содержит массив элементов отображения, размещенных в строках и столбцах, каждый элемент содержит предварительно определенное количество упомянутых средств интерференционной модуляции света, причем количество упомянутых средств интерференционной модуляции света определено требуемой битовой глубиной, и каждый элемент имеет приблизительно одинаковый размер.
38. Модулятор света по п.37, в котором средство передачи содержит линию соединения массива, соответствующую каждой строке элементов отображения, причем каждая линия соединения массива электрически соединена с подэлементом в каждом элементе отображения.
39. Модулятор света по п.36, дополнительно содержащий средство электрического соединения одного из одного или большего количества средств интерференционной модуляции света по меньшей мере с одним другим из упомянутых одного или большего количества средств интерференционной модуляции света.
40. Модулятор света по п.39, в котором упомянутое средство электрического соединения содержит электрические соединения между подэлементами, такие как электрические соединения из каскада подэлементов.
РИСУНКИ
|
|