|
|
(21), (22) Заявка: 2008120313/09, 23.05.2008
(24) Дата начала отсчета срока действия патента:
23.05.2008
(46) Опубликовано: 10.01.2010
(56) Список документов, цитированных в отчете о поиске:
С.В.Осминина. GSM-R – от мечты к реальности. Обзор технологии GSM-R, перспективы внедрения, BKCC. Connect!, март 2007. RU 71843 U1, 20.03.2008. RU 2289208 C1, 10.12.2006. CN 101069364 A, 07.11.2007.
Адрес для переписки:
107174, Москва, ул. Новая Басманная, 2, ОАО “РЖД”, начальнику Департамента технической политики, Н.Г. Шабалину
|
(72) Автор(ы):
Маневич Петр Юлианович (RU), Слюняев Александр Николаевич (RU), Климова Татьяна Викторовна (RU), Алмазян Каринэ Кареновна (RU), Вериго Александр Михайлович (RU), Захаров Александр Викторович (RU)
(73) Патентообладатель(и):
Открытое акционерное общество “Российские железные дороги” (ОАО “РЖД”) (RU)
|
(54) СПОСОБ ВЗАИМОДЕЙСТВИЯ АБОНЕНТОВ ЦИФРОВОЙ СИСТЕМЫ ТЕХНОЛОГИЧЕСКОЙ РАДИОСВЯЗИ ЖЕЛЕЗНОДОРОЖНОГО ТРАНСПОРТА
(57) Реферат:
Изобретение относится к способам организации оперативно-технологической связи на железнодорожном транспорте. Технический результат заключается в интеграции систем технологической радиосвязи железнодорожного транспорта и расширении их функциональных возможностей. Он достигается тем, что предложен способ взаимодействия абонентов цифровой системы технологической радиосвязи железнодорожного транспорта, выполненной в виде программно-аппаратного комплекса системы радиосвязи, реализующий принципы формирования зон групповых и индивидуальных вызовов путем автоматического обновления в локомотивной станции списка доступных абонентов и групп абонентов в зависимости от того, в какой именно базовой станции системы в данный момент зарегистрирована локомотивная радиостанция, а также в соответствии с планом нумерации. Из базы данных в контроллер направляется таблица данных соответствия вида «номер базовой станции – таблица данных», соответствующая номеру базовой станции. При регистрации локомотивной радиостанции в другой базовой станции в контроллер из базы данных переносится другая таблица данных. В сервере приложений центра коммутации составляется таблица соответствия вида «номер поезда – номер локомотивной радиостанции, от которой получено сообщение с данным номером поезда», сервер приложений рассылает составленную таблицу во все подключенные через шлюзы центра коммутации пульты управления дежурных по станциям и диспетчеров. 11 з.п. ф-лы, 1 ил.
Изобретение относится к способам организации оперативно-технологической связи на железнодорожном транспорте, а именно к способам взаимодействия абонентов цифровой системы технологической радиосвязи.
Известен способ организации дуплексной диспетчерской поездной оперативно-технологической радиосвязи – ПРС-330 (Ю.В.Ваванов. «Технологическая железнодорожная радиосвязь», Москва, «Транспорт», 1985, с.140-151), широко применяемый на железнодорожном транспорте. Суть его заключается в том, что с помощью стационарных радиостанций, размещенных вдоль железной дороги, и распорядительной станции, размещенной в диспетчерском центре, организуется дуплексный канал радиосвязи между диспетчером и машинистом поезда, а также между машинистом поезда и дежурными по железнодорожным станциям, расположенным на оборудованном этой системой радиосвязи участке железной дороги. Способ позволяет осуществить индивидуальный вызов машиниста по номеру поезда от поездного диспетчера (ДНЦ) и индивидуальный вызов ДНЦ от машиниста. Для вызова дежурного по станции (ДСП) от машиниста поезда используют групповой вызов двумя способами – вызов «ближайшего ДСП» или всех ДСП на всем участке. Последнее используется, если машинисту нужно вызвать «дальнего ДСП». Для вызова машиниста поезда от ДСП также есть две возможности. Если нужного машиниста не удалось вызвать в «своей» зоне, ДСП должен использовать вызов на всем участке.
Недостатком способа организации дуплексной диспетчерской поездной оперативно-технологической радиосвязи является то, что при вызове ДСП машинист должен оценивать свое местоположение и делать выбор между двумя способами вызова, что снижает оперативность его работы. При использовании режима вызова «дальний ДСП» на участке становится невозможным вызов для второй пары ДСП-машинист. У ДСП нет возможности индивидуального вызова машиниста поезда по номеру поезда. В системе нет возможности связываться с работниками на пути. Для этих целей должна использоваться отдельная система радиосвязи.
При переговорах между ДНЦ с машинистом какого-либо поезда связь ДСП с машинистом другого поезда, находящегося в той же зоне, невозможна в связи с наличием в системе только одного радиоканала.
Известен также способ, реализуемый в системе железнодорожной радиосвязи стандарта GSM-R (Европейский стандарт – прототип). Технология GSM-R позволяет перевести поездную, ремонтно-оперативную и маневровую радиосвязь на новую цифровую системную платформу.
Сеть поддерживает индивидуальный, групповой и широковещательный вызов, приоритеты вызовов, прерывание разговора при поступлении аварийного вызова с высоким приоритетом (например, в случае чрезвычайной ситуации), что способствует повышению безопасности на железнодорожном транспорте; поддерживается функциональная адресация, причем функциональные единицы (например, машинист локомотива или проводник) могут быть вызваны независимо от их конкретного абонентского номера. GSM-R позволяет отказаться от нескольких параллельных сетей радиосвязи, поскольку GSM-R интегрирует разные службы.
Однако в стандарте GSM-R основное внимание уделено организации индивидуальных вызовов, групповые вызовы от ДНЦ в сторону машинистов поездов в зоне какой-либо железнодорожной станции не предусмотрены, так же как и групповые вызовы между машинистами поездов и ДСП, что необходимо по технологии работы железных дорог России.
В системе GSM-R длительность установления любого соединения (кроме аварийного) составляет 7-9 с, тогда как по требованиям российских железных дорог это время не должно превышать 2 с. Применение систем стандарта GSM-R на российских железных дорогах затруднительно также из-за сложности получения требуемого для работы системы частотного ресурса.
Технической задачей изобретения является создание способа, обеспечивающего интеграцию систем технологической радиосвязи железнодорожного транспорта и расширение их функциональных возможностей на основе применения цифрового радиоканала.
Для решения поставленной задачи предложен способ взаимодействия абонентов цифровой системы технологической радиосвязи железнодорожного транспорта, выполненной в виде программно-аппаратного комплекса системы радиосвязи, реализующий принципы формирования зон групповых и индивидуальных вызовов путем автоматического обновления в локомотивной станции списка доступных абонентов и групп абонентов в зависимости от того, в какой именно базовой станции системы в данный момент зарегистрирована локомотивная радиостанция, а также в соответствии с планом нумерации. Из базы данных в контроллер направляется таблица данных соответствия вида «номер базовой станции – таблица данных», соответствующая номеру базовой станции. При регистрации локомотивной радиостанции в другой базовой станции в контроллер из базы данных переносится другая таблица данных. В сервере приложений центра коммутации составляется таблица соответствия вида «номер поезда – номер локомотивной радиостанции, от которой получено сообщение с данным номером поезда», сервер приложений рассылает составленную таблицу во все подключенные через шлюзы центра коммутации пульты управления дежурных по станциям и диспетчеров.
Индивидуальные и групповые номера для вызовов абонентов меняют при проследовании поезда от одной базовой станции к другой.
На пульте управления локомотивной радиостанции используют одни и те же кнопки для вызова функционально одинаковых абонентов при перемещении локомотивной радиостанции по всему участку.
Пульты управления поездного и энергодиспетчеров, локомотивной радиостанции, дежурных по станции и работников на пути программируют с возможностью формирования определенных вызовов – индивидуальных или групповых; при этом совпадают номер группы, в которой посылает или принимает вызовы к или от машинистов поездов, с номером группы, в которой эти вызовы посылает или принимает машинист поезда при нахождении вблизи данной железнодорожной станции.
При нажатии на определенные кнопки пультов управления формируют вызовы по определенным номерам – индивидуальным или групповым; при использовании разрешенной комбинации кнопок, например при цифровом наборе номера, формируют вызов по набранному номеру.
Система включает несколько (несколько десятков) базовых станций, пультов управления дежурных по станциям, несколько (несколько единиц) пультов управления поездных диспетчеров, несколько (несколько единиц) пультов управления энергодиспетчеров, один центр коммутации, сотни радиостанций работников на пути.
Связь между локомотивной радиостанцией и базовой станцией осуществляют по радиоканалу (радиоинтерфейс стандарта TETRA), связь между базовой станцией и центром коммутации осуществляется по каналам Е1, связь между пультами управления дежурных по станциям, поездных и энергодиспетчеров – по линиям Ethernet.
Локомотивная радиостанция включает пульт управления с индикаторным табло и кнопочным полем, контроллер, блок хранения базы данных, приемопередатчик, антенну. Центр коммутации имеет в своем составе контроллер-коммутатор, сервер приложений, мультиплексор, шлюзы. Пульты управления дежурных по станциям и поездных и энергодиспетчеров выполняют на основе контроллеров с индикаторными табло или дисплеями и кнопочным полем или клавиатурой.
При входе поезда на конкретный участок локомотивную радиостанцию автоматически регистрируют в базовой станции, контроллер локомотивной радиостанции принимает номер базовой станции, центр коммутации принимает от базовой станции номер зарегистрированной локомотивной радиостанции, на пульт управления локомотивной радиостанции автоматически поступает приглашение машинисту поезда ввести номер поезда, за поступлением вызовов с приемника локомотивной радиостанции следит контроллер локомотивной радиостанции. При переходе поезда из зоны действия одной базовой станции в зону действия другой базовой станции выполняют регистрацию локомотивной радиостанции в другой базовой станции.
Технический результат согласно изобретению достигается путем автоматического обновления в локомотивной радиостанции списка доступных абонентов в зависимости от того, в какой именно базовой станции системы в данный момент зарегистрирована локомотивная радиостанция, а также использованием согласованного плана нумерации всех абонентов системы.
Способ реализует интегрированные алгоритмы для обмена информацией с поездами, в том числе с высокоскоростными, и обеспечивает поддержание требуемой функциональности, в том числе индивидуальный, групповой и широковещательный вызов, приоритеты вызовов, прерывание разговора при поступлении аварийного вызова.
Алгоритм способа взаимодействия абонентов цифровой системы технологической радиосвязи обеспечивает оперативность управления технологическим процессом, простоту и комфортность использования системы работниками железной дороги, что повышает безопасность движения поездов, особенно на высокоскоростных железнодорожных магистралях.
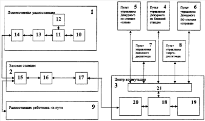
На чертеже представлена блок-схема системы, реализующая способ взаимодействия абонентов цифровой технологической радиосвязи.
Система взаимодействия абонентов цифровой технологической радиосвязи выполнена в виде программно-аппаратного комплекса системы радиосвязи и включает локомотивную радиостанцию 1, базовые станции 2, центр коммутации 3, пульт управления дежурного ДСП по ближайшей станции 4, пульт управления дежурного по станции ДСП «слева» 5, пульт управления дежурного по станции ДСП «справа» 6, пульт управления поездного диспетчера ДНЦ 7, пульт управления энергодиспетчера ЭЧЦ 8 и радиостанции работников на пути 9.
Локомотивная радиостанция 1 состоит из пульта управления 10 с индикаторным табло и кнопочным полем, контроллера 11, блока хранения базы данных 12, приемопередатчика 13, антенны 14.
Базовая станция 2 имеет в своем составе антенну 15, приемопередатчик (один или более) 16, мультиплексор 17.
Центр коммутации 3 имеет в своем составе контроллер-коммутатор 18, сервер приложений 19, мультиплексор 20, шлюзы 21.
Пульты управления дежурных по станциям и поездных и энергодиспетчеров выполнены на основе контроллеров с индикаторными табло или дисплеями и кнопочным полем или клавиатурой.
Система, реализующая способ взаимодействия абонентов в цифровой системе технологической радиосвязи железнодорожного транспорта, работает следующим образом.
В кабине локомотива каждого поезда размещается локомотивная радиостанция 1, взаимодействующая с другими абонентами с помощью базовой станции 2 и центра коммутации 3. Через локомотивную радиостанцию 1 машинист поезда взаимодействует с дежурными по станциям с помощью пультов управления дежурных по станциям 4, 5, 6, а также с поездным диспетчером и с энергодиспетчером с помощью пульта управления поездного диспетчера 7 и пульта управления энергодиспетчера 8 соответственно или с работником на пути с помощью радиостанции 9.
На участке железной дороги установлено несколько (несколько десятков) базовых станций, пультов управления дежурных по станциям, несколько (несколько единиц) пультов управления поездных диспетчеров, несколько (несколько единиц) пультов управления энергодиспетчеров, один центр коммутации, сотни радиостанций работников на пути.
Связь между локомотивной радиостанцией 1 и базовой станцией 2 осуществляется по радиоканалу (радиоинтерфейс стандарта TETRA), связь между базовой станцией и центром коммутации осуществляется по каналам Е1, связь между пультами управления дежурных по станциям, поездных и энергодиспетчеров – по линиям Ethernet.
Во взаимодействии абонентов программно-аппаратного комплекса участвуют следующие абоненты и аппаратура системы радиосвязи.
При необходимости связаться с каким-либо абонентом машинист на пульте управления локомотивной радиостанции 1 нажимает кнопку с обозначением требуемого абонента или набирает требуемый номер, посылает вызов. В первом случае в посылаемом вызове также содержится информация о номере вызываемого абонента (группы абонентов), формируемая автоматически в зависимости от того, какая именно кнопка была нажата. Вызов принимается базовой станцией 2 и транслируется в центр коммутации 3. Центр коммутации 3 коммутирует принятый вызов на требуемого абонента. Если требуемый абонент является дежурным по станции или диспетчером, выполняется коммутация вызова на соответствующий пульт управления. Если требуемый абонент является работником на пути, выполняется коммутация на базовую станцию (ту же или другую), а затем – трансляция в радиоканал на радиостанцию требуемого абонента.
Алгоритм работы машиниста поезда
В момент входа поезда на участок железной дороги, на котором работает цифровая система технологической радиосвязи, автоматически выполняется регистрация локомотивной радиостанции, установленной на данном поезде, в базовой станции, в зоне действия которой оказался поезд в данный момент времени. Процедура является двусторонней: контроллер 11 локомотивной радиостанции принял номер базовой станции 2, в которой произошла регистрация; центр коммутации 3 принял от базовой станции номер зарегистрированной локомотивной радиостанции 1.
После регистрации контроллер 11 локомотивной радиостанции посылает запрос в базу данных 12 локомотивной радиостанции. Из базы данных 12 в контроллер 11 направляется таблица данных, соответствующая номеру базовой станции. Предварительно в базу данных локомотивной радиостанции внесены соответствия вида «номер базовой станции – таблица данных». Таблица данных представляет собой список индивидуальных и групповых номеров, которые могут быть актуальны во время нахождения локомотивной радиостанции в зоне действия данной базовой станции.
В следующий момент времени на пульт управления локомотивной радиостанции автоматически поступает приглашение машинисту поезда ввести номер поезда. Номер поезда является уникальным в данный момент времени на данном участке. Номер поезда отличается от номера локомотивной радиостанции и меняется в зависимости от того, по какому маршруту движется поезд. Машинист с помощью кнопок на пульте управления локомотивной радиостанцией набирает номер поезда. Номер поезда автоматически передается через базовую станцию 2 в сервер приложений 19 центра коммутации 3. В сервере приложений центра коммутации составляется таблица соответствия вида «номер поезда – номер локомотивной радиостанции, от которой получено сообщение с данным номером поезда». Сервер приложений 19 рассылает составленную таблицу во все подключенные через шлюзы 21 центра коммутации пульты управления дежурных по станциям и диспетчеров.
Контроллер 11 локомотивной радиостанции 1 следит за нажатием кнопок на пульте управления локомотивной радиостанции и за поступлением вызовов с приемника 13 локомотивной радиостанции.
Машинист поезда имеет возможность вызвать дежурных по станции той железнодорожной станции, в границах которой или вблизи которой он находится, той станции, от которой отъехал, и той станции, по направлению к которой он движется. Для этого есть возможность использовать индивидуальные вызовы «ДСП ближний» 4, «ДСП слева» 5, «ДСП справа» 6 (причем в списке доступных абонентов, который появляется на индикаторном табло локомотивной радиостанции после регистрации в каждой базовой станции, указаны названия конкретных железнодорожных станций). Есть возможность использовать групповой вызов, при котором вызов получат не только несколько ДСП, но и машинисты поездов, находящихся в определенной зоне. Так реализуется функция вызова машинист-машинист. Индивидуальные и групповые номера для названных вызовов должны быть разными для случаев регистрации локомотивной радиостанции в разных базовых станциях. Кроме того, машинист поезда должен иметь возможность вызвать «своего» поездного диспетчера, а в некоторых случаях – «своего» энергодиспетчера. Для этого используются индивидуальные вызовы. Индивидуальные номера для названных вызовов также должны меняться при проследовании поезда от одной базовой станции к другой.
Если на пульте управления локомотивной радиостанции 1 нажата какая-либо кнопка, контроллер 11 определяет, какая именно кнопка была нажата. В зависимости от нажатой кнопки контроллер находит соответствие в таблице данных индивидуальному или групповому номеру и через передатчик посылает соответствующий вызов. Если на пульте управления используется разрешенная комбинация кнопок (например, был выполнен цифровой набор номера), которой нет соответствия в таблице данных, формируется вызов по набранному номеру.
Машинист должен иметь возможность принять индивидуальный вызов от ДНЦ, ЭЧЦ, ДСП, а также групповой вызов в группе «ДСП-машинисты» от ДСП и машинистов других поездов, находящихся на определенном участке.
Если с приемника блока приемопередатчика 13 поступил какой-либо вызов по номеру локомотивной радиостанции, контроллер 11 выполняет анализ номера абонента, пославшего этот вызов, для поиска соответствия его какому-либо номеру, содержащемуся в таблице данных для текущей базовой станции. То же выполняется при поступлении группового вызова. При нахождении какого-либо соответствия контроллер выводит на пульт управления локомотивной радиостанции соответствующее сообщение с наименованием вызывающего абонента. Если соответствия не найдено, контроллер выводит на пульт управления номер вызывающего абонента.
При проследовании поезда вдоль участка железной дороги поезд переходит из зоны действия одной базовой станции в зону действия другой базовой станции. В этом случае выполняется регистрация локомотивной радиостанции в другой базовой станции, в контроллер 11 из базы данных 12 переносится другая таблица данных. Процесс установления соединений осуществляется аналогично описанному ранее.
Алгоритм работы дежурного по станции
Контролер пульта управления дежурного по станции 4 (5, 6) следит за состоянием кнопок на пульте управления и за поступлением вызовов из проводной линии. Пульт управления дежурного по станции программируется заранее в соответствии с планом нумерации в зависимости от того, на какой железнодорожной станции он устанавливается, в пульт вносятся номера групп, в которых может происходить работа дежурного по станции, определенные кнопки также программируются таким образом, чтобы при нажатии на них были сформированы вызовы по определенным номерам – индивидуальные или групповые. Дежурный по станции должен иметь возможность вызвать с помощью группового вызова машинистов поездов, находящихся в данный момент времени вблизи той железнодорожной станции, на которой работает дежурный по станции. Дежурный по станции должен иметь возможность принять групповой вызов от машинистов поездов, находящихся в данный момент времени вблизи этой станции.
Для этого должны совпадать номер группы, в которой посылает или принимает вызовы к или от машинистов поездов, с номером группы, в которой эти вызовы посылает или принимает машинист поезда при нахождении вблизи данной железнодорожной станции.
То же относится к вызовам работников на пути.
Если на пульте набирается комбинация кнопок « поезда» и «1111», контроллер просматривает таблицу соответствия «номер поезда – номер локомотивной радиостанции» и формирует индивидуальный вызов по номеру локомотивной радиостанции, который соответствует номеру поезда 1111. Если на пульт поступает индивидуальный вызов, контроллер просматривает таблицу соответствия «номер поезда – номер локомотивной радиостанции», при нахождении соответствия на индикатор пульта выводится сообщение «Маш поезда ». Если такого соответствия не найдено, на индикатор пульта выводится сообщение «Вызов от NNNNN».
Таким образом, заявляемый способ взаимодействия абонентов цифровой системы технологической радиосвязи, реализованный посредством нового алгоритма взаимодействия абонентов цифровой системы технологической радиосвязи, позволяет обеспечить оперативность управления технологическим процессом, простоту и комфортность использования системы работниками железной дороги с учетом особенностей эксплуатации на сети дорог, что повышает безопасность движения поездов.
Формула изобретения
1. Способ взаимодействия абонентов цифровой системы технологической радиосвязи железнодорожного транспорта, выполненной в виде программно-аппаратного комплекса системы радиосвязи, реализующий интегрированные алгоритмы для обмена информацией с поездами, в том числе, с высокоскоростными и поддержание требуемой функциональности, в том числе, индивидуальный, групповой и широковещательный вызовы, приоритеты вызовов, прерывание разговора при поступлении аварийного вызова, отличающийся тем, что способ реализует принципы формирования зон групповых и индивидуальных вызовов путем автоматического обновления в локомотивной станции списка доступных абонентов и групп абонентов в зависимости от того, в какой именно базовой станции системы в данный момент зарегистрирована локомотивная радиостанция, а также в соответствии с планом нумерации, при этом из базы данных в контроллер направляется таблица данных соответствия вида «номер базовой станции – таблица данных», соответствующая номеру базовой станции, при регистрации локомотивной радиостанции в другой базовой станции в контроллер из базы данных переносится другая таблица данных; в сервере приложений центра коммутации составляется таблица соответствия вида «номер поезда – номер локомотивной радиостанции, от которой получено сообщение с данным номером поезда», сервер приложений рассылает составленную таблицу во все подключенные через шлюзы центра коммутации пульты управления дежурных по станциям и диспетчеров.
2. Способ по п.1, отличающийся тем, что индивидуальные и групповые номера для вызовов абонентов меняют при проследовании поезда от одной базовой станции к другой.
3. Способ по п.1, отличающийся тем, что на пульте управления локомотивной радиостанции используют одни и те же кнопки для вызова функционально одинаковых абонентов при перемещении локомотивной радиостанции по всему участку.
4. Способ по п.1, отличающийся тем, что пульты управления поездного и энергодиспетчеров, локомотивной радиостанции, дежурных по станции и работников на пути программируют с возможностью формирования определенных вызовов – индивидуальных или групповых; при этом совпадают номер группы, в которой посылает или принимает вызовы к или от машинистов поездов, с номером группы, в которой эти вызовы посылает или принимает машинист поезда при нахождении вблизи данной железнодорожной станции.
5. Способ по п.1, отличающийся тем, что при нажатии на определенные кнопки пультов управления формируют вызовы по определенным номерам – индивидуальным или групповым; при использовании разрешенной комбинации кнопок, например, при цифровом наборе номера, формируют вызов по набранному номеру.
6. Способ по п.1, отличающийся тем, что система включает несколько (несколько десятков) базовых станций, пультов управления дежурных по станциям, несколько (несколько единиц) пультов управления поездных диспетчеров, несколько (несколько единиц) пультов управления энергодиспетчеров, один центр коммутации, сотни радиостанций работников на пути.
7. Способ по п.1, отличающийся тем, что связь между локомотивной радиостанцией и базовой станцией осуществляют по радиоканалу (радиоинтерфейс стандарта TETRA), связь между базовой станцией и центром коммутации осуществляется по каналам Е1, связь между пультами управления дежурных по станциям, поездных и энергодиспетчеров – по линиям Ethernet.
8. Способ по п.1, отличающийся тем, что локомотивная радиостанция включает пульт управления с индикаторным табло и кнопочным полем, контроллер, блок хранения базы данных, приемопередатчик, антенну.
9. Способ по п.1, отличающийся тем, что центр коммутации имеет в своем составе контроллер-коммутатор, сервер приложений, мультиплексор, шлюзы.
10. Способ по п.1, отличающийся тем, что пульты управления дежурных по станциям и поездных и энергодиспетчеров выполняют на основе контроллеров с индикаторными табло или дисплеями и кнопочным полем или клавиатурой.
11. Способ по п.1, отличающийся тем, что при входе поезда на конкретный участок локомотивную радиостанцию автоматически регистрируют в базовой станции, контроллер локомотивной радиостанции принимает номер базовой станции, центр коммутации принимает от базовой станции номер зарегистрированной локомотивной радиостанции, на пульт управления локомотивной радиостанции автоматически поступает приглашение машинисту поезда ввести номер поезда, за поступлением вызовов с приемника локомотивной радиостанции следит контроллер локомотивной радиостанции.
12. Способ по п.1, отличающийся тем, что при переходе поезда из зоны действия одной базовой станции в зону действия другой базовой станции выполняют регистрацию локомотивной радиостанции в другой базовой станции.
РИСУНКИ
|
|