|
|
(21), (22) Заявка: 2006127449/09, 28.12.2004
(24) Дата начала отсчета срока действия патента:
28.12.2004
(30) Конвенционный приоритет:
29.12.2003 FR 03 15535
(43) Дата публикации заявки: 10.02.2008
(46) Опубликовано: 10.01.2010
(56) Список документов, цитированных в отчете о поиске:
ЕР 0428233 А1, 22.05.1991. SU 493420, 30.11.1975. WO 99/59906 A1, 25.11.1999. WO 01/15812 A1, 08.03.2001. WO 01/04834 A1, 18.01.2001. RU 2187840 C1, 20.08.2002. FR 2533048 A1, 16.03.1984. DE 20016022 U1, 15.11.2001. WO 99/54842 A1, 28.10.1999. WO 97/22919 A1, 26.06.1997. FR 1494243 A, 08.09.1967.
(85) Дата перевода заявки PCT на национальную фазу:
31.07.2006
(86) Заявка PCT:
FR 2004/003392 20041228
(87) Публикация PCT:
WO 2005/069229 20050728
Адрес для переписки:
129090, Москва, ул. Б.Спасская, 25, стр.3, ООО “Юридическая фирма Городисский и Партнеры”, пат.пов. Ю.Д.Кузнецову, рег. 595
|
(72) Автор(ы):
МОЗИ Ги (FR)
(73) Патентообладатель(и):
АСК С.А. (FR)
|
(54) УСТРОЙСТВО ИНДИВИДУАЛИЗАЦИИ И РАСПРЕДЕЛЕНИЯ БЕСКОНТАКТНЫХ ЧИП-БИЛЕТОВ
(57) Реферат:
Устройство индивидуализации и автоматического поштучного распределения бесконтактных чип-билетов оборудовано средствами контроля надежности билетов и средствами индивидуализации билетов и содержит место для загрузки билетов в виде вертикальной стопки. Согласно главному отличительному признаку устройство распределения содержит вакуумный захват (20), снабженный средствами для управления его разрежением и неподвижно соединенный с рычагом (31), выполненным с возможностью поступательного вертикального перемещения, при этом вакуумный захват позволяет разбирать стопку и извлекать билет (13) из места загрузки и перемещать его до момента укладки на средство перемещения, и наружную антенну (24), выполненную с возможностью проверки надежности билета первый раз в момент извлечения из стопки. Технический результат – автоматизация поштучного распределения чип-билетов с возможностью программирования и маркировки каждого билета. 11 з.п. ф-лы, 7 ил.
Область техники
Настоящее изобретение касается устройства для автоматического поштучного распределения одноразовых билетов, в частности устройства индивидуализации и распределения бесконтактных чип-билетов.
Уровень техники
В автоматах для распределения одноразовых билетов, таких как бумажные билеты, как правило, билеты находятся свернутыми в рулоны или сложенными в стопки в виде гармошки, называемые ширмой. Согласно этим двум вариантам загрузки билеты соединены друг с другом в виде лент. Преимуществом такой системы является возможность непрерывного распределения, однако она занимает много места. По мере необходимости резак отрезает билет непосредственно перед выдачей. К сожалению, такой тип автоматического распределителя не вполне подходит для распределения одноразовых бесконтактных чип-билетов, называемых «бесконтактными билетами». Действительно, производство бесконтактных билетов не столь значительно, как производство простых одноразовых билетов, ввиду специальной технологии изготовления, требующей намного более высокой точности. При этом способ загрузки билетов в виде непрерывной ленты не позволяет отбраковывать дефектные билеты во время производства, поэтому все дефектные билеты, что составляет примерно 5% от партии, остаются в ленте. Поскольку перед выдачей клиенту каждый билет необходимо проверить, причем каждый дефектный билет направляется к месту сбора отбракованных билетов, значительное количество дефектных билетов увеличивает среднее время выдачи билета клиенту. Кроме того, загрузка билетов в виде непрерывной ленты и наличие значительного количества дефектных билетов требует большого объема автомата-распределителя.
Чтобы сократить количество бракованных билетов, было решено их удалять еще до загрузки в автомат-распределитель. В этом случае такое решение требует загрузки билетов в распределителе в стопки и позволяет решить проблему места. Такой тип распределителя разработан для выдачи пластиковых карточек или билетов из «полиэстера», физические характеристики которых, такие как упругость, приближаются к характеристикам пластика. Карточки или билеты из полиэстера укладывают в стопки поштучно, и их извлечение из стопки происходит по мере распределения. Для извлечения из стопки карточка в некоторых системах выталкивается пластинкой, которая упирается в толщину карточки. В других системах соответствующие устройства сгибают и защемляют карточки, используя свойства жесткости и упругости карточки. Кроме того что такие системы распределения, где карточки хранятся в стопках, дают существенный выигрыш в объеме по сравнению с рулонными системами распределения, они позволяют также использовать билеты повторно, то есть осуществляют повторную выдачу при помощи того же механизма уже выданных первый раз билетов, что неосуществимо, когда билеты находятся в автомате в виде рулонов или гармошки.
К сожалению, средства поштучного извлечения из стопки не годятся для одноразовых бесконтактных чип-билетов. Действительно, такой тип билета отличается очень специфичными физическими характеристиками по сравнению с простыми одноразовыми билетами. Его поверхность не является плоской, а имеет утолщение на уровне чипа. Кроме того, в отличие от пластиковой карточки билет не обладает достаточной упругостью, позволяющей ему полностью восстановить свою форму, когда нажатие на билет прекращается. Наконец, такой билет может покоробиться по продольной или поперечной оси. Поэтому до настоящего времени не существовало устройств распределения, приспособленных для бесконтактных чип-билетов, и, тем более, устройств автоматического распределения бесконтактных чип-билетов. По этой причине распределение бесконтактных чип-билетов, а также их индивидуализация требуют осуществления ручной операции.
Сущность изобретения
Задачей настоящего изобретения является создание автоматического и компактного устройства распределения бумажных бесконтактных чип-билетов.
Другой задачей настоящего изобретения является создание устройства поштучного распределения бумажных бесконтактных чип-билетов, выполненного с возможностью программирования и маркировки каждого билета для его индивидуализации в зависимости от потребностей.
Поставленная задача согласно изобретению решена путем создания устройства индивидуализации и автоматического поштучного распределения бесконтактных чип-билетов, оборудованного средствами контроля надежности билетов и средствами индивидуализации билетов и содержащее место для загрузки билетов в виде вертикальной стопки. Согласно главному отличительному признаку настоящего изобретения устройство распределения содержит вакуумный захват, оборудованный средствами для управления разрежением и неподвижно соединенный с рычагом, выполненным с возможностью поступательного вертикального перемещения, при этом вакуумный захват позволяет разбирать стопку и извлекать билет из места загрузки и перемещать его до момента укладки на средство перемещения, и наружную антенну, выполненную с возможностью проверки надежности билета первый раз в момент извлечения из стопки.
Краткое описание чертежей
Отличительные признаки и преимущества настоящего изобретения будут более очевидны из нижеследующего описания со ссылками на прилагаемые чертежи, на которых:
фиг. 1 изображает схематично устройство распределения, согласно изобретению;
фиг. 2 – схематично устройство распределения во время захвата билета, согласно изобретению;
фиг. 3 – схематично устройство распределения во время извлечения билета из стопки, согласно изобретению;
фиг. 4 – схематично устройство распределения во время высвобождения билета, согласно изобретению;
фиг. 5 – направляющий стол для билетов, согласно изобретению;
фиг. 6 – устройство распределения во время операции маркировки билета, согласно изобретению;
фиг. 7 – устройство распределения во время операции удаления дефектного билета, согласно изобретению.
Подробное описание предпочтительных вариантов
воплощения изобретения
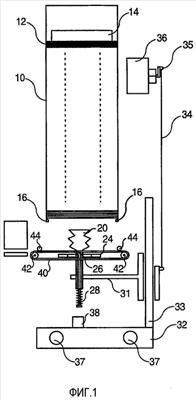
Устройство распределения содержит, по меньшей мере, одну съемную кассету 10 (фиг. 1), содержащую около 500 бесконтактных чип-билетов, уложенных в стопку и прижатых сверху грузом 14. Бесконтактные чип-билеты содержат антенну и модуль или чип, соединенный с антенной. Стопка билетов опирается на два бортика или бобышки 16 кассеты 10. Между бобышками 16 выполнено отверстие с клапаном для прохождения билетов. Устройство распределения содержит каретку с подвижным рычагом 13 вертикального перемещения, на котором закреплен вакуумный захват 20. Стол (не показан), на котором полиграфическим способом нанесена антенна, содержит в центре отверстие, выполненное с возможностью прохождения через него вакуумного захвата 20. Два параллельных гладких ремня 40 установлены и перемещаются каждый по двум шкивам 42, которые, в свою очередь, приводятся в движение при помощи привода и расположены параллельно двум бортам стола, охватывая стол. Антенна 24 выполнена по периферии стола, охватывая отверстие, выполненное в его центре. Согласно варианту выполнения антенну закрепляют на подвижном рычаге, и отверстие в столе обеспечивает прохождение вакуумного захвата 20 и антенны 24. Антенна 24 соединена, по меньшей мере, с одним микропроцессором (не показан), содержащим запоминающее устройство. Оба ремня представляют собой средства перемещения билетов и находятся под стопкой билетов параллельно плоскости билетов. Два ролика 40 осуществляют давление на впадину параллельных ремней 40 в непосредственной близости от шкивов 42. Рычаг 31 приводится в движение при помощи механизма подъема/спуска, в основном состоящего из площадки 32, стойки 33, закрепленной на площадке, узла привода 36, коленчатого вала 35 и тяги 34. Рычаг 31 направляется во время вертикального перемещения стойкой 33 и приводится в движение при помощи узла привода, коленчатого вала и тяги. Вакуумный захват 20 перемещается в направлении, перпендикулярном к плоскости билетов таким образом, чтобы его захватная плоскость находилась в плоскости билетов. Предпочтительно вакуумный захват 20 перемещается вдоль оси, перпендикулярной к билету и проходящей через центр билета или проходящей через центр тяжести билета. Вакуумный захват 20 является захватом разгрузочного типа и оборудован средствами для управления его разрежением, предпочтительно такими, как клапан 26, удерживаемый в закрытом положении пружиной 28.
Этапы работы устройства распределения схематично показаны на фиг. 2-5. Каждый билет извлекается из стопки отдельно по запросу клиента, который подает команду при помощи интерфейса, сообщающегося с микропроцессором устройства распределения. Вакуумный захват 20 (фиг.2) и рычаг 31 приводятся в движение, и, когда вакуумный захват 20 входит в контакт с первым билетом 13, он сжимается, и воздух проходит вдоль боков захвата, так как он не может пройти через внутренний клапан 26, который остается закрытым. В то время, когда коленчатый вал 35 проходит через верхнюю мертвую точку, а привод 36 продолжает вращаться, вакуумный захват стремится разжаться, и вследствие этого в нем создается разряжение, которое вытягивает билет 13 вниз. Билет 13, вначале удерживаемый бобышками 16 кассеты, деформируется (фиг. 3), а затем выходит из кассеты. Вакуумный захват 20, на котором удерживается билет 13, и рычаг 21 продолжают опускаться, и пружина 28 начинает сжиматься на упоре 38 площадки 32 (фиг. 4). Когда пружина 28 сжимается, клапан 26 перемещается вверх, открывается и пропускает воздух в вакуумный захват, в результате чего разряжение в последнем исчезает, что и приводит к высвобождению билета.
Как показано на фиг. 5, которая является схематичным разрезом по плоскости, перпендикулярной плоскостям разреза на фиг. 1-4, ремни 40 параллельны между собой и расположены вокруг стола 30 и таким образом закреплены. Стол 30 содержит полость 39, на которую опирается билет, увлекаемый вакуумным захватом 20. Полость 39 позволяет компенсировать дефекты плоскости билетов и обеспечивает в любой момент их укладку на ремни 40. Освобожденный от вакуумного захвата билет 13 ложится на оба параллельных ремня 40. Операция захвата билета 12 из стопки 10 и его подачи к средству перемещения является операцией извлечения билета из стопки.
Билет проходит через первую проверку антенной 24 (фиг. 6), находящейся вокруг вакуумного захвата 20, чтобы определить, устанавливается ли связь билета с наружной антенной или нет, то есть чтобы проверить надежность билета. Контроль производится при помощи протокола связи, запрограммированного в микропроцессоре и управляющего связью и обменом данных между одноразовым бесконтактным чип-билетом и антенной. Если билет сообщается с антенной, микропроцессор передает сообщение на привод, приводящий в движение шкивы, которые при этом вращаются в определенном направлении для приведения в движение ремней 40, перемещающих билет в печатающее устройство 50. Свободные ролики 44 давят на ремни 40, прижимая билет и обеспечивая его перемещение. В свою очередь печатающее устройство захватывает билет и маркирует его печатной графической информацией для индивидуализации или нанесения на него номера. Разность скорости между ремнями и печатающим устройством, если она существует, компенсируется скольжением билета на гладких ремнях. Информация наносится на билет стандартным термическим печатающим устройством.
После нанесения на билет информации печатающее устройство направляет его на ремни 40. После этого билет проходит через вторичную проверку антенной, затем электронным путем программируется антенной, которая получает для этого команду от микропроцессора для завершения индивидуализации билета. Для этого цифровые данные передаются антенной 24 и антенной билета на микросхему билета при помощи протокола связи. Передаваемые цифровые данные соответствуют характеру использования билета и, в случае необходимости, запросу пользователя, направляемому через интерфейс связи, соединенный с микропроцессором. Например, речь может идти об определенном количестве единиц времени для парковочного билета, которое определяет срок его действия. Проверка и программирование занимают очень мало времени – порядка нескольких десятых долей секунды. После программирования билета производится его валидация для выдачи клиенту. При этом антенна передает на микропроцессор сообщение для подачи команды на двигатель, который проводит в действие шкивы, вращающиеся в направлении, необходимом для вращения ремней 40, перемещающих билет к распределительному выходу, находящемуся со стороны, противоположной по отношению к печатающему устройству (фиг. 7).
Во время проверок, производившихся в момент извлечения из стопки и в момент программирования, если обнаруживается дефект связи, антенна передает соответствующую информацию на микропроцессор, чтобы печатающее устройство отбросило билет в бак, в который автоматически собираются все отбракованные билеты и который установлен на выходе печатающего устройства. Такое расположение позволяет отказаться от использования специального разделительного устройства и улучшает компактность машины.
Как показано на фиг. 1-7, поступательное движение площадки 32 направляется двумя осями 37 при помощи механизма (не показан) в варианте выполнения с двумя билетными кассетами. Этот не ограничительный признак изобретения обеспечивает горизонтальное перемещение каретки и ее позиционирование перед другой кассетой, когда первая кассета оказывается пустой или когда она отсутствует. Вместе с тем, согласно варианту выполнения настоящего изобретения устройство распределения билетов оборудуют двумя кассетами и двумя идентичными каретками, описанными выше, при этом каждая каретка выполнена неподвижной и предназначена для извлечения билетов из одной из двух кассет. Согласно предпочтительному, но не ограничительному варианту изобретения, кассеты имеют систему защиты и могут использоваться повторно. Их перезарядку производят в защищенном цеху. В момент их закрытия их ставят на взвод, чтобы в устройство распределения билетов можно было произвести только одно введение кассеты. Для того чтобы кассету нельзя было открыть за пределами защищенного цеха, ее пломбируют или опечатывают при помощи любого другого аналогичного средства. Во время транспортировки кассеты блокируют, что не позволяет извлечь из них билеты, не оставив видимых следов вскрытия. Во время введения в устройство распределения билетов происходит разблокировка кассеты, и ее клапан открывается, что позволяет начать выдачу билетов. Затем, после извлечения кассеты из распределительного устройства ее клапан снова блокируется, но при этом снимается с взвода, чтобы избежать повторного открывания и, следовательно, повторного введения кассеты в устройство распределения билетов. Таким образом, становится невозможным повторное введение кассеты, либо пустой, либо наполовину заполненной, либо извлеченной за ненадобностью.
Согласно варианту выполнения с двумя кассетами устройство распределения билетов использует все билеты первой кассеты, и, когда она оказывается пустой, распределение автоматически переключается на вторую кассету. Световая сигнализация позволяет отвечающему за обслуживание оператору определить состояние кассет: рабочий режим, отсутствие билетов или наличие неисправности.
Преимуществом устройства распределения билетов в соответствии с настоящим изобретением является то, что его можно легко адаптировать для различных интерфейсных систем клиента, имеющихся в наличии на рынке. Действительно, протокол связи, запрограммированный в микропроцессоре, может обеспечивать связь при помощи компьютера, внутри сети, через модем и даже автономно.
Кроме того, преимуществом устройства распределения билетов в соответствии с настоящим изобретением является его небольшой размер – порядка 400 мм × 200 мм × 150 мм. Таким образом, его можно легко интегрировать в устройства распределения простых одноразовых билетов, не подвергая их каким-либо значительным модификациям, или просто устанавливать на рабочем столе.
Кроме того, изобретение можно применять без каких-либо изменений для распределения билетов разных форм и из разного материала и с микросхемами разного размера. В частности, изобретение можно применять для распределения билетов типа «tag» и/или билетов «RFID» (Radio Frequence Identification – радиочастотная идентификация).
Благодаря поштучному способу распределения в соответствии с настоящим изобретением кассету можно заполнять уже использованными билетами для их перепрограммирования и повторного распределения, даже если они имеют потертости или складки.
Формула изобретения
1. Устройство индивидуализации и автоматического поштучного распределения бесконтактных чип-билетов, снабженное средствами контроля надежности билетов и средствами индивидуализации билетов, и содержащее место для загрузки билетов в виде вертикальной стопки, отличающееся тем, что содержит вакуумный захват (20), снабженный средствами для управления разрежением и неподвижно соединенный с рычагом (31), выполненным с возможностью поступательного вертикального перемещения, при этом вакуумный захват позволяет разбирать стопку и извлекать билет (13) из места загрузки и перемещать его до момента укладки на средство перемещения, и наружную антенну (24), размещенную вокруг указанного вакуумного захвата, чтобы определить, устанавливается ли связь билета с наружной антенной или нет, для контроля надежности билета первый раз в момент извлечения из стопки.
2. Устройство по п.1, отличающееся тем, что средства индивидуализации билета (13) содержат термическое печатающее устройство (50) для нанесения на билет индивидуальной графической информации.
3. Устройство по любому из пп.1 или 2, отличающееся тем, что средство перемещения предназначено для направления билета либо в печатающее устройство, либо в бак для сбора отбракованных билетов, либо в распределительный выход.
4. Устройство по любому из пп.1 или 2, отличающееся тем, что для проверки и электронного программирования билет размещается на средстве перемещения.
5. Устройство по любому из пп.1 или 2, отличающееся тем, что наружная антенна (24) соединена с микропроцессором, содержащим запоминающее устройство, при этом протокол связи, запрограммированный в микропроцессоре, управляет связью и обменом данными между бесконтактным чип-билетом и антенной.
6. Устройство по п.5, отличающееся тем, что содержит интерфейс связи, соединенный с микропроцессором, который передает данные на микросхему билета через антенну (24) и антенну билета при помощи протокола связи, запрограммированного в упомянутом микропроцессоре, при этом электронное программирование и завершение индивидуализации осуществляется внешним пользователем через интерфейс связи.
7. Устройство по п.3, отличающееся тем, что, при обнаружении билета с дефектом связи, антенна (24) передает информацию на микропроцессор, чтобы направить билет в бак сбора, где все билеты собираются.
8. Устройство по любому из пп.1 или 2 и 6, отличающееся тем, что место загрузки представляет собой, по меньшей мере, одну съемную кассету (10).
9. Устройство по п.8, отличающееся тем, что рычаг (31) осуществляет поступательное перемещение посредством узла привода (36), коленчатого вала (35)и тяги (34).
10. Устройство по любому из пп.1 или 2 и 6, отличающееся тем, что вакуумный захват (20) снабжен средствами управления разрежения, предпочтительно такими, как клапан (26), удерживаемый в закрытом положении пружиной (28).
11. Устройство по п.8, отличающееся тем, что кассета (10) снабжена клапаном, находящимся в закрытом и заблокированном положении, когда кассета извлекается из устройства распределения.
12. Устройство по любому из пп.1, 2, 6, 7, 9 и 11, отличающееся тем, что бесконтактный чип-билет является бумажным билетом.
РИСУНКИ
|
|