|
|
(21), (22) Заявка: 2005118150/09, 10.06.2005
(24) Дата начала отсчета срока действия патента:
10.06.2005
(30) Конвенционный приоритет:
14.06.2004 US 10/867,198
(43) Дата публикации заявки: 20.12.2006
(46) Опубликовано: 10.01.2010
(56) Список документов, цитированных в отчете о поиске:
US 5414845 А, 09.05.1995. US 2002/099829 A1, 25.07.2002. US 4658351 A, 14.04.1987. US 2003/187920 A1, 02.10.2003. RU 2169942 C1, 27.06.2001.
Адрес для переписки:
129090, Москва, ул. Б.Спасская, 25, стр.3, ООО “Юридическая фирма Городисский и Партнеры”, пат.пов. Ю.Д.Кузнецову, рег. 595
|
(72) Автор(ы):
АБДО Ральф (US), ВУ Джон (US), ЧАНГ Винсент (US), МИЧЕЛ Теодор Л. (US), ШВЕБКЕ Тад (US)
(73) Патентообладатель(и):
МАЙКРОСОФТ КОРПОРЕЙШН (US)
|
(54) СИСТЕМА И СПОСОБ ДЛЯ КОНТРОЛЯ СЕТИ
(57) Реферат:
Изобретение относится к области контроля устройств в сети. Техническим результатом является улучшение планирования выполнения приложений. Контроль сети осуществляют, прогоняя программы задач и оценивая результаты программ задач. Программы задач являются инструментальными, предназначенными для извлечения информации о конкретном сетевом устройстве. Служба выполнена с возможностью координирования планирования, выполнения и сбора данных и агрегирования каждой программы задачи по различным сетям, например, множественным доменам. Каждая программа задачи выполняется в запланированное время и выдает результаты на анализатор. Анализатор форматирует результаты и предоставляет форматированные данные службе. Служба сохраняет собранные данные в базе данных. Клиент может планировать и/или просматривать результаты действий по контролю, связываясь со службой. Собранные данные можно сравнивать и фильтровать согласно шаблонам на основе правил, которые определяют приемлемые конфигурации сетевого устройства. На основании шаблонов можно генерировать отчеты, чтобы клиент мог оценивать результаты программ задач, выполненных по всей сети. 3 н. и 13 з.п. ф-лы, 7 ил.
Предпосылки изобретения
Компьютерная сеть может охватывать разнообразные вычислительные устройства, связанные друг с другом в разных доменах. По мере изменения сети, может оказаться трудно получить определенную информацию о сети или об отдельном вычислительном устройстве в сети. Например, администратор может пожелать определить программное обеспечение, установленное на вычислительных устройствах, образующих сеть, версию установленного программного обеспечения или конфигурацию устройств в сети. В традиционной системе, информацию о сетевом устройстве можно получить с использованием приложения контроля сети, которое собирает определенные данные для одного домена. Традиционный способ контроля устройств в сети неэффективен, потому что данные собираются только в одном домене, и каждое приложение контроля сети предназначено для конкретной информации, которую оно собирает.
Сущность изобретения
Контроль сети осуществляют, прогоняя программы задач и оценивая результаты программ задач. Программы задач являются инструментальными средствами, предназначенными для извлечения информации о конкретном сетевом устройстве. Служба выполнена с возможностью координирования планирования, выполнения и сбора данных и агрегирования каждой программы задачи по различным сетям, например, множественным доменам. Каждая программа задачи выполняется в запланированное время и выдает результаты на анализатор. Результаты могут быть в различных форматах для обеспечения гибкости при выборе программ задач. Анализатор форматирует результаты и предоставляет форматированные данные службе. Служба сохраняет собранные данные в базе данных. Клиент может планировать и/или просматривать результаты действий по контролю, связываясь со службой. Собранные данные можно сравнивать и фильтровать согласно шаблонам на основе правил, которые определяют приемлемые конфигурации устройства. На основании шаблонов можно генерировать отчеты, чтобы клиент мог оценивать результаты программ задач, выполненных по всей сети.
Согласно одному аспекту, система выполнена с возможностью планирования выполнения задач в ответ на запросы, поданные клиентом. Задачи могут быть запланированы на выполнение по различным сетям. Интерфейс сконфигурирован для приема запросов, предоставляемых клиентом, и подачи запросов службе. Служба выполнена с возможностью совместно с базой данных планировщика, сохранять и извлекать каждый поданный запрос. Планировщик выполнен с возможностью опрашивания службы на предмет запросов, планирования времени выполнения запросов, выполнения запросов и информирования о состоянии запросов.
Перечень чертежей
Фиг.1 – схема вычислительного устройства, которое можно использовать согласно иллюстративному варианту осуществления настоящего изобретения.
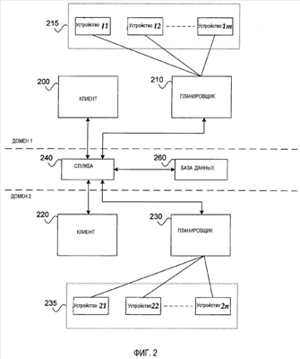
Фиг.2 – функциональная блок-схема системы для контроля состояния сети согласно настоящему изобретению.
Фиг.3 – функциональная блок-схема системы для контроля состояния сети согласно настоящему изобретению.
Фиг.4 – логическая блок-схема процесса планирования выполнения приложений согласно настоящему изобретению.
Фиг.5 – логическая блок-схема процесса планирования выполнения приложений согласно настоящему изобретению.
Фиг.6 – логическая блок-схема процесса определения того, успешно ли выполнена программа задачи относительно правил шаблона, согласно настоящему изобретению.
Фиг.7 – логическая блок-схема процесса вывода собранных данных согласно настоящему изобретению.
Подробное описание предпочтительных вариантов осуществления
В общем случае, контроль сети осуществляют, прогоняя программы задач и оценивая результаты программ задач. Программы задач являются инструментальными средствами, предназначенными для извлечения информации о конкретном сетевом устройстве. Служба выполнена с возможностью координирования планирования, выполнения и сбора данных и агрегирования каждой программы задачи по различным сетям, например, множественным доменам. Каждая программа задачи выполняется в запланированное время и выдает результаты на анализатор. Результаты могут быть в различных форматах для обеспечения гибкости при выборе программ задач. Анализатор форматирует результаты и предоставляет форматированные данные службе. Служба сохраняет собранные данные в базе данных. Клиент может планировать и/или просматривать результаты действий по контролю, связываясь со службой. Собранные данные можно сравнивать и фильтровать согласно шаблонам на основе правил, которые определяют приемлемые конфигурации сервера. На основании шаблонов можно генерировать отчеты, чтобы клиент мог оценивать результаты программ задач, выполненных по всей сети.
Иллюстративная рабочая среда
Согласно фиг.1, одна иллюстративная система для реализации изобретения включает в себя вычислительное устройство, например вычислительное устройство 100. Вычислительное устройство 100 может представлять собой клиент, сервер, мобильное устройство или другое вычислительное устройство, которое работает с данными в системе сетевого взаимодействия. В самой общей конфигурации, вычислительное устройство 100 обычно включает в себя, по меньшей мере, один процессор 102 и системную память 104. В зависимости от конкретной конфигурации и типа вычислительного устройства, системная память 104 может быть энергозависимой (например, ОЗУ), энергонезависимой (например, ПЗУ, флэш-память и т.д.) или некоторой их комбинацией. Системная память 104 обычно включает в себя операционную систему 105, одно или несколько приложений 106 и может включать в себя данные 107 программ. Настоящее изобретение, которое подробно описано ниже, реализовано в системной памяти 104.
Вычислительное устройство 100 может иметь дополнительные особенности или функциональные возможности. Например, вычислительное устройство 100 может также включать в себя дополнительные запоминающие устройства (сменные и/или стационарные), например магнитные диски, оптические диски или ленту. Такие дополнительные запоминающие устройства показаны на фиг.1 как сменное запоминающее устройство 109 и стационарное запоминающее устройство 110. Компьютерные носители данных могут включать в себя энергозависимые и энергонезависимые, сменные и стационарные носители, реализованные любым способом и с использованием любой технологии хранения информации, например машиночитаемых команд, структур данных, программных модулей или других данных. Системная память 104, сменное запоминающее устройство 109 и стационарное запоминающее устройство 110 являются примерами компьютерных носителей данных. Компьютерные носители данных включают в себя, но без ограничения, ОЗУ, ПЗУ, электрически стираемое программируемое ПЗУ (ЭСППЗУ), флэш-память или другую технологию памяти, CD-ROM, цифровые универсальные диски (DVD) или другой оптический носитель данных, магнитные кассеты, магнитную ленту, магнитный диск или другие магнитные запоминающие устройства или любой другой носитель, к которому может обращаться вычислительное устройство 100. Любые такие компьютерные носители данных могут входить в состав устройства 100. Вычислительное устройство 100 может также иметь устройство(а) ввода 112, например клавиатуру, мышь, перо, устройство речевого ввода, тактильное устройство ввода и т.д. В его состав также могут входить устройства вывода 114, например дисплей, громкоговорители, принтер и т.д.
Вычислительное устройство 100 также содержит коммуникационные соединения 116, которые позволяют устройству осуществлять связь с другими вычислительными устройствами 118, например, по сети. Сети включают в себя локальные сети и глобальные сети, а также другие крупномасштабные сети, в том числе, но не исключительно, интрасети и экстрасети. Коммуникационное соединение 116 является одним примером среды связи. Среды связи обычно реализуются посредством машиночитаемых команд, структур данных, программных модулей или других данных в сигнале, модулированном данными, например, несущей волне или другом транспортном механизме, и включают в себя любые среды доставки информации. Термин «сигнал, модулированный данными» – это сигнал, одна или несколько характеристик которого задается или изменяется таким образом, чтобы кодировать информацию в этом сигнале. В порядке примера, но не ограничения, среды связи включают в себя проводные среды, например проводную сеть или прямое проводное соединение, и беспроводные среды, например акустические, радиочастотные, инфракрасные и другие беспроводные среды. Используемый здесь термин «машиночитаемый носитель» охватывает как носители данных, так и среды связи.
Планирование выполнения приложений
На фиг.2 показана блок-схема системы для контроля состояния сети. Система включает в себя клиент 200 и планировщик 210 в первом домене (т.е. домене 1), клиент 220 и планировщик 230 во втором домене (т.е. домене 2), службу 240 (например, Web-службу) и базу данных 260. Каждый из доменов 1 и 2 включает в себя планировщик и клиент, поэтому данные, связанные с выполнением приложения, можно собирать из каждого домена.
Клиенты (например, клиенты 200 и 220) могут запрашивать выполнение приложения в запланированное время через службу 240. В одном варианте осуществления, приложение является программой задачи. Программа задачи может относиться к контролю программного обеспечения, развертыванию программного обеспечения, исправлению/обновлению программного обеспечения, настройкам разрешений учетных записей, контролю оборудования и т.д. Запрошенные данные собираются в ходе выполнения программы задачи. Запрос передается службе 240.
Каждый клиент может соответствовать: устройству-клиенту, расположенному в соответствующей части сети (например, в том же домене), где находится прикладная программа, устройству-клиенту, расположенному в другой части сети (например, в другом домене), отличной от той, где находится прикладная программа, или некоторому другому устройству-клиенту, расположенному вне сети и способному связываться со службой 240. Например, служба 240 может быть web-службой, которая предоставляет клиенту 200 доступ к вычислительной сети, например, Интернету.
Служба 240 осуществляет связь с базой данных 260. Служба 240 принимает запросы от планировщика 210 (или 230) на доступ к базе данных 260 и определяет, имеются ли необработанные запросы заданий, поданные клиентами 200 и 220. Если запрос клиента предусматривает задачи в обоих доменах, в базе данных 260 создаются два задания. Служба 240 возвращает задание, которое принадлежит тому же домену, что и планировщик 210 (или 230).
Планировщик 210 опрашивает службу 240 на предмет запросов. Когда планировщик 210 извлекает запрос, планируется выполнение соответствующей прикладной программы в назначенное время. Планировщик 210 инициирует выполнение соответствующей программы задачи по достижении назначенного времени. В одном варианте осуществления пользователь может отменить запрос до назначенного времени выполнения. В одном примере планировщик 210 запланирован контролировать множественные (n) устройства (215), расположенные в определенной части сети (например, в домене 1), с помощью запланированного выполнения программы задачи. Планировщик 210 способен запускать анализатор (не показан) для сбора данных, выводимых прикладной программой, когда выполнение соответствующей программы задачи завершено. Затем анализатор обрабатывает выходные данные для связи со службой 240.
Планировщик 230 также опрашивает службу 240 на предмет запросов. Когда планировщик 230 принимает запрос, планируется выполнение соответствующей прикладной программы в назначенное время. Планировщик 230 инициирует выполнение соответствующей программы задачи по достижении назначенного времени. В одном примере, планировщик 230 запланирован контролировать множественные (m) устройства (235), расположенные в другой определенной части сети (например, в домене 2), с помощью запланированного выполнения программы задачи. Планировщик 230 выполнен с возможностью запуска анализатора для сбора данных, выводимых прикладной программой, когда выполнение соответствующей программы задачи завершено. Затем анализатор обрабатывает выход для связи со службой 240.
Служба 240 выполнена с возможностью приема собранных данных от каждого из планировщиков (например, 210 и 230). В одном примере, планировщик 210 (или 230) сконфигурирован таким образом, чтобы направлять результаты службе 240. В другом примере, служба 240 должна принимать и обрабатывать сообщения, включающие в себя результаты от планировщиков. После того, как служба 240 примет и обработает данные от различных планировщиков, служба 240 сохраняет результаты в базе данных 260.
Каждое устройство в сети может обслуживаться конкретным планировщиком. Например, устройство 11 обслуживается планировщиком 210. Устройства могут включать в себя серверы, маршрутизаторы, клиенты или иное сетевое оборудование. В одном примере, устройства (например, устройства 215) являются частью серверной фермы, например, серверов контента в сети.
На фиг.3 показана функциональная блок-схема системы контроля состояния сети. Клиент 200 включает в себя приложение 202 пользовательского интерфейса. Планировщик 210 включает в себя программы 214 задач. Выходной анализатор 212 осуществляет связь со службой 240 и планировщиком 210. Планировщик 210 осуществляет связь с устройствами 290. Устройства 290 включают в себя цель 292, которая поддерживает связь с программами задач 214 для сбора данных, связанных с каждой программой задачи 214 на планировщике 210. Цель 292 может соответствовать одному или нескольким устройствам, клиентам, серверам, маршрутизаторам, коммутаторам или сетевым узлам.
Служба 240 включает в себя web-службу 250 базы данных управления конфигурацией (БДУК, CMDB), web-службу планировщика 260, собственный пользовательский интерфейс шаблонов 258 и анализатор 264 планировщика. Web-служба БДУК включает в себя анализатор 254 БДУК и модуль 256 сбора данных/опроса. Web-служба 260 планировщика включает в себя службу 262 планировщика и клиентскую службу 268. База данных 270 включает в себя базу данных 280 управления конфигурацией и базу 285 данных планировщика. База данных 280 управления конфигурацией включает в себя шаблоны.
Клиент 200 может планировать сбор данных для программ задач 214 через пользовательский интерфейс (ПИ). В одном варианте осуществления, пользовательский интерфейс – это приложение 202 клиентского пользовательского интерфейса, локально хранящееся на клиенте 200 для выполнения. В другом варианте осуществления, пользовательский интерфейс – это серверный пользовательский интерфейс, вмещаемый web-службой 260 планировщика. В этом примере, приложение 202 пользовательского интерфейса является приложением типа Web-браузера, которое взаимодействует с клиентской службой 268 посредством сетевого соединения. В еще одном варианте осуществления, пользовательский интерфейс может представлять собой Web-интерфейс, который загружает пользовательский интерфейс на клиент 200, когда клиент 200 запрашивает пользовательский интерфейс.
Информация о планировании выполнения программы задачи поступает от клиента 200 в базу данных 285 через службу 262 планировщика. В одном варианте осуществления, программа задачи запланирована для сбора данных в определенном домене, поэтому только планировщики в этом определенном домене принимают информацию планирования программы задачи. В другом варианте осуществления, программы задач во множественных доменах запланированы для сбора данных. Каждый планировщик 210 выполнен с возможностью инициирования выполнения программы в запланированное время в соответствии с элементами базы 285 данных планировщика.
Web-служба 260 планировщика выполнена с возможностью принимать клиентские запросы планирования. Каждое запланированное событие в базе 285 данных планировщика может иметь один или несколько элементов в базе данных управления конфигурацией, которая включает в себя собранные/обработанные данные от цели 295 в ходе предыдущего или текущего выполнения программы задачи.
Web-служба 260 планировщика выполнена с возможностью принимать и отвечать на запросы планирования от клиентов и/или планировщика 210. В одном примере клиент запрашивает элемент выполнения для новой задачи, который проанализирован и добавлен в базу данных 285 планировщика. В другом примере клиент запрашивает элемент выполнения другой новой задачи, который конфликтует с одним или более предыдущих элементов в базе данных 285 планировщика, и Web-служба 260 планировщика возвращает клиенту 200 сообщение ошибки. В еще одном примере клиент 200 запрашивает элемент выполнения еще одной новой задачи, который подменяет один или более предыдущих элементов в базе данных 285 планировщика. В еще одном примере клиент запрашивает элемент выполнения еще одной новой задачи, который конфликтует с одним или более предыдущими элементами в базе данных 285 планировщика, и web-служба 260 планировщика обеспечивает пользовательский интерфейс для редактирования элементов.
В одном примере, программа 214 задачи может задавать местоположение выходной папки для запрошенных данных, подлежащих сохранению в базе данных 285 через планировщика 210 с соответствующим именем файла. Затем выходной файл обрабатывается выходным анализатором 212 для предоставления службе 240 надлежащим образом форматированных данных.
Выходной анализатор 212 запускается планировщиком 210, когда служба 240 принимает запрошенные данные. Выходной анализатор 212 обрабатывает запрошенные данные, преобразуя данные в формат, который легко передавать посредством Web-службы 250 БДУК в базу данных 270. В одном варианте осуществления, выходной анализатор 212 преобразует данные в формат текста с разделителями, например, расширяемый язык разметки (XML). Данные, собранные от разных программ задач, преобразуются в однородный формат, который понимает база данных 280 управления конфигурацией. В одном варианте осуществления, выходной анализатор 212 преобразует формат данных в другой формат на основании входных данных от клиента 200.
Web-служба 250 БДУК принимает проанализированные данные от выходного анализатора 212 и сохраняет проанализированные данные в базе 280 данных управления конфигурацией. В одном варианте осуществления данные сохраняются в таблицах, соответствующих типу данных. Примеры типов данных включают в себя метабазовые элементы, разрешения на совместное пользование, информацию оперативного исправления, записи реестра и разрешенные пользователи. База данных 280 управления конфигурацией является центральной базой данных для данных, собранных программами задач 214. В одном варианте осуществления, данные, собранные в ходе выполнения конкретной программой задачи, сохраняются отдельно. Web-служба 250 БДУК позволяет инструментальным средствам контроля связываться с базой данных 262 управления конфигурацией и обращаться к сохраненным данным.
Данные, относящиеся к выполнению конкретной программы задачи и сохраненные в базе данных 280 управления конфигурацией можно называть прогоном задания. Клиент 200 может обращаться к прогону задания в базе данных 280 управления конфигурацией через Web-службу БДУК 250.
Шаблоны 282 используются для анализа данных, собранных в ходе выполнения программы задачи. Шаблоны 282 сконфигурированы для обеспечения правил и руководящих принципов для фильтрации и представления собранных данных. В одном примере, правила обеспечивают простую основу для приемлемого поведения, следующего из выполнения программы задачи (например, успешная или неуспешная установка заплатки, рейтинг безопасности для теста безопасности и т.д.). Клиент 200 устанавливает правила для шаблона и подает шаблон в web-службу 250 БДУК. Анализатор 254 БДУК также выполнен с возможностью обработки каждого шаблона и сохранения этого шаблона в базе данных 280 управления конфигурацией.
Клиент 200 имеет возможность взаимодействовать со службой 240 для задания правил для шаблона с использованием логических операторов (например, И (AND), ИЛИ (OR), НЕ И (NAND), НЕ ИЛИ (NOR) и т.д.). Для задания правила можно комбинировать различные логические отношения. Данные, собранные в ходе прогона задания, оцениваются по каждому правилу в соответствующем шаблоне. Производится определение того, удовлетворяет ли элемент, связанный с собранными данными, правилам, указанным в шаблоне.
Базу данных 280 управления конфигурацией можно запрашивать на основании специализированного ввода от клиента 200 для извлечения данных, собранных из прогона задания. Данные можно извлекать из модуля 256 сбора данных/опроса. Шаблон, соответствующий собранным данным, можно также извлекать из базы данных 280 управления конфигурацией. В одном примере, шаблон хранится в web-службе 250 БДУК для оценки входящих данных из программы задачи 214. В другом примере, шаблон задан как часть базы данных 280 управления конфигурацией, поэтому правила применяются к собранным данным в ответ на запросы от клиента 200 через службу 240.
Клиент 200 может подавать/редактировать шаблоны посредством пользовательского интерфейса. В одном варианте осуществления пользовательский интерфейс – это приложение 202 клиентского пользовательского интерфейса, которое хранится локально на клиенте 200 для выполнения. В другом варианте осуществления пользовательский интерфейс – это серверный пользовательский интерфейс, например собственный пользовательский интерфейс 258 шаблонов. В этом примере приложение 202 пользовательского интерфейса является приложением типа Web-броузера, которое взаимодействует с собственным пользовательским интерфейсом 258 шаблонов посредством сетевого соединения. В еще одном варианте осуществления, пользовательский интерфейс может представлять собой web-интерфейс, который загружает пользовательский интерфейс для редактирования и/или подачи шаблона на клиент 200, когда клиент 200 его запрашивает. Аналогично, клиент 200 может просматривать отчеты через пользовательский интерфейс, который может размещаться локально на клиенте 200, находиться в распоряжении web-службы 250 БДУК или загружаться из web-службы 250 БДУК.
Собранные данные сравниваются с соответствующим шаблоном для оценки результатов программы задачи. В соответствии со сравнением, клиент 200 оповещается через Web-службу 250 БДУК в отношении того, успешно или неуспешно прошел прогон данных по отношению к ожидаемым результатам. В одном варианте осуществления, собранные данные сводят в таблицу на основе выбранных шаблонов. Если для заданного шаблона выполняются все правила, значит цель 292 функционирует правильно по отношению к выполняемой программе задачи. Если не все правила выполняются, то таблица включает в себя подробную информацию о том, какие именно правила и сравнения в таблице выполняются и не выполняются.
Клиент 200 может запросить специализированный отчет, в котором приведена подробная информация, связанная с оценкой шаблона. Например, собранные данные можно фильтровать и форматировать согласно набору правил, связанному с шаблоном. Отчет выбирают, просматривая конкретный прогон задания и соответствующие данные. Клиент 200 выбирает шаблон из базы данных 280 управления конфигурацией, для генерации соответствующего отчета. Для любого данного прогона задания, в базе данных 280 управления конфигурацией может быть несколько разных шаблонов, поэтому, при желании, можно просмотреть несколько разных аспектов каждого сбора данных.
Запросы отчета направляются от клиента 200 в Web-службу 250 БДУК. Web-служба 250 БДУК подает шаблон в базу данных 280 управления конфигурацией для оценки. База данных 280 управления конфигурацией прогоняет правила для оценивания шаблона.
Web-служба 250 БДУК выполнена с возможностью принимать и отвечать на запросы отчета и подачи шаблонов от клиентов. В одном примере, клиент запрашивает элемент нового шаблона, проанализированный и добавленный в базу данных 280 управления конфигурацией. В другом примере, клиент запрашивает извлечение шаблона из базы данных 280 управления конфигурацией для редактирования. В еще одном примере, клиент запрашивает отчет из прогона задания с использованием ранее заданного шаблона в базе данных 280 управления конфигурацией.
Данный шаблон можно оценивать более одного раза, что позволяет оценивать результаты программ задач в течение времени. Например, шаблон можно проверять на оперативные исправления. Задание прогоняют и результаты контролируют. Просматриваемые результаты являются фактическими результатами контроля из контроля целевых серверов. Шаблон определяет, включены ли оперативные исправления на группе серверов. Развертывание заплатки можно планировать, чтобы устанавливать оперативные исправления на серверах, которые раньше были определены как не имеющие оперативных исправлений. Неделей позже можно произвести еще одно действие по контролю с использованием того же шаблона, чтобы проверить любые изменения после предыдущего действия по контролю. Множественные шаблоны результатов можно использовать для отчета по разным аспектам одного и того же набора данных результата контроля.
На фиг.4 изображена логическая блок-схема процесса планирования выполнения приложений. Процесс начинается с этапа 400, где клиент запрашивает планирование выполнения программы задачи через пользовательский интерфейс.
На этапе 405 web-служба планировщика обрабатывает запрос на выполнение программы задачи. Запрос анализируется, в результате чего проанализированные данные могут сохраняться в базе данных планировщика. На этапе 410 проанализированный запрос планирования сохраняется в базе данных планировщика. На этапе 415 планировщик извлекает запрос планирования, опрашивая базу данных планировщика через Web-службу планировщика.
На этапе 420 задание инициируется в соответствии с планированием. Планирование может запускаться событием. Например, может запускать в указанные день и время. Альтернативно, событие может запускать при выполнении действия, например, когда указанный пользователь регистрируется в сети. На этапе 425 собирают данные, выводимые выполняемой программой задачи.
На этапе 430 данные, собранные из программы задачи, анализируют. Выходной анализатор обрабатывает собранные данные и преобразует данные в формат, который web-служба БДУК может легко передавать в базу данных управления конфигурацией. На этапе 435 проанализированные данные направляются в Web-службу БДУК. На этапе 440 данные сохраняются в базе данных управления конфигурацией для определения того, успешно ли выполнена программа задачи. На конечном блоке процесс завершается.
На фиг.5 изображена логическая блок-схема процесса планирования выполнения приложений. Процесс начинается с этапа 500, на котором планировщик опрашивает базу данных планировщика на предмет запроса планирования выполнения программы задачи. Планировщик связывается со службой планировщика, чтобы определить, подал ли пользователь задание. Если задание подано, задание извлекается, анализируется и передается в рабочую очередь.
На этапе 505 пользователь создает шаг, задание или запланированное задание из пользовательского интерфейса. При создании задания, пользователь может извлекать существующее задание и возвращать извлеченное задание в запланированное время. Пользователь может составить новое задание, если существующие задания не отвечают требованиям пользователя. Новое задание можно составлять, выбирая существующие шаги. Если необходимого шага не существует, можно создать новый шаг для задания, который отвечает требованиям пользователя.
На этапе 510 пользовательский интерфейс подает задание в базу данных планировщика через Web-службу планировщика. Задание преобразуется в формат, распознаваемый планировщиком. Например, пользователь может сканировать разные домены на одном и том же шаге задания. Таким образом, шаг разделяется на множественные задания, соответствующие планировщику в каждом домене.
На этапе 515 планировщик извлекает задание из базы данных планировщика через службу планировщика. Планировщик в данном домене извлекает запланированные задания, принадлежащие домену. Планировщик упаковывает извлеченные данные на основании информации, предоставленной функцией поддержания. Упакованные данные направляются в рабочую очередь. Если функция опроса не работает правильно, (например, из-за проблем с сетью), то функция опроса переводится в состояние удержания. Когда функция поддержания разрешает рабочую проблему, функция опроса возобновляется, и продолжается извлечение данных.
На этапе 520 задание планируется. Функция реализации извлекает упакованные данные из рабочей очереди и задает таймер на основании запросов пользователя. Пользователь определяет положение запланированного задания с использованием пользовательского интерфейса. В одном варианте осуществления, пользователь может отменить задание раньше запланированного времени. Функция опроса передает команду отмены в рабочую очередь. Обнаружив команду отмены, функция реализации отменяет время, установленное для задания.
На этапе 525 планировщик начинает задание в запланированное время. Функция реализации запускает прогон задания, открывая задание и обращаясь к шагам, образующим задание. Шаги могут включать в себя шаги анализатора и шаги программы задачи. Например, задание может содержать более одной программы задачи. Планировщик реорганизует шаги так, что выходные данные каждой программы задачи анализируются по завершении выполнения программы задачи.
На этапе 530 запускается программа задачи. Планировщик может создавать множественные процессы для прогона программы задачи на каждом шаге.
На этапе 535 запускается выходной анализатор. Планировщик запускает множественные процессы для прогона анализатора на каждом шаге анализатора. Анализатор обрабатывает данные, выводимые программами задач, и подает результаты через Web-службу анализатора.
На этапе 540 планировщик завершает задание. Состояние задания обновляется. В одном варианте осуществления планировщик планирует новое задание, если атрибут задания повторяется. Планировщик продолжает опрос на предмет новых запросов. Затем процесс оканчивается на конечном блоке.
На фиг.6 показана логическая блок-схема процесса для определения того, успешно ли выполнена программа задачи относительно правил шаблона, согласно настоящему изобретению. Процесс начинается с этапа 600, на котором клиент устанавливает правила шаблона для фильтрации и представления собранных данных. В одном примере правила обеспечивают модель приемлемого поведения, вытекающую из выполнения программы задачи. В одном варианте осуществления шаблон можно применять к данным, собранным в ходе выполнения одной или более программ задач. На этапе 610 шаблон поступает в web-службу БДУК. На этапе 620 web-служба БДУК обрабатывает шаблон.
На этапе 630 шаблон сохраняется в базе данных управления конфигурацией. На этапе 640 шаблон оценивают. Шаблон сравнивают с данными, собранными в ходе выполнения программы задачи, и сохраняют в базе данных управления конфигурацией, чтобы определить, успешно или неуспешно прошел прогон данных по отношению к ожидаемым результатам. В одном варианте осуществления оценка шаблона осуществляется оперативно («на лету»), когда клиент запрашивает отчет, для обеспечения гибкости при прогоне разных шаблонов результатов относительно разных заданий. В другом варианте осуществления, оценка шаблона осуществляется как пакетный процесс, где результаты сохраняются в базе данных (например, в базе данных управления конфигурацией). В еще одном варианте осуществления, оценка шаблона осуществляется оперативно для первого запроса, после чего сохраняется в базе данных, поэтому последующие запросы не требуют повторной обработки. На этапе 650 клиент получает извещение через Web-службу БДУК о результатах оценки шаблона. В одном варианте осуществления таблица выводится через web-службу БДУК и отображается на пользовательском интерфейсе, чтобы информировать клиента о том, выполняются ли правила шаблона. Затем клиент может определить любые необходимые изменения в сети на основании результатов оценки шаблона. На конечном этапе обработка завершается.
На фиг.7 показана логическая блок-схема процесса вывода данных, собранных в ходе выполнения программы задачи. Обработка начинается с начального этапа 700, на котором клиент запрашивает вывод данных, связанных с оценкой шаблона. Клиент выбирает отчет, просматривая конкретный прогон задания и соответствующие данные.
На этапе 710 клиент выбирает шаблон из базы данных управления конфигурацией для генерации соответствующего отчета. На этапе 720 шаблон оценивается в базе данных управления конфигурацией. В одном варианте осуществления база данных управления конфигурацией прогоняет правила, чтобы оценить шаблон. На этапе 730 отчет направляется на клиент. На конечном этапе обработка завершается.
Следует понимать, что вышеизложенное относится только к предпочтительным вариантам осуществления настоящего изобретения и что в описанные здесь варианты осуществления можно вносить многочисленные изменения, не выходя за рамки сущности и объема изобретения.
Вышеприведенные описание, примеры и данные обеспечивают полное описание изготовления и использования состава изобретения. Поскольку, не выходя за рамки от сущности и объема изобретения, можно предложить многочисленные варианты осуществления изобретения, изобретение заключено в приложенной ниже формуле изобретения.
Формула изобретения
1. Компьютерная система для планирования выполнения приложений, содержащая процессор и компьютерное запоминающее устройство, хранящее машиноисполняемые команды для: подачи запросов на запланированное выполнение задач, причем задачи сконфигурированы для контроля сетевых устройств в первом и втором доменах сети, обработки запросов в службе, которая реализована в компьютерном запоминающем устройстве и находится на связи с первым и вторым доменами, при этом обработка запроса включает в себя анализ запроса для определения задач, ассоциированных с первым доменом, анализ запроса для определения задач, ассоциированных со вторым доменом, создание первого задания из задач, ассоциированных с первым доменом, и создание второго задания из задач, ассоциированных со вторым доменом, сохранения первого задания в базе данных планировщика, ассоциированной с первым доменом, и сохранения второго задания в базе данных планировщика, ассоциированной со вторым доменом, выполнения первого задания в планировщике первого домена и выполнения второго задания в планировщике второго домена, сбора, в упомянутой услуге, данных, ассоциированных с выполнением первого задания и второго задания, сравнения, в упомянутой услуге, собранных данных от первого задания с первым шаблоном задач базы данных управления конфигурацией посредством выполнения правил, ассоциированных с первым шаблоном задач, для формирования состояния, причем эти правила обеспечивают основу для определения того, было ли выполнение задач первого задания успешным, сравнения, в упомянутой услуге, собранных данных от второго задания со вторым шаблоном задач базы данных управления конфигурацией посредством выполнения правил, ассоциированных со вторым шаблоном задач, для формирования состояния, причем эти правила обеспечивают основу для определения того, было ли выполнение задач второго задания успешным, информирования клиента о состоянии первого и второго заданий.
2. Система по п.1, в которой задачи включают в себя по меньшей мере одно из группы, содержащей контроль программного обеспечения, развертывание программного обеспечения, исправление/обновление программного обеспечения, настройки разрешений учетных записей и контроль оборудования.
3. Система по п.1, в которой планировщик выполняет запросы на цели, причем целью является по меньшей мере одно из группы, содержащей вычислительное устройство, клиент, сервер, маршрутизатор, коммутатор и сетевой узел.
4. Система по п.1, в которой интерфейсом является по меньшей мере одно из группы, содержащей приложение клиентского пользовательского интерфейса, размещенное локально на клиенте, серверный пользовательский интерфейс, вмещаемый службой, и web-интерфейс, который загружает пользовательский интерфейс на клиент по запросу.
5. Система по п.1, в которой выполнение запросов содержит сбор данных, выводимых задачей.
6. Система по п.1, в которой планировщик дополнительно выполнен с возможностью обрабатывать состояние отчета для запросов и предоставлять обработанное состояние отчета службе для сохранения в базе данных управления конфигурацией.
7. Система по п.1, дополнительно содержащая другой планировщик, расположенный в другом домене.
8. Система по п.1, в которой клиент располагается в том же домене, что и по меньшей мере одна из задач.
9. Система по п.1, в которой клиент располагается в другом домене по отношению к по меньшей мере одной из задач.
10. Реализуемый компьютером способ планирования выполнения приложений, содержащий этапы, на которых подают запросы на запланированное выполнение задач, причем задачи сконфигурированы для контроля сетевых устройств в первом и втором доменах сети, обрабатывают запросы в службе, которая реализована в компьютерном запоминающем устройстве и находится на связи с первым и вторым доменами, при этом при обработке запроса выполняют анализ запроса для определения задач, ассоциированных с первым доменом, анализ запроса для определения задач, ассоциированных со вторым доменом, создание первого задания из задач, ассоциированных с первым доменом, и создание второго задания из задач, ассоциированных со вторым доменом, сохраняют первое задание в базе данных планировщика, ассоциированной с первым доменом, и сохраняют второе задание в базе данных планировщика, ассоциированной со вторым доменом, выполняют первое задание в планировщике первого домена и выполняют второе задание в планировщике второго домена, собирают, в упомянутой услуге, данные, ассоциированные с выполнением первого задания и второго задания, сравнивают, в упомянутой услуге, собранные данные от первого задания с первым шаблоном задач базы данных управления конфигурацией посредством выполнения правил, ассоциированных с первым шаблоном задач, для формирования состояния, причем эти правила обеспечивают основу для определения того, было ли выполнение задач первого задания успешным, сравнивают, в упомянутой услуге, собранные данные от второго задания со вторым шаблоном задач базы данных управления конфигурацией посредством выполнения правил, ассоциированных со вторым шаблоном задач, для формирования состояния, причем эти правила обеспечивают основу для определения того, было ли выполнение задач второго задания успешным, информируют клиент о состоянии первого и второго заданий.
11. Способ по п.10, дополнительно содержащий этап, на котором направляют запросы на планировщик.
12. Способ по п.10, в котором при выполнении первого и второго заданий дополнительно выполняют запросы, когда происходит событие.
13. Способ по п.10, дополнительно содержащий этап, на котором опрашивают службу на предмет запросов.
14. Считываемый компьютером носитель, содержащий исполняемые компьютером команды для планирования выполнения приложений, предписывающие подачу запросов на запланированное выполнение задач, причем задачи сконфигурированы для контроля сетевых устройств в первом и втором доменах сети, обработку запросов в службе, которая реализована в компьютерном запоминающем устройстве и находится на связи с первым и вторым доменами, при этом обработка запроса включает в себя анализ запроса для определения задач, ассоциированных с первым доменом, анализ запроса для определения задач, ассоциированных со вторым доменом, создание первого задания из задач, ассоциированных с первым доменом, и создание второго задания из задач, ассоциированных со вторым доменом, сохранение первого задания в базе данных планировщика, ассоциированной с первым доменом, и сохранение второго задания в базе данных планировщика, ассоциированной со вторым доменом, выполнение первого задания в планировщике первого домена и выполнение второго задания в планировщике второго домена, сбор, в упомянутой услуге, данных, ассоциированных с выполнением первого задания и второго задания, сравнение, в упомянутой услуге, собранных данных от первого задания с первым шаблоном задач базы данных управления конфигурацией посредством выполнения правил, ассоциированных с первым шаблоном задач, для формирования состояния, причем эти правила обеспечивают основу для определения того, было ли выполнение задач первого задания успешным, сравнение, в упомянутой услуге, собранных данных от второго задания со вторым шаблоном задач базы данных управления конфигурацией посредством выполнения правил, ассоциированных со вторым шаблоном задач, для формирования состояния, причем эти правила обеспечивают основу для определения того, было ли выполнение задач второго задания успешным, сообщение о состоянии первого и второго заданий в базу данных управления конфигурацией.
15. Считываемый компьютером носитель по п.14, в котором команды дополнительно предписывают выполнение опроса службы на предмет запросов.
16. Считываемый компьютером носитель по п.14, в котором команды дополнительно предписывают сохранение собранных данных в базе данных управления конфигурацией.
РИСУНКИ
|
|