|
(21), (22) Заявка: 2008128141/28, 11.07.2008
(24) Дата начала отсчета срока действия патента:
11.07.2008
(46) Опубликовано: 10.01.2010
(56) Список документов, цитированных в отчете о поиске:
RU 2159929 С1, 27.11.2000. RU 2185612 C2, 20.07.2002. RU 2304764 C1, 15.02.1993. US 5171524 А1, 15.12.1992.
Адрес для переписки:
121467, Москва, ул. Молодогвардейская, 10, ФАУ “25 ГосНИИ химмотологии Минобороны России”
|
(72) Автор(ы):
Астафьев Валерий Александрович (RU), Исаев Александр Васильевич (RU), Тимофеев Федор Владимирович (RU), Кузнецов Андрей Александрович (RU), Сузиков Владимир Викторович (RU)
(73) Патентообладатель(и):
Федеральное автономное учреждение “25 Государственный научно-исследовательский институт химмотологии Министерства обороны Российской Федерации” (RU)
|
(54) СПОСОБ ОПРЕДЕЛЕНИЯ КОРРОЗИОННОЙ АКТИВНОСТИ ТОПЛИВ ДЛЯ РЕАКТИВНЫХ ДВИГАТЕЛЕЙ
(57) Реферат:
Изобретение относится к способам оценки эксплуатационных свойств топлив, в частности к оценке их коррозионной активности. Способ определения коррозионной активности топлив для реактивных двигателей, при котором происходит взаимодействие в реакционной емкости специально подготовленной контрольной пластины и анализируемого топлива при температуре 150°С в течение 3 ч, в процессе которого фиксируют текущие значения электрического сопротивления контрольной пластины Ri, строят графическую зависимость изменения электрического сопротивления по времени Ri=f( i), определяют мгновенные скорости изменения электрического сопротивления контрольной пластины, из которых выбирают максимальное значение этой скорости Vmax, по которой определяют момент времени Vmax, соответствующий максимальной скорости, и по графической зависимости Ri=f( i) находят значение электрического сопротивления RVmax для этого момента времени, в качестве информационного показателя коррозионной активности топлив используют разность между RVmax и начальным значением электрического сопротивления Rнач, сравнивают полученную величину с максимально допустимым значением, за которое принимают 200 Ом, и при значении информационного показателя более 200 Ом топливо для реактивных двигателей считают коррозионно-активным. Целью предложенного изобретения является повышение точности и достоверности определения коррозионной активности топлив для реактивных двигателей при взаимодействии их с металлами и сплавами. 4 ил., 1 табл.
Изобретение относится к способам оценки эксплуатационных свойств топлив, в частности к оценке их коррозионной активности, и может быть использовано в химической, нефтехимической и авиационной отраслях промышленности.
Коррозионно-активные компоненты топлив для реактивных двигателей в процессе эксплуатации авиационных газотурбинных двигателей могут вызывать повышенный износ деталей их топливных насосов, а образующиеся продукты коррозии забивать каналы автоматики, что оказывает значительное влияние на эксплуатационную надежность авиационной техники. Топлива для реактивных двигателей (авиакеросины) могут значительно отличаться по коррозионной активности в зависимости от марки, а также от способа производства в пределах одной марки.
Известен способ определения скорости коррозии, включающий измерение поляризационного сопротивления Rpb двух электродов, в системе металл-электролит; скорость коррозии определяют по формуле:

где i – скорость коррозии металла;
К – коэффициент пропорциональности;
S – площадь поверхности одного электрода;
Rpo – поляризационное сопротивление двух электродов, выполненных из разных металлов;
Rpb – поляризационное сопротивление двух электродов, выполненных из одного металла (RU 2159929, G01N 17/00, 1999 г.).
Также известен способ измерения скорости коррозии металлов и сплавов, включающий размещение образца в коррозионной среде, измерение потенциала коррозии, наложение на образец постоянного потенциала, равного потенциалу коррозии, изменение скорости сопряженной катодной реакции, выдержку образца в коррозионной среде до установившегося значения тока и измерение этого значения тока; скорость сопряженной катодной реакции изменяют за счет изменения скорости обтекания образца коррозионной средой при постоянной концентрации деполяризатора, устанавливают приложенный к образцу потенциал величиной, равной – 0,55 В НВЭ, измеряют установившееся значение предельных токов при измененном и исходном режимах обтекания образца коррозионной средой, определяют ток коррозии по измеренным трем значениям токов по формуле:

где Iкор – ток коррозии, А;
i – установившееся значение тока при потенциале коррозии при изменении условий обтекания образца коррозионной средой, А;
id1 – предельный диффузионный ток восстановления деполяризатора при исходном режиме обтекания образца коррозионной средой, А;
id2 – предельный диффузионный ток при измененном режиме перемешивания среды, А;
знак «-» следует брать при увеличении скорости перемешивания по отношению к исходной;
знак «+» следует брать при уменьшении скорости обтекания образца коррозионной средой;
и по величине тока коррозии судят о скорости коррозии образца (RU 2185612, G01N 17/00, 2000 г.).
Известно устройство для контроля активности среды с датчиком, выполненным в виде перевернутого полого корпуса с днищем, внутри которого параллельно днищу размещены две плоские катушки индуктивности с расположенным между ними диэлектриком, а чувствительный элемент закреплен на химстойком изоляционном материале одной своей стороной параллельно катушкам индуктивности, датчик выполнен с возможностью обеспечения
fч.э.=k·f0;
где 10 k 1;
f0 – частота генерации магнитного поля без чувствительного элемента, Гц;
fч.э. – частота генерации магнитного поля с чувствительным элементом, Гц.
Контроль коррозионной активности среды осуществляют регистрируя воздействие агрессивной среды на чувствительный элемент датчика (RU 2205383, G01N 17/04, 2000 г.).
Недостатками этих способов является невозможность определения коррозионной активности топлив для реактивных двигателей, не являющихся электролитами.
Наиболее близким к заявляемому способу по технической сущности и взятым за прототип является метод определения коррозионной активности при повышенных температурах [ГОСТ 18598-73 «Топливо для реактивных двигателей. Метод определения коррозионной активности при повышенных температурах»]. В этом методе коррозионную активность топлива оценивают по изменению массы пластинок из электролитической меди и бронзы марки ВБ-23НЦ, находящихся в топливе при проведении поэтапных испытаний (5 этапов) в течение 25 ч при соответствующих условиях испытания.
Пластинки размером (40×10×2)±0,2 мм обрабатывают шлифовальной шкуркой для удаления пятен и царапин. Замеряют длину, ширину и толщину пластинок с погрешностью не более 0,1 мм. Пластинки промывают спиртом, сушат и взвешивают с точностью до 0,0002 г. В два реакционных сосуда (один для меди, другой для бронзы) наливают по 400 см3 топлива, куда на подвесках помещают пластинки. Далее оба сосуда помещают в термостат, нагретый до температуры 150°С. Топливо термостатируют при указанной температуре в течение 5 ч; затем приборы охлаждают на воздухе, а топливо заменяют свежим, не удаляя при этом выпавший осадок. Эту операцию проводят 5 раз каждые пять часов. По окончанию испытаний пластинки вынимают из прибора, промывают от топлива и сушат при (100±2)°С. Образовавшиеся отложения на пластинках удаляют 30%-ным раствором серной кислоты.
Коррозионную активность топлива вычисляют по формуле:

где К – коррозионная активность топлива, г/м2 (например, для топлива ТС-1 не более 2,5 г/м2);
m – масса пластинки до испытания, г;
m1 – масса пластинки после испытания и удаления с нее отложений, г;
S – площадь пластинки, м2.
Недостатками данного метода являются значительная длительность, низкая точность и недостаточная чувствительность метода, обусловленные весовым способом определения показателя.
Технический результат изобретения – повышение точности и достоверности определения коррозионной активности топлив для реактивных двигателей при взаимодействии их с металлами и сплавами, используемыми для изготовления деталей топливных систем авиационных двигателей.
Указанный технический результат достигается тем, что в известном способе определения коррозионной активности топлив для реактивных двигателей, включающем взаимодействие в реакционной емкости специально подготовленной контрольной пластины и анализируемого топлива при температуре 150°С в течение заданного отрезка времени и последующую оценку коррозионной активности топлива по информационному показателю, согласно изобретению используют контрольную пластину из стекла, на которую с одной стороны равномерно нанесен слой металла, электрическое сопротивление которого составляет 10±1 Ом, взаимодействие контрольной пластины и анализируемого топлива осуществляют в течение 3 ч, в процессе которого фиксируют текущие значения электрического сопротивления контрольной пластины Ri, строят графическую зависимость изменения электрического сопротивления по времени Ri= ( i), определяют мгновенные скорости изменения электрического сопротивления контрольной пластины, из которых выбирают максимальное значение этой скорости Vmax, по которой определяют момент времени Vmах, соответствующий максимальной скорости, и по графической зависимости Ri= ( i) находят значение электрического сопротивления RVmax для этого момента времени, в качестве информационного показателя коррозионной активности топлив используют разность между RVmax и начальным значением электрического сопротивления Rнач, сравнивают полученную величину с максимально допустимым значением, за которое принимают 200 Ом, и при значении информационного показателя более 200 Ом топливо для реактивных двигателей считают коррозионно-активным.
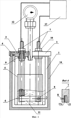
На фиг.1 представлено устройство для реализации способа определения коррозионной активности реактивных топлив (в разрезе);
фиг.2 – контрольная пластина (общий вид);
фиг.3 – зависимость изменения электрического сопротивления контрольного образца по времени испытания Ri= ( );
фиг.4 – зависимость скорости изменения электрического сопротивления контрольного образца по времени испытания VRi= ( ).
Устройство (фиг.1) содержит реакционную емкость 1 – стальной цилиндр, на фланец которого устанавливается крышка 2. Крышка 2 закрепляется накидной гайкой 3. Для герметизации реакционной емкости 1 между ней и крышкой 2 устанавливается резиновое уплотнительное кольцо 4. Внутри реакционной емкости 1 размещают стеклянный стакан 5 с испытуемым топливом 6. В крышке 2 имеются два отверстия для установки электродов 7, в нижних торцах которых выполнены прорези и перпендикулярно этим прорезям отверстия с резьбой для винтов 8. Электроды 7 электроизолированы от крышки 2 уплотнительными втулками 9 и закреплены гайками 10.
Контрольная пластина 11 (фиг.2) выполнена из стекла 11а (например, химико-лабораторного по ГОСТ 21400 или другого, по физико-химическим свойствам соответствующего ГОСТ 21400) размерами (40×10×2)±0,2 мм, на которую любым известным способом нанесен слой 11б сплава ВБ-23НЦ площадью 400 мм2, толщиной 0,0595 мкм, электрическое сопротивление которого составляет 10 Ом.
Максимально допустимое значение изменения электрического сопротивления контрольной пластины Rmax доп=200 Ом выбрано на основании экспериментальных данных, полученных при испытании различных топлив для реактивных двигателей с известным уровнем коррозионной активности. Проявление максимальной фиксируемой коррозионной активности топлив по отношению к металлам и сплавам, из которых изготавливают детали топливных систем авиационных газотурбинных двигателей, происходит в течение 3 ч, после чего наступает стабилизация. Это послужило обоснованием длительности испытания.
Контрольную пластину 11 вставляют в прорези электродов 7 и зажимают винтами 8, обеспечивающими контакт своими торцами с металлическим покрытием пластины. Контроль за герметичностью в реакционной емкости 1 осуществляют по показаниям манометра 12.
Способ определения коррозионной активности топлив для реактивных двигателей осуществляется следующим образом.
Пример. В качестве анализируемого образца топлива была испытана прямогонная керосиновая фракция топлива ТС-1 производства ОАО «Рязанская НПК» (далее: топливо). Контрольную пластину 11 с нанесенным слоем бронзы марки ВБ-23НЦ, начальное электрическое сопротивление которого равно 10,0 Ом, протирают льняной тканью, смоченной спиртом, ополаскивают чистым спиртом, высушивают между листами фильтровальной бумаги при комнатной температуре и устанавливают с помощью пинцета в прорези электродов 7 и поджимают винтами 8. К наружным концам электродов 7 подключают прибор 13 для измерения электрического сопротивления (например, марки Р 5035 или Р 5126).
В стеклянный стакан 5 наливают 50 см3 профильтрованного испытуемого топлива и помещают его на дно реакционной емкости 1. На реакционную емкость 1 устанавливают крышку 2 с электродами 7 и пластиной 11 и герметизируют при помощи накидной гайки 3.
После этого подготовленную реакционную емкость 1 помещают в предварительно разогретый до температуры (150±2)°С термостат 14 (например, аппарат типа ТСРТ-2). Момент помещения реакционной емкости 1 в термостат 14 принимают за начало испытания (точка “а” на фиг.3).
В процессе испытания в течение 3 ч фиксируют текущие значения электрического сопротивления Ri контрольной пластины, по заданной программе получают график изменения электрического сопротивления Ri= ( i) (фиг.3) по времени и по полученным данным строят график мгновенной скорости изменения электрического сопротивления контрольной пластины по времени испытания Vi= ( i) (фиг.4). Выбирают значение максимальной скорости изменения электрического сопротивления Vmax (точка “b”) для испытуемого топлива (составляет 32 Ом/мин). Этой скорости соответствует момент времени Vmах=100 мин (точка “с”). Этому моменту времени Vmax=100 мин при Vmax=32 Ом/мин соответствует значение электрического сопротивления контрольной пластины 11 RVmax=316,8 Ом (точка “d”).
Коррозионную активность испытуемого топлива оценивают по изменению электрического сопротивления образца за время, прошедшее от начала испытания до достижения максимальной скорости коррозии, определяемое по формуле:
R=RVmax-Rнач=316,8-10,0=306,8 Ом.
Сравнивают полученное значение R с максимально допустимым значением Rmax доп, и поскольку R=306,8 Ом> Rmax доп=200 Ом, испытуемое топливо ТС-1 считают коррозионно-активным.
Заявленным способом и способом-прототипом были испытаны образцы топлив для реактивных двигателей (см. таблицу).
Как видно из результатов испытаний, приведенных в таблице, заявляемый способ позволяет подразделять топлива по уровню их коррозионной активности: наиболее коррозионно-активным является образец 3 ( R=306,8 Ом), наименее коррозионно-активным является образец 5 ( R=45,3 Ом). Заявляемый способ хорошо коррелирует со способом прототипа, однако, в отличие от него, позволяет прогнозировать ресурс работы топливных насосов высокого давления авиационных газотурбинных двигателей.
Применение изобретения позволяет оценить коррозионную активность топлив для реактивных двигателей по информационному показателю – изменению электрического сопротивления образца за время, прошедшее от начала испытания до достижения максимальной скорости коррозии при уменьшении материальных и трудовых затрат на проведение испытания без снижения уровня точности.

Формула изобретения
Способ определения коррозионной активности топлив для реактивных двигателей, включающий взаимодействие в реакционной емкости специально подготовленной контрольной пластины и анализируемого топлива при температуре 150°С в течение заданного отрезка времени и последующую оценку коррозионной активности топлива по информационному показателю, отличающийся тем, что используют контрольную пластину из стекла, на которую с одной стороны равномерно нанесен слой металла, электрическое сопротивление которого составляет 10±1 Ом, взаимодействие контрольной пластины и анализируемого топлива осуществляют в течение 3 ч, в процессе которого фиксируют текущие значения электрического сопротивления контрольной пластины Ri строят графическую зависимость изменения электрического сопротивления по времени Ri=f( i), определяют мгновенные скорости изменения электрического сопротивления контрольной пластины, из которых выбирают максимальное значение этой скорости Vmax, по которой определяют момент времени Vmax; соответствующий максимальной скорости, и по графической зависимости Ri=f( i) находят значение электрического сопротивления RVmax для этого момента времени, в качестве информационного показателя коррозионной активности топлив используют разность между RVmax и начальным значением электрического сопротивления Rнач, сравнивают полученную величину с максимально допустимым значением, за которое принимают 200 Ом, и при значении информационного показателя более 200 Ом топливо для реактивных двигателей считают коррозионно-активным.
РИСУНКИ
|