|
|
(21), (22) Заявка: 2008130719/28, 24.07.2008
(24) Дата начала отсчета срока действия патента:
24.07.2008
(46) Опубликовано: 10.01.2010
(56) Список документов, цитированных в отчете о поиске:
US 4206650 A, 10.06.1980. RU 2009466 C1, 15.03.1994. RU 72070 U1, 07.11.2007. SU 1432389 A1, 23.10.1988.
Адрес для переписки:
410071, г.Саратов, а/я 1017-ЗАО “Тесар-СО”
|
(72) Автор(ы):
Хабаров Николай Александрович (RU), Шмырев Михаил Павлович (RU), Калашинская Людмила Анатольевна (RU)
(73) Патентообладатель(и):
Закрытое акционерное общество “Тесар-СО” (RU)
|
(54) АНАЛИЗАТОР ЗАГРЯЗНЕНИЯ ЖИДКОСТИ
(57) Реферат:
Изобретение относится к измерительной технике, а именно к измерению размеров и определения количества частиц загрязнений, взвешенных в потоке исследуемой жидкости. Анализатор содержит устройство для ввода проб жидкости, включающее воронку 5, соединенную с подводящей системой, которая через штуцер 4 связана с измерительной камерой. Также анализатор содержит выпускной кран 15 и многоканальный блок индикации 3. При этом подводящая система имеет последовательно расположенные каналы с участками для осаждения частиц загрязнений, расширения 13 и сужения 14 объема. Воронка 5 соединена со штуцером 4 муфтой 6. Участок подводящей системы для осаждения частиц загрязнений расположен в муфте 6 под торцом воронки 5 в плоской шайбе 10 с центральным конусом 11, вершина которого обращена к воронке 5. А по периферии основания конуса 11 выполнены отверстия 12, сообщающиеся с участком расширения 13 объема подводящей системы. Целью предложенного изобретения является повышение точности измерений и надежности работы анализатора. 3 з.п. ф-лы, 2 ил.
Предлагаемое устройство относится к измерительной технике, а именно к измерению размеров и определению количества частиц загрязнений, взвешенных в потоке исследуемой жидкости.
Известен анализатор жидких проб согласно описанию изобретения к патенту РФ 2009466, G01N 15/02 от 1991.09.12. Устройство содержит реакционную камеру в виде корпуса с гнездом и размещенным в нем стаканом для пробирки с рабочим реактивом, затвор, фотоэлектрический датчик и измерительное устройство. Корпус имеет окно, затвор выполнен с возможностью вращения вокруг вертикальной оси и размещен между окном и установленным чувствительным элементом (датчиком) напротив окна.
Устройство дополнительно содержит крышку-дозатор, выполненную с внутренней конической полостью, закрытой прокладкой-воронкой, клавишу, установленную на направляющих с возможностью перемещения, рычаг и сдвигатель. При этом клавиша соединена с затвором посредством рычага и сдвигателя, а затвор выполнен в виде цилиндра с окном на боковой поверхности.
Принцип действия анализатора основан на регистрации свечения анализируемой жидкости в момент введения в рабочий реактив анализируемой пробы и преобразования в электрический сигнал с последующим его анализом.
Недостатком устройства является сложность механизма для ввода проб жидкости в фотоэлектрический датчик.
Известен прибор для определения содержания механических загрязнений в жидкости ПКЖ-904А согласно проспекту ОАО «НИТИ-Тесар». Прибор содержит устройство для ввода проб жидкости, включающее воронку, установленную вертикально на верхнем торце изогнутого трубопровода с последовательно расположенными участками для осаждения частиц загрязнений, расширения и сужения объема, который через штуцер соединен с измерительной камерой фотоэлектрического датчика, преобразующего световой сигнал в электрический, выпускной кран и многоканальный блок индикации.
К недостаткам прибора следует отнести нижеследующее.
Устройство для ввода проб жидкости расположено непосредственно над многоканальным блоком индикации. Такая конструкция не исключает попадания контролируемых жидкостей на электронные элементы блока индикации. Наличие горизонтального участка для осаждения частиц загрязнений с двумя радиусными закруглениями и участков расширения и сужения объема увеличивает вертикальные габариты прибора и снижает его устойчивость. Наиболее существенным недостатком является сложность изготовления, обусловленная необходимостью соединения (сваркой) участков расширения и сужения устройства для ввода проб жидкости, невозможность обеспечения должной обработки внутренней поверхности участков, что приводит к задержке и оседанию частиц загрязнений, а следовательно, к снижению достоверности и точности измерений.
Расположение выпускного отверстия крана ниже измерительной камеры создает возможность попадания воздушного пузыря при полном или частичном выпуске пробы контролируемой жидкости из измерительной камеры, что приведет к искажению результатов измерений.
Техническим результатом изобретения является повышение точности измерений и надежности работы анализатора.
Технический результат изобретения достигается тем, что в анализаторе загрязнения жидкости, содержащем устройство для ввода проб жидкости, включающее воронку, соединенную с подводящей системой, имеющей последовательно расположенные каналы с участками для осаждения частиц загрязнений, расширения и сужения объема, которая через штуцер связана с измерительной камерой, выпускной кран и многоканальный блок индикации, проведены следующие изменения.
Воронка соединена со штуцером муфтой, а участок для осаждения частиц подводящей системы расположен в муфте под торцом воронки в плоской шайбе с центральным конусом, вершина которого обращена к воронке, а по периферии основания конуса выполнены отверстия, сообщающиеся с участком расширения объема подводящего канала. Участок расширения подводящего канала выполнен в муфте, а участок сужения – на торце штуцера, соединяющего подводящий канал с измерительной камерой.
Возможен вариант конструкции, когда участки расширения и сужения подводящей системы выполнены внутри штуцера.
На выходе выпускного крана жидкости расположен трубопровод со сливным отверстием, находящимся выше уровня измерительной камеры.
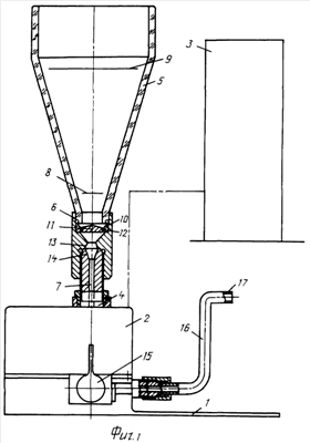
Изобретение иллюстрируется чертежами. На фиг.1 показана конструктивная схема анализатора загрязнения жидкости; на фиг.2 – вариант выполнения анализатора (частичный осевой разрез).
На основании 1 в корпусе 2 размещается измерительная камера (не показана), соединенная с многоканальным блоком индикации 3, установленным отдельно от основания 1. Штуцер 4 соединяет измерительную камеру и воронку 5 с помощью муфты 6. В штуцере 4 предусмотрен осевой канал 7, а на воронке 5, выполненной из прозрачного материала, нанесены круговые уровни 8 и 9, ограничивающие объем, соответствующий заданному стандартом объему контрольной пробы. Под торцом воронки 5 в муфте 6 размещена плоская шайба 10 с центральным конусом 11, вершина которого обращена к воронке 5. В шайбе 10 по периферии основания центрального конуса 11 выполнены концентрические отверстия 12, соединяющие полость воронки 5 с осевым каналом 7 в штуцере 4. В муфте 6 имеется участок расширения 13 (фиг.1), при этом участок сужения 14 выполнен на торце штуцера 4 в канале 7.
На фиг.2 показан вариант устройства с участками расширения 13 и сужения 14, расположенными внутри штуцера 4.
Внизу корпуса 2 под измерительной камерой установлен выпускной кран 15, на выходе которого размещен трубопровод 16, причем сливное отверстие 17 трубки 16 расположено выше измерительной камеры, но ниже нижнего кругового уровня 8 на воронке 5.
Анализатор загрязнения жидкости работает следующим образом.
Перед контролем пробы жидкости измерительная камера, подводящая система и часть воронки 5 до уровня нижней метки 8 должны быть заполнены такой же жидкостью, что и контролируемая, с целью удаления воздуха из камеры и подводящего канала. Затем в воронку до уровня верхней метки заливается контрольная проба жидкости, делается выдержка от 1 до 4 минут (в зависимости от вязкости контролируемой жидкости) для удаления воздушных пузырьков, образовавшихся при заливке пробы (пузырьки воздуха представляют собой оптическую неоднородность и будут регистрироваться блоком индикации как частицы загрязнений, что приводит к искажению результатов измерения). Затем открывается кран 15, начинается движение потока жидкости с частицами через измерительную камеру, одновременно включаются измерительная камера и блок индикации 3 и начинается процесс измерения.
Если бы каналы подводящей системы, расположенные между воронкой 5 и измерительной камерой, были выполнены прямоточными, часть частиц загрязнений за время выдержки прошла бы через измерительную камеру под действием гравитационных сил и, поскольку, во время выдержки, измерительная камера и блок индикации 3 не включены, они были бы не зарегистрированы.
В приведенной конструкции за время выдержки происходит осаждение частиц загрязнений на поверхности конуса 11, угол наклона которого выбран таким образом, что в статическом режиме (без движения потока жидкости) происходит оседание и задержка частиц на конусной поверхности, а при движении потока жидкости обеспечивается смыв частиц с конусной поверхности при номинальном расходе жидкости через измерительную камеру. При открытии крана 15 частицы, скопившиеся на поверхности конуса 11, будут смываться потоком жидкости, и через отверстия 12 шайбы 10, расположенные по периферии основания конуса, попадут в вертикальный участок подводящего канала с расширением 13 и сужением 14, где за счет турбулизации потока происходит рассеивание и равномерное распределение частиц по потоку жидкости, чтобы частицы не прошли через измерительную камеру скоплениями и конгломератами, что привело бы к искажению результатов измерений.
Выполнение конструкции анализатора загрязнения жидкости таким образом, что устройство для ввода проб жидкости расположено отдельно от многоканального блока индикации 3, исключает попадание жидкости на электронные блоки прибора, что повышает надежность работы анализатора. Исполнение участка осаждения устройства для ввода проб жидкости в виде плоской шайбы 10 с центральным конусом 11 и отверстиями 12 по периферии основания конуса 11 и размещение участка сужения 14 на торце штуцера 4 (фиг.1), особенно размещение участков 13 и 14 внутри штуцера 4 (фиг.2) позволяет уменьшить высоту устройства, обеспечивает простоту изготовления, гарантирует высокую степень обработки участков осаждения, расширения и сужения подводящей системы, вследствие чего достигается улучшение смыва частиц загрязнений, полное донесение их до измерительной камеры, что обеспечивает повышение точности измерений.
Установка трубопровода 16 на выходе выпускного клапана крана 15 с отверстием 17, расположенным выше измерительной камеры, исключает возможность попадания воздушного пузыря при выпуске объема контрольной пробы жидкости, вследствие чего также повышается точность измерений.
Формула изобретения
1. Анализатор загрязнения жидкости, содержащий устройство для ввода проб жидкости, включающее воронку, соединенную с подводящей системой, имеющей последовательно расположенные каналы с участками для осаждения частиц загрязнений, расширения и сужения объема, которая через штуцер связана с измерительной камерой, выпускной кран и многоканальный блок индикации, отличающийся тем, что воронка соединена со штуцером муфтой, участок подводящей системы для осаждения частиц загрязнений расположен в муфте под торцом воронки в плоской шайбе с центральным конусом, вершина которого обращена к воронке, а по периферии основания конуса выполнены отверстия, сообщающиеся с участком расширения объема подводящей системы.
2. Анализатор загрязнения жидкости по п.1, отличающийся тем, что участок расширения подводящей системы выполнен в муфте, а участок сужения – на торце штуцера.
3. Анализатор загрязнения жидкости по п.1, отличающийся тем, что участок расширения подводящей системы и участок сужения выполнены внутри штуцера для соединения камеры с подводящим каналом.
4. Анализатор загрязнения жидкости по п.1, или 2, или 3, отличающийся тем, что после измерительной камеры и выпускного крана жидкости размещен трубопровод со сливным отверстием, расположенным выше измерительной камеры.
РИСУНКИ
|
|