|
|
(21), (22) Заявка: 2008138515/11, 26.09.2008
(24) Дата начала отсчета срока действия патента:
26.09.2008
(46) Опубликовано: 10.01.2010
(56) Список документов, цитированных в отчете о поиске:
RU 56612 U1, 10.09.2006. RU 2219514 C2, 20.12.2003. RU 2227908 C2, 27.04.2004. CN 1995949 A, 11.07.2007. JP 2007132885 A, 31.05.2007.
Адрес для переписки:
644040, г.Омск, а/я 297, ООО НПЦ “Динамика”, В.Н. Костюкову
|
(72) Автор(ы):
Костюков Владимир Николаевич (RU), Костюков Алексей Владимирович (RU), Лагаев Александр Александрович (RU), Зайцев Андрей Валерьевич (RU)
(73) Патентообладатель(и):
Общество с ограниченной ответственностью НПЦ “Динамика” – Научно-производственный центр “Диагностика, надежность машин и комплексная автоматизация” (RU)
|
(54) СИСТЕМА ДИАГНОСТИКИ КОЛЕСНО-МОТОРНЫХ БЛОКОВ МОТОР-ВАГОННОГО ПОДВИЖНОГО СОСТАВА
(57) Реферат:
Изобретение относится к области технической диагностики подвижного состава железнодорожного транспорта. В состав системы включены выносной блок измерения вибрации, шесть датчиков вибрации, датчик частоты вращения и блок управления приводом колесно-моторного блока. ЭВМ соединена с блоком связи с полевым оборудованием, который соединен с выносным блоком измерения вибрации и блоком управления приводом колесно-моторного блока, который подключен к цепям питания электродвигателя диагностируемого колесно-моторного блока мотор-вагонного подвижного состава. Датчик частоты вращения размещен на колесе колесно-моторного блока. Датчики вибрации установлены на буксы колесной пары, опоры тягового двигателя, подшипники ведущей и ведомой шестерен редуктора колесно-моторного блока в зонах действия максимальных суммарных сил. Датчик частоты вращения через выносной блок измерения вибрации и блок связи с полевым оборудованием связан с блоком управления приводом колесно-моторного блока для поддержания заданного скоростного режима колесно-моторных блоков в процессе диагностирования. Система также снабжена беспроводным терминалом и входом обратной связи в блоке управления. Достигается повышение достоверности результатов диагностики технического состояния колесно-моторных блоков мотор-вагонного подвижного состава. 3 з.п. ф-лы, 1 ил.
Изобретение относится к области технической диагностики подвижного состава железнодорожного транспорта и может быть использовано для диагностики технического состояния колесно-моторных блоков (КМБ) мотор-вагонного подвижного состава (МВПС) на испытательных участках в производстве или ремонте.
Известна система диагностики по патенту РФ RU 2315275 C1, предназначенная для диагностики технического состояния электроподвижного состава. Она содержит диагностический пост, в состав которого включены ЭВМ с принтером и блок беспроводного интерфейса, а также датчики. Недостатком системы является низкая достоверность диагностики КМБ МВПС в силу малого количества датчиков и отсутствия возможности поддержания заданного скоростного режима работы механизма при измерении виброакустических сигналов в процессе диагностики.
Известно устройство вибродиагностики роторных механизмов по патенту РФ RU 2153660, МПК G01M 13/04 от 27.07.2000, содержащее вибродатчик, индикатор дефектов, которое также может быть использовано для диагностики КМБ МВПС. Недостатком этого устройства является низкая достоверность диагностики КМБ МВПС в силу малого количества датчиков и отсутствия возможности поддержания заданного скоростного режима работы механизма при измерении виброакустических сигналов в процессе диагностики.
Наиболее близким аналогом предлагаемого технического решения является полезная модель системы диагностики механизмов ОМСД-01 (02) по патенту РФ RU 56611, G01M 17/08 от 10.09.2006, включающая ЭВМ, аналогово-цифровой преобразователь, усилители с датчиками вибрации и стенды диагностики буксовых подшипников, диагностики тяговых двигателей, диагностики КМБ и стенд диагностики КМБ под локомотивом. На каждый стенд установлен один датчик вибрации. Данная полезная модель системы позволяет реализовать последовательную поузловую комплексную диагностику КМБ и может быть использована для диагностики КМБ МВПС.
Недостатками наиболее близкого аналога, принятого за прототип, являются:
– низкая достоверность диагностики КМБ ввиду высокой анизотропии каналов распространения колебаний от диагностируемых узлов КМБ: подшипников букс, подшипников электродвигателя, подшипников редуктора, к месту установки единственного датчика, которая зависит от массы факторов, прежде всего от технического состояния диагностируемых узлов КМБ и качества их монтажа в сборе на тележке, что приводит к значительному изменению затухания виброакустических колебаний, отражающих различные неисправности КМБ в процессе его работы, на пути к датчику, не связанные с изменением технического состояния;
– низкая достоверность диагностики КМБ и его узлов из-за отсутствия возможности поддержания заданного скоростного режима работы механизма при измерении виброакустических сигналов в процессе диагностики;
– высокие временные затраты и трудоемкость ввиду последовательного поузлового диагностирования КМБ, вызванные необходимостью перестановки единственного датчика и непроизводительными перемещениями оператора, осуществляющего эти перестановки у стендов и управляющего процессом с клавиатуры ЭВМ, что также снижает достоверность результатов диагностирования.
Целью предлагаемого технического решения является повышение достоверности результатов диагностики КМБ МВПС.
Поставленная цель в предлагаемом техническом решении, системе диагностики колесно-моторного блока мотор-вагонного подвижного состава, содержащей усилитель с датчиками вибрации и диагностический пост, в состав которого включены ЭВМ с принтером и аналого-цифровой преобразователь, достигается тем, что она снабжена устройством вибродиагностики, содержащим выносной блок измерения вибрации и блок управления приводом колесно-моторного блока, выносной блок измерения вибрации содержит усилитель с датчиками вибрации, установленными на диагностируемые узлы колесно-моторного блока в зонах действия максимальных суммарных сил, и датчик частоты вращения, выход блока управления приводом колесно-моторного блока подключен к цепям питания тягового электродвигателя, в состав диагностического поста введен блок связи с полевым оборудованием, соединенный двунаправленной связью с ЭВМ, выносным блоком измерения вибрации и входом блока управления приводом колесно-моторного блока, причем аналого-цифровой преобразователь включен в состав блока связи с полевым оборудованием,
кроме того, тем, что блок управления приводом колесно-моторного блока снабжен входом обратной связи, к которому подключен выход датчика частоты вращения,
а также тем, что датчики вибрации установлены в нагруженной зоне подшипников букс, тягового двигателя и редуктора,
и дополнительно тем, что она снабжена беспроводным терминалом, а в состав диагностического поста введен блок беспроводного интерфейса, подключенный к ЭВМ.
Анализ отличительных признаков предлагаемой системы диагностики КМБ МВПС и обеспечиваемых ею технических результатов показал, что:
– одновременная установка датчиков вибрации на буксы колесной пары, опоры тягового двигателя, подшипники ведущей и ведомой шестерен редуктора колесно-моторного блока в зонах действия максимальных суммарных сил позволяет осуществлять единовременную комплексную диагностику КМБ МВПС с высокой степенью достоверности, исключив отрицательное влияние на достоверность анизотропии каналов распространения колебаний;
– включение в состав системы устройства вибродиагностики, содержащего выносной блок измерения вибрации с датчиком частоты вращения и блок управления приводом КМБ, их подключение через общую полевую шину и блок связи с полевым оборудованием к ЭВМ позволяют оперативно, удобно и с высокой степенью достоверности осуществлять автоматическую диагностику любого КМБ всего состава на заданном скоростном режиме без привлечения дополнительных устройств для питания и управления приводом КМБ;
– введение в состав диагностического поста блока связи с полевым оборудованием, содержащего аналого-цифровой преобразователь, соединенного двунаправленной связью с ЭВМ и через двунаправленную шину с выносным блоком измерения вибрации и входом блока управления приводом колесно-моторного блока, обеспечивает передачу измерительных сигналов и сигналов управления по единой полевой шине, что существенно упрощает монтаж системы в реальных условиях депо при протяженности диагностического стойла под поездом до нескольких тысяч метров;
– снабжение блока управления приводом колесно-моторного блока входом обратной связи и подключение к нему выхода датчика частоты вращения обеспечивают высокую точность поддержания стабильной частоты вращения, что повышает достоверность диагностики КМБ;
– установка датчиков вибрации в нагруженной зоне подшипников букс, тягового двигателя и редуктора упрощает реализацию системы диагностики в разных вариантах ее использования – при ремонте на стенде и под вагоном в депо;
– введение в состав диагностического поста блока беспроводного интерфейса, подключенного к ЭВМ, и включение в состав системы беспроводного терминала обеспечивают удаленное управление процессом диагностирования из любой точки участка испытаний, что позволяет одному оператору без помощников осуществлять диагностику всех КМБ электропоезда без увеличения трудоемкости и дополнительных временных затрат.
Анализ совокупности отличительных признаков показал, что структура и состав предложенной системы обеспечивают единовременную автономную автоматизированную комплексную с высокой степенью достоверности и полноты диагностику КМБ МВПС в сборе на участке испытаний как отдельно, так и под вагоном, что позволяет значительно сократить трудоемкость и временные затраты на их ремонт и поэлементную диагностику, исключает возникновение неисправностей в КМБ в результате проведения подготовительных и заключительных операций.
Таким образом, предложенная совокупность отличительных признаков, обеспечивающая полученный результат, представляется новой на существующем этапе развития науки и техники и превосходит существующий мировой уровень. Изобретение соответствует изобретательскому уровню, поскольку достигаемый результат определяется не только суммой отличительных признаков, но и результатом их тесного взаимодействия между собой.
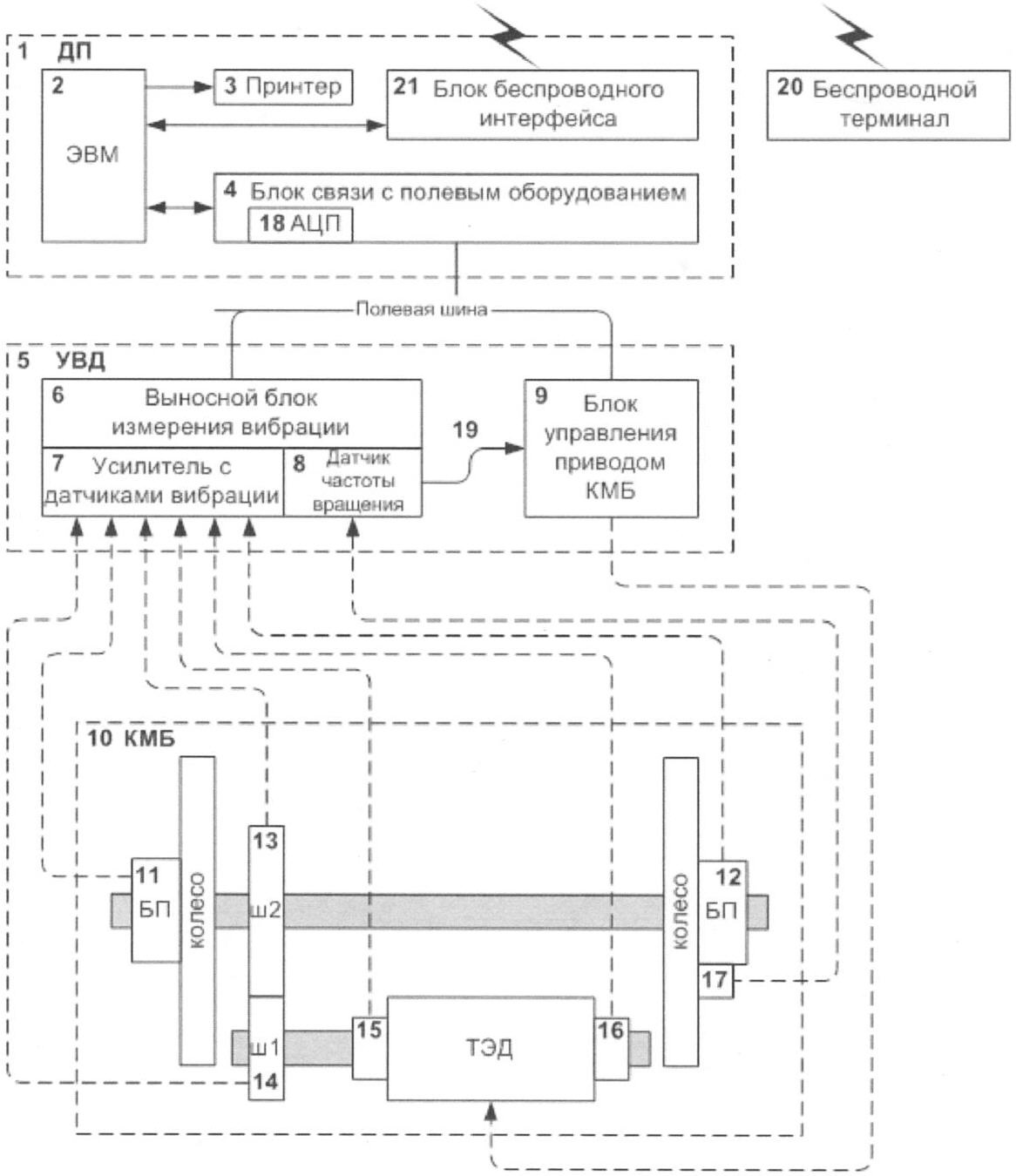
Сущность изобретения поясняется чертежом, на котором представлена система диагностики КМБ МВПС, содержащая:
– диагностический пост (ДП) 1, в состав которого включены ЭВМ 2 с принтером 3, блок связи с полевым оборудованием 4, включающий аналого-цифровой преобразователь (АЦП) 18, и в дополнительных реализациях блок беспроводного интерфейса 21;
– устройство вибродиагностики (УВД) 5, в состав которого включены выносной блок измерения вибрации 6 с усилителем с датчиками вибрации 7 и датчиком частоты вращения 8 и блок управления приводом КМБ 9;
– колесно-моторный блок (КМБ) 10, содержащий буксовые подшипники (БП) 11, 12, подшипники редуктора 13, 14, подшипники тягового двигателя 15, 16, на которые устанавливаются датчики вибрации 7 и место 17 установки датчика частоты вращения 8;
– беспроводный терминал 20, находящийся в кармане оператора.
Сплошными линиями показаны проводные соединения между элементами системы, пунктирными линиями показаны соединения элементов системы с КМБ МВПС, стрелки на концах линий указывают направления соединений.
Система диагностики КМБ МВПС работает следующим образом. Сначала производится подготовка к работе, которая заключается в установке датчиков вибрации и частоты вращения на соответствующие узлы 11-17 КМБ 10. Одновременная установка датчиков вибрации на буксы колесной пары, опоры тягового двигателя, подшипники ведущей и ведомой шестерен редуктора колесно-моторного блока в зонах действия максимальных суммарных сил позволяет осуществлять единовременную комплексную диагностику КМБ МВПС с высокой степенью достоверности, исключив отрицательное влияние на достоверность анизотропии каналов распространения колебаний. Установка датчиков вибрации в нагруженной зоне подшипников букс, тягового двигателя и редуктора позволяет исключить отрицательное влияние зазоров на прохождение сигналов вибрации и существенно повышает достоверность диагностирования. Датчик частоты вращения 8 устанавливают на буксу в месте 17 для измерения частоты мелькания спиц колеса для стабилизации частоты вращения путем организации цифровой, через ЭВМ 2 или непосредственной, через вход 19, обратной связи.
Диагностический пост 1 обеспечивает организацию рабочего места оператора, который управляет процессом диагностики с помощью ЭВМ 2. ЭВМ 2 осуществляет выполнение диагностических процедур, обработку сигналов, вычисление диагностических признаков, оценку технического состояния КМБ, формирование, сохранение и передачу на принтер 3 актов испытаний, при этом ЭВМ 2 через блок связи с полевым оборудованием 4 управляет блоками УВД 5, в том числе задает необходимый скоростной режим блоку 9 управления приводом КМБ 10 и дает команды на измерение выносному блоку измерения вибрации 6. Сигналы с датчиков 7 и 8 поступают в выносной блок измерения вибрации 6, где усиливаются и передаются на входы блока связи с полевым оборудованием 4, который с помощью встроенного АЦП 18 преобразует их в цифровой вид и передает в ЭВМ 2. При этом ЭВМ 2 каждый раз вычисляет и передает откорректированное значение частоты вращения тягового электродвигателя КМБ на вход блока 9 управления приводом КМБ 10 и тем самым обеспечивает обратную связь для поддержания заданного скоростного режима работы КМБ в процессе диагностики. Беспроводной терминал 20 регулярно запрашивает и считывает с ЭВМ 2 через блок беспроводного интерфейса 21 информацию о процессе диагностирования КМБ и соответственно обновляет ее на своем экране. Оператор управляет процессом диагностики путем активации управляющих элементов на экране беспроводного терминала 20, при этом беспроводной терминал 20 отправляет команды ЭВМ 2 через блок беспроводного интерфейса 21 и ЭВМ 2 исполняет команды оператора.
Порядок диагностики КМБ МВПС рассмотрим на примере диагностики под вагоном при текущем ремонте ТР-1.
Оператор устанавливает выносной блок измерения вибрации 6 в непосредственной близости с диагностируемым КМБ 10, устанавливает датчики вибрации 7 на узлы 11-16 КМБ 10 в зонах действия максимальных суммарных сил и датчик частоты вращения 8 на буксу колеса в месте 17. Далее оператор поднимает колесную пару КМБ 19 с помощью домкратов и подключает блок 9 управления приводом КМБ к цепям питания тягового двигателя (ТЭД). Удостоверившись в правильности подключения и установки датчиков, оператор проходит в диагностический пост 1 и отдает команду ЭВМ 2, начинается процесс диагностики КМБ. Система посредством ЭВМ 2 отдает команду включения блоку 9 управления приводом КМБ, который обеспечивает питание двигателя КМБ с заданной частотой вращения. В процессе диагностики КМБ сигналы с датчиков вибрации 7 и датчика частоты вращения 8 поступают на входы выносного блока измерения вибрации 6, который передает их через блок связи с полевым оборудованием 4 в ЭВМ 2, где система автоматически их обрабатывает, в результате чего рассчитывает вектор диагностических признаков, формирует экспертные сообщения, производит оценку технического состояния КМБ, при этом ЭВМ 2 каждый раз вычисляет и передает откорректированное значение частоты вращения тягового электродвигателя КМБ на вход блока 9 управления приводом КМБ и тем самым обеспечивает обратную связь для поддержания заданного скоростного режима работы КМБ в процессе диагностики. При наличии у блока 9 управления приводом КМБ входа обратной связи 19 выход датчика частоты вращения 8 может быть непосредственно подключен ко входу обратной связи 19 блока 9, что существенно повышает быстродействие и точность поддержания стабильной частоты вращения тягового двигателя и обеспечивает повышение достоверности диагностирования КМБ. По завершении испытаний ЭВМ 2 подает команду выключения блоку управления приводом КМБ 9, который отключает питание тягового двигателя КМБ. Далее ЭВМ 2 формирует протокол испытаний с результатами диагностики КМБ и заключением о годности КМБ к эксплуатации и по команде оператора печатает протокол на принтере 3 (Приложение 1). Процесс диагностики КМБ, включая подготовительные операции, занимает не более 10 минут.
Таким образом, одновременная установка датчиков вибрации на буксы колесной пары, опоры тягового двигателя, подшипники ведущей и ведомой шестерен редуктора колесно-моторного блока в зонах действия максимальных суммарных сил позволяет осуществлять единовременную комплексную диагностику КМБ МВПС с высокой степенью достоверности, исключив отрицательное влияние на достоверность анизотропии каналов распространения колебаний; включение в состав системы устройства вибродиагностики, содержащего выносной блок измерения вибрации с датчиком частоты вращения и блок управления приводом КМБ, их подключение через общую полевую шину и блок связи с полевым оборудованием к ЭВМ позволяют оперативно, удобно и с высокой степенью достоверности осуществлять автоматическую диагностику любого КМБ всего состава на заданном скоростном режиме без привлечения дополнительных устройств для питания и управления приводом КМБ; введение в состав диагностического поста блока связи с полевым оборудованием, содержащего аналого-цифровой преобразователь, соединенного двунаправленной связью с ЭВМ и через двунаправленную шину с выносным блоком измерения вибрации и входом блока управления приводом колесно-моторного блока, обеспечивает передачу измерительных сигналов и сигналов управления по единой полевой шине, что существенно упрощает монтаж системы в реальных условиях депо при протяженности диагностического стойла под поездом до нескольких тысяч метров; снабжение блока управления приводом колесно-моторного блока входом обратной связи и подключение к нему выхода датчика частоты вращения обеспечивают высокую точность поддержания стабильной частоты вращения, что повышает достоверность диагностики КМБ; установка датчиков вибрации в нагруженной зоне подшипников букс, тягового двигателя и редуктора упрощает реализацию системы диагностики в разных вариантах ее использования; введение в состав диагностического поста блока беспроводного интерфейса, подключенного к ЭВМ, и включение в состав системы беспроводного терминала обеспечивают удаленное управление процессом диагностирования из любой точки участка испытаний, что позволяет одному оператору без помощников осуществлять диагностику всех КМБ электропоезда. Предлагаемая система диагностики КМБ МВПС разработана и успешно прошла испытания в ряде локомотивных депо.

Формула изобретения
1. Система диагностики колесно-моторного блока мотор-вагонного подвижного состава, содержащая усилитель с датчиками вибрации и диагностический пост, в состав которого включены ЭВМ с принтером и аналого-цифровой преобразователь, отличающаяся тем, что она снабжена устройством вибродиагностики, содержащим выносной блок измерения вибрации и блок управления приводом колесно-моторного блока, выносной блок измерения вибрации содержит усилитель с датчиками вибрации, установленными на диагностируемые узлы колесно-моторного блока в зонах действия максимальных суммарных сил и датчик частоты вращения, выход блока управления приводом колесно-моторного блока подключен к цепям питания тягового электродвигателя, в состав диагностического поста введен блок связи с полевым оборудованием, соединенный двунаправленной связью с ЭВМ, выносным блоком измерения вибрации и входом блока управления приводом колесно-моторного блока, причем аналого-цифровой преобразователь включен в состав блока связи с полевым оборудованием.
2. Система по п.1, отличающаяся тем, что блок управления приводом колесно-моторного блока снабжен входом обратной связи, к которому подключен выход датчика частоты вращения.
3. Система по п.1, отличающаяся тем, что датчики вибрации установлены в нагруженной зоне подшипников букс, тягового двигателя и редуктора.
4. Система по п.1, отличающаяся тем, что она снабжена беспроводным терминалом, а в состав диагностического поста введен блок беспроводного интерфейса, подключенный к ЭВМ.
РИСУНКИ
|
|