|
|
(21), (22) Заявка: 2008113895/11, 08.04.2008
(24) Дата начала отсчета срока действия патента:
08.04.2008
(46) Опубликовано: 10.01.2010
(56) Список документов, цитированных в отчете о поиске:
Технологическое руководство по диагностированию тракторов и самоходных сельскохозяйственных комбайнов. – М.: ФГНУ «РОСИНФОРМАГРОТЕХ», 2006, с.173-178. RU 2129712 C1, 27.04.1999. SU 1576849 A1, 07.07.1990. RU 2230304 C2, 10.06.2004. US 6691062 B1, 10.02.2004.
Адрес для переписки:
664038, Иркутская обл., Иркутский р-н, п. Молодежный, 12, ФГОУ ВПО “ИрГСХА”, патентный отдел, В.Н. Хабардину
|
(72) Автор(ы):
Степанов Николай Васильевич (RU), Хабардин Андрей Васильевич (RU), Хабардин Василий Николаевич (RU)
(73) Патентообладатель(и):
Иркутская государственная сельскохозяйственная академия Федеральное государственное образовательное учреждение высшего профессионального образования (RU)
|
(54) ПРИБОР ДЛЯ ДИАГНОСТИРОВАНИЯ РУЛЕВОГО УПРАВЛЕНИЯ С КОМПЬЮТЕРНОЙ МЫШЬЮ – СИГНАЛИЗАТОРОМ НАЧАЛА ПОВОРОТА УПРАВЛЯЕМЫХ КОЛЕС
(57) Реферат:
Изобретение относится к диагностированию автотранспортных и военных колесных машин, в частности к средствам измерения суммарного люфта в рулевом управлении. Прибор для диагностирования рулевого управления с компьютерной мышью – сигнализатором начала поворота управляемых колес содержит сигнализатор начала поворота управляемых колес, представляющий собой концевой выключатель с сигнальной лампой, взаимодействующий с управляемым колесом, и элемент для установки концевого выключателя в заданное положение относительно шины управляемого колеса. Концевой выключатель выполнен в виде оптической компьютерной мыши со световым сигнализатором, взаимодействующей с управляемым колесом и с компьютерным ковриком, размещенным на подставке. Элемент для установки концевых выключателей в заданном положении относительно шины управляемых колес выполнен в виде эластичной ленты. Мышь присоединена к шине управляемого колеса и скоммутирована с источником электропитания в виде адаптера, присоединенного к сети переменного тока, либо в виде блока аккумуляторов или батареек. Источник электропитания по выходным параметрам электрического тока совпадает с входными параметрами электропитания мыши. Достигается улучшение эксплуатационных свойств прибора для диагностики рулевого управления. 1 з.п. ф-лы, 2 ил.
Изобретение относится к диагностированию автотранспортных и военных колесных машин, в частности к средствам измерения суммарного люфта в рулевом управлении. Кроме того, оно может быть использовано в приборостроении, а также в машиностроении при выпуске из производства автотранспортных средств.
Известно устройство для диагностирования рулевого управления транспортного средства, которое содержит дискретные датчики трогания управляемых колес, формирователь импульсов, схемы ИЛИ и преобразователи /1/.
Недостатки указанного устройства: имеет сложную и дорогостоящую конструкцию, мало приемлемо для широкого использования в эксплуатационных условиях.
Наиболее близким техническим решением, выбранным в качестве прототипа, является прибор КИ-28163 ГОСНИТИ для диагностирования рулевого управления. Он включает в себя сигнализатор начала поворота управляемых колес, который содержит концевой выключатель с сигнальной лампой, взаимодействующий с управляемым колесом, и стойку с рычагами для установки концевого выключателя в заданное положение относительно шины управляемого колеса /2/.
Недостатки известного устройства: концевой выключатель имеет ненадежную конструкцию, стойка с рычагами в совокупности образует массивное и крупногабаритное устройство. Установка выключателя при помощи стойки с рычагами – трудоемкий процесс. Более того, из-за конструктивных особенностей автотранспортных средств использование указанного сигнализатора не всегда представляется возможным.
Задачей изобретения является улучшение эксплуатационных свойств прибора для диагностирования рулевого управления на основе использования современных, надежных и доступных компьютерных элементов – мыши с ковриком.
Сущность изобретения заключается в следующем. Концевой выключатель выполнен в виде оптической компьютерной мыши со световым сигнализатором, взаимодействующей с управляемым колесом и с компьютерным ковриком, размещенным на подставке. Стойка с рычагами – в виде эластичной ленты. Мышь указанной лентой присоединена к шине управляемого колеса и скоммутирована с источником электропитания, который может быть выполнен в виде адаптера, присоединенного к сети переменного тока, либо в виде блока аккумуляторов или батареек. При этом источник электропитания по выходным параметрам электрического тока совпадает с входными параметрами электропитания мыши. Для обеспечения возможности наблюдений за началом поворота управляемых колес к световому сигнализатору мыши параллельно присоединена сигнальная лампа, размещенная в зоне видимости оператора-диагноста или на панели прибора.
В совокупности это позволяет создать на базе распространенных компьютерных элементов (мыши с ковриком) прибор для диагностирования рулевого управления с надежным, удобным в работе и универсальным сигнализатором начала поворота управляемых колес.
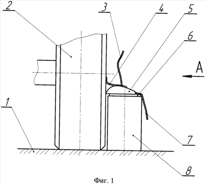
На фиг.1 и 2 изображен прибор для диагностирования рулевого управления с компьютерной мышью – сигнализатором начала поворота управляемых колес. При этом показана составная часть прибора – сигнализатор начала поворота управляемых колес, выполненный на базе оптической компьютерной мыши. Для этого мышь 5 посредством шнура 7 скоммутирована с источником электропитания, например с адаптером (не показан), присоединенным к сети переменного тока, либо с блоком аккумуляторов или батареек (не показаны). При этом источник электропитания по выходным параметрам электрического тока совпадает с входными параметрами электропитания компьютерной мыши 5. К световому сигнализатору мыши 5 параллельно при помощи шнура 3 присоединена сигнальная лампа (не показана), размещенная в зоне видимости оператора-диагноста или на панели прибора для диагностирования рулевого управления.
Принцип работы прибора следующий. На основание 1 вблизи управляемого колеса 2 (на расстоянии 2-3 см от боковой поверхности его шины) устанавливают подставку 8 с компьютерным ковриком 6. На коврик 6 кладут мышь 5 таким образом, чтобы ее свободный конец контактировал с поверхностью шины. В этом положении фиксируют мышь 5 с колесом 2 при помощи эластичной клеящейся ленты типа «скоч», один конец которой наклеивают на верхнюю поверхность мыши 5, а другой – на поверхность шины колеса 2. При необходимости (при отсутствии в мыши 5 встроенных элементов электропитания) подключают мышь 5 к источнику электропитания. Сигнализатор начала поворота управляемых колес готов к работе. Повертывают рулевое колесо, например, влево – наступает момент поворота управляемого колеса 2 влево, при котором его шина воздействует на мышь 5. При этом мышь 5 взаимодействует с ковриком 6 – включается световой сигнализатор мыши 5 и одновременно загорается сигнальная лампа. Производят установку нуля на приборе. Световой сигнализатор мыши 5 отключается автоматически – сигнальная лампа гаснет. Повертывают рулевое колесо вправо – соответственно наступает момент поворота управляемого колеса 2 вправо, при котором мышь 5 перемещается в этом же направлении посредством ленты 4. В результате включается световой сигнализатор мыши 5 и одновременно загорается сигнальная лампа. Фиксируют по прибору полученное значение люфта в градусах.
Предложен прибор для диагностирования рулевого управления с компьютерной мышью – сигнализатором начала поворота управляемых колес. Он включает в себя современные и доступные компьютерные элементы: оптическую мышь 5 со световым сигнализатором и коврик 6. Для этого мышь 5 посредством шнура 7 скоммутирована с источником электропитания, например с адаптером (не показан), присоединенным к сети переменного тока, либо с блоком аккумуляторов или батареек (не показаны). При этом источник электропитания по выходным параметрам электрического тока совпадает с входными параметрами электропитания компьютерной мыши 5. К световому сигнализатору мыши 5 параллельно при помощи шнура 3 присоединена сигнальная лампа (не показана), размещенная в зоне видимости оператора-диагноста или на панели прибора для диагностирования рулевого управления. Мышь 5 посредством клеящейся ленты 4 присоединена к боковой поверхности шины управляемого колеса 2 и размещена на подставке 8 с ковриком 6. В совокупности это позволило создать на базе распространенных компьютерных элементов (мыши с ковриком) прибор для диагностирования рулевого управления с надежным, удобным в работе и универсальным сигнализатором начала поворота управляемых колес. Предложенный прибор обеспечивает возможность проверки рулевого управления автотранспортных средств в соответствии с современными требованиями ГОСТ 51709-2001.
Источники информации
1. А.с. СССР 1661613, G01M 17/06, 18.04.89.
2. Технологическое руководство по диагностированию тракторов и самоходных сельскохозяйственных комбайнов. – М.: ФГНУ «Росинформагротех», 2006. – С.173-178 – прототип.
Формула изобретения
1. Прибор для диагностирования рулевого управления с компьютерной мышью – сигнализатором начала поворота управляемых колес, содержащий сигнализатор начала поворота управляемых колес, представляющий собой концевой выключатель с сигнальной лампой, взаимодействующий с управляемым колесом, и элемент для установки концевого выключателя в заданное положение относительно шины управляемого колеса, отличающийся тем, что концевой выключатель выполнен в виде оптической компьютерной мыши со световым сигнализатором, взаимодействующей с управляемым колесом и с компьютерным ковриком, размещенным на подставке, а элемент для установки концевых выключателей в заданном положении относительно шины управляемых колес выполнен в виде эластичной ленты, которой мышь присоединена к шине управляемого колеса и скоммутирована с источником электропитания в виде адаптера, присоединенного к сети переменного тока, либо в виде блока аккумуляторов или батареек, при этом источник электропитания по выходным параметрам электрического тока совпадает с входными параметрами электропитания мыши.
2. Прибор по п.1, отличающийся тем, что к световому сигнализатору мыши параллельно присоединена сигнальная лампа, размещенная в зоне видимости оператора-диагноста или на панели прибора.
РИСУНКИ
|
|