|
|
(21), (22) Заявка: 2007126290/28, 10.07.2007
(24) Дата начала отсчета срока действия патента:
10.07.2007
(43) Дата публикации заявки: 20.01.2009
(46) Опубликовано: 10.01.2010
(56) Список документов, цитированных в отчете о поиске:
RU 30433 U1, 27.06.2003. RU 2051338 C1, 27.12.1995. SU 1000778 A1, 28.02.1983. US 3728029 A, 17.04.1973.
Адрес для переписки:
630097, г.Новосибирск-97, а/я 21, В.В. Скорому
|
(72) Автор(ы):
Лабусов Владимир Александрович (RU), Пак Александр Сергеевич (RU), Зарубин Игорь Александрович (RU)
(73) Патентообладатель(и):
ОБЩЕСТВО С ОГРАНИЧЕННОЙ ОТВЕТСТВЕННОСТЬЮ “ВМК-Оптоэлектроника” (RU)
|
(54) МНОГОКАНАЛЬНЫЙ СПЕКТРОМЕТР
(57) Реферат:
Изобретение относится к аналитическому приборостроению. Спектрометр содержит корпус с входным окном, внутри которого установлена оптическая система, на выходе которой установлен многоэлементный фотодетектор, соединенный с электронным блоком управления и обработки выходных сигналов. Корпус выполнен герметичным, а установленный в нем многоэлементный фотодетектор выполнен в безкорпусном исполнении, при этом корпус спектрометра вакуумирован и/или заполнен инертным газом. Технический результат – снижение пределов обнаружения за счет уменьшения фонового излучения. 5 з.п. ф-лы, 2 ил.
Изобретение относится к аналитическому приборостроению, а именно к спектральным приборам, и может быть использовано, например, для создания малогабаритного, высокочувствительного и широкополосного многоканального спектрометра.
Спектральные приборы осуществляют разложение электромагнитного излучения оптического диапазона на монохроматические составляющие для качественного и количественного исследования спектрального состава света, излучаемого, поглощаемого, отражаемого либо рассеиваемого веществом. Исследования, проводимые с помощью спектральных приборов, позволяют судить о химическом составе вещества и характере физических процессов, связанных с излучением или взаимодействием света с веществом. При проведении исследований в условиях мобильных лабораторий необходимо чтобы спектральный прибор отвечал следующим требованиям:
– был компактным, из-за ограниченного объема мобильной лаборатории, которая может располагается на базе легкового автомобиля;
– обладал широким рабочим спектральным диапазоном для решения разных задач, связанных с обнаружением широкого круга веществ;
– имел высокое быстродействие для получения результатов измерений в реальном времени;
– обладал высокой надежностью и долговечностью, что обеспечивает высокую работоспособность при длительном сроке эксплуатации;
– имел низкие пределы обнаружения, позволяющие с высокой точностью проводить количественный анализ проб.
Известен спектральный прибор, содержащий корпус с входным окном, внутри которого установлена оптическая система, выход которой соединен с регистрирующим устройством на основе фотопластинок, позволяющим одновременно регистрировать широкий спектральный диапазон (см. Тарасов И.К. Спектральные приборы. – Л.: «Машиностроение», 1968. – с.161-162).
Основным недостатком известного прибора является невозможность его работы в реальном времени из-за длительного и сложного процесса проявления фотопластинок.
Известен спектральный прибор, содержащий корпус с входным окном, внутри которого установлена оптическая система, выход которой соединен с регистрирующим устройством на основе фотоэлектронных умножителей (ФЭУ), что позволяет проводить измерения с высокими чувствительностью и быстродействием (см. Тарасов К.И. Спектральные приборы. Л.: «Машиностроение», 1968 г., стр.300-301).
Основным недостатком известного прибора является ограниченное количество одновременно регистрируемых спектральных линий, равное количеству используемых ФЭУ.
Основным недостатком известного спектрометра является то, что он имеет недостаточно низкие пределы обнаружения, что связано с наличием высокого уровня фонового излучения из-за использования многоэлементного детектора, защищенного от окружающей среды специальным корпусом со стеклянным входным окном, на котором происходят паразитные переотражения как внутри него, так и между ним и многоэлементным детектором (уровень рассеянного излучения составляет 0,1%).
Задачей заявленного изобретения является устранение указанного недостатка, а именно снижение пределов обнаружения искомых веществ за счет снижения уровня фонового излучения.
Указанная задача в спектрометре, содержащем корпус с входным окном, внутри которого установлена оптическая система спектрометра, на выходе которой установлен многоэлементный фотодетектор, соединенный с электронным блоком его управления и обработки выходных сигналов, решена тем, что корпус выполнен герметичным, а установленный в нем многоэлементный фотодетектор – в безкорпусном исполнении, при этом корпус спектрометра вакуумирован и/или заполнен инертным газом под избыточным давлением.
Для снижения уровня фонового излучения в спектрометре используется многоэлементный фотодетектор в безкорпусном исполнении, что исключает паразитные переотражения как внутри стеклянного входного окна, так и между ним и многоэлементным фотодетектором. Герметичное выполнение корпуса позволяет защитить расположенные в нем элементы оптической системы от воздействия окружающей среды. Поскольку рабочий спектральный диапазон заявляемого спектрометра лежит от вакуумного ультрафиолета (УФ) до ближней инфракрасной области, то при работе спектрометра внутри корпуса присутствует УФ-излучение. Известно, что при взаимодействии УФ-излучения с воздухом образуются молекулы озона, который является активным окислителем, быстро разрушающим поверхности элементов оптической системы (поверхности зеркал, дифракционной решетки, многоэлементного фотодетектора и других). Для исключения такого взаимодействия корпус спектрометра вакуумирован и/или заполнен инертным газом.
Для контроля герметичности корпуса спектрометра, давление инертного газа внутри корпуса превышает атмосферное на 0,1-2 атм и измеряется, например, манометром. Наличие избыточного давления свидетельствует о герметичности корпуса.
Также для контроля герметичности корпуса спектрометра может быть использован вакуум, с уровнем не более 0,5 атм, измеряемый датчиком давления, например, манометром. Наличие избыточного давления выше указанного предела свидетельствует о нарушении герметичности корпуса.
Для снижения пределов обнаружения спектрометра за счет снижения собственного шума фотодетектора путем уменьшения и стабилизации его темного тока, фотодетектор установлен на охлаждаемую поверхность термоэлектрического холодильника Пельтье, нагреваемая поверхность которого установлена в тепловом контакте с корпусом спектрометра.
Для обеспечения герметичности корпуса, входное окно, выполнено в виде пластины из прозрачного в рабочем спектральном диапазоне вакуумно-плотного материала, например плавленого кварца, которая загерметизирована по периметру.
Также для обеспечения герметичности корпуса электрические контакты многоэлементного фотодетектора соединены с блоком управления и обработки выходных сигналов через соединительный кабель и вакуумно-плотный разъем, установленный в стенке корпуса.
Таким образом, использование герметичного корпуса и безкорпусного фотодетектора, установленного на термоэлектрическом холодильнике Пельтье, позволяет существенно уменьшить уровень фоновой засветки внутри спектрометра и уменьшить собственный шум фотодетектора, тем самым значительно понизить пределы обнаружения спектрометра, что не имеет аналогов среди технических решений, используемых в современных спектрометрах, а значит, заявляемое решение соответствует критерию «изобретательский уровень».
На фиг.1 представлен вариант выполнения заявляемого спектрометра на базе оптической схемы Эберта-Фасти и многоэлементного фотодетектора.
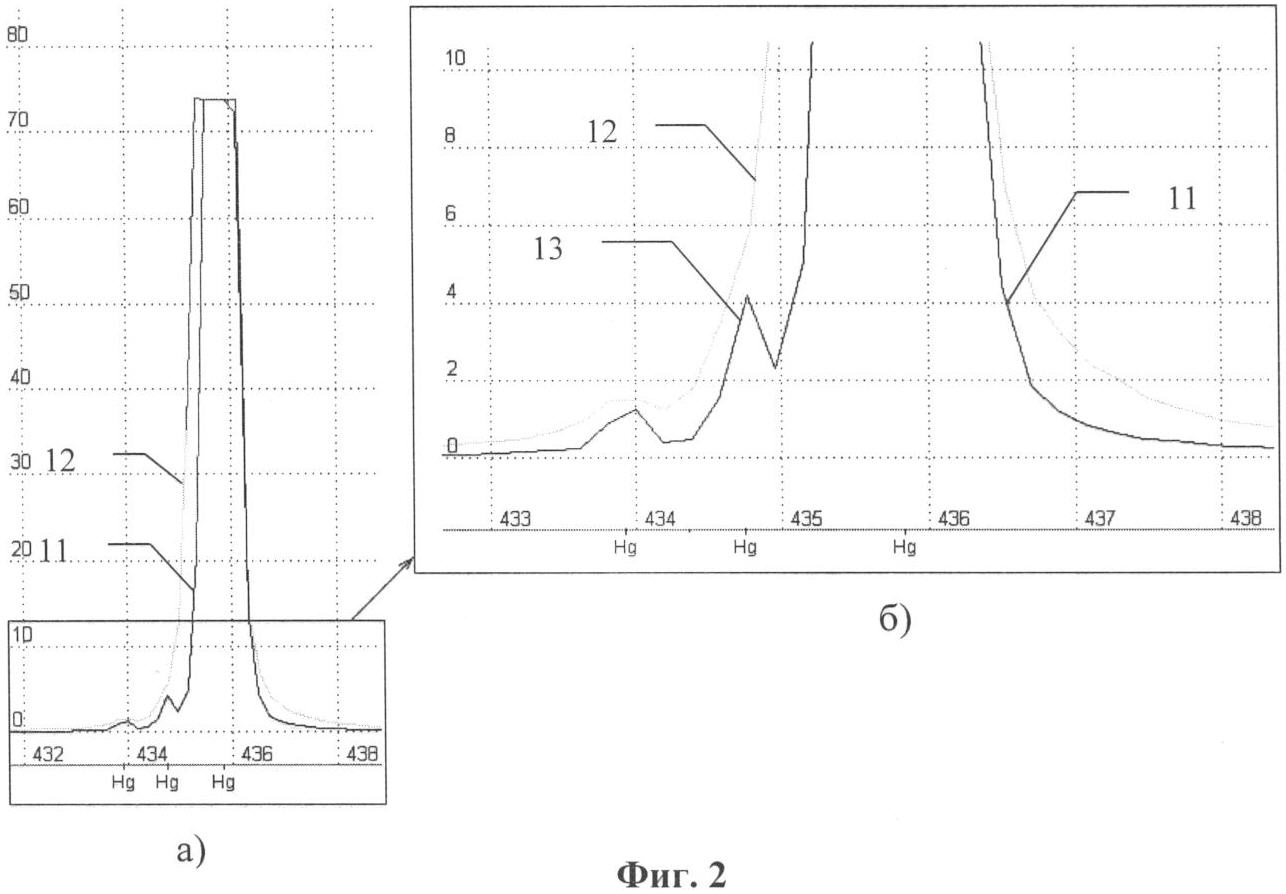
На фиг.2 представлены спектральные линии ртути, зарегистрированные опытным образцом заявляемого спектрометра и аналогичным по конструкции макетом спектрометра, отличающегося от заявляемого тем, что многоэлементный фотодетектор выполнен корпусным с покровным стеклом.
Спектрометр, представленный на фиг.1, содержит корпус 1, входное окно 2, оптическую систему 3, фотодетектор 4, термоэлектрический холодильник Пельтье 5, датчика давления 6, вакуумно-плотный разъем 7, электронной блок управления и регистрации сигналов многоэлементного фотодетектора 8, компьютер 9, анализируемое входное излучение 10.
Представленные на фиг.2 спектральная линия ртути Hg 435,8337 нм, зарегистрированная: 11 – заявляемым спектрометром; 12 – макетом спектрометра, отличающимся от заявляемого тем, что многоэлементный фотодетектор выполнен корпусным с покровным стеклом; спектральная линия ртути малой интесивности 13.
Спектрометр (фиг.1) работает следующим образом. Анализируемое излучение 10, направленное в спектрометр, проходит через входное окно 2, далее раскладывается в спектр оптической системой 3 (входной щелью, коллимирующим зеркалом, плоской дифракционной решеткой, фокусирующим зеркалом), спектр регистрируется на фотодетекторе 4, термостабилизируемом термоэлектрическим холодильником Пельтье 5. Давление в корпусе контролируется датчиком давления 6. Электронный блок 8 соединен с многоэлементным фотодетектором 4 через вакуумно-плотный разъем 7. Зарегистрированный выходной сигнал с блока 8 передается в компьютер 9, где анализируется с помощью программного пакета «Атом». При этом в корпусе спектрометра отсутствуют переотражения на покровном стекле и между ним и фотодетектором, приводящие к увеличению фонового излучения рядом с интенсивной линией. Можно заметить, что благодаря снижению уровня фонового излучения в заявляемом спектрометре, существенно понизились пределы его обнаружения и стало возможно регистрировать новую спектральную линию (13), находящуюся рядом с линией 11.
На фиг.2а представлена спектральная линия ртути Hg 435,8337 нм 12, зарегистрированная макетом спектрометра с покровным стеклом. Та же спектральная линия 11 зарегистрирована заявляемым устройством с более высоким разрешением, которое позволяет дополнительно разрешить мало интенсивную линию 13 (см. фиг.2б).
Примеры реализации.
Вариант выполнения 1. Был изготовлен малогабаритный спектрометр по оптической схеме Эберта-Фасти. Спектрометр имел герметичный корпус, наполненный инертным газом с избыточным давлением 1,2 атм, которое контролировалось манометром. Оптическая схема спектрометра включала входную щель шириной 15 мкм. В качестве входного и выходного зеркал использовались два зеркала с одинаковым радиусом кривизны 200 мм. Перед входным окном спектрометра была установлена линза для фокусировки анализируемого излучения на входной щели. Линейка фотодиодов БЛПП-369 (количество фотодиодов 2580, шаг размещения 12,5 и высота 1000 мкм, динамический диапазон 104) использовалась в безкорпусном исполнении. Стабилизация температуры линейки осуществляется с помощью серийного термоэлектрического модуля Пельтье марки К1-127-1/1.3 и датчика температуры (без корпусной транзистор марки КТ397А-2, один p-n переход которого используется в качестве диода), находящегося в тепловом контакте с кристаллом линейки. Фоточувствительная поверхность линейки устанавливается в область наилучшей фокусировки спектра с помощью специальных винтов, позволяющих юстировать фотодетектор в плоскости регистрации. В качестве электронного блока использовался блок электронной регистрации многоканального анализатора атомно-эмиссионного спектра (МАЭС), являющегося средством измерения интенсивности спектральных линий (зарегистрирован в Государственном реестре средств измерений РФ под 21013-01) и производимый предприятием ООО «ВМК-Оптоэлектроника», г.Новосибирск. Электронный блок был соединен с линейкой фотодиодов через вакуумно-плотный разъем серии 2РМГ. Данные с электронного блока передавались в компьютер по кабелю Ethernet. Математическая обработка выходного сигнала, его визуализация и т.д. проводились с помощью программы «Атом» (свидетельство регистрации 2004611127). Спектрометр имел следующие технические характеристики: рабочий спектральный диапазон – 390-860 нм; обратная линейная дисперсия – 0,19 нм/диод; фокусное расстояние – 100 мм; относительное отверстие – 1:6; минимальное время экспозиции – 10 мс; максимальное время экспозиции – не ограничено; габариты – 150×200×80 мм3; вес – 3 кг.
Вариант выполнения 2. Конструкция спектрометра, оптическая схема и ее основные элементы были выполнены аналогично варианту выполнения 1, но при этом корпус спектрометра был вакуумирован с давлением внутри 100 Па ( 0,001 атм). В качестве датчика давления использовался манометр терморезисторный марки 13ВТ003. Технические характеристики спектрометра аналогичны варианту выполнения 1.
Вариант выполнения 3. Конструкция спектрометра, оптическая схема и ее основные элементы были выполнены аналогично варианту выполнения 1, но при этом корпус спектрометра был вакуумирован с давлением внутри 100 Па и заполнен инертным газом с давлением 0,9 атм. В качестве датчика давления использовался манометр. Технические характеристики спектрометра аналогичны варианту выполнения 1.
Таким образом, заявляемое устройство позволяет за счет снижения уровня фонового излучения понизить предел обнаружения излучения.
Формула изобретения
1. Многоканальный спектрометр, содержащий корпус с входным окном, внутри которого установлена оптическая система, на выходе которой установлен многоэлементный фотодетектор, соединенный с электронным блоком его управления и обработки выходных сигналов, отличающийся тем, что корпус выполнен герметичным, а установленный в нем многоэлементный фотодетектор – в безкорпусном исполнении, при этом корпус спектрометра вакуумирован и/или заполнен инертным газом.
2. Устройство по п.1, отличающееся тем, что давление инертного газа внутри корпуса превышает атмосферное на 0,1-2 атм., а для его контроля установлен датчик давления, например манометр.
3. Устройство по п.1, отличающееся тем, что уровень вакуума составляет не более 0,5 атм., а для его контроля установлен датчик давления, например манометр.
4. Устройство по п.1, отличающееся тем, что многоэлементный фотодетектор установлен на охлаждаемую поверхность термоэлектрического холодильника Пельтье, нагреваемая поверхность которого установлена в тепловом контакте с корпусом спектрометра.
5. Устройство по п.1, отличающееся тем, что входное окно выполнено в виде пластины из прозрачного в рабочем спектральном диапазоне материала и загерметизировано по периметру.
6. Устройство по п.1, отличающееся тем, что электрические контакты многоэлементного фотодетектора через соединительный кабель и вакуумно-плотный разъем, установленный в стенке корпуса, соединены с блоком управления и обработки выходных сигналов.
РИСУНКИ
|
|