|
|
(21), (22) Заявка: 2008113944/11, 09.04.2008
(24) Дата начала отсчета срока действия патента:
09.04.2008
(46) Опубликовано: 10.01.2010
(56) Список документов, цитированных в отчете о поиске:
US 3394201 A, 30.11.1976. JP 2006029575 A, 02.02.2006. RU 2102696 C1, 20.01.1998. RU 2194944 C2, 20.12.2002.
Адрес для переписки:
141070, Московская обл., г. Королев, ул. Ленина, 4а, ОАО “РКК “Энергия” им. С.П. Королева”, отдел интеллектуальной собственности
|
(72) Автор(ы):
Асриев Юрий Иванович (RU)
(73) Патентообладатель(и):
Открытое акционерное общество “Ракетно-космическая корпорация “Энергия” имени С.П. Королева” (RU)
|
(54) УСТРОЙСТВО ДЛЯ РАЗДЕЛЕНИЯ ЭЛЕМЕНТОВ КОНСТРУКЦИИ
(57) Реферат:
Изобретение относится к ракетно-космической технике, может быть использовано в других отраслях народного хозяйства, где необходимо соединение и последующее разделение элементов конструкций. Устройство содержит корпус в виде болта с головной и резьбовой частями и внутренней полостью со стороны головной части, заряд взрывчатого вещества и воспламенитель, размещенные во внутренней полости. Головная и резьбовая части корпуса соединены между собой пайкой. Внутренняя полость размещена в головной части. Состав заряда взрывчатого вещества является термитным. Достигается исключение повреждений окружающих устройств, приборов, элементов конструкций. 2 ил.
Изобретение относится к ракетно-космической технике, может быть использовано в других отраслях народного хозяйства, где необходимо соединение и последующее разделение элементов конструкций (летательного аппарата и т.п.)
Известно устройство для разделения элементов конструкции (пироболт), содержащее корпус, выполненный в виде болта с головной и резьбовой частями и с внутренней полостью со стороны головной части, заряд взрывчатого вещества и воспламенитель, размещенные во внутренней полости [1].
Наиболее близким по технической сущности является устройство, содержащее корпус в виде болта с головной и резьбовой частями с внутренней полостью со стороны головной части, заряд взрывчатого вещества и воспламенитель, размещенные во внутренней полости [2].
Работа обоих этих устройства основана на разрушении стенок головной части корпуса устройства с помощью расположенного внутри взрывчатого вещества, как правило, бризантного. Воспламенитель инициирует взрывчатое вещество, которое, срабатывая, разрушает цилиндрическую часть корпуса. Таким образом нарушается механическая связь между элементами конструкций объекта.
Основным недостатком таких устройств является образование при срабатывании высоких ударных нагрузок, облака высокотемпературных газов и неуправляемо разлетающихся осколков, что может привести к нарушению работоспособности конструкций и приборов, расположенных вблизи устройства разделения.
Задачей предлагаемого технического решения является устранение при срабатывании устройства для разделения элементов конструкции ударных нагрузок, высокотемпературных газов и осколков.
Это достигается тем, что в устройстве для разделения элементов конструкции, содержащем корпус в виде болта с головной и резьбовой частями и внутренней полостью со стороны головной части, заряд взрывчатого вещества и воспламенитель, размещенные во внутренней полости, в отличие от прототипа головная и резьбовая части корпуса соединены между собой пайкой, при этом внутренняя полость размещена в головной части, а состав заряда взрывчатого вещества является термитным.
Техническим результатом является исключение повреждения окружающих устройств, приборов, элементов конструкций, например, космического корабля.
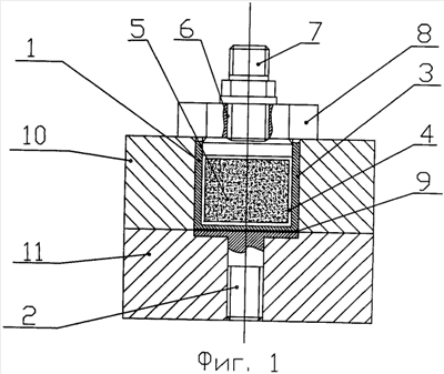
Общий вид устройства представлен на чертежах:
на фиг.1 – общий вид устройства для разделения элементов конструкции;
на фиг.2 – устройство после срабатывания.
Устройство для разделения элементов конструкции состоит из головной 1 и резьбовой 2 частей. Головная часть 1 выполнена в виде стакана 3 с внутренней полостью 4, в которой размещено взрывчатое вещество 5 термитного состава, и с гнездом 6 для установки воспламенителя 7, и снабжена, например, шестигранником 8 под крепежный инструмент. Резьбовая часть 2 представляет собой хвостовик болта с нарезанной на нем резьбой. Торец стакана 3 головной части 1 и торец резьбовой части 2 соединены между собой при помощи пайки 9. Устройство соединяет между собой два разделяемых элемента конструкции 10 и 11.
Устройство работает следующим образом. В исходном состоянии устройство соединяет элементы конструкции 10 и 11. От внешнего источника энергии (электричество, механическое воздействие и т.д.) срабатывает воспламенитель 7, который воспламеняет взрывчатое вещество 5. Термитный состав обладает невысокой скоростью горения с малым выделением газов, но при этом выделяется большое количество тепла. Температура горения термитных составов превышает 1000°С. Высокая температура расплавляет пайку 9, в результате чего устройство разделяется на две составные части – головную и резьбовую. Малое выделение газов и, следовательно, малое давление внутри головной части позволяют сохранить ее без нарушения целостности и герметичности. Таким образом, разделение элементов конструкции 10 и 11 происходит безударно, без выделения газов и разлета осколков. Это обстоятельство позволяет устанавливать устройство в любых местах объекта, сохраняя при этом безопасность конструкций и приборов.
Литература
1. Реферативный журнал «Вопросы ракетной техники», 10, 1969 г., “МИР”, с.52, рис.8.
2. Колесников К.С., Козлов В.И., Кокушкин В.В. Динамика разделения летательных аппаратов. М., “Машиностроение”, 1977, с.21, 22, рис.1.16.
Формула изобретения
Устройство для разделения элементов конструкции, содержащее корпус в виде болта с головной и резьбовой частями и внутренней полостью со стороны головной части, заряд взрывчатого вещества и воспламенитель, размещенные во внутренней полости, отличающееся тем, что головная и резьбовая части корпуса соединены между собой пайкой, при этом внутренняя полость размещена в головной части, а состав заряда взрывчатого вещества является термитным.
РИСУНКИ
|
|