|
|
(21), (22) Заявка: 2008121046/02, 26.05.2008
(24) Дата начала отсчета срока действия патента:
26.05.2008
(46) Опубликовано: 10.01.2010
(56) Список документов, цитированных в отчете о поиске:
US 2587243 А, 26.02.1952. АТТЕТКОВ А.А., ГНУСКИН A.M., ПЫРЬЕВ В.А., САГИДУЛЛИН Г.Г., “Резка металлов взрывом”, М.: СИП РИА, 2000, с.69-70. RU 2303232 С2, 20.07.2007. FR 2041498 А, 29.01.1971.
Адрес для переписки:
607188, Нижегородская обл., г. Саров, пр. Мира, 37, ФГУП “РФЯЦ-ВНИИЭФ”, начальнику ОПИНТИ
|
(72) Автор(ы):
Князев Александр Сергеевич (RU), Маляров Дмитрий Владиленович (RU)
(73) Патентообладатель(и):
Российская Федерация, от имени которой выступает государственный заказчик – Государственная корпорация по атомной энергии “Росатом” (RU), Федеральное государственное унитарное предприятие “Российский федеральный ядерный центр – Всероссийский научно-исследовательский институт экспериментальной физики” – ФГУП “РФЯЦ-ВНИИЭФ” (RU)
|
(54) КУМУЛЯТИВНОЕ МЕТАЮЩЕЕ УСТРОЙСТВО
(57) Реферат:
Изобретение относится к исследованиям высокоскоростного удара. Устройство состоит из заряда взрывчатого вещества (ВВ), устройства инициирования, осевой кумулятивной выемки, металлического вкладыша, закрепленного соосно внутри заряда ВВ. В устройстве заряд выполнен в виде кольца, устройство инициирования снабжено металлическим диском, соосно закрепленным на одной торцевой поверхности ВВ. Вкладыш выполнен кольцевым с конической наружной поверхностью. На наружной торцовой поверхности вкладыша соосно ему закреплен с зазором относительно ближней торцовой поверхности заряда ВВ дополнительный конусообразный металлический вкладыш с осевой выемкой в форме полусфера-цилиндр и вершиной конуса, обращенной внутрь заряда ВВ. Точки инициирования устройства инициирования расположены по кольцу на наружной боковой поверхности заряда. Изобретение позволяет проводить экспериментальные исследования высокоскоростного взаимодействия компактных элементов с преградами в расширенном диапазоне скоростей. 6 ил.
Изобретение относится к области экспериментальной физики и может быть использовано при исследовании высокоскоростного взаимодействия твердых тел, например при моделировании воздействия космического мусора искусственного происхождения на защиту космических объектов.
Для решения данной задачи требуется разработка специальных метающих устройств, позволяющих получать металлические компактные высокоскоростные элементы (КЭ). К таким устройствам относятся взрывные метающие устройства кумулятивного типа.
Известно метающее устройство, используемое в схеме двухступенчатого разгона элемента, состоящей из баллистической установки (БУ) и кумулятивного заряда (КЗ), который выстреливается из БУ (см. книгу под ред. Л.П.Орленко «Физика взрыва», т.2, М., «Физматлит», 2002 г., стр.40). Сначала кумулятивный заряд, содержащий цилиндрический заряд ВВ с металлической облицовкой кумулятивной выемки в форме полусфера-цилиндр в поддон, разгоняется с помощью легкогазовой или пороховой баллистической установки, затем с помощью взрывательного устройства детонирует ВВ кумулятивного заряда, в результате чего образуется компактный элемент, летящий со скоростью V0.
Основными недостатками этого метающего устройства являются громоздкая экспериментальная отработка двухступенчатой схемы метания, возможная проблема с инициированием заряда в полете вследствие наличия отклонения кумулятивного устройства от оси полета на больших расстояниях и недостаточная скорость КЭ.
Наиболее близким к заявляемому устройству является метательное устройство (см. книгу под ред. Л.П.Орленко «Физика взрыва», т.2, М., «Физматлит», 2002 г., стр.37), основанное на использовании кумулятивного заряда. Данное устройство выбрано в качестве прототипа. Это метательное устройство состоит из детонационного устройства (устройства инициирования), взрывчатого вещества, осевого кумулятивного конуса, кольцевого металлического вкладыша с конической наружной поверхностью, закрепленного соосно внутри заряда ВВ, и отсекающего механизма, состоящего из металлической пластины, взрывчатого вещества, детонирующего шнура. При инициировании взрывчатого вещества и нагружении детонационной волной из части кумулятивной воронки образуется кумулятивная струя, от которой отсекается элемент с помощью метания пластины сбоку на струю, или же для отсекания струи используется детонация бокового заряда.
Экспериментальные данные по формированию КЭ показали, что сформированный элемент имеет малую массу. К тому же могут возникнуть трудности по определению времени запуска отсекающего устройства.
Хорошо известно использование маховской ударной волны, давление в которой существенно выше, чем за фронтом стационарной волны, для повышения скорости КЭ.
Решаемой технической задачей является создание на базе имеющегося заряда ВВ устройства, формирующего при общем упрощении экспериментальной отработки металлический компактный элемент с повышенной по сравнению с прототипом скоростью КЭ.
Ожидаемый технический результат – проведение экспериментальных исследований высокоскоростного взаимодействия КЭ с преградами в расширенном диапазоне скоростей.
Технический результат достигается путем использования кумулятивного метающего устройства (КМУ), содержащего заряд ВВ, устройство инициирования, осевую кумулятивную выемку, кольцевой металлический вкладыш с конической наружной поверхностью, закрепленный соосно внутри заряда ВВ. В устройстве в отличие от прототипа заряд выполнен кольцевой формы, устройство инициирования снабжено металлическим диском, соосно закрепленным на свободной торцовой поверхности заряда ВВ, на наружной торцовой поверхности вкладыша соосно ему закреплен с зазором относительно ближней торцовой поверхности заряда ВВ дополнительный конусообразный металлический вкладыш, обращенный вершиной конуса внутрь кольцевого вкладыша и внутрь заряда ВВ, осевая кумулятивная выемка выполнена в форме полусфера-цилиндр на дополнительном вкладыше, точки инициирования устройства инициирования расположены по кольцу на наружной боковой поверхности заряда ВВ.
При ударе кольцевого металлического вкладыша по дополнительному металлическому вкладышу с вершиной конуса (конический формирователь), обращенной внутрь кольцевого вкладыша и внутрь заряда ВВ, в нем генерируется мощная плоская маховская ударная волна, нагружающая осевую выемку КМУ в форме полусфера-цилиндр, под действием которой выемка дополнительного металлического вкладыша-формирователя схлопывается, формируя высокоскоростную кумулятивную струю.
Выполнение в устройстве заряда ВВ в виде кольца снижает массу заряда и позволяет использовать имеющиеся заряды.
Для предотвращения затекания продуктов взрыва в область удара кольцевого вкладыша по дополнительному металлическому вкладышу, препятствующих формированию кумулятивной струи, устройство инициирования снабжено металлическим диском, соосно закрепленным на свободной торцовой поверхности заряда ВВ.
Выполнение кольцевого вкладыша с конической наружной поверхностью позволяет управлять градиентом скорости схождения к оси по его длине и, следовательно, влиять на угол разворота (конусности) на момент удара по дополнительному металлическому вкладышу-формирователю.
При взаимодействии кольцевого вкладыша с поверхностью дополнительного металлического вкладыша – конического формирователя в последнем возникает сходящаяся коническая УВ, которая отражается от оси устройства, образуя ножку Маха. При нагружении ударной волной из полусферической части осевой кумулятивной выемки формируется высокоскоростная кумулятивная струя, из которой при схлопывании цилиндрического участка кумулятивной выемки выделяется КЭ.
Зазор между ближней торцевой поверхностью заряда ВВ и основанием дополнительного металлического вкладыша необходим для ослабления воздействия на кольцевой вкладыш ударной волны, возникающей при отражении от периферийного участка дополнительного металлического вкладыша.
Для организации скользящего режима детонации точки инициирования устройства инициирования расположены по кольцу на наружной боковой поверхности заряда ВВ.
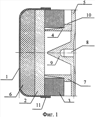
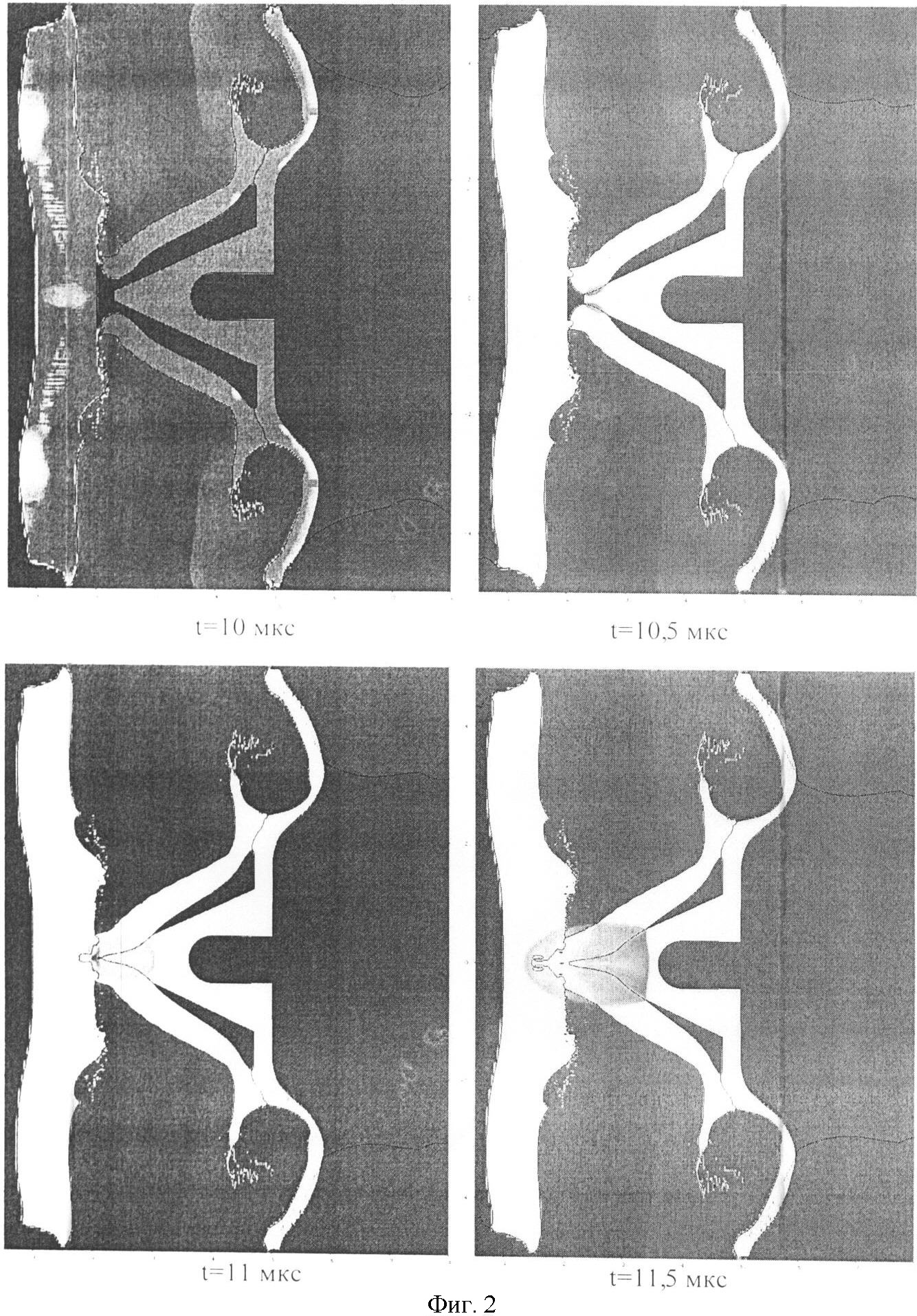
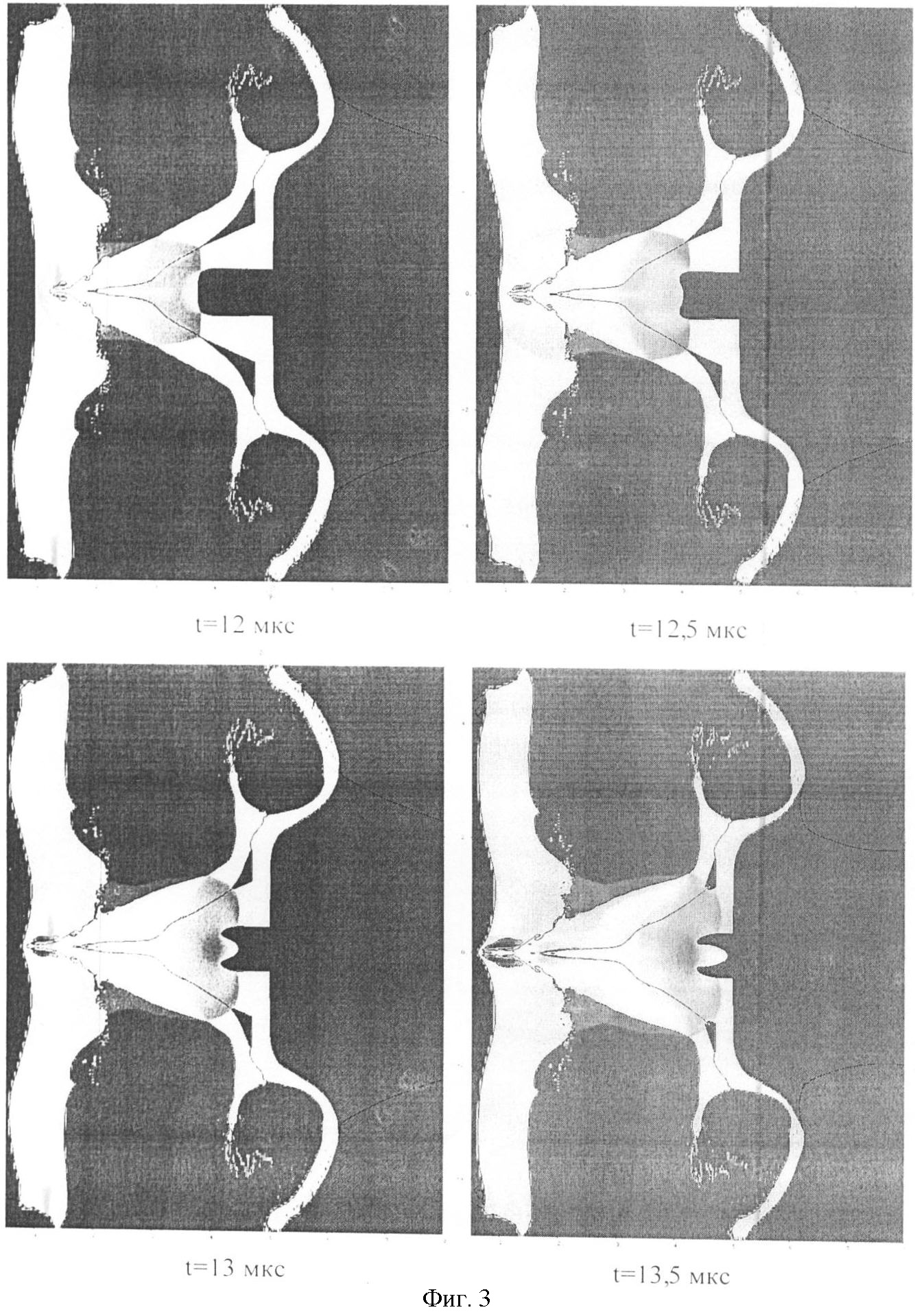
На фиг.1 изображено заявляемое кумулятивное устройство в разрезе на фиг.2, 3, 4 – процесс формирования компактного элемента во времени на фиг.5 – распределение осевой скорости по оси на момент t=14,5 мкс; на фиг.6 приведена рентгенограмма сформированного компактного элемента.
Кумулятивное метающее устройство (см. фиг.1) состоит из устройства инициирования, содержащего пенопластовый диск 6, на поверхность которого наклеено пластическое ВВ 1, металлический диск 2. Металлический диск 2 соосно закреплен на свободной торцовой поверхности заряда ВВ 3. Металлический вкладыш 4 выполнен в виде кольца с конической наружной боковой поверхностью и закреплен соосно внутри заряде ВВ 3 при помощи буртика 7, на наружной торцовой поверхности которого с зазором 10 относительно заряда ВВ 3 закреплен дополнительный конусообразный металлический вкладыш 5 (формирователь ударной волны) с осевой кумулятивной выемкой 8 в форме полусфера-цилиндр и вершиной конуса 9, обращенной внутрь заряда ВВ 3 и внутрь кольцевого вкладыша 4.
Кумулятивное метающее устройство работает следующим образом: при помощи устройства инициирования, точки инициирования 11 которого расположены по кольцу на наружной поверхности заряда ВВ, подрывается заряд ВВ 3. Под действием давления продуктов взрыва происходит сжатие металлического вкладыша 4 по направлению к оси устройства. При его взаимодействии (кольцевого вкладыша 4) с дополнительным коническим металлическим вкладышем-формирователем 5 в последнем генерируется маховская ударная волна высокой амплитуды, под действием которой кумулятивная выемка 8 схлопывается, формируя высокоскоростную кумулятивную струю. Подобрав параметры кумулятивной выемки 8, можно получить утолщенную безградиентную головную часть струи, которую можно рассматривать как компактный поражающий элемент.
Таким образом, решается задача формирования металлического КЭ с повышенным значением скорости элемента при общем упрощении экспериментальной отработки.
Формула изобретения
Кумулятивное метающее устройство, содержащее заряд взрывчатого вещества (ВВ), устройство инициирования, осевую кумулятивную выемку и кольцевой металлический вкладыш с конической наружной поверхностью, закрепленный соосно внутри заряда ВВ, отличающееся тем, что заряд ВВ выполнен кольцевой формы, устройство инициирования снабжено металлическим диском, соосно закрепленным на свободной торцовой поверхности заряда ВВ, на наружной торцовой поверхности кольцевого вкладыша соосно ему закреплен с зазором относительно ближней торцовой поверхности заряда ВВ дополнительный конусообразный металлический вкладыш, обращенный вершиной конуса внутрь кольцевого вкладыша и внутрь заряда ВВ, причем осевая кумулятивная выемка выполнена на дополнительном вкладыше в форме полусфера-цилиндр, а точки инициирования устройства инициирования расположены по кольцу на наружной боковой поверхности заряда ВВ.
РИСУНКИ
|
|