|
|
(21), (22) Заявка: 2007139689/02, 29.03.2006
(24) Дата начала отсчета срока действия патента:
29.03.2006
(30) Конвенционный приоритет:
30.03.2005 GB 0506360.7
(43) Дата публикации заявки: 10.05.2009
(46) Опубликовано: 10.01.2010
(56) Список документов, цитированных в отчете о поиске:
US 5738925 А, 14.04.1998. US 20020178900 A1, 05.12.2002. GB 2377006 A, 31.12.2002. RU 2193151 C2, 20.11.2002.
(85) Дата перевода заявки PCT на национальную фазу:
30.10.2007
(86) Заявка PCT:
GB 2006/001150 20060329
(87) Публикация PCT:
WO 2006/103431 20061005
Адрес для переписки:
125040, Москва, Ленинградский пр-т, 23, “Транстехнология”, пат.пов. Н.И.Золотых
|
(72) Автор(ы):
БЭКСТЕР Эндрю Джорж (GB), ДЖОУНС Росс Эдам Баченен (GB), СТЮАРТ Томас Поул (GB)
(73) Патентообладатель(и):
Государственный Секретарь По Обороне (GB)
|
(54) ЭЛЕМЕНТ ИЗ КЕРАМИЧЕСКОЙ БРОНИ ДЛЯ ИСПОЛЬЗОВАНИЯ В БРОНЕ
(57) Реферат:
Группа изобретений относится к бронированным панелям. Предложена бронированная панель для защиты от снарядов, содержащая слой трехмерных элементов брони, отлитых из керамического материала с составляющим единое целое промежуточным средством в виде зуба на стороне трехмерного элемента брони. Каждый зуб скомпонован так, чтобы взаимодействовать со смежным трехмерным элементом брони для обеспечения практически однородного промежутка для соединительного слоя между смежными элементами. Предложен также трехмерный элемент для упомянутой брони. Трехмерный элемент брони может содержать зуб на каждой стороне. Зубья на каждой стороне трехмерного элемента предпочтительно скомпонованы так, чтобы полностью располагаться на одной половине его стороны, при этом зубья на смежных сторонах смежных трехмерных элементов полностью скомпонованы на противоположной половине смежных сторон трехмерных элементов. Изобретение обеспечивает повышение уровня баллистической защиты. 2 н. и 10 з.п. ф-лы, 4 ил.
Изобретение относится к бронированной панели. Более конкретно, изобретение относится к панелям из брони, обеспечивающим защиту от снарядов.
В данной области известно, что керамическая броня, состоящая из панелей, собранных из отдельных керамических элементов, обеспечивает защиту от снарядов. Керамические панели брони состоят из керамических элементов, имеющих форму базисных элементов, собираемых в матрицу. Керамика очень твердая и физически стабильная, придавая им сопротивляемость плавлению, изгибу, растяжению, коррозии и износу. Известно, что керамика, например, может использоваться в броне, изоляторах и соединениях протезов, и она может быть изготовлена, например, из окиси алюминия (глинозема). Форма базисных элементов для брони может быть цилиндрическая, сферическая или плиточная (например, квадратной или шестиугольной формы).
Поглощение механического момента и кинетической энергии являются важными в керамической броне по двум причинам. Во-первых, для предотвращения пробивки брони снарядом и, во-вторых, для обеспечения того, что механический момент и кинетическая энергия поглощаются таким образом, что функциональность брони не будет нарушена последующими воздействиями. В британской заявке на патент GB 2149482 A описывается плита или пленка из синтетического материала для поглощения энергии в виде ударных волн в материале, не подверженном воздействию снарядов. Предшествующий уровень техники имеет тот недостаток, что к панели должен отдельно быть добавлен материал для поглощения энергии.
В британской заявке на патент GB 2147377 A элементы имеют мозаичную композицию и присоединены к опорной плите связующим материалом. Связующий материал распределяется между вкрапленными элементами в европейской заявке на патент ЕР 0843149 В1. Для того чтобы связующий материал равномерно растекся и равномерно распределялся в скомплектованной композиции, необходимо иметь зазор между элементами. Соприкасающиеся элементы позволяют энергии в форме ударной волны распространяться через смежные элементы. То есть энергия от снаряда передается на элемент в панели и далее передается между соприкасающимися элементами. Когда элементы касаются друг друга, энергия распространяется через панель, как если бы панель была бы одним большим элементом.
Европейский патент ЕР 0843149 В1 имеет тот недостаток, что между элементами может быть относительно крупная пустота, не заполняемая связующим материалом или керамикой, в частности там, где сферы используются в качестве формы элементов предшествующего уровня. Эта пустота может позволить снаряду проникнуть в броню в пространство между элементами. Этот недостаток возникает в связи с сегментной геометрией и неравномерным распределением связующего материала внутри рамы, используемой для сборки панели. В патенте США 3,523,057 делается попытка преодолеть проблему пустот между элементами путем заполнения междоузельных пустот более мелкими шаровидными сферами. Эта технология имеет тот недостаток, что в панели не обеспечивается соответствующее увеличение характеристик, связанных с увеличением веса брони в связи с добавлением небольших шаровидных сфер.
Панели предшествующего уровня техники, подобные описываемым в Европейском патенте ЕР 0843149 В1, состоят из элементов, имеющих фигурную нижнюю поверхность, что позволяет связующему веществу обволакивать нижнюю сторону элемента. Наличие фигурной нижней поверхности на элементе имеет тот недостаток, что энергия распространяется по зоне опорной плиты больше, чем по поверхностной зоне поперечного разреза элемента. Когда опорная плита изготовлена из пластика, армированного стекловолокном (GFPR), опорная плита постепенно ослабевает, при этом каждое волокно ослабевает под сжатием или напряжением, по мере того как профиль фигурной нижней поверхности элемента, прикрепленного связующим материалом, нарушает решетку волокна опорной плиты. Чем больше радиус фигурной нижней поверхности элемента, тем более выражен эффект на большей поверхности опорной плиты.
Большая плиточная конструкция, подобная описанной в Британской заявке на патент GB 214977 A, плохо реагирует на возможные многократные попадания. Крупные плитки обычно разрушаются при ударе снарядом, и энергия передается на соседние плитки, потенциально вызывая трещины в этих плитках. Энергия также передается и через толщину плиток, и если они присоединены к опорной плите, это может вызывать отсоединение от опорной плиты подвергнутых воздействию и смежных плиток. Полное разрушение плиток оставляет большую зону панели без керамического слоя и, тем самым, снижает защиту, если панель вновь подвергается удару вблизи от этого места.
Настоящее изобретение относится к бронированной панели, включающей слой керамических элементов брони и промежуточное средство, причем промежуточное средство включает в себя зуб на стороне керамического элемента брони, расположенный в определенном порядке для вступления во взаимодействие со смежным керамическим элементом брони. Элемент является трехмерным объектом, имеющим две поверхности, практически противоположные друг другу и имеющие, по крайней мере, три стороны, соединяющие эти поверхности. Альтернативно, две поверхности могут быть круглыми, и соединены одной стороной. Зуб является выступом на стороне керамического элемента. Промежуточное средство обеспечивает практически однородный интервал для формирования соединительного слоя между смежными керамическими элементами брони в панели. Соединительный слой – это слой материала между сторонами смежных керамических элементов брони.
В настоящем изобретении материал, используемый для соединительного слоя, является связующим материалом.
В примере осуществления изобретения используется элемент шестиугольной формы, который включает зуб на каждой стороне шестиугольного элемента. Когда керамический элемент брони поворачивается на 60° по оси симметрии шестиугольного поперечного сечения керамического элемента брони, положение зубьев на керамическом элементе брони остается по существу одинаковым. Зубья могут быть составной частью элемента, отлитой как часть элемента. Эта форма элемента с зубьями как составляющее единое целое имеет преимущество в том, что упрощается сборка керамических элементов брони. Когда панель собирается, элементы имеют мозаичную конфигурацию. Шестиугольная симметрия элементов означает, что элементы могут быть смонтированы в матрицу при минимальном усилии, требующемся для правильной ориентации для обеспечения составления мозаики.
Отлитые зубья на сторонах элементов обеспечивают пространство для контролируемого однородного соединительного слоя между элементами, эквивалентного ширине зуба. Однородный соединительный слой между элементами ограничивает передачу энергии на смежные элементы путем обеспечения средства поглощения энергии. Обычные сферические матрицы не имеют однородного соединительного слоя, достигаемого при использовании элемента с отлитыми зубьями. В данном изобретении из-за снижения передачи энергии между элементами существует большая вероятность, что керамические элементы брони в панели останутся неповрежденными, а смежные керамические элементы брони останутся соединенными с опорной плитой. Присущие данной панели свойства поглощения удара имеют то преимущество, что для поглощения удара не должна отдельно добавляться плита или пленка из синтетического материала, как, например, в GB 2149482 A.
Изобретение имеет дополнительное преимущество, состоящее в том, что зубья равномерно разделяют смежные элементы, так что можно обходится без требования независимого разделяющего средства между каждым элементом. Зубья на элементе и промежутки, предусматриваемые между элементами, способствуют плоскостному соединительному сцеплению и позволяют связующему материалу равномерно распределяться между элементами без каких-либо пустот. Форма элемента имеет то преимущество, что нет необходимости в дополнительном излишке материала для заполнения пустот между элементами, как, например, малые сферы в патенте США US 3,523,057.
Вес является важным обстоятельством в броне, потому что он влияет на подвижность носителя/пользователя. Масса панели, содержащей шестиугольные элементы, имеет такую же массу, что и панели предшествующего уровня техники, тем самым сохраняя общий вес комплекта. Оценка панели в соответствии с данным изобретением относительно эквивалентной панели предшествующего уровня техники показывает улучшение баллистической защиты. Это имеет то преимущество, что увеличенный уровень защиты достигается при сохранении такого же веса комплекта, как и у панели предшествующего уровня техники.
В предпочтительном примере осуществления изобретения элемент имеет плоскую нижнюю поверхность. Это ограничивает обтекание связующим материалом нижней стороны элемента. Плоская нижняя поверхность создает преимущество в характере повреждения панели. Плоская нижняя поверхность врезается в стекловолокно опорной плиты, но не разрушает волоконную решетку в опорной плите. Разрушение волоконной решетки нарушает целостность опорной плиты. Проникновение же в опорную плиту позволяет избежать этого недостатка элементов с фигурной нижней поверхностью, как в европейском патенте ЕР 0843149 В. Дополнительно, наличие зубьев на элементе предусматривает предпочтительную плоскость смещения поврежденного элемента при его передвижении в матрице.
Преимущество наличия плоской нижней поверхности на элементе, который поддерживает целостность опорной плиты, в соединении с преимуществом свойств поглощения удара бронированной панели, состоящей из шестиугольных элементов, создает дальнейшее преимущество в том, что возрастает возможность многократного попадания в бронированную панель, так как большая часть панели и опорной плиты остаются неповрежденными для последующего воздействия снарядов.
Изобретение описывается со ссылкой на чертежи:
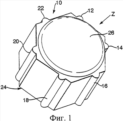
Фиг.1 представляет собой вид в перспективе керамического элемента брони по данному изобретению.
Фиг.2 представляет собой схематическое изображение матрицы шестиугольных керамических элементов брони.
Фиг.2а представляет собой схематическое изображение детали секции матрицы, демонстрирующей взаимодействие двух элементов.
Фиг.3 представляет собой вид в разрезе внутренней части бронированной панели с использованием шестигранной матицы по Фиг.2.
На фиг.1 показан керамический элемент брони 10. Керамический элемент брони 10 имеет шестигранную форму в разрезе, при рассмотрении элемента в направлении, указанном Z. Керамический элемент брони 10 имеет зубья 12, 14, 16, 18, 20, 22 на каждой стороне керамического элемента брони. Элемент имеет плоскую нижнюю поверхность 24 и выпуклую верхнюю поверхность 26. Выпуклая верхняя поверхность позволяет рассеивать энергию от первоначального воздействия снаряда по большей площади, чем если бы элемент имел плоскую верхнюю поверхность.
На фиг.2 показана матрица шестиугольных керамических элементов брони, включая элемент 10 и идентичные элементы 100, 200, 300, 400, 500, 600. Шестиугольная матрица расположена таким образом, что зубья 12, 14, 16, 18, 20, 22 на керамическом элементе 110 вступают во взаимодействие со смежными керамическими элементами 100, 200, 300, 400, 500, 600 брони. Зубья 101, 201, 301, 401, 501, 601 на смежных элементах 100, 200, 300, 400, 500, 600 расположены на противоположной половине сторон смежных керамических элементов 100, 200, 300, 400, 500, 600 брони от керамического элемента 10. Имеется непрерывное пространство 48 во всей матрице шестиугольных элементов между сторонами элементов, позволяющее связующему материалу протекать и проникать и формировать слой связующего материала между сторонами элементов.
На фиг.2а показана деталь секции матрицы шестиугольных элементов, показывающая взаимодействие двух элементов. Здесь линия Х через центр сторон 11 и 111 определяет левые половины и правые половины сторон 11 и 111. Co стороны керамического элемента 10 брони керамический элемент 10 брони имеет зуб 14 на правой половине стороны 11, взаимодействующий с противоположной «беззубой» половиной смежного керамического элемента 100 брони. Со стороны керамического элемента 100 брони керамический элемент 100 брони имеет зуб 101 на правой половине стороны 111, взаимодействующий с лишенной зубьев левой половиной смежного элемента 10.
Ряд керамических элементов брони собран для осуществления взаимодействия, показанного на фиг.2а, и образования целой панели в плотно пригнанной шестиугольной компоновке, как на фиг.2. Ограничительная рама 32 используется для поддержания отдельных керамических элементов брони на месте при компоновке. При изготовлении, когда шестиугольная матрица скомпонована и образует полную панель в ограничительной раме 32, дополнительный связующий материал (показано как позиция 62 на фиг.3) заливается поверх панели. Пространство между элементами 48 облегчает проникновение связующего материала и приводит к образованию соединительного слоя между элементами. По завершении панель частично высушивается для обеспечения легкости в обращении. После изготовления ограничительная рамка 32 удаляется.
Описанная выше стандартная панель имеет крепежные точки для крепления панели к изделию, которое должно быть защищено. Панели собираются с включением фиксирующих элементов (не показано). Фиксирующие элементы являются значительно модифицированными стальными шестигранниками, имеющими те же размеры, что и керамический элемент брони, адаптированные для облегчения закрепления болтами и для того, чтобы дать возможность зубьям смежных элементов взаимодействовать с фиксирующим элементом. Фиксирующие элементы включены в комплект для сборки панели, их местоположение определяется перед сборкой панелей.
На фиг.3 показан вид в разрезе внутренней части бронированной панели по фиг.2. Панель состоит из опорной плиты 60 с керамическими элементами 100 и 200 брони, прикрепленными к опорной плите 60 слоем связующего материала 52. Материал опорной плиты – это GFRP (пластик, армированный стекловолокном). Используемый связующий материал для соединения керамики с опорной плитой 52, а также заливаемый поверх керамических элементов брони для образования соединительного слоя, может быть одинаковым или различным. Примером приемлемого связующего материала для целей сборки панели могут быть ударопрочный эпоксид или ударопрочная эпоксидная смола. Свойства связующего материала должны быть, по крайней мере, одним и предпочтительно всем из следующего:
– обеспечивать высокое качество закрепления как к опорной плите, так и к и керамике;
– иметь вязкость, достаточную для обеспечения свободного растекания связующего материала, не оставляя никаких пустот между керамическими элементами брони;
– затвердевать до консистенции твердой резины или термореактивного соединения;
– требовать отверждения только при комнатной температуре или умеренного последующего отверждения при не более чем 50°С.
После сборки (при удаленной ограничительной раме 32) панель заключается в арамидную и/или усиленную стекловолокном оболочку 64.
Формула изобретения
1. Бронированная панель для защиты от снарядов, содержащая слой трехмерных элементов брони, отлитых из керамического материала с составляющим единое целое промежуточным средством в виде зуба на стороне трехмерного элемента брони, отличающаяся тем, что каждый зуб скомпонован так, чтобы взаимодействовать со смежным трехмерным элементом брони для обеспечения практически однородного промежутка для соединительного слоя между смежными элементами.
2. Бронированная панель по п.1, отличающаяся тем, что трехмерный элемент брони имеет зуб на каждой стороне.
3. Бронированная панель по п.2, отличающаяся тем, что зубья на каждой стороне трехмерного элемента брони скомпонованы так, чтобы полностью располагаться на одной половине его стороны, при этом зубья на смежных сторонах смежных трехмерных элементов брони полностью скомпонованы на противоположной половине смежных сторон трехмерных элементов брони.
4. Бронированная панель по п.3, отличающаяся тем, что зубья на трехмерном элементе брони не имеют контакта с зубьями на смежных трехмерных элементах брони.
5. Бронированная панель по п.4, отличающаяся тем, что трехмерный элемент брони имеет, по крайней мере, одну плоскую поверхность.
6. Бронированная панель по п.5, отличающаяся тем, что трехмерный элемент брони имеет шестигранную форму в поперечном разрезе.
7. Бронированная панель по п.6, отличающаяся тем, что зубья на трехмерном элементе брони скомпонованы так, что при повороте трехмерного элемента брони на 60° вокруг оси симметрии шестигранного поперечного разреза этого трехмерного элемента брони положение зубьев на нем остается практически тем же.
8. Трехмерный элемент брони, отлитый из керамического материала с составляющим единое целое промежуточным средством в виде зуба на стороне трехмерного элемента брони, для бронированной панели для защиты от снарядов, отличающийся тем, что каждый зуб скомпонован так, чтобы взаимодействовать со смежным трехмерным элементом брони, расположенным в слое из трехмерных элементов брони для обеспечения практически однородного промежутка для соединительного слоя между смежными элементами.
9. Трехмерный элемент брони по п.8, отличающийся тем, что он имеет зуб на каждой стороне.
10. Трехмерный элемент брони по п.9, отличающийся тем, что он имеет, по крайней мере, одну плоскую поверхность.
11. Трехмерный элемент брони по п.10, отличающийся тем, что он имеет шестигранную форму в поперечном разрезе.
12. Трехмерный элемент брони по п.11, отличающийся тем, что зубья на трехмерном элементе брони скомпонованы так, что при повороте трехмерного элемента брони на 60° вокруг оси симметрии шестигранного поперечного разреза этого трехмерного элемента брони положение зубьев на нем остается практически тем же.
РИСУНКИ
|
|