|
|
(21), (22) Заявка: 2008102860/03, 30.01.2008
(24) Дата начала отсчета срока действия патента:
30.01.2008
(43) Дата публикации заявки: 10.08.2009
(46) Опубликовано: 10.01.2010
(56) Список документов, цитированных в отчете о поиске:
US 4766876 А, 30.08.1988. RU 2313035 С2, 20.12.2007. RU 3317 U1, 16.12.1996. RU 1731 U1, 16.02.1996.
Адрес для переписки:
142210, Московская обл., г. Серпухов, Большой Ударный пер., зд.1А, а/я 351, МОУ “Институт инженерной физики”
|
(72) Автор(ы):
Черноусов Александр Петрович (RU)
(73) Патентообладатель(и):
Межрегиональное общественное учреждение “Институт инженерной физики” (RU)
|
(54) ПЕЧЬ ТВЕРДОТОПЛИВНАЯ
(57) Реферат:
Изобретение относится к печам бытовым, работающим на твердом топливе, основным назначением которых является обогрев помещений. Печь твердотопливная содержит камеру сгорания, с козырьком в ее верхней части, который примыкает к боковым и задней стенкам и разделяет камеру сгорания на верхнюю и нижнюю части, дверцу с застекленным окном на передней стенке камеры сгорания для загрузки топлива, нижний подвод воздуха для обдувания стекла дверцы плоским потоком воздуха и формирования области дожигания продуктов сгорания топлива, патрубок для вывода продуктов сгорания и перфорированную трубку нерегулируемого устройства для дожигания продуктов сгорания топлива. Дверца печи выполнена в форме короба с отверстиями в верхней и нижней его части для регулируемого подвода воздуха в печь и обдувания стекла дверцы плоским потоком воздуха через щель, образованную поверхностями стекла и дверцы. Технический результат: увеличение КПД, уменьшение количества выбрасываемых в атмосферу твердых частиц и окиси углерода. 5 з.п. ф-лы, 3 ил.
Изобретение относится к области отопительной техники, в частности к бытовым отопительным печам, работающим на твердом топливе, основным назначением которых является обогрев жилых помещений.
Известна печь, способ охлаждения дверцы печи, сборочный узел для регулирования воздуха и сборочный узел печи, содержащая камеру прямоугольной формы (духовку) с дверцей на передней стенке духовки, циркуляционный вентилятор внутри духовки, воздушные каналы и источник тепла, например электронагреватель или газовая горелка [1]. Дверца духовки оборудована трехслойным стеклом, между слоями которых продувается воздух для их охлаждения и выброса горячего воздуха в помещение, где установлена духовка.
Недостаток известной печи-духовки состоит в ограниченных функциональных возможностях получения тепловой энергии для приготовления пищи в комфортных условиях, когда имеются источники электрической энергии и природного газа.
Наиболее близким известным техническим решением в качестве прототипа является печь твердотопливная, содержащая камеру сгорания с козырьком в ее верхней части, которая примыкает к боковым и задней стенкам и разделяет камеру сгорания на верхнюю и нижнюю части, дверцу с застекленным окном на передней стенке камеры сгорания для загрузки топлива, нижний и щелеобразный верхний подвод воздуха для обдувания стекла окна дверцы плоским потоком воздуха и формирования внутри камеры сгорания области дожигания продуктов сгорания топлива и патрубок для отвода продуктов сгорания, расположенный в верхней задней части камеры сгорания [2]. Воздух для первичного горения твердого топлива подается в камеру сгорания как со стороны задней стенки печи, так и со стороны нижней части передней стенки камеры сгорания при помощи заслонок, управляемых с передней стороны печи. Дожигание (вторичное горение) несгоревших частиц топлива осуществляется подачей в камеру сгорания двух потоков воздуха, один из которых (холодный) управляется заслонкой, а второй – неуправляемый теплый, после обдувания стекла дверцы поступает в переднюю часть камеры сгорания в область дожигания несгоревших продуктов твердого топлива. Стенки камеры сгорания футерованы кирпичной кладкой и размещены внутри металлического кожуха. Между стенками камеры сгорания и кожухом имеется пространство, по которому затягивается воздух из нижней части отапливаемого помещения для охлаждения кожуха печи.
Недостаток прототипа заключается в том, что при изменении состава твердого топлива не обеспечивается высокий КПД печи. Это объясняется тем, что не вся химическая энергия твердого топлива (различного по составу) может полностью превратиться в тепловую энергию без регулирования необходимого количества горячего воздуха для дожигания несгоревших частиц данного вида твердого топлива. Несгоревшие полностью остатки твердого топлива, вылетая из трубы печи, снижают ее КПД и ухудшают экологию окружающей среды.
Кроме того, другим недостатком прототипа является футеровка кирпичом стенок печи, что снижает ее мобильность для обогрева дачных и временных построек.
Целью изобретения является повышение КПД и мобильности печи за счет регулирования интенсивности плоского потока воздуха, обдувающего стекло окна дверцы и участвующего в процессе дожигания несгоревших продуктов твердого топлива, и за счет введения устройства дожигания, а также путем замены футеровки кирпичной кладки печи тепловыми экранами.
Сущность изобретения состоит в том, что, кроме известных и общих отличительных признаков, а именно: камеры сгорания с козырьком в ее верхней части, который примыкает к боковым и задней стенкам и разделяет камеру сгорания на верхнюю и нижнюю части, дверцы с застекленным окном на передней стенке камеры сгорания для загрузки топлива, нижнего подвода и щелеобразного верхнего подвода воздуха для обдувания стекла окна дверцы плоским потоком воздуха и формирования области дожигания продуктов сгорания топлива, патрубка для вывода продуктов сгорания, расположенного в верхней задней части камеры сгорания, и перфорированной трубки нерегулируемого устройства для дожигания продуктов сгорания топлива, предлагается печь для сжигания твердого топлива, в которой дверца печи выполнена в форме короба с отверстиями в верхней и нижней части для регулируемого подвода воздуха в печь и обдувания стекла дверцы плоским потоком воздуха, кроме того, верхние и нижние заслонки подвода воздуха установлены в полостях верхней и нижней части короба дверцы, кроме того, содержит мелкоячеистую металлическую сетку, установленную в нижнем подводе воздуха короба дверцы печи, кроме того, содержит устройство дожигания, выполненное в виде двух желобов-воздуховодов, расположенных на боковых поверхностях камеры сгорания, соединенных перфорированной трубкой, проходящей у переднего края козырька, кроме того, боковые и задняя стенки камеры сгорания не футерованы, а между стенками камеры сгорания и наружной облицовкой корпуса печи установлены тепловые экраны и, кроме того, направляющими для возвратно – поступательных перемещений заслонок служат внутренние поверхности верхней и нижней части коробчатого корпуса дверцы печи.
Новизна предлагаемой печи состоит в том, что дверца печи выполнена в форме короба с отверстиями в верхней и нижней части для подвода воздуха в печь и обдувания стекла дверцы плоским потоком воздуха, кроме того, верхние и нижние заслонки подвода воздуха установлены в полостях верхней и нижней части короба дверцы, кроме того, содержит мелкоячеистую металлическую сетку, установленную в нижнем подводе воздуха короба дверцы печи, кроме того, содержит устройство дожигания, выполненное в виде двух желобов-воздуховодов, расположенных на боковых поверхностях камеры сгорания, соединенных перфорированной трубкой, проходящей у переднего края козырька, кроме того, боковые и задняя стенки камеры сгорания не футерованы, а между стенками камеры сгорания и наружной облицовкой корпуса печи установлены тепловые экраны и, кроме того, направляющими для возвратно – поступательных перемещений заслонок служат внутренние поверхности верхней и нижней части коробчатого корпуса дверцы печи, что обеспечивает повышение КПД и мобильности печи за счет регулирования интенсивности плоского потока воздуха, обдувающего стекло окна дверцы и участвующего в процессе дожигания несгоревших продуктов твердого топлива, и за счет введения устройства дожигания, а также путем замены футеровки кирпичной кладки печи тепловыми экранами.
В отличие от рассмотренного в прототипе технического решения, плоский поток воздуха для смывания (обдувания) стекла дверцы камеры сгорания подается не из щели, выполненной в верхней части передней стенки корпуса печи, а непосредственно из щели между верхним краем стекла дверцы и ее корпусом.
Заслонка управления воздушным потоком для первичного горения находится внутри нижней части разъемного корпуса двери и движется возвратно – поступательно по элементам корпуса двери, как по направляющим.
Боковые стенки заявляемой печи не футерованы кирпичом, а оборудованы тепловыми экранами, что повышает мобильность печи для обогрева дачных и временных построек.
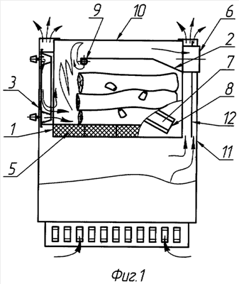
На фиг.1 изображена печь в продольном сечении.
На фиг.2 показана конструкция дверцы камеры сгорания.
На фиг.3 показан поперечный разрез печи.
На фиг.1 3 обозначено: 1 – камера сгорания; 2 – козырек; 3 – дверца; 4 – стекло; 5 – кирпичи; 6 – продукты сгорания; 7 – желоба-воздуховоды; 8 – отверстия в желобах-воздуховодах; 9 – перфорированная трубка; 10 – верхняя наружная стенка камеры; 11 – наружная облицовка печи; 12 – тепловые экраны; 13 – короб-воздуховод; 14 – нижняя заслонка; 15 – верхняя заслонка; 16 – щель; 17 – прокладка; 18 – сетка.
В исходном положении металлическая камера сгорания 1 (Фиг.1) в верхней части имеет козырек 2, находящийся на некотором расстоянии от передней стенки камеры сгорания и разделяющий ее на две части. На передней стенке камеры сгорания находится дверца 3 со стеклом 4. Дверца 3 служит для загрузки топлива в камеру сгорания. Нижняя часть камеры сгорания футерована кирпичами 5. Патрубок для выхода продуктов сгорания 6 расположен в верхней задней части камеры сгорания. Узел дожигания состоит из двух желобов-воздуховодов 7, расположенных на боковых поверхностях камеры сгорания, и перфорированной трубки 9. Желоба 7 имеют с одной стороны отверстия 8, а с другой стороны соединены с трубкой 9, проходящей у переднего края козырька 2. Верхняя наружная стенка камеры сгорания 10 предназначена для приготовления или подогрева пищи. Наружная облицовка печи 11 изготовлена из листовой стали и имеет декоративное покрытие. Облицовка 11 служит для закрепления камеры сгорания 1 на требуемой высоте, а также для подвода воздушных потоков к наружным стенкам камеры сгорания и придания печи привлекательного внешнего вида. Между камерой сгорания 1, задней и боковыми стенками облицовки печи установлены тепловые экраны 12. Корпус дверцы 3 имеет коробчатую конструкцию (Фиг.2) и состоит из двух разъемных элементов, между которыми зажимается стекло 4, причем по периметру стекла 4 установлен короб – воздуховод 13, придающий дверце 3 необходимую жесткость и служащий для распределения воздушных потоков, направляемых в камеру сгорания 1. Внутренняя поверхность короба – воздуховода 13 используется для размещения воздушных заслонок 14 и 15, через которые подается воздух для горения и обдувания стекла 4. В зоне заслонки 14 установлена металлическая сетка 18, предназначенная для устранения возможности выпадения искр и углей из топочной камеры. Между стеклом 4 и верхней внутренней частью корпуса дверцы 3 имеется узкая щель 16, служащая для подачи воздуха, омывающего стекло 4. По внутренней стороне периметра дверцы 3 имеется желоб, в который укладывается термостойкая прокладка 17, служащая для уплотнения дверцы 3.
Печь твердотопливная работает следующим образом. В камеру сгорания 1 (фиг.1) загружаются дрова или торфяные брикеты. Затем перед дровами укладывается и поджигается растопочный материал – береста, лучины и т.д. После этого дверца 3 закрывается, причем заслонки 14 и 15 должны быть полностью открыты. При этом положении заслонок в камеру сгорания поступают три потока воздуха. Основной поток воздуха поступает в камеру сгорания 1 через нижнюю заслонку 14 и сетку 18 и обеспечивает первичное горение. Причем этот воздушный поток движется навстречу продуктам сгорания, в результате чего он нагревается и первичное горение происходит медленно с большим выделением тепла, т.к. горению (окислению) подвергается не вся масса топлива, а только поверхности, находящиеся перед дверцей камеры сгорания. Таким образом, обеспечивается принцип “переднего горения”.
Второй воздушный поток через заслонку 15 и щель 16 поступает на внутреннюю верхнюю кромку стекла 4. Так как этот воздух холоднее и соответственно тяжелее газов, образовавшихся в процессе горения, то этот воздух тонким плоским потоком, прилегающим к поверхности стекла, спускается вниз по этому стеклу, затем поворачивает в сторону топлива. Движение этого потока воздуха предохраняет стекло от оседания на его поверхности сажи и креозота. Одна часть этого потока участвует в первичном горении, другая смешивается с продуктами горения и участвует в процессе дожигания не сгоревших частиц и газов. Процесс дожигания можно наблюдать через стекло двери. Это живописное зрелище напоминает северное сияние, что создает комфортные, с точки зрения эстетики, условия нахождения человека в отапливаемом помещении.
Третий поток воздуха – нерегулируемый – идет через желоба – воздуховоды 7, прикрепленные к боковым стенкам камеры сгорания, где он нагревается, затем через отверстия в трубке 9 тонкими струйками подается в верхнюю переднюю часть камеры сгорания, где он смешивается с уходящими продуктами сгорания. Вследствие того, что этот воздух (и кислород, содержащийся в нем) сильно подогрет, происходит процесс дожигания летучих горючих частиц и газов (в том числе СО), не сгоревших при первичном горении. В результате этого процесса выделяется дополнительное тепло, увеличивается КПД печи, а в выбрасываемых в атмосферу газах уменьшается количество твердых частиц и содержание окиси углерода СО. Уменьшая поступление в камеру сгорания воздуха через нижнюю заслонку 14, можно добиться резкого увеличения длительности горения топлива и КПД печи. Наиболее длительный режим работы печи происходит при полностью закрытой нижней заслонке 14 и незначительно открытой верхней заслонке 15.
После того как наружные стенки камеры сгорания начнут разогреваться, примыкающие к ним слои воздуха нагреваются и через отверстия в верхней части корпуса печи уходят вверх. Освобождающееся место у горячих стенок камеры сгорания занимают новые, холодные слои воздуха, поступающие снизу через отверстия в корпусе печи, происходит естественная конвекция воздуха, и температура в помещении повышается. Благодаря инфракрасному излучению боковых стенок камеры сгорания происходит нагрев тепловых экранов, и в процессе работы печи они омываются двумя потоками воздуха, – один из них – более горячий -движется вверх между камерой сгорания и экраном, другой – между экраном и наружной стенкой печи. Тепловые экраны увеличивают площадь теплоотражающих поверхностей и уменьшают температуру поверхностей наружной облицовки печи 11 до величин, соответствующих требованиям действующих нормативных документов (По ГОСТ9817 – не более 90 градусов).
Промышленная осуществимость предлагаемого изобретения обосновывается тем, что в нем используются известные в аналоге и прототипе узлы и блоки по своему прямому функциональному назначению.
Положительный эффект от использования изобретения состоит в том, что повышается не менее чем на 15 20% КПД печи за счет обеспечения технической возможности регулирования интенсивности плоского потока воздуха, поступающего через регулируемую заслонку для обдувания внутренней поверхности застекленной дверцы печи и последующего его участия в процессе дожигания несгоревших продуктов твердого топлива, (состав которого может меняться), а также за счет введения нерегулируемого устройства дожигания выполненного в виде двух желобов-воздуховодов, расположенных на боковых поверхностях камеры сгорания, соединенных перфорированной трубкой, проходящей у переднего края козырька. Продукты сгорания при такой конструкции печи с одной стороны смешиваются с теплым воздухом, прошедшим вниз по стеклу, с другой стороны продукты сгорания смешиваются с горячим воздухом, поступающим из перфорированной трубки.
Кроме того, повышается мобильность печи для обогрева дачных и временных построек за счет того, что боковые стенки заявляемой печи не футерованы кирпичом, а оборудованы тепловыми экранами.
Источники информации
1. Патент РФ 2313035, Печь (варианты), способ охлаждения дверцы печи, сборочный узел для регулирования воздуха и сборочный узел печи, МПК F24C 7/02, приоритет: 30.11.2005 г., патентообладатель: Самсунг электроникс Ко, (аналог).
2. Патент США 4766876, приоритет: 30.08.1988 г., (прототип).
Формула изобретения
1. Печь твердотопливная, содержащая камеру сгорания, с козырьком в ее верхней части, который примыкает к боковым и задней стенкам и разделяет камеру сгорания на верхнюю и нижнюю части, дверцу с застекленным окном на передней стенке камеры сгорания для загрузки топлива, нижний подвод воздуха для обдувания стекла дверцы плоским потоком воздуха и формирования области дожигания продуктов сгорания топлива, патрубок для вывода продуктов сгорания и перфорированную трубку нерегулируемого устройства для дожигания продуктов сгорания топлива, отличающаяся тем, что дверца печи выполнена в форме короба с отверстиями в верхней и нижней его части для регулируемого подвода воздуха в печь и обдувания стекла дверцы плоским потоком воздуха через щель, образованную поверхностями стекла и дверцы.
2. Печь твердотопливная по п.1, отличающаяся тем, что содержит верхние и нижние заслонки подвода воздуха, установленные в полостях верхней и нижней части короба дверцы.
3. Печь твердотопливная по п.1, отличающаяся тем, что содержит мелкоячеистую металлическую сетку, установленную в нижнем подводе воздуха короба дверцы печи.
4. Печь твердотопливная по п.1, отличающаяся тем, что нерегулируемое устройство дожигания выполнено в виде двух желобов-воздуховодов, расположенных на боковых поверхностях камеры сгорания, соединенных перфорированной трубкой, проходящей у переднего края козырька.
5. Печь твердотопливная по п.1, отличающаяся тем, что боковые и задняя стенки камеры сгорания не футерованы, а между стенками камеры сгорания и наружной облицовкой корпуса печи установлены тепловые экраны.
6. Печь твердотопливная по п.2, отличающаяся тем, что направляющими для возвратно-поступательных перемещений заслонок служат внутренние поверхности нижней и верхней частей корпуса дверцы печи.
РИСУНКИ
|
|