|
(21), (22) Заявка: 2007111849/28, 24.01.2006
(24) Дата начала отсчета срока действия патента:
24.01.2006
(46) Опубликовано: 10.01.2010
(56) Список документов, цитированных в отчете о поиске:
GB 361043 А, 19.11.1931. WO 2004097293 A1, 11.11.2004. WO 2004111530 A2, 23.12.2004. US 2005162845 A1, 28.07.2005. SU 1313359 A3, 23.05.1987.
(85) Дата перевода заявки PCT на национальную фазу:
12.05.2008
(86) Заявка PCT:
RU 2006/000020 20060124
(87) Публикация PCT:
WO 2007/086769 20070802
Адрес для переписки:
620027, г.Екатеринбург, ул. Азина, 27, оф.202, Т.Г.Прянчиковой
|
(72) Автор(ы):
Калетин Андрей Александрович (RU), Росихина Ольга Михайловна (RU), Цепелев Дмитрий Витальевич (RU), Осипов Николай Александрович (RU), Вершинин Николай Федорович (RU)
(73) Патентообладатель(и):
Закрытое акционерное общество “Завод “ЭМА” (RU)
|
(54) СВЕТООПТИЧЕСКИЙ МОДУЛЬ
(57) Реферат:
Светооптический модуль содержит кольцевую оправку, отражатель, светоизлучающий элемент и средство для крепления светоизлучающего элемента. В центре кольцевой оправки размещен сердечник, соединенный ребрами жесткости с кольцевой оправкой. В сердечнике со стороны отражателя выполнено гнездо, в котором установлен светоизлучающий элемент, кольцевая оправка и отражатель соединены между собой с помощью резьбового соединения, а светоизлучающий элемент выполнен в виде светодиода. Посадочная часть кольцевой оправки выполнена конической, кольцевая оправка с сердечником и ребрами жесткости выполнены из теплопроводного материала. Сердечник соединен с кольцевой оправкой с помощью трех ребер жесткости. Технический результат – повышение точности настройки за счет упрощения настройки каждого из входящих в состав осветительного устройства светооптических модулей. 3 з.п. ф-лы, 3 ил.
Изобретение относится к осветительным устройствам, предназначенным для подсветки локальных поверхностей, и может найти применение при освещении объектов, для которых требуется высокое качество освещения, например в медицинских светильниках для освещения внутренних полостей во время операции.
С появлением светодиодов последние нашли широкое применение в источниках освещения благодаря их длительному сроку службы, компактности, низкому энергопотреблению и излучением в узкой полосе спектра. При изготовлении источников освещения в качестве комплектующих применяют как матричные светодиодные панели, так и отдельные светодиоды.
Известен светильник, имеющий корпус, матричные светодиоды или светодиоды, установленные на плате, и светорассеивающую панель (п. на ПМ 27852, МПК F27V 11/00, F21S 4/00, опубл. 20.02.2003 г.).
Недостаток известного устройства заключается в сложности настройки светильника.
Известен светооптический модуль, используемый для освещения объектов, содержащий источник света, выполненный из светодиодов, рефлектор и коллимирующую линзу (п. РФ 2187039, МПК F21L 4/00, опубл. 10.08.2002 г.).
Световой поток, создаваемый известным источником света, имеет большое рассеивание, а его фокусировку сложно осуществить.
Известен линейный светодиодный модуль, содержащий корпус, в котором вдоль оптической оси модуля расположены светодиоды, центральные оси световых потоков которых совпадают с оптической осью модуля (п. РФ 2253887, МПК G02B 6/42, F21S 13/14, опубл. 10.07.2003 г.).
Недостатком известного устройства является сложность настройки, заключающаяся в настройке каждого светодиода.
Известен бестеневой осветитель холодного света для стереомикроскопов, содержащий кольцо с элементами освещения в виде нескольких светодиодных модулей и источник питания. Каждый светодиодный модуль выполнен из одного светодиода высокой яркости свечения, закрепленного на штанге, установленной в одном из гнезд кольца на сферическом шарнире с возможностью продольного перемещения в нем (п. РФ 2252441, МПК G02B 21/06, опубл. 20.05.2005 г.).
Недостатком известного светооптического модуля являются большие габаритные размеры. Кроме того, при работе осветительного устройства, состоящего из нескольких подобных светодиодных модулей, необходима юстировка каждого из них.
Наиболее близким по технической сущности к заявляемому техническому решению является светооптический модуль, содержащий кольцевую оправку, отражатель, светоизлучающий элемент и средство для крепления светоизлучающего элемента (п. РФ 2149309, МПК F21V 14/02, F21V 21/29, F21W 131/205, опубл. 20.05.2000 г.).
Недостатком данного светооптического модуля является юстировка каждого светооптического модуля, входящего в состав осветительного устройства.
Технический результат изобретения заключается в повышении точности настройки за счет упрощения настройки каждого из входящих в состав осветительного устройства светооптических модулей.
Технический результат достигается тем, что в светооптическом модуле, содержащем кольцевую оправку, отражатель, светоизлучающий элемент и средство для крепления светоизлучающего элемента, согласно заявляемому техническому решению в центре кольцевой оправки размещен сердечник, соединенный ребрами жесткости с кольцевой оправкой, при этом в сердечнике со стороны отражателя выполнено гнездо, в котором установлен светоизлучающий элемент, кольцевая оправка и отражатель соединены между собой резьбовым соединением, а светоизлучающий элемент выполнен в виде светодиода.
Причем посадочная часть наружной поверхности кольцевой оправки выполнена конической формы.
Кроме того, кольцевая оправка с сердечником и ребрами жесткости выполнены из теплопроводного материала.
Кроме всего, сердечник соединен с кольцевой оправкой с помощью трех ребер жесткости.
Выполнение кольцевой оправки с ребрами жесткости и сердечником, размещенным в центре оправки, и выполнение в сердечнике гнезда со стороны отражателя позволяет разместить в нем светоизлучающий элемент, выполненный в виде светодиода, на оптической оси светооптического модуля, что повышает точность настройки. Резьбовое соединение кольцевой оправки и отражателя повышает точность расположения отражателя и светодиода и упрощает юстировку светооптического модуля.
Выполнение посадочной части наружной поверхности кольцевой оправки, сопряженной с корпусом светильника, в отверстие которого устанавливается светодиодный модуль, конической формы обеспечивает автоматическую центровку светодиодного модуля при установке в корпус, что также повышает точность настройки.
Выполнение кольцевой оправки с сердечником и ребрами жесткости из теплопроводного материала обеспечивает отвод тепла, образующегося во время работы светооптического модуля, которое выделяет светодиод.
Кроме того, соединение сердечника с кольцевой оправкой ребрами жесткости обеспечивает необходимую жесткость конструкции. Использование трех ребер жесткости для этой цели является оптимальным. При использовании двух ребер жесткости не обеспечивается необходимая жесткость конструкции, а при использовании более трех ребер жесткость конструкции не меняется.
Наличие отличительных от прототипа существенных признаков позволяет признать заявляемое техническое решение новым.
Из уровня техники не выявлены технические решения, содержащие признаки, совпадающие с отличительными признаками заявляемого устройства, поэтому заявляемое устройство отвечает критерию изобретательского уровня.
Возможность осуществления заявляемого изобретения в промышленности позволяет признать его соответствующим критерию промышленной применимости.
Настоящее изобретение будет более понятным при рассмотрении приведенного подробного описания вместе с сопроводительными чертежами настоящего изобретения, при этом данное описание не следует рассматривать как ограничение, а только как пример для объяснения и понимания изобретения.
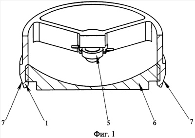
Фиг.1 – светооптический модуль в разрезе.
Фиг.2 – светооптический модуль без светодиода, вид сверху.
Фиг.3 – разрез А-А на фиг.2.
Светооптический модуль содержит кольцевую оправку 1, имеющую три ребра жесткости 2 и сердечник 3, в котором выполнено гнездо 4 для установки в нем светодиода 5, и отражатель 6. Кольцевая оправка 1 соединена с отражателем 6 с помощью резьбового соединения. Светодиод 5 приклеен к дну гнезда 4. Посадочная поверхность 7 кольцевой оправки 1 выполнена конической формы для установки в коническое отверстие корпуса светильника (не показано). Кольцевая оправка 1 с сердечником 3 и ребрами жесткости 2 выполнены из теплопроводного материала, например из алюминиевого сплава.
Конструкция заявляемого светооптического модуля автоматически обеспечивает совмещение оси модуля и оси излучения, то есть механической оси модуля и оптической оси его светового пучка.
Выполнение посадочной части кольцевой оправки и гнезда для его установки в корпусе светильника конической формы автоматически обеспечивает заданную ориентацию механической оси светооптического модуля относительно главной оси светильника. Таким образом можно обеспечить точное расположение светового пучка светооптического модуля и главной оси светильника.
Формула изобретения
1. Светооптический модуль, содержащий кольцевую оправку, отражатель, светоизлучающий элемент и средство для крепления светоизлучающего элемента, отличающийся тем, что в центре кольцевой оправки размещен сердечник, соединенный ребрами жесткости с кольцевой оправкой, при этом в сердечнике со стороны отражателя выполнено гнездо, в котором установлен светоизлучающий элемент, кольцевая оправка и отражатель соединены между собой с помощью резьбового соединения, а светоизлучающий элемент выполнен в виде светодиода.
2. Светооптический модуль по п.1, отличающийся тем, что посадочная часть кольцевой оправки выполнена конической.
3. Светооптический модуль по п.1, отличающийся тем, что кольцевая оправка с сердечником и ребрами жесткости выполнены из теплопроводного материала.
4. Светооптический модуль по п.1, отличающийся тем, что сердечник соединен с кольцевой оправкой с помощью трех ребер жесткости.
РИСУНКИ
|