|
|
(21), (22) Заявка: 2007104335/06, 04.07.2005
(24) Дата начала отсчета срока действия патента:
04.07.2005
(30) Конвенционный приоритет:
06.07.2004 EP 04254047.6
(43) Дата публикации заявки: 20.08.2008
(46) Опубликовано: 10.01.2010
(56) Список документов, цитированных в отчете о поиске:
US 3158459 А, 24.03.1964. JP 61201999 А, 06.09.1986. US 3339783 А, 05.09.1967. US 3341050 А, 12.09.1967. JP 7233899 А, 05.09.1995. RU 2117210 С1, 10.08.1998.
(85) Дата перевода заявки PCT на национальную фазу:
06.02.2007
(86) Заявка PCT:
EP 2005/053165 20050704
(87) Публикация PCT:
WO 2006/003192 20060112
Адрес для переписки:
103735, Москва, ул. Ильинка, 5/2, ООО “Союзпатент”, пат.пов. Ю.В.Пинчуку, рег. 656
|
(72) Автор(ы):
ФЕЛИУС Танно Мартен (NL)
(73) Патентообладатель(и):
ШЕЛЛ ИНТЕРНЭШНЛ РИСЕРЧ МААТСХАППИЙ Б.В. (NL)
|
(54) ЕМКОСТЬ ДЛЯ ХРАНЕНИЯ СЖИЖЕННОГО ГАЗА
(57) Реферат:
Изобретение относится к теплоизолированной емкости (1) для хранения сжиженного газа (80). Емкость (1) содержит: внешний кожух (2), несущий загрузку; сплошной первый экран (40) для жидкости, находящийся, при использовании, в контакте со сжиженным газом (80); первый теплоизолирующий панельный слой (11), второй экран (20) для жидкости, второй теплоизолирующий панельный слой (10), первые соединительные элементы (35), предназначенные для присоединения первого панельного слоя (11) к одному из вторых панельных слоев (10), вторые соединительные элементы (15), предназначенные для соединения, по меньшей мере, одного из вторых панельных слоев (10) с внешним кожухом (2), при этом первый панельный слой (11) и, по меньшей мере, один из вторых панельных слоев (10) снабжены сквозными отверстиями для частичного размещения в них первого и второго соединительных элементов (35, 15). Использование изобретения позволит обеспечить надежную, легкую и легко изготовляемую емкость для хранения сжиженного газа. 8 з.п. ф-лы, 4 ил.
Область техники, к которой относится изобретение
Изобретение относится к теплоизолированной емкости для хранения сжиженного газа, например, сжиженного природного газа (СПГ), сжиженных азота, кислорода или двуокиси углерода, или сжиженного водорода. Приемлемо, чтобы сжиженный газ хранился в емкости при атмосферном давлении.
Уровень техники
Из практики известны различные типы теплоизолированных емкостей. Обычно, такая емкость (сосуд) содержит внешний несущий кожух и внутренний резервуар для заполнения его сжиженным газом (и каким-либо количеством паров) и изоляцию, размещенную между внешним несущим кожухом и внутренним резервуаром с целью снижения утечек теплоты во внешнюю среду.
Как правило, для того, чтобы емкость была способна содержать низкотемпературный сжиженный газ, внешний несущий кожух емкости изготавливают из особого материала, например, из никелевой стали или предварительно напряженного армированного бетона.
Пример выполнения теплоизолированной емкости описан в патентном документе US 3112043, в котором раскрыт транспортируемый контейнер для сжиженных газов, находящихся при давлении, приблизительно равном атмосферному. Этот контейнер содержит в качестве внутренней оболочки жесткий кожух, который изнутри футерован теплоизолирующим материалом. В объеме, окруженном жестким теплоизолированным кожухом, находятся внутренние резервуары, выполненные из алюминия или нержавеющей стали. Внутренние резервуары содержат низкотемпературные жидкость и пары.
Проблема известных емкостей для хранения сжиженного газа заключается в том, что они, как правило, тяжелые, так как включают в себя значительное количество металла. Кроме того, обычно используют высококачественный металл (например, никелевую сталь), вследствие чего такие емкости являются дорогостоящими.
Еще одна проблема заключается в том, что для изготовления известных емкостей требуются значительные затраты времени, поскольку слои металлических элементов конструкции, размещенных внутри емкости, должны быть выполнены сварными. Эта проблема еще более актуальна в случае использования такого металла, как никелевая сталь, так как такой металл трудно сваривать, и для этого требуется квалифицированный персонал сварщиков.
Раскрытие изобретения
Задача настоящего изобретения заключается в минимизации вышеуказанных проблем.
Еще одна задача изобретения состоит в том, чтобы обеспечить надежную, но легковесную емкость для хранения сжиженного газа, которая может быть легко и быстро изготовлена.
Одна или обе вышеуказанные задачи, или другие задачи решаются в соответствии с настоящим изобретением за счет обеспечения теплоизолированной емкости для хранения сжиженного газа, содержащего, по меньшей мере,
внешний кожух, несущий загрузку (в виде сжиженного газа);
первый сплошной экран для жидкости (непроницаемый слой для жидкости), расположенный с внутренней стороны внешнего кожуха, при этом первый экран для жидкости при использовании емкости контактирует со сжиженным газом;
первый теплоизоляционный панельный слой, размещенный между первым экраном для жидкости и внешним несущим кожухом, при этом первый панельный слой имеет переднюю сторону, обращенную внутрь емкости, и заднюю сторону;
второй экран для жидкости, расположенный между первым панельным слоем и внешним кожухом,
по меньшей мере, один второй теплоизоляционный панельный слой, размещенный между вторым экраном для жидкости и внешним несущим кожухом, имеющий переднюю сторону, обращенную внутрь емкости, и заднюю сторону;
первые соединительные элементы, предназначенные для соединения первого панельного слоя с одним из вторых панельных слоев;
вторые соединительные элементы, предназначенные для соединения, по меньшей мере, одного из вторых панельных слоев с внешним кожухом;
при этом первый панельный слой и, по меньшей мере, один из вторых панельных слоев имеют сквозные каналы для частичного размещения в них и закрепления первых и вторых соединительных элементов,
а, по меньшей мере, в одном из вторых панельных слоев, на его передней стороне, выполнены крепежные отверстия для частичного размещения в них первых соединительных элементов,
причем, по меньшей мере, в одном из вторых панельных слоев отсутствует сообщение по текучей среде между сквозными отверстиями для частичного размещения вторых соединительных элементов, с одной стороны, и крепежными отверстиями для частичного размещения в них первых соединительных элементов, с другой стороны.
Неожиданно было обнаружено, что в соответствии с данным изобретением может быть обеспечена легковесная емкость для хранения и транспортирования сжиженных газов, которая может быть изготовлена легко и экономично.
Важное преимущество емкости в соответствии с настоящим изобретением заключается в том, что эта емкость является герметичной. Даже в маловероятном случае протекания первого панельного слоя, утечку текучей среды (т.е. жидкости или пара) будет предотвращать второй экран для жидкости, поскольку не имеет место сообщение по текучей среде между сквозными отверстиями для частичного размещения в них вторых соединительных элементов, с одной стороны, и крепежными отверстиями для частичного размещения в них первых соединительных элементов, с другой стороны.
Предпочтительно, емкость выполнена по существу без использования металла. Это достигается тем, что и внешний кожух и теплоизоляционные панельные слои, а также экраны для жидкости и соединительные элементы предпочтительно изготовлены из материала, который не является металлом. Само собой разумеется, однако, что в такой емкости могут быть использованы некоторые соединительные элементы, выполненные из металла.
Внешний кожух может быть изготовлен из какого-либо материала, приемлемого в качестве экрана (непроницаемого слоя), через который не происходит утечки содержимого емкости. Примерами такого материала являются металл, бетон и т.п. Как отмечено выше, предпочтительно изготовление кожуха из дешевого, не металлического материала.
Первый и второй экраны для жидкости обычно изготавливают из материалов, непроницаемых для жидкости и паров. Предпочтительно первый и второй экраны для жидкости выполнены из пластмассы, например, полиуретана или эпоксидной смолы или комбинации этих материалов. Если необходимо, то экраны для жидкости могут быть армированы, например, путем включения стеклянных волокон. Обычно, экраны для жидкости тоньше, чем панельные слои, и имеют толщину приблизительно 3-8 мм. Конечно, может быть выбрана и другая толщина.
Первый экран для жидкости представляет собой сплошной непрерывный слой, второй экранирующий слой обычно также непрерывный. Для формирования такого слоя экраны для жидкости могут быть, например, образованы путем нанесения покрытия методом распыления или тому подобным образом. Конечно, это покрытие может быть нанесено также с помощью кисти или мастерка.
Первый и второй панельные слои создают из панелей, выполненных из теплоизоляционного материала. Предпочтительно первый и второй панельные слои включают в себя пенопласт. Предпочтительно первый и второй панельные слои выполнены из пластмассы, которая может выдерживать загрузку сжиженного газа, содержащуюся в емкости. Подходящими примерами такой пластмассы являются ПВХ поливинилхлорид и пенополиуретан. Такой предпочтительно используемый материал может также выдерживать давление сжиженного газа, который хранится в сосуде.
Приемлемые первый и второй панельные слои имеют толщину, по меньшей мере, равную 5 см.
Предпочтительно, чтобы панели первого панельного слоя были установлены относительно панелей второго панельного слоя с уступом.
Первый и второй соединительные элементы могут иметь различную форму. Предпочтительно соединительные элементы изготавливают из металла. Обычно, соединительные элементы представляют собой стержни. Предпочтительно, стержень снабжен резьбой, что обеспечивает легкую фиксацию стержня в крепежных отверстиях, имеющихся в одном или большем количестве вторых панельных слоев. Если в конструкции используется только один второй панельный слой, вторые соединительные элементы обеспечивают соединение второго слоя с внешним кожухом; внешний кожух будет, следовательно, иметь крепежные отверстия для размещения в них части вторых соединительных элементов.
Предпочтительно второй панельный слой прикреплен непосредственно к внешнему кожуху. Это еще более предпочтительно, поскольку между первым экраном для жидкости и внешним кожухом отсутствуют пустоты, при этом для заданного объема хранимого сжиженного газа емкость может быть выполнена с минимальными размерами.
Кроме того, предпочтительно, чтобы в первом панельном слое были выполнены сквозные отверстия, а, по меньшей мере, в одном из вторых панельных слоев были выполнены выемки, находящиеся в передних сторонах соответствующих панельных слоев.
Эти выемки предназначены для размещения в них, по меньшей мере, каких-либо шайб, гаек или тому подобных элементов, используемых для крепления тех концов соединительных элементов, которые расположены с передних сторон панелей. В результате экран для жидкости, нанесенный на соответствующую переднюю сторону, может быть по существу плоским.
Кроме того, предпочтительно, чтобы выемки были заполнены закладными (вставными) элементами. Кроме того, предпочтительно, чтобы эти вставные элементы фиксировались в соответствующих выемках с помощью адгезива. Вставные элементы, которые могут иметь любую подходящую форму, могут способствовать формированию по существу плоской передней стороны соответствующего панельного слоя.
Краткое описание чертежей
Далее настоящее изобретение будет, кроме того, раскрыто со ссылками на сопровождающие чертежи, не ограничивающие изобретение.
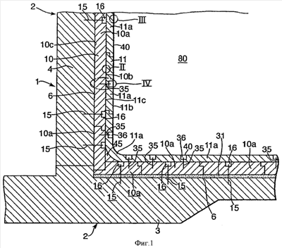
Фиг.1 – схематическое изображение нижнего угла теплоизолированной емкости для хранения сжиженного газа, выполненной в соответствии с настоящим изобретением.
Фиг.2 – фрагмент II, показанный на фиг.1, в большем масштабе.
Фиг.3 – фрагмент III, показанный на фиг.1, в большем масштабе.
Фиг.4 – фрагмент IV, показанный на фиг.1, в большем масштабе.
Одинаковые конструктивные элементы обозначены на чертежах одинаковыми ссылочными номерами позиций.
Осуществление изобретения
На фиг.1 представлена теплоизолированная емкость 1 для хранения сжиженного газа 80, обеспечиваемая в соответствии с изобретением, содержащая внешний кожух 2, несущий загрузку. Несущий кожух 2 содержит плиту 3 основания и боковую стенку 4. В данном примере, иллюстрируемом фиг.1, плита 3 основания и боковая стенка 4 изготовлены из бетона. Несущий кожух 2 имеет внутреннюю поверхность 6. В завершение, следует отметить, что емкость 1 содержит верхнюю стенку (не показана), которая теплоизолирована и может образовать часть несущего кожуха 2.
Кроме того, емкость 1 содержит, по меньшей мере, два теплоизоляционных защитных слоя, а именно, первый панельный слой 11 (внутренний защитный слой) и второй панельный слой 10 (внешний защитный слой), который прикреплен к внутренней поверхности 6 несущего кожуха 2. Несомненно, что при необходимости может быть использован более чем один защитный слой 10.
Каждый защитный слой 10 и 11 включает в себя панели из пенопласта, имеющие переднюю сторону, обращенную внутрь емкости 1, и заднюю сторону. Панели внешнего защитного слоя 10 обозначены на чертеже позициями 10а, при этом их передние стороны обозначены позицией 10b, а задние стороны – позицией 10с. Панели внутренних защитных слоев 11 обозначены ссылочными позициями 11а, передние стороны обозначены позициями 11b, а задние стороны – позициями 11с. В целях упрощения не все поверхности панелей 10а и 11а показаны с номерами позиций.
Кроме того, емкость 1 содержит два экрана, непроницаемых для пара и жидкости, а именно, первый экран 40 для жидкости, контактирующей со сжиженным газом 80, содержащимся в емкости 1 (см. также фиг.3), и второй экран 20 для жидкости, расположенный между внутренним защитным слоем 11 и внешним защитным слоем 10 (см. также фиг.2).
Помимо того, емкость 1 содержит первые соединительные элементы 35, например, стержни, служащие для соединения внутреннего защитного слоя 11 с внешним защитным слоем 10, и вторые соединительные элементы 15, например, стержни, для соединения внешнего защитного слоя 11 с внешним кожухом 2.
Для обеспечения ввода стержней 35, 15 внутренний защитный слой 11 и внешний защитный слой 10 снабжены сквозными отверстиями (не показаны). Кроме того, внешний защитный слой 10 и внешний кожух снабжены крепежными отверстиями (не показаны) для ввода в них тех частей стержней 35, 15, которые обращены в обратную сторону от внутреннего объема, и фиксации тем самым внутреннего защитного слоя 11, внешнего защитного слоя 10 и внешнего кожуха 2 друг относительно друга.
Важное преимущество емкости 1 в соответствии с настоящим изобретением заключается в том, что емкость 1 не имеет утечек и непроницаема для пара. Помимо того, внешний кожух 2 емкости 1 не будет подвержен воздействию низких температур, и в результате выбор материала для внешнего кожуха 2 емкости 1 является менее ограниченным, и, следовательно, обеспечивается большая экономичность. Даже в маловероятном случае протекания первого экрана 40 для жидкости, второй экран 20 для жидкости будет препятствовать утечкам через него текучей среды, поскольку отсутствует сообщение между сквозными отверстиями для частичного размещения и закрепления вторых стержней 15, с одной стороны, и крепежными отверстиями для частичного размещения в них первых стержней 35, с другой стороны.
Для достижения этой цели на внешний защитный слой 10 предпочтительно нанесен (например, путем покрытия напылением) второй экран 20 для жидкости таким образом, что второй экран 20 для жидкости не может быть удален с внешнего защитного слоя 10 без разрушения этих слоев. Предпочтительно, то же применимо к первому экрану 40 для жидкости и внутреннему защитному слою 11.
Кроме того, конструкция емкости 1 по существу не содержит металла (стержни 15, 35 могут быть выполнены из металла, хотя они также могут быть изготовлены и из пластмассы), что обеспечивает создание легковесной емкости.
Ниже описан типичный и не ограничивающий изобретение способ изготовления теплоизолированной емкости 1 для хранения сжиженного газа 80, содержащей защитные слои 10 и 11, прикрепленные к внутренней поверхности 6 несущего кожуха 2.
Первая стадия данного способа заключается в обеспечении внутренней поверхности 6 кожуха 2 большим количеством вторых соединительных элементов 15, например, стержней. Эти стержни 15 ориентированы в основном в перпендикулярных направлениях, а расстояние между соседними стержнями 15 предпочтительно выбрано таким, чтобы для прикрепления одной панели 10а в наличии было, по меньшей мере, два стержня 15. Способ снабжения внутренней поверхности 6 стержнями 15 включает размещение крепежных отверстий (для стержней), например, имеющихся в приемных гайках (не показаны), снабженных подходящим защитным покрытием, установленных в затвердевающем бетоне внешнего кожуха 2, и использование стержней 15 (предпочтительно резьбовых), концы которых могут быть зафиксированы каким-либо подходящим образом (например, приклеены, завинчены или закреплены с использованием расширительного болта или тому подобным образом).
После этого на внутреннюю поверхность 6 несущего кожуха 2 может быть нанесен слой адгезива (не показан). Панели 10а снабжены одним сквозным отверстием (не показано) в расчете на один вводимый в него стержень 15. Это отверстие проходит от задней стороны 10с к цилиндрической выемке 16, выполненной в передней стороне 10b. С целью ясности не все выемки 16 обозначены ссылочными номерами позиций. Панели 10а устанавливают в заданное положение. Они присоединяются к несущему кожуху 2 с использованием средств фиксации концов стержней 15 (например, крепежных колец, показанных на фиг.4), установленных в выемках 16, или путем нанесения адгезива на внутреннюю поверхность 6 и его последующего затвердевания.
Затем в передние стороны 10b панелей 10а внешнего защитного слоя 10 устанавливают большое количество стержней 35. Стержни 35 ориентируют также во взаимно перпендикулярных направлениях, при этом расстояние между соседними стержнями 35 предпочтительно выбрано таким, чтобы для крепления одной панели 11а в наличии имелось, по меньшей мере, два стержня 35.
Способ установки стержней 35 с передних сторон 10b панелей включает размещение крепежных отверстий, например, имеющихся в приемных гайках (не показаны), снабженных подходящим защитным покрытием, которые устанавливают в панелях 10а при их изготовлении, и использование резьбовых стержней, концы которых могут быть ввинчены в приемные (ответные) гайки. Предпочтительно первые стержни 35 не находятся на одной прямой линии со вторыми стержнями 15 для повышения герметичности в отношении утечек жидкости и пара, а также во избежание формирования тепловых мостов, проходящих через изоляционные панели.
После установки стержней 35 создают сплошной, герметичный по жидкости и пару экран 20 на передних сторонах 10b панелей 10а с формированием в результате внешнего защитного слоя 10. Таким путем вокруг стержней 35, приемных гаек (не показаны) и окружающего внешнего защитного слоя 10 может быть обеспечено непроницаемое для текучей среды соединение. Экран 20 более наглядно показан на фиг.2.
Для нанесения второго экрана 20 для жидкости предпочтительно, чтобы поверхность, на которую он наносится, была гладкой. Однако, передние стороны 10b панелей 10а не гладкие (на них имеются выемки 16). Поэтому подходящим решением является размещение в этих выемках предварительно изготовленных вставных элементов из вспененного материала (не показаны) с тем, чтобы на передних сторонах 10b панелей 10а была создана гладкая сплошная поверхность.
Таким образом, внешний защитный слой 10 включает в себя панели 10а, которые прикреплены к внутренней поверхности 6 несущего кожуха 2, и сплошной экран 20, непроницаемый для жидкости и пара. Внутренняя поверхность внешнего защитного слоя 10 обозначена ссылочными позициями 30 (см. фиг.2).
Далее на внутреннюю поверхность 30 внешнего защитного слоя 10 может быть нанесен слой адгезива (не показан). В панелях 11а имеется одно отверстие (не показано) в расчете на размещение в нем одного стержня. Это отверстие проходит от задней стороны 11с к цилиндрической выемке 36, выполненной на передней стороне 11b. Для ясности не все выемки 36 обозначены на чертеже ссылочными номерами позиций. Панели 11а устанавливают на место. При этом через внешний защитный слой 10 их присоединяют к кожуху 2 путем наложения средств крепления (например, крепежных колец 90, как показано на фиг.4) на концы стержней 35, находящихся в выемках 36, и используя адгезив, нанесенный на внутреннюю поверхность 30.
После этого на передних сторонах 11b панелей 11а обеспечивается сплошной экран 40, герметичный в отношении жидкости и пара. Для нанесения экрана 40 предпочтительно, чтобы поверхность, на которую он наносится, была гладкой. Однако, передние поверхности 11b панелей 11а не гладкие (на них имеются выемки 36). Поэтому подходящим решением является размещение в этих выемках 36 предварительно изготовленных вставных элементов из вспененного материала (не показаны) с тем, чтобы на передних сторонах 11b панелей 11а была создана гладкая сплошная поверхность.
В результате внутренний защитный слой 11 состоит из панелей 11а, которые прикреплены к внешней поверхности 6 несущего кожуха 2, и сплошного экрана 40, непроницаемого для пара и жидкости.
Выгодно, чтобы панели 11а внутреннего защитного слоя были расположены со смещением относительно панелей 10а внешнего защитного слоя с тем, чтобы панели 11а перекрывали выемки 16 панелей 10а.
Предпочтительно, чтобы панели 11а внутреннего защитного слоя 11 в углах (а именно, в углах днища) емкости 1 были скруглены и поддерживались в углах с помощью угловых опорных деталей 45. В примере осуществления, иллюстрируемом на фиг.1, где показана цилиндрическая емкость 1 для хранения СПГ, угловые детали 45, как правило, имеют форму кругового кольца с криволинейной внутренней поверхностью. Специалист в данной области техники легко поймет, что указанные панели 11а, размещенные в углах емкости 1, так же как и угловые детали 45, при необходимости могут иметь и другую подходящую форму.
Внутренний защитный слой 11, при нормальных условиях функционирования, контактирует со сжиженным газом, хранимым в теплоизолированной емкости 1, соответствующей настоящему изобретению.
Выгодно, чтобы панели 10а и 11а были выполнены из подходящего пенопласта, предпочтительно из вспененного поливинилхлорида или пенополиуретана, а сами панели были покрыты пленкой полимера. Для уменьшения вероятности утечки панели 10а и 11а имеют ступенчатые боковые поверхности для соединения соседних панелей внахлестку.
Фиг.2, 3 и 4 отображают в большем масштабе фрагменты II, III и IV, выделенные на фиг.1, соответственно. Для ясности на фиг.4 показан также второй стержень 15, хотя из фиг.1 не следует, что выделенный фрагмент IV (т.е. фиг.4) содержит этот второй стержень.
Как можно видеть на фиг.4, в крепежное отверстие, выполненное в передней стороне 10с внешнего защитного слоя 10, вставлен конец 35а первого стержня 35, направленный в обратную сторону от внутреннего объема сосуда; в результате крепежное отверстие во внешнем защитном слое 10 вмещает часть первого стержня 35. Предпочтительно крепежное отверстие во внешнем защитном слое 10 также, как и конец 35а стержня 35, выполнено с резьбой (не показано).
Подобным же образом, как показано на фиг.4, в боковой стенке 4 внешнего кожуха 2 также имеется крепежное отверстие, в которое входит конец 15а второго стержня 15, при этом конец 15а обращен в обратную сторону относительно внутреннего объема емкости 1.
Сквозное отверстие во внутреннем защитном слое 11 состоит из части отверстия, заполняемой первым стержнем 35, и части, образованной выемкой 36. Первый стержень 35 закрепляется на конце 35b, обращенном в сторону внутреннего объема емкости 1, с помощью крепежного (установочного) кольца 90. Кроме того, указанный первый стержень 35 может быть зафиксирован с помощью адгезива, заполняющего выемку 36 во внутреннем защитном слое 11. Помимо того, при необходимости в выемке 36 может быть размещен вставной элемент (не показан). Этот вставной элемент может быть спрофилирован предварительно или может быть сформирован по месту, например, из вспененного материала.
Специалисту в данной области техники легко будет понятно, что конструктивное выполнение емкости 1 в соответствии с данным изобретением может изменяться в значительной степени без выхода за пределы объема приложенных пунктов формулы изобретения.
В качестве примера, внутренняя поверхность 6 несущего кожуха 2 может быть снабжена дополнительным сплошным экраном, непроницаемым для пара (не показан). Этот дополнительный экран наносят, следовательно, после установки вторых стержней 15. Далее первая стадия данного способа включает размещение большого количества стержней 15, и после этого нанесение на внутреннюю поверхность 6 конструкционного кожуха 2 экрана для пара (не показан).
Дополнительно, перед размещением на плите 3 основания панелей 10а внешнего защитного слоя на плите 3 основания может быть уложен защитный выравнивающий слой 31. Защитный слой 31 может быть выполнен, например, из сухого песка или выравнивающего бетона.
Кроме того, панели 10а и 11а могут быть спрофилированы таким образом, что передние стороны 10b и задние стороны 11с в выбранных точках между слоями 10 и 11 образуют каналы, например, для облегчения продувки емкости 1 инертным газом перед использованием или после использования емкости 1. Кроме того, эти каналы могут быть использованы во время использования емкости 1 с целью контроля непроницаемости экранов 20 и 40 для пара и жидкости.
Настоящее изобретение обеспечивает удивительно простую теплоизолированную емкость, которая может быть изготовлена быстро и экономично. Емкость может быть выполнена в виде больших цилиндрических наземных емкостей, но она также может быть изготовлена в виде емкостей призматической формы, которые размещают на судах или наземных конструкциях. Кроме того, настоящее изобретение позволяет изготавливать емкости, которые имеют размер грузового контейнера. Емкости последнего типа, заполненные сжиженным газом, могут быть легко и безопасно транспортированы в какое-либо место, где этот газ может быть использован.
Формула изобретения
1. Теплоизолированная емкость (1) для хранения сжиженного газа (80), содержащая, по меньшей мере: внешний кожух (2), несущий загрузку; первый сплошной экран (40) для жидкости, расположенный с внутренней стороны внешнего кожуха (2), при этом первый экран (40) для жидкости при использовании емкости контактирует со сжиженным газом (80); первый теплоизоляционный панельный слой (11), размещенный между первым экраном (40) для жидкости и внешним несущим кожухом (2), при этом первый панельный слой имеет переднюю сторону (11b), обращенную в сторону внутреннего объема емкости (1), и заднюю сторону (11с); второй экран (20) для жидкости, расположенный между первым панельным слоем (11) и внешним кожухом, по меньшей мере, один второй теплоизоляционный панельный слой (10), размещенный между вторым экраном (20) для жидкости и внешним несущим кожухом (2), имеющий переднюю сторону (10b), обращенную внутрь емкости (1), и заднюю сторону (10с); первые соединительные элементы (35), предназначенные для соединения первого панельного слоя (11) с одним из вторых панельных слоев (10); вторые соединительные элементы (15), предназначенные для соединения, по меньшей мере, одного из вторых панельных слоев (10) с внешним кожухом (2); при этом первый панельный слой (11) и, по меньшей мере, один из вторых панельных слоев (10) имеет сквозные отверстия для частичного размещения в них и закрепления первых и вторых соединительных элементов (35, 15), а, по меньшей мере, в одном из вторых панельных слоев (10), на его передней стороне (10b) выполнены крепежные отверстия для частичного размещения в них первых соединительных элементов (35); причем, по меньшей мере, в одном из вторых панельных слоев (10) отсутствует сообщение по текучей среде между сквозными отверстиями для частичного размещения вторых соединительных элементов (15), с одной стороны, и крепежными отверстиями для частичного размещения в них первых соединительных элементов (35), с другой стороны, причем первый и второй панельные слои (11, 10) выполнены из пенопласта.
2. Емкость (1) по п.1, в которой первый и второй экраны (40, 20) для жидкости выполнены из пластмассы.
3. Емкость (1) по п.1 или 2, в которой первый и второй панельные слои (11, 10) могут выдерживать загрузку сжиженного газа (80), содержащегося в емкости (1).
4. Емкость по п.1, в котором первый и второй панельные слои (11, 10) имеют толщину, по меньшей мере, равную 5 см.
5. Емкость по п.1, в которой панели (11а) первого панельного слоя (11) установлены относительно панелей (10а) второго панельного слоя (10) с уступом.
6. Емкость по п.1, в которой, по меньшей мере, один из вторых панельных слоев (10) прикреплен непосредственно к внешнему кожуху (2).
7. Емкость по п.1, в которой в первом панельном слое (11) имеются сквозные отверстия, и, по меньшей мере, один из вторых панельных слоев (10) снабжен выемками (16, 36) на передних сторонах (11b, 10b) соответствующих панельных слоев (11, 10).
8. Емкость (1) по п.7, в которой в указанные выемки (36, 16) заложены вставные детали.
9. Емкость (1) по п.8, в которой вставные детали закреплены в соответствующих выемках (36, 16) с помощью адгезива.
РИСУНКИ
|
|