|
|
(21), (22) Заявка: 2008103598/06, 29.01.2008
(24) Дата начала отсчета срока действия патента:
29.01.2008
(43) Дата публикации заявки: 10.08.2009
(46) Опубликовано: 10.01.2010
(56) Список документов, цитированных в отчете о поиске:
RU 65606 U1, 10.08.2007. SU 1234697 A1, 30.05.1986. SU 460407 A, 15.07.1975. US 4411288 A, 25.10.1983. JP 11108240 A, 20.04.1999. JP 2000314456 A, 14.11.2000. JP 2002181225 A (KUBOTA KK), 26.06.2002.
Адрес для переписки:
640022, г.Курган, ул. Куйбышева, 144, стр.2, ООО “Армтехстрой”, ген.директору В.А. Уфимцеву
|
(72) Автор(ы):
Матвеев Александр Васильевич (RU), Уфимцев Владимир Анатольевич (RU), Шанаурин Анатолий Леонтьевич (RU), Гурьянов Андрей Васильевич (RU)
(73) Патентообладатель(и):
Общество с ограниченной ответственностью “Армтехстрой” (RU)
|
(54) РУЧНОЙ ПРИВОД ТРУБОПРОВОДНОЙ АРМАТУРЫ С УКАЗАТЕЛЕМ ПОЛОЖЕНИЯ ЗАПОРНОГО ОРГАНА
(57) Реферат:
Изобретение относится к области машиностроения и предназначено для использования в качестве привода для трубопроводной запорно-регулирующей арматуры. Ручной привод трубопроводной арматуры с указателем положения запорного органа содержит корпус. В корпусе размещена зубчатая передача. Ведущая шестерня зубчатой передачи связана с маховиком. Ведомая шестерня установлена на трубчатой ступице с кулачковым торцом и с цевочным колесом. Цевочное колесо взаимодействует с шестерней. Шестерня закреплена на винте. Винт перемещает гайку. На гайке закреплен указатель хода. Патрон установлен на крышке параллельно стакану для шпинделя и закрыт прозрачным кожухом. В патроне выполнены две продольные прорези. В прорезях перемещаются радиальные выступы гайки. Выступы гайки соединены с кольцевым охватывающим патрон указателем. Указатель имеет окна для считывания маркировки. Маркировка нанесена на наружной поверхности патрона. Изобретение направлено на увеличение угла обзора указателя положения запорного органа. 1 з.п. ф-лы, 4 ил.
Изобретение относится к области машиностроения и может быть использовано в качестве привода для трубопроводной запорно-регулирующей арматуры.
Известен ручной привод с указателем хода рабочего органа (см. а.с. 460407, F16К 37/00), содержащий шпиндель, маховик, закрепленный между ними колпачок со шкалой, выполненной в виде винтовой прорези, в которую помещена стрелка соединения с бугельной крышкой.
К недостаткам известного устройства относится невозможность его применения для трубопроводной арматуры больших проходов Ду и высоких давлений Ру, в которой для ее закрытия необходимо применять редуктор.
Известен также ручной привод трубопроводной арматуры с указателем положения запорного органа (см. RU 65606 U1, F16К 37/00, прототип), содержащий корпус, в котором подвижно вращательно установлена трубчатая ступица с ведомой зубчатой шестерней. На последней закреплено цевочное колесо со съемными цевками, взаимодействующими со сменной шестерней, закрепленной на винте, коаксиально размещенном в патроне, закрепленном на крышке редуктора, по замаркированной выемке которого перемещается указатель положения запорного органа, скрепленный с гайкой, управляемой винтом.
Недостатком известного устройства является ограниченный угол обзора за указателем положения запорного органа, что снижает потребительские свойства привода.
Техническая задача, решаемая в предлагаемом устройстве, – создание указателя положения запорного органа с большей зоной обзора.
Поставленная задача решается тем, что в патроне выполнены две продольные прорези, в которых перемещаются радиальные выступы гайки, соединенные с кольцевым, охватывающим патрон, указателем, имеющим окна для считывания маркировки, нанесенной на наружной поверхности патрона, и на наружной поверхности указателя нанесено светоотражающее покрытие, а посередине ее высоты контрастным цветом – узкая полоса, совпадающая в крайних положениях запорного органа с маркировкой «О» – открыто и «З» – закрыто.
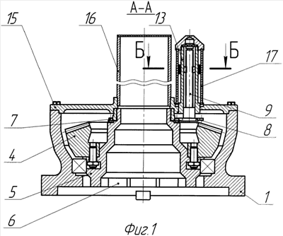
На фиг. 1 изображен разрез по А-А фиг. 2;
на фиг. 2 – вид сверху;
на фиг. 3 – разрез Б-Б;
на фиг. 4 – вид В на фиг. 3.
Привод содержит корпус 1, в котором размещена зубчатая передача, ведущая шестерня 2 которой связана с маховиком 3, а ведомая шестерня 4 установлена на трубчатой ступице 5, имеющей торцевую кулачковую муфту 6 и цевочное колесо 7, взаимодействующее с шестерней 8, закрепленной на винте 9, управляющем гайкой 10, на радиальных выступах 11 которой надежно зафиксирован указатель хода 12, выполненный кольцевой формы и охватывающий патрон 13, по продольным пазам 14 которого перемещается гайка 10. Патрон 13 установлен на крышке 15 параллельно стакану 16 для размещения в нем шпинделя и закрыт прозрачным кожухом 17, а указатель хода 12 снабжен окнами 18 для считывания маркировки «О» – открыто и «З» – закрыто крайних положений запорного органа трубопроводной арматуры, нанесенной на наружной поверхности патрона 13. На наружную поверхность указателя хода 12 нанесено светоотражающее покрытие, а посередине его высоты, между окнами 18 нанесена контрастным цветом, по отношению к светоотражающему покрытию, узкая кольцевая полоска 19, совпадающая в крайних положениях запорного органа трубопроводной арматуры с маркировками «О» и «З».
Ручной привод работает следующим образом.
Крутящий момент от маховика 3 через ведущую шестерню 2 и ведомую шестерню 4 передается на трубчатую ступицу 5 и через кулачковую муфту 6 – на ходовую гайку трубопроводной арматуры (не показана), управляемую шпинделем, связанным с запорным органом трубопроводной арматуры. При этом цевочное колесо 7 передает вращение на шестерню 8 и винт 9, который перемещает гайку 10 с радиальными выступами 11 по продольным пазам 14 патрона 13, а значит, и указатель хода 12, через окна 18 которого и происходит визуальный контроль и считывание положения запорного органа.
Таким образом, благодаря тому что патрон 13 снабжен продольными пазами 14, по которым перемещаются выступы 11 гайки 10, соединенные с указателем хода 12, который имеет кольцевую форму и охватывает патрон 13, причем по середине высоты между окнами 18 нанесена полоска 19 для визуального контроля положения запорного органа трубопроводной арматуры, что позволяет производить визуальный контроль с достаточно большого угла обзора и, несомненно, повышает потребительские свойства привода, а светоотражающее покрытие, нанесенное на указатель хода, позволяющее производить контроль в любое время суток, способствует этому повышению.
Формула изобретения
1. Ручной привод трубопроводной арматуры с указателем положения запорного органа, содержащий корпус, размещенную в нем зубчатую передачу, ведущая шестерня которой связана с маховиком, а ведомая установлена на трубчатой ступице с кулачковым торцом и с цевочным колесом, взаимодействующим с шестерней, закрепленной на винте, управляющим гайкой, на которой закреплен указатель, перемещаемый относительно коаксиально охватывающего винт патрона, установленного на крышке параллельно стакану для шпинделя и закрытого прозрачным кожухом, отличающийся тем, что в патроне выполнены две продольные прорези, в которых перемещаются радиальные выступы гайки, соединенные с кольцевым охватывающим патрон указателем, имеющим окна для считывания маркировки, нанесенной на наружной поверхности патрона.
2. Ручной привод по п.1, отличающийся тем, что на наружную поверхность указателя нанесены светоотражающее покрытие, посередине ее высоты контрастным цветом узкая полоса, совпадающая в крайних положениях запорного органа с маркировками «О» – открыто и «3» – закрыто.
РИСУНКИ
|
|