|
|
(21), (22) Заявка: 2008113682/06, 10.04.2008
(24) Дата начала отсчета срока действия патента:
10.04.2008
(46) Опубликовано: 10.01.2010
(56) Список документов, цитированных в отчете о поиске:
RU 2200267 С2, 10.03.2003. SU 1224496 А, 15.04.1986. SU 629393 А, 11.09.1978. GB 1403548 А, 28.08.1975. DE 4423852 A1, 11.01.1996.
Адрес для переписки:
119991, Москва, ГСП-1, Ленинский пр-кт, 63/2, ОАО “РИТЭК”, В.А. Галустянц
|
(72) Автор(ы):
Фаткуллина Лидия Парфеновна (RU), Фаткуллин Олег Хикметович (RU), Халов Мурад Османович (TM), Халов Осман Мурадович (TM), Сапаров Санджар Мухамедмурадович (RU), Орлов Геннадий Иванович (RU), Нургалиев Ренат Галеевич (RU)
(73) Патентообладатель(и):
Открытое акционерное общество “Российская инновационная топливно-энергетическая компания (ОАО “РИТЭК”) (RU)
|
(54) ЗАПОРНЫЙ КЛАПАН С ТЕРМОЧУВСТВИТЕЛЬНЫМ УПРАВЛЕНИЕМ
(57) Реферат:
Изобретение относится к запорной трубопроводной арматуре и предназначено для использования в качестве отсечного клапана в теплоэнергетике, химической и пищевой промышленности, водопроводах, газо- и нефтепроводах. Запорный клапан с термочувствительным управлением содержит регулирующий орган, исполнительный механизм, орган управления. Регулирующий орган установлен на заполненном жидкостью или газом трубопроводе. Исполнительный механизм выполнен в виде привода объемного действия. Орган управления снабжен двумя теплоизоляционными камерами с расположенными внутри термочувствительными элементами, распределительной камерой с перепускными клапанами, двумя электронагревателями, контактным устройством, снабженным реле времени и толкателем. Стенки теплоизоляционных камер выполнены теплоизолированными. Термочувствительные элементы изготовлены из материала, обладающего эффектом памяти формы. Два перепускных клапана соединены с термочувствительными элементами своими затворами. С помощью перепускных клапанов привод объемного действия параллельно соединен с предклапанной частью трубопровода повышенного давления и зоной пониженного давления. Зона пониженного давления имеет вид заклапанной части трубопровода. Внутри привода объемного действия расположен холодильник. Каждая из теплоизолированных камер напрямую соединена с двумя перепускными клапанами. Изобретение направлено на расширение области применения запорного клапана с термочувствительным управлением. 2 з.п. ф-лы, 2 ил.
Изобретение относится к запорной трубопроводной арматуре и может быть использовано в качестве отсечного клапана в теплоэнергетике, химической и пищевой промышленности, водопроводах, газо- и нефтепроводах.
Известен клапан с использованием эффекта памяти сплавов и антиблокировочная система с таким клапаном, имеющий вид корпуса с впускным и выпускным клапанами (регулирующие органы), каждый из которых своим затвором соединен с двумя приводами (исполнительными механизмами). (Патент РФ 97102555, 6 В60Т 1/00, опубликован в 1999 г.) Один из этих приводов служит для перемещения затвора соответствующего клапана, а другой, для фиксации местоположения этого затвора. Каждый из четырех приводов выполнен в виде термочувствительного элемента – прямолинейной проволоки, обладающей эффектом памяти формы и растягивающей ее пружины. «Память» каждого элемента выражается в укорачивании при нагреве, вызванном прямым пропусканием через него тока, подаваемого по одной из проводных линий управления четырехканального контактного устройства. При нагреве до аустенитного состояния элемент перемещает соответствующий затвор и взводит противодействующую пружину. При прекращении пропускания тока элемент охлаждается до мартенситного состояния и противодействующая пружина, растягивая его, перемещает затвор в исходное положение.
Недостатками известного клапана являются его сложность и узкая область его применения. Наличие четырех сложносопряженных друг с другом приводов и неупомянутых приспособлений, обеспечивающих импульсную подачу тормозной жидкости в гидравлические приводы антиблокировочного тормозного устройства, ведет к усложнению клапана. Поскольку термочувствительные элементы открывают соответствующие клапаны путем непосредственного воздействия на их затворы, существует прямая зависимость требуемого рабочего усилия от проходного сечения клапана и перепада давления на его входе и выходе. На практике, особенно при установке клапана на трубопроводах большого сечения и высокого давления, это ведет к непроизводительному увеличению массы, габаритов, и, как следствие, повышению тепловой инерционности и снижению быстродействия дорогостоящих термочувствительных элементов.
Последнего недостатка лишен выбранный в качестве прототипа запорный клапан с термочувствительным управлением, содержащий установленный на заполненном жидкостью или газом трубопроводе регулирующий орган в виде снабженного корпусом и затвором магистрального клапана, исполнительный механизм в виде привода объемного действия – духпоршневого гидравлического редуктора и орган управления, снабженный камерой с расположенным внутри спиралевидным термочувствительным элементом, изготовленным из материала, обладающего эффектом памяти формы, пружинным возвратным элементом спиралевидного термочувствительного элемента и соединенными со спиралевидным термочувствительным и возвратным элементами своими затворами двумя перепускными клапанами, посредством которых объемный привод периодически поочередно связан то с предклапанной частью трубопровода, то с атмосферой (патент РФ 2200267, F16K 31/64, F16K 17/38, опубликован в 2003 г.). Термочувствительный элемент реагирует на изменение температуры проходящего через камеру регулируемого потока жидкости или газа. При нагреве до аустенитного состояния термочувствительный элемент совершает работу по сжатию пружинного возвратного элемента и перемещению затворов перепускных клапанов в положение, обеспечивающее перепускание жидкости или газа из цилиндра меньшего поршня гидравлического редуктора в цилиндр большего поршня. Последний перемещает затвор регулирующего органа и тот перекрывает регулируемый поток. При охлаждении термочувствительного элемента до мартенситного состояния он становится более податливым к механическому воздействию. В результате, возвращая накопленную прежде энергию, пружинный возвратный элемент деформирует термочувствительный элемент и перемещает затворы перепускных клапанов таким образом, что содержимое большего из цилиндров редуктора сбрасывается в атмосферу под действием давящего на больший поршень меньшего из поршней гидравлического редуктора, что ведет к открытию магистрального клапана.
Недостатком известного клапана является узкая область его применения. Зависимость работы термочувствительного элемента от температуры регулируемого потока жидкости или газа препятствует применению клапана на трубопроводах с постоянной температурой транспортируемой жидкости или газа.
Техническим результатом изобретения является расширение области применения запорного клапана с термочувствительным управлением.
Указанный технический результат достигается тем, что в запорном клапане с термочувствительным управлением, содержащем последовательно установленный на заполненном жидкостью или газом трубопроводе регулирующий орган в виде снабженного корпусом и затвором магистрального клапана, исполнительный механизм в виде привода объемного действия и орган управления, снабженный камерой с расположенным внутри термочувствительным элементом, изготовленным из материала, обладающего эффектом памяти формы, возвратный элемент термочувствительного элемента и соединенные с термочувствительным и возвратным элементами своими затворами два перепускных клапана, посредством которых объемный привод параллельно соединен с предклапанной частью трубопровода повышенного давления и зоной пониженного давления, согласно изобретению стенки камеры выполнены теплоизолированными, возвратный элемент выполнен в виде термочувствительного элемента из материала, обладающего эффектом памяти формы, а зона пониженного давления имеет вид заклапанной части труборовода, кроме того, запорный клапан с термочувствительным управлением дополнительно содержит расположенный внутри привода объемного действия холодильник, посредством которого трубопровод соединен с входной частью корпуса магистрального клапана, два электронагревателя, снабженное реле времени контактное устройство, посредством которого оба электронагревателя соединены с источником электропитания, два перепускных клапана, толкатель, соединенный с затворами перепускных клапанов, и две камеры, в одной из которых установлены перепускные клапаны, а стенки второй выполнены теплоизолированными, причем каждая из теплоизолированных камер соединена только с ее двумя перепускными клапанами, один из которых – дополнительный, и содержит внутри по одному из термочувствительных элементов и одному из электронагревателей, а термочувствительные элементы посредством толкателя соединены с затворами перепускных клапанов таким образом, что при закрытом положении магистрального клапана оба перепускных клапана снабженной возвратным элементом камеры открыты и наоборот, при этом объемный привод выполнен в виде сильфонного гидравлического редуктора, сильфоны которого изготовлены из материала, обладающего эффектом памяти формы и эффектом сверхупругости, например из никелида титана, а термочувствительный элемент выполнен в виде, по крайней мере, одной прямолинейной проволоки, обладающей эффектом памяти формы.
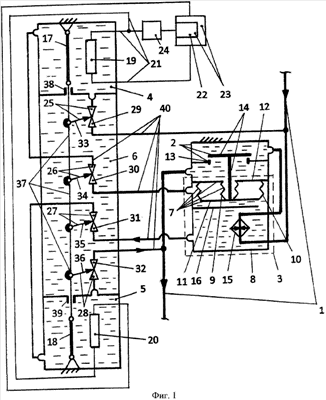
На фиг.1 представлена схема запорного клапана с термочувствительным управлением при косвенном электрическом нагреве термочувствительных элементов.
На фиг.2 схематично показан вариант исполнения одного из термочувствительных элементов при прямом нагреве его электрическим током.
На фиг.1, 2: 1 – трубопровод; 2 – магистральный клапан; 3 – объемный привод, 4, 5 – теплоизоляционные камеры; 6 – распределительная камера; 7 – сильфонный гидравлический (пневматический) редуктор; 8 – корпус; 9 – малый сильфон; 10 – большой сильфон; 11 – диск; 12 – шайба; 13 – корпус магистрального клапана 2; 14 – затвор магистрального клапана 2; 15 – холодильник; 16 – направляющая стенка; 17, 18 – термочувствительные элементы из материала, обладающего эффектом памяти формы; 19, 20 – электрические нагреватели; 21 – электрические провода; 22 – реле времени; 23 – двухпозиционное электроконтактное устройство; 24 – источник электрического питания; 25-28 – перепускные клапаны; 29-32 – корпусы соответствующих перепускных клапанов 25-28; 33-36 – затворы соответствующих перепускных клапанов 25-28; 37 – толкатель; 38, 39 – уплотнительные направляющие втулки толкателя; 40 – гидропроводы (пневмопроводы); 41, 42 – электрические изоляторы; 43 – гибкий электрический провод.
Запорный клапан содержит последовательно установленный на заполненном жидкостью или газом трубопроводе 1 регулирующий орган в виде магистрального клапана 2, исполнительный механизм в виде объемного привода 3 и орган управления в виде двух теплоизоляционных камер 4, 5 электромеханического управления приводом 3 и соединенной с ними распределительной камеры 6 (фиг.1). Привод 3 выполнен, например, в виде сильфонного гидравлического редуктора 7, содержащего корпус 8 с двумя концентрично установленными друг в друге сильфонами 9, 10 разного диаметра из материала, обладающего эффектом памяти формы и эффектом сверхупругости, например из никелида титана. Память формы сильфонов 9, 10 выражается в самопроизвольном сжатии при нагреве до аустенитного состояния. Сильфоны 9, 10 герметично закреплены торцами соответственно на диске 11 и шайбе 12. Последняя своей периферийной частью герметично соединена с кромкой корпуса 8 и с корпусом 13 клапана 2. Диск 11 соединен с затвором 14 клапана 2. Внутри корпуса 8 установлен холодильник 15, отделенный от сильфонов 9, 10 негерметичной направляющей стенкой 16. Посредством холодильника 15 предклапанная часть трубопровода 1 соединена с надклапанной частью корпуса 13. Внутри каждой из камер 4, 5 расположен один из термочувствительных элементов 17, 18 и один из электронагревателей 19, 20, соединенных соответствующими электропроводами 21 через снабженное реле 22 времени двухпозиционное электроконтактное устройство 23 с источником 24 электропитания. Каждый из элементов 17, 18 выполнен в виде, по крайней мере, одной прямолинейной проволоки, изготовленной из материала, обладающего эффектом памяти формы, например из никелида титана. Каждый из элементов 17, 18 закреплен одним концом на стенке соответствующей камеры 4, 5. Память формы элементов 17, 18 выражается в уменьшении длины при нагреве до аустенитного состояния. Внутри камеры 6 расположены четыре перепускных клапана 25-28, каждый из которых снабжен соответствующим корпусом 29-32 и затвором 33-36. Последние посредством толкателя 37, установленного в соответствующих уплотнительных направляющих втулках 38, 39, соединены со свободными концами соответствующих элементов 17, 18. Посредством связанных с камерой 5 корпусов 29, 30 и связанных с камерой 6 корпусов 31, 32 корпус 8 параллельно соединен гидропроводами (пневмопроводами) 40 соответственно с предклапанной и заклапанной частями трубопровода 1.
При выполнении, по крайней мере, одного термочувствительного элемента 17 в виде электронагревателя сопротивления концы элемента 17 – нагревателя соединены соответственно со стенкой камеры 4 и с толкателем 39 посредством соответствующих электрических изоляторов 41, 42 и связаны соответствующими проводами 21 через гибкий электрический провод 43 и снабженное реле 22 устройство 23 с источником 24 питания.
Запорный клапан работает следующим образом (фиг.1). При закрытом положении клапана 2 нижняя часть корпус 8 через соответствующие гидропроводы (пневмопроводы) 40, открытый клапан 27, камеру 5 и открытый клапан 28 сообщается с заклапанной частью трубопровода 1. Открытие клапана 2 производится путем переключения устройства 23 в положение, обеспечивающее последовательное прохождение электрического тока через реле 22 и нагреватель 19. В результате находящаяся в камере 4 жидкость (газ) и элемент 17 нагреваются. По достижении элементом 17 температуры начала аустенитного превращения он начинает уменьшаться в длине, совершая работу по перемещению толкателя 37 вверх, переключению клапанов 25-28 и растягиванию элемента 18, находящегося при этом в охлажденном пластичном мартенситном состоянии. После нагрева элемента 17 до температуры завершения аустенитного превращения его укорачивание завершается. При этом клапаны 25, 26 открываются, а клапаны 27, 28 закрываются и запрограммированное прежде на необходимую продолжительность процесса нагрева элементов 17, 18 реле 22 времени отключает электронагреватель 19 от источника 24 электропитания. Жидкость (газ) поступает из предклапанной части трубопровода 1 через соответствующие гидропроводы (пневмопровод) 40 и открытый клапан 25 в камеру 4, вытесняя из нее нагретую жидкость (газ) через клапан 26 в среднюю часть корпуса 8 и попутно охлаждая собой элемент 17 с нагревателем 19. В результате нагрева до аустенитного состояния и повышения давления в корпусе 8 большой сильфон 10 сжимается и, поднимая диском 11 затвор 14, открывает клапан 2. В результате холодная жидкость (газ) начинает поступать из надклапанного участка трубопровода 1 через холодильник 15, открытый клапан 2 и расположенную под корпусом 13 часть корпуса 8 в заклапанный участок трубопровода 1. При этом холодильник 15 охлаждает окружающую сильфон 10 жидкость (газ) и сильфон 10 охлаждается до температуры пластичного мартенситного состояния. Закрытие клапана 2 производится путем переключения устройства 23 в положение, обеспечивающее последовательное прохождение электрического тока через реле 22 и нагреватель 20. В результате находящаяся в камере 5 жидкость (газ) и элемент 18 нагреваются. При нагреве элемента 18 до температуры начала аустенитного превращения он начинает уменьшаться в длине, совершая работу по перемещению толкателя 37 вниз, переключению клапанов 25-28 и растягиванию элемента 17, который находится при этом в пластичном мартенситном состоянии. После нагрева элемента 18 до температуры завершения аустенитного превращения его укорачивание завершается, клапаны 25, 26 закрываются, а клапаны 27, 28 открываются и запрограммированное прежде на необходимую продолжительность процесса нагрева элементов 17, 18 реле 22 времени отключает электронагреватель 20 от источника 24 питания. Жидкость (газ) из нижней части корпуса 8 через соответствующие гидропроводы (пневмопровод) 40, открытый клапан 27, камеру 5 и открытый клапан 28 поступает в заклапанный участок трубопровода 1, попутно охлаждая собой элемент 18 с нагревателем 20 и создавая в нижней части корпуса 8 разряжение. В результате из-за перепада давлений между расположенной под корпусом 13 частью корпуса 8 и отделенной от нее шайбой 12 нижней частью корпуса 8, в которой создано разряжение, находящийся в охлажденном пластичном мартенситном состоянии большой сильфон 10 растягивается. При этом диск 11 с затвором опускаются и клапан 2 закрывается.
Аналогичным образом работает также запорный клапан с термочувствительным управлением, в котором нагрев, по крайней мере, одного из элементов 17, 18 осуществляется путем прямого пропускания электрического тока (фиг.2).
Область применения запорного клапана с прямым электрическим нагревом, по крайней мере, одного из элементов 17, 18 (фиг.2) ограничена регулированием потоков взрыво- и пожаробезопасных неэлектропроводных жидкостей или газов.
Сплавы для изготовления элементов 17, 18 и сильфонов 9, 10 подобраны таким образом, что аустенитное превращение в элементах 17, 18 реализуется при более высоких температурах, чем в сильфонах 9, 10. Причем сильфоны 9, 10 могут находиться при работе регулируемого клапана в сверхупругом состоянии, при котором переход из аустенитной в мартенситную фазу осуществляется не путем охлаждения, а путем деформации сильфонов 9, 10. При этом вызванные нагревом и охлаждением сильфона 10 соответствующие процессы самопроизвольного сжатия и снижения упругости сильфона 10 способствуют упрощению синхронной по направлению и времени действия принудительной деформации сильфонов 9, 10, обусловленной перепадом давлений. Это ведет к снижению требуемой разницы диаметров сильфона 10 и проходного сечения корпуса 13 и, как следствие, к уменьшению диаметра привода 3, который обычно предопределяет поперечные габариты регулирующих клапанов с исполнительными механизмами объемного действия.
Формула изобретения
1. Запорный клапан с термочувствительным управлением, содержащий последовательно установленный на заполненном жидкостью или газом трубопроводе регулирующий орган в виде снабженного корпусом и затвором магистрального клапана, исполнительный механизм в виде привода объемного действия и орган управления, снабженный камерой с расположенным внутри термочувствительным элементом, изготовленным из материала, обладающего эффектом памяти формы, возвратный элемент термочувствительного элемента и соединенные с термочувствительным и возвратным элементами своими затворами, два перепускных клапана, посредством которых объемный привод параллельно соединен с предклапанной частью трубопровода повышенного давления и зоной пониженного давления, отличающийся тем, что стенки камеры выполнены теплоизолированными, возвратный элемент выполнен в виде термочувствительного элемента из материала, обладающего эффектом памяти формы, а зона пониженного давления имеет вид заклапанной части трубопровода, кроме того, запорный клапан с термочувствительным управлением дополнительно содержит расположенный внутри привода объемного действия холодильник, посредством которого трубопровод соединен с входной частью корпуса магистрального клапана, два электронагревателя, снабженное реле времени контактное устройство, посредством которого оба электронагревателя соединены с источником электропитания, два перепускных клапана, толкатель, соединенный с затворами перепускных клапанов, и две камеры, в одной из которых установлены перепускные клапана, а стенки второй выполнены теплоизолированными, причем каждая из теплоизолированных камер напрямую соединена с двумя перепускными клапанами, один из которых – дополнительный, и содержит внутри по одному из термочувствительных элементов и одному из электронагревателей, а термочувствительные элементы посредством толкателя соединены с затворами перепускных клапанов таким образом, что при запертом магистральном клапане оба перепускных клапана снабженной возвратным элементом камеры открыты и наоборот.
2. Запорный клапан по п.1, отличающийся тем, что объемный привод выполнен в виде сильфонного гидравлического редуктора, сильфоны которого изготовлены из материала, обладающего эффектом памяти формы и эффектом сверхупругости, например из никелида титана.
3. Запорный клапан по п.1, отличающийся тем, что термочувствительный элемент выполнен в виде, по крайней мере, одной прямолинейной проволоки, обладающей эффектом памяти формы.
РИСУНКИ
|
|